ГОСТ 18576-96
МЕЖГОСУДАРСТВЕННЫЙ СТАНДАРТ
Контроль неразрушающий
РЕЛЬСЫ ЖЕЛЕЗНОДОРОЖНЫЕ
Методы ультразвуковые
МЕЖГОСУДАРСТВЕННЫЙ СОВЕТ
ПО СТАНДАРТИЗАЦИИ, МЕТРОЛОГИИ И СЕРТИФИКАЦИИ
Минск
Предисловие
1 РАЗРАБОТАН Научно-исследовательским институтом мостов Петербургского государственного университета путей сообщения (НИИ мостов ПС)
ВНЕСЕН Госстандартом России
2 ПРИНЯТ Межгосударственным Советом по стандартизации, метрологии и сертификации (протокол № 10 от 4 октября 1996 г.)
За принятие проголосовали:
|
Наименование государства |
Наименование национального органа по стандартизации |
|
Азербайджанская Республика |
Азгосстандарт |
|
Республика Армения |
Армгосстандарт |
|
Республика Беларусь |
Госстандарт Республики Беларусь |
|
Республика Грузия |
Грузстандарт |
|
Республика Казахстан |
Госстандарт Республики Казахстан |
|
Кыргызская Республика |
Кыргызстандарт |
|
Республика Молдова |
Молдовастандарт |
|
Российская Федерация |
Госстандарт России |
|
Республика Таджикистан |
Таджикстандарт |
|
Туркменистан |
Главгосслужба «Туркменстандартлары» |
|
Республика Узбекистан |
Узгосстандарт |
|
Украина |
Госстандарт Украины |
3 Постановлением Государственного комитета Российской Федерации по стандартизации и метрологии от 4 июля 2001 г. № 257-ст межгосударственный стандарт ГОСТ 18576-96 введен в действие непосредственно в качестве государственного стандарта Российской Федерации с 1 января 2002 г.
4 ВЗАМЕН ГОСТ 18576-85
СОДЕРЖАНИЕ
|
|
ГОСТ 18576-96
МЕЖГОСУДАРСТВЕННЫЙ СТАНДАРТ
Контроль неразрушающий
РЕЛЬСЫ ЖЕЛЕЗНОДОРОЖНЫЕ
Методы ультразвуковые
Nondestructive testing. Railway rails.
Ultrasonic testing methods
Дата введения 2002-01-01
1 Область применения
Настоящий стандарт распространяется на рельсы типа Р50 по ГОСТ 7174, Р65 по ГОСТ 8161 и Р75 по ГОСТ 16210 при их изготовлении, эксплуатации и ремонте (восстановлении) и устанавливает методы при ручном и механизированном ультразвуковом контроле для выявления в головке, шейке и зоне продолжения шейки в подошву рельсов внутренних дефектов (расслоений, флокенов, раковин, неметаллических и инородных включений, трещин, дефектов электроконтактной сварки) в пределах чувствительности контроля, а также зон аномальных механических напряжений в рельсах. Тип и реальные размеры дефектов не определяются.
Допускается распространять положения настоящего стандарта на контроль рельсов других типов.
Стандарт не устанавливает методы ультразвукового контроля наплавки.
Необходимость проведения ультразвукового контроля, объем контроля, тип и размеры недопустимых дефектов устанавливают в стандартах или технических условиях на рельсы.
Определения терминов, использованных в настоящем стандарте, приведены в .
2 Нормативные ссылки
В настоящем стандарте использованы ссылки на следующие стандарты:
ГОСТ 12.1.001-89 Система стандартов безопасности труда. Ультразвук. Общие требования безопасности
ГОСТ 12.1.003-83 Система стандартов безопасности труда. Шум. Общие требования безопасности
ГОСТ 12.2.003-91 Система стандартов безопасности труда. Оборудование производственное. Общие требования безопасности
ГОСТ 12.3.002-75 Система стандартов безопасности труда. Процессы производственные. Общие требования безопасности
ГОСТ 7174-75*) Рельсы железнодорожные типа Р50. Конструкция и размеры
ГОСТ 8161-75*) Рельсы железнодорожные типа Р65. Конструкция и размеры
ГОСТ 14637-89 Прокат толстолистовой из углеродистой стали обыкновенного качества. Технические условия
ГОСТ 14782-86 Контроль неразрушающий. Соединения сварные. Методы ультразвуковые
ГОСТ 16210-77*) Рельсы железнодорожные типа Р75. Конструкция и размеры
ГОСТ 17622-72 Стекло органическое техническое. Технические условия
ГОСТ 26266-90 Контроль неразрушающий. Преобразователи ультразвуковые. Общие технические требования
*) На территории Российской Федерации действует ГОСТ Р 51685-2000.
3 Обозначения
В настоящем стандарте применяют следующие обозначения и сокращения:
КуI — чувствительность условная, мм;
КуII — чувствительность условная, дБ;
Кэ — чувствительность эквивалентная, дБ;
α — угол ввода ультразвуковых колебаний в металл (угол ввода луча), . . . °;
β — угол призмы ПЭП, . . . °;
п — стрела наклонного ПЭП, мм;
М — мертвая зона, мм;
2γР — ширина основного лепестка диаграммы направленности в плоскости падения волны, . . . °;
τ — длительность импульса, излучаемого ПЭП, мкс;
N0 — показание аттенюатора, соответствующее ослаблению эхо-сигнала от отверстия диаметром 6 мм на глубине 44 мм в СО-2 (СО-2Р, СО-3Р) до уровня, при котором оценивают условную чувствительность, дБ;
Т — интервал времени между зондирующим импульсом и эхо-сигналом от вогнутой цилиндрической поверхности в СО-3Р при установке наклонного ПЭП в положение, соответствующее максимальной амплитуде эхо-сигнала, мкс;
tп — среднее время распространения ультразвуковых колебаний в призме наклонного ПЭП, мкс;
ψ — угол между двумя отражателями в СО-4, . . . °;
γ — угол разворота ПЭП относительно продольной оси рельса, . . . °;
ΔХ — условная ширина выявленного дефекта, мм;
ΔH — условная высота выявленного дефекта, мм или мкс;
ПЭП — пьезоэлектрический преобразователь;
ΔL — условная протяженность, мм.
Термины и соответствующие им определения приведены в .
4 Средства контроля и вспомогательные устройства
4.1 При контроле должны быть использованы:
— ультразвуковой импульсный дефектоскоп (далее — дефектоскоп) по нормативным документам (НД) с электроакустическими (пьезоэлектрическими или электромагнитоакустическими) преобразователями;
— стандартные образцы для определения основных параметров контроля;
— вспомогательные приспособления и устройства для соблюдения параметров сканирования и измерения характеристик выявленных дефектов.
Допускается применять дефектоскопы с непрерывным излучением ультразвуковых колебаний, метрологические характеристики и параметры которых устанавливают в стандартах и (или) технических условиях на дефектоскопы конкретного типа.
Дефектоскопы, преобразователи и стандартные образцы, используемые для контроля, должны быть аттестованы в установленном порядке.
4.2 Для контроля следует использовать дефектоскопы, работающие по эхо-методу, зеркальному методу, дельта-методу, теневому методу, зеркально-теневому методу, на частоте от 0,1 до 4,0 МГц.
4.2.1 Дефектоскопы, работающие по эхо-, зеркальному и дельта-методам, должны иметь аттенюатор. Значение ступени ослабления аттенюатора должно быть не более 2,0 дБ.
При контроле эхо-методом допускается применять дефектоскопы без аттенюатора с проверкой условной чувствительности по стандартным образцам CO-1P или СО-1 по ГОСТ 14782 или дефектоскопы без аттенюатора с системой автоматической настройки и поддержания чувствительности.
4.2.2 Дефектоскопы, работающие по теневому или зеркально-теневому методам, должны иметь устройство для измерения условной чувствительности, выполненное по схеме имитатора дефектов, состоящего из аттенюатора и элементов коммутации ().
1 — имитатор дефектов; 2 — аттенюатор; 3 — переключатель
Рисунок 1 — Схема устройства для измерения условной чувствительности
Аттенюатор имитатора дефектов должен быть проградуирован в относительных единицах от 0,1 до 0,6 или в децибелах. Значение ступени ослабления аттенюатора должно быть не более 0,1 или 2,0 дБ соответственно.
4.3 Пьезоэлектрические преобразователи на частоту более 0,16 МГц — по ГОСТ 26266.
Допускается применять специализированные преобразователи, изготовленные по техническим условиям (ТУ) и рабочим чертежам, утвержденным в установленном порядке.
4.4 Стандартные образцы СО-1Р, CO-2P и СО-3Р () или стандартные образцы СО-1, СО-2 и СО-3 по ГОСТ 14782 следует применять для измерения и проверки основных параметров аппаратуры и контроля при совмещенной и раздельной схемах включения пьезоэлектрических преобразователей на частоту более 1,5 МГц.
В остальных случаях для проверки основных параметров аппаратуры и контроля должны использоваться отраслевые стандартные образцы или стандартные образцы предприятия, аттестованные в установленном порядке.
4.4.1 Стандартный образец СО-1Р () применяют для определения условной чувствительности при контроле эхо-методом.
Образец СО-1Р должен быть изготовлен из органического стекла марки ТОСП по ГОСТ 17622. Скорость распространения продольной ультразвуковой волны на частоте (2,5±0,2) МГц при температуре (20±5) °С должна быть (2670±133) м/с. Амплитуда первого донного импульса по толщине образца на частоте (2,5±0,2) МГц и при температуре (20±5) °С не должна отличаться более чем на ±2 дБ от амплитуды первого донного импульса в образце-свидетеле, аттестованном органами государственной метрологической службы.
Примечание — Цифры у отверстий диаметром 10Н14 на образце СО-1Р относительно поверхности ввода ультразвуковых колебаний указывают глубину расположения центра соответствующих отверстий диаметром 2Н14 в стандартном образце СО-1 по ГОСТ 14782.
4.4.2 Стандартный образец СО-2Р () применяют для определения:
— условной чувствительности при контроле эхо- и зеркальным методами;
— мертвой зоны;
— погрешности глубиномера и погрешности измерения координат отражателя;
— стрелы преобразователя;
— угла ввода ультразвуковых колебаний;
— ширины основного лепестка диаграммы направленности наклонного ПЭП.
Образец СО-2Р должен быть изготовлен из стали марки 20 по ГОСТ 14637. Скорость распространения продольной волны в материале образца при температуре (20±5) °С должна быть (5900±118) м/с.
На боковые поверхности образца должны быть нанесены шкала значений L в миллиметрах и шкала значений утла α ввода ультразвуковых колебаний от 10° до 70° с интервалом 1° в соответствии с уравнением
L = 44 tgα.
Нулевые деления шкал должны совпадать с осью, проходящей через центры отверстий диаметром 6Н14 перпендикулярно к рабочим поверхностям образца.
Примечание — Стрелу преобразователя определяют по соотношению
п = 0,52l1 — 1,52l2.
Значение угла α ввода ультразвуковых колебаний рассчитывают по выражению
tgα = 0,034(l1 — l2),
где l1, l2 — расстояния от проекции центра отверстия диаметром 6Н14 на рабочую поверхность образца до передней грани преобразователя в положениях, соответствующих максимальной амплитуде эхо-сигнала от отверстия на глубине 44 и 15 мм соответственно.
4.4.3 Стандартный образец СО-3Р () применяют для определения:
Рисунок 4 — Стандартный образец СО-3Р
— условной чувствительности при контроле эхо- и дельта-методами;
— мертвой зоны;
— погрешности глубиномера и погрешности измерения координат отражателя;
— стрелы преобразователя;
— угла ввода ультразвуковых колебаний;
— ширины основного лепестка диаграммы направленности наклонного ПЭП;
— импульсного коэффициента преобразования при контроле рельсового или близкого к нему по акустическим свойствам металла.
Образец СО-3Р должен быть изготовлен из стали марки 20 по ГОСТ 14637. Скорость распространения продольной волны в материале образца при температуре (20±5) °С должна быть (5900±118) м/с.
На боковых и рабочих поверхностях образца должны быть выгравированы риски, проходящие через центр полуокружности и по оси рабочей поверхности. На боковую поверхность образца наносят шкалу значений угла α ввода ультразвуковых колебаний от нуля до 40° с интервалом 2° и от 40° до 70° — с интервалом 1° в соответствии с уравнением
L = 44tgα.
Нуль шкалы должен совпадать с осью, проходящей через центр отверстия диаметром 6Н14 перпендикулярно к рабочей поверхности образца.
Значение 65° на шкале углов α ввода ультразвуковых колебаний должно совпадать с риской, проходящей через центр полуокружности.
4.5 Ультразвуковой специализированный дефектоскоп для выявления зон экстремальных механических напряжений в рельсах должен обеспечивать измерение амплитуды сигнала с погрешностью не более 1 дБ и интервала времени между сигналами — с относительной погрешностью не более 0,0001.
4.6 Систематическую проверку параметров, определяющих работоспособность дефектоскопов при сплошном контроле рельсов, допускается проводить с использованием электроакустических устройств.
Перечень параметров и порядок их проверки должны быть указаны в технической документации на контроль.
5 Подготовка к контролю
5.1 Поверхность рельса, с которой ведется контроль, должна быть очищена от:
— отслоившейся окалины, грязи, льда и покрыта слоем контактирующей жидкости при использовании пьезоэлектрического преобразователя;
— отслоившейся окалины и грязи при использовании электромагнитоакустического преобразователя.
В качестве контактирующей жидкости используют воду, минеральные смазочные материалы, раствор спирта в воде и спирт.
Чистота поверхности и состав контактирующей жидкости должны быть указаны в технической документации на контроль.
5.2 Подготовку аппаратуры к контролю следует выполнять в соответствии с технической документацией на аппаратуру и контроль.
5.3 Основные параметры контроля:
— частота возбуждаемых ультразвуковых колебаний;
— чувствительность (условная, эквивалентная);
— стрела преобразователя и положение плоскости падения волны относительно оси рельса;
— угол ввода ультразвуковых колебаний в металл;
— погрешность глубиномера (погрешность измерения интервала времени между сигналами);
— мертвая зона;
— минимальный условный размер дефекта, фиксируемого при заданной скорости контроля;
— длительность зондирующего импульса.
Перечень параметров, подлежащих проверке, их числовые значения и периодичность проверки должны устанавливаться в каждом конкретном случае в технической документации на контроль.
5.4 Частоту ультразвуковых колебаний измеряют по длительности периода колебаний в эхо-импульсе высокочастотным осциллографом.
Допускается измерять частоту ультразвуковых колебаний в диапазоне 1,5 — 4,0 МГц, излучаемых наклонным преобразователем, по образцу, приведенному в .
Г — вывод к генератору дефектоскопа; П — вывод к приемнику дефектоскопа
Рисунок 5 — Схема расположения преобразователей на стандартном образце СО-2Р (СО-3Р) при измерении (настройке) условной чувствительности при контроле:
а — эхо-методом, б — зеркальным методом, в — дельта-методом
5.5 Условную чувствительность контроля эхо-, зеркальным и дельта-методами при частоте ультразвуковых колебаний более 1,5 МГц следует измерять по образцу СО-2Р (СО-2) или СО-3Р ().
Условную чувствительность при контроле эхо-методом допускается измерять по стандартному образцу СО-1Р или СО-1 при температуре, указанной в аттестат-графике.
Условную чувствительность при контроле эхо-, зеркальным и дельта-методами допускается измерять по отраслевым стандартным образцам или стандартным образцам предприятия.
Условную чувствительность при контроле зеркально-теневым методом измеряют с помощью имитатора дефектов или аттенюатора () на бездефектном участке рельса или на образце, параметры которых указаны в технической документации на контроль.
При частоте ультразвуковых колебаний менее 1,5 МГц эквивалентную чувствительность следует измерять по образцам, указанным в технической документации на контроль.
5.6 Стрелу преобразователя следует определять по образцам СО-3Р (или СО-3 по ГОСТ 14782) или СО-2Р, а положение плоскости падения волны — по образцам СО-3Р или СО-3 (по ГОСТ 14782).
5.7 Угол ввода ультразвуковых колебаний следует измерять по образцам СО-3Р или СО-2Р, или СО-2.
5.8 Погрешность глубиномера следует проверять по образцам СО-3Р или СО-2Р, или СО-2.
5.9 Мертвую зону при контроле эхо-методом на частоте более 1,5 МГц следует проверять по образцам СО-3Р или СО-2Р, а при контроле на частоте менее 1,5 МГц — по образцам, указанным в технической документации на контроль.
5.10 Минимальный условный размер дефекта, подлежащий фиксации при заданной скорости контроля, следует проверять на образце в соответствии с технической документацией на контроль. Допускается при проверке применять радиотехническую аппаратуру, имитирующую сигналы от дефектов заданного условного размера.
5.11 Длительность зондирующего импульса следует определять с помощью высокочастотного осциллографа измерением длительности эхо-сигнала на уровне 0,1.
Допускается определять длительность эхо-импульса на образце в соответствии с .
6 Проведение контроля
6.1 Контроль рельсов проводят эхо- или зеркальным, или дельта-, или зеркально-теневым методами, или комбинацией методов продольными l и поперечными t волнами.
Схемы включения и расположения преобразователей приведены в (схемы 1 — 14), 2 (схемы 1 — 8) и 3 (схемы 1 — 4), где Г — вывод к генератору; П — вывод к приемнику.
При применении наклонного преобразователя, работающего по совмещенной схеме, прозвучивание осуществляют последовательно в двух взаимно противоположных направлениях.
Допускается применять наклонные преобразователи, с помощью которых осуществляют прозвучивание в одном направлении.
6.2 Контроль головки рельса () осуществляют эхо- (схемы 1, 4, 13) и зеркальным (схема 2) методами с помощью наклонных преобразователей.
При частоте ультразвуковых колебаний более 1,5 МГц преобразователь включают по совмещенной или раздельной, или раздельно-совмещенной схемам и ориентируют вдоль оси или относительно продольной оси рельса в стороны его боковых граней на угол γ. Номинальные значения угла ввода α и угла γ должны указываться в технической документации на контроль.
При частоте ультразвуковых колебаний менее 1,5 МГц преобразователи включают по раздельной схеме и располагают на поверхности катания головки или на боковых поверхностях головки рельса в последовательности, указанной на схеме 13 в .
Допускается применять для контроля головки рельса эхо-метод в сочетании с зеркально-теневым методом или зеркально-теневой, или теневой методы.
6.3 Контроль шейки рельса и подошвы в зоне проекции шейки () осуществляют эхо-методом (схемы 1, 2) и, вне зоны сварного стыка, — зеркально-теневым методом (схемы 2, 3, 4) по первому или второму донным сигналам, или по отношению амплитуд донных сигналов с помощью прямого или наклонных преобразователей, включенных по совмещенной или раздельной схемам, или теневым методом (схема 7).
Протяженность зоны сварного стыка, не контролируемой зеркально-теневым или теневым методами, должна быть указана в технической документации на контроль.
Допускается контроль эхо- или (и) зеркально-теневым методами при расположении преобразователей на боковых поверхностях шейки.
Шейку рельса на отсутствие трещин, развивающихся от болтовых отверстий (), контролируют эхо-методом (схемы 2, 3, 4) или (и) зеркально-теневым методом (схема 1) с помощью одного или двух преобразователей, работающих по схеме ультразвукового калибра.
Таблица 1 — Контроль головки рельса
|
Временные диаграммы |
Метод контроля |
Информативный сигнал |
Схема включения ПЭП |
Параметры схемы прозвучивания |
Примечание |
|
|
1 |
|
Эхо-метод |
Эхо-сигнал |
Совмещенная |
α γ |
Контроль прямым, однократно, двукратно и т.д. отраженным лучом |
|
2 |
|
Зеркальный |
Зеркальный |
Раздельная |
αг αп γг γп В |
Схема некритична к перемене местами преобразователей |
|
3 |
|
Сочетание эхо- и зеркального методов |
Эхо-сигнал |
Совмещенная |
αгп αп В γгп γп |
Возможно включение обоих преобразователей в совмещенном режиме |
|
Зеркальный |
Раздельная |
|||||
|
4 |
|
Эхо-метод |
Эхо-сигнал |
Раздельная |
αг αп В Х |
Схема некритична к перемене местами преобразователей. Возможно включение ПЭП по раздельно-совмещенной и совмещенной схемам |
|
5 |
|
Зеркально-теневой |
Донный |
Раздельная |
αг =αп γг =γп В |
Возможно сочетание с эхо-методом для одного или обоих ПЭП В этом случае соответствующие ПЭП включают по совмещенной схеме |
|
6 |
|
Эхо-метод |
Эхо-сигнал |
Раздельная |
αг αп В Х |
Схема некритична к перемене местами преобразователей |
|
7 |
|
Зеркально-теневой |
Прошедший |
Раздельная |
αг=αп В |
— |
|
8 |
|
Зеркально-теневой |
Прошедший |
Раздельная |
αг =αп γг =γп В |
— |
|
9 |
|
Эхо-метод в сочетании с зеркально-теневым |
Эхо- и донный сигналы |
Совмещенная |
α = 0 Х |
Возможно применение РС-ПЭП. В этом случае схема включения ПЭП раздельная |
|
10 |
|
Эхо-метод в сочетании с зеркально-теневым |
Эхо- и первый донный сигналы |
Раздельная |
αг αп В Х |
— |
|
11 |
|
Теневой |
Прошедший |
Раздельная |
α = 0 Х |
— |
|
12 |
|
Зеркальный |
Зеркально отраженный |
Раздельная |
αг αп В Х |
Схема некритична к перемене местами преобразователей |
|
13 |
|
Эхо-метод |
Эхо-сигнал |
Раздельная |
α = 0 Х |
При возбуждении ультразвуковых колебаний частотой менее 1,5 МГц |
|
14 |
|
Дельта-метод |
Дифрагированные сигналы для двух положений искательной системы |
Раздельная |
αг αп |
Для определения размеров и типа дефекта |
Таблица 2 — Контроль шейки рельса и ее продолжения в головку и подошву
|
Временные диаграммы |
Метод контроля |
Информативный сигнал |
Схема включения ПЭП |
Параметры схемы прозвучивания |
Примечание |
|
|
1 |
|
Эхо-метод |
Эхо-сигнал |
Совмещенная |
α=0 γ=0 |
— |
|
2 |
|
Зеркально-теневой |
I, II и т.д. донный либо отношение донных |
Раздельная |
α=0 |
Возможно применение PC-ПЭП. В этом случае схема включения преобразователей раздельная |
|
Эхо-метод |
Эхо-сигнал |
Совмещенная |
||||
|
3 |
|
Зеркально-теневой |
Донный |
Раздельная |
αг αп В |
Возможно использование волн l— и t-типа |
|
4 |
|
Зеркально-теневой |
Донные, обусловленные волнами: — продольной; — поперечной |
Раздельная |
αt αl В1 В2 |
— |
|
5 |
|
Зеркально-теневой в сочетании с эхо-методом |
Донный |
Раздельная |
αгп=αп В |
— |
|
Эхо-сигнал |
Совмещенная |
|||||
|
6 |
|
Зеркально-теневой в сочетании с эхо-методом |
Донный |
Раздельно-совмещенная |
α В |
— |
|
Эхо-сигнал |
||||||
|
7 |
|
Теневой |
Прошедший |
Раздельная |
α=0 |
— |
|
8 |
|
Дельта-метод |
Дифрагированные сигналы: — от дефекта; — от дефекта с переотражением от подошвы |
Раздельная |
αг αп=0 |
Для определения типа дефекта |
Таблица 3 — Контроль шейки рельса на отсутствие трещин, развивающихся от болтовых отверстий
|
Временные диаграммы |
Метод контроля |
Информативный сигнал |
Схема включения ПЭП |
Параметры схемы прозвучивания |
Примечание |
|
|
1 |
|
Зеркально-теневой («УЗ калибр») |
Донный |
Совмещенная |
α = 0 В |
Признаком обнаружения дефекта является одновременное пропадание донных сигналов обоих ПЭП |
|
2 |
|
Эхо-метод |
Эхо-сигнал |
Совмещенная |
α В |
Признаком обнаружения дефекта является прием эхо-сигналов соответственно от стенки болтового отверстия и углового отражателя, образованного трещиной |
|
3 |
|
Эхо-метод |
Эхо-сигнал |
Совмещенная |
α 2γр |
Признаком обнаружения дефекта является прием двух эхо-сигналов (от стенки болтового отверстия и углового отражателя, образованного трещиной) с временным сдвигом сигналов относительно друг друга |
|
4 |
|
Эхо-метод |
Эхо-сигнал |
Совмещенная |
α1, α2; 2γр1, 2γр2; Δα = α1 — α2 |
6.4 Подошвы рельса в зоне проекции шейки на отсутствие поперечных трещин контролируют эхо-методом с помощью наклонного преобразователя, включенного по совмещенной схеме (схема 1, ), с поверхности катания головки рельса. Угол ввода ультразвукового луча в металл должен быть 45°±2°.
Контроль отдельных участков подошвы рельсов допускается проводить с поверхности пера или подошвы снизу эхо-методом под другими углами ввода ультразвукового луча.
Угол ввода ультразвукового луча в металл должен быть 50° — 70°. Номинальное значение угла ввода указывают в технической документации на контроль.
Контроль рельсов в области головки, шейки и подошвы сварного стыка допускается проводить по схемам, отличающимся от указанных в , и .
6.6 Метод, схема включения преобразователей, основные параметры, способ возбуждения ультразвуковых колебаний, схема сканирования, рекомендации по разделению ложных сигналов и сигналов от дефектов, а также контролируемые зоны в сечении рельса и неконтролируемые участки рельсов должны быть указаны в технической документации на контроль.
7 Обработка и оформление результатов контроля
7.1 Оценку сплошности металла рельсов проводят по результатам анализа информации, получаемой при контроле одним или комплексом применяемых методов.
7.2 Измеряемыми характеристиками для выявленных дефектов являются:
при эхо-зеркальном и дельта-методах:
а) коэффициент выявляемости дефекта (относительная максимальная амплитуда эхо-сигнала от дефекта) или минимальная условная чувствительность, при которой обнаруживают дефект;
б) координаты дефекта по длине и сечению рельса;
в) условный размер дефекта по длине рельса при заданной чувствительности контроля;
при зеркально-теневом и теневом методах:
г) коэффициент выявляемости дефекта или минимальная условная чувствительность, при которой обнаруживают дефект;
д) условный размер дефекта по длине рельса при заданной чувствительности;
е) координата дефектного сечения по длине рельса.
7.3 Дополнительной информацией о выявленном дефекте при контроле наклонными преобразователями эхо-методом является отношение условной ширины ΔX условной высоте ΔH дефекта, а зеркально-теневым — глубина расположения дефекта и соотношение значений ΔX1 и ΔX2 условной ширины выявленного дефекта.
Условную ширину и условную высоту дефекта измеряют при тех же крайних положениях преобразователя в соответствии с .
Необходимость и методика измерения характеристик дефекта должны устанавливаться в технической документации на контроль.
7.4 Результаты контроля фиксируют в журнале или протоколе, или другом документе, в котором должны быть указаны:
— техническая документация, в соответствии с которой проводился контроль;
— тип дефектоскопа и его номер по системе нумерации предприятия-изготовителя;
— характеристики контролируемого объекта и участки, не подвергавшиеся контролю;
— результаты контроля;
— дата контроля;
— фамилия лица, проводившего контроль или расшифровку результатов контроля.
Форма представления результатов контроля оговаривается в технической документации на контроль.
7.5 Рельс, в котором обнаружен дефект, маркируют в соответствии с технической документацией на контроль.
8 Требования безопасности
8.1 При проведении работ по ультразвуковому контролю рельсов дефектоскопист должен руководствоваться ГОСТ 12.1.001, ГОСТ 12.1.003, ГОСТ 12.2.003, ГОСТ 12.3.002, Правилами технической эксплуатации электроустановок потребителей и Правилами технической безопасности при эксплуатации электроустановок потребителей, утвержденными Госэнергонадзором, и Правилами техники безопасности и производственной санитарии при производстве работ в путевом хозяйстве, утвержденными МПС.
8.2 Дополнительные требования по технике безопасности и пожарной безопасности устанавливают в технической документации на контроль.
ПРИЛОЖЕНИЕ А
(справочное)
Таблица А.1 — Определения терминов, использованных в настоящем стандарте
|
Термин |
Определение |
|
Условная чувствительность контроля эхо-методом |
Чувствительность, характеризуемая размерами и глубиной залегания выявляемых искусственных отражателей, выполненных в стандартном образце из материала с определенными акустическими свойствами. При ультразвуковом контроле рельсов условную чувствительность определяют по стандартному образцу СО-1Р (или СО-1) или по стандартному образцу СО-3Р, или СО-2, или СО-2Р. Условную чувствительность по стандартному образцу СО-1Р (CO-1) выражают наибольшей глубиной расположения цилиндрического отражателя в миллиметрах, фиксируемого индикаторами дефектоскопа. Условную чувствительность по стандартному образцу СО-3Р или СО-2, или СО-2Р выражают разностью в децибелах между показанием аттенюатора при данной настройке дефектоскопа и показанием, соответствующим максимальному ослаблению, при котором цилиндрическое отверстие диаметром 6Н14 еще фиксируют индикаторы дефектоскопа |
|
Условная чувствительность контроля зеркально-теневым методом |
Чувствительность, характеризуемая максимальным значением ослабления донного сигнала на входе приемного тракта, которое еще четко фиксируют индикаторы дефектоскопа |
|
Эквивалентная чувствительность контроля |
Чувствительность, характеризуемая размерами и глубиной расположения естественных отражателей (торец рельса; угловой отражатель, образованный торцом рельса; болтовое или другое отверстие в рельсе) или искусственных отражателей, выполненных в образце рельса |
|
Коэффициент выявляемости дефекта при зеркально-теневом методе |
Коэффициент, соответствующий максимальному ослаблению амплитуды первого донного сигнала, вызываемому дефектом |
|
Коэффициент выявляемости дефекта при эхо-методе |
Коэффициент, соответствующий отношению максимальной амплитуды эхо-сигнала от дефекта к максимальной амплитуде эхо-сигнала от цилиндрического отверстия диаметром 6 мм на глубине 44 мм в стандартном образце СО-2 (СО-2Р) или СО-3Р |
|
Условный размер дефекта по длине рельса |
Размер в миллиметрах, соответствующий длине зоны перемещения преобразователя вдоль рельса, в пределах которой фиксируют сигнал от дефекта при заданной условной чувствительности дефектоскопа |
|
Условная ширина дефекта |
Размер в миллиметрах, соответствующий длине зоны между крайними положениями наклонного преобразователя, перемещаемого в плоскости падения ультразвуковой волны, в пределах которой фиксируют сигнал от дефекта при заданной условной чувствительности дефектоскопа |
|
Условная высота дефекта |
Размер, соответствующий разности значений глубины расположения дефекта, измеренных в крайних положениях наклонного преобразователя, перемещаемого в плоскости падения ультразвуковой волны, в пределах которого фиксируют сигнал от дефекта при заданной условной чувствительности дефектоскопа |
|
Условная протяженность дефекта |
Размер в миллиметрах, соответствующий длине зоны между крайними положениями наклонного преобразователя, перемещаемого вдоль плоскости, ориентированной перпендикулярно к плоскости падения ультразвуковой волны, в пределах которой фиксируют сигнал от дефекта при заданной условной чувствительности дефектоскопа |
|
Стрела пьезоэлектрического преобразователя |
Расстояние от точки выхода ультразвукового луча наклонного преобразователя до его передней грани |
ПРИЛОЖЕНИЕ Б
(обязательное)
Общий вид аттестат-графика к стандартному образцу из органического стекла
Аттестат-график устанавливает связь условной чувствительности КуI в миллиметрах по исходному стандартному образцу СО-1 с условной чувствительностью КуII в децибелах по стандартному образцу СО-2 (или СО-2Р, или СО-3Р) и номером отражателя диаметром 10Н14 в аттестуемом образце СО-1Р при частоте ультразвуковых колебаний (2,5±0,2) МГц, температуре (20±5) °С и углах призмы β = 40°±1° для преобразователей конкретного типа.
На точками обозначен график для исходного образца СО-1Р. Для построения соответствующего графика к конкретному аттестуемому образцу СО-1Р, не соответствующему требованиям настоящего стандарта, при указанных выше условиях определяют в децибелах разности Кyi амплитуд Nxi от отражателей № 20 и № 50 диаметром 10Н14 в аттестуемом образце и амплитуды N0 от отражателя диаметром 6Н14 на глубине 44 мм в образце СО-2 (или СО-2Р, или СО-3Р) по формулам:
Ку20 = Nx20 — N0; Ку50 = Nx50 — N0,
где N0 — показание аттенюатора, соответствующее ослаблению эхо-сигнала от отверстия диаметром 6Н14 в образце СО-2 (СО-2Р или СО-3Р) до уровня, при котором оценивают условную чувствительность, дБ.
Nxi — показание аттенюатора, при котором амплитуда эхо-сигнала от исследуемого отверстия с номером i в аттестуемом образце достигает уровня, при котором оценивают условную чувствительность, дБ.
Вычисленные значения Куi, отмечают точками на поле графика и соединяют прямой линией (пример построения графика см. на ).
Примеры применения аттестат-графика
Контроль проводят дефектоскопом с преобразователем частотой 2,5 МГц с углом призмы β = 40°, радиусом пьезоэлектрической пластины а = 6 мм, изготовленным в соответствии с техническими условиями.
Дефектоскоп укомплектован образцом СО-1Р, заводской номер, с аттестат-графиком (см. ).
Примеры
1 — Технической документацией на контроль задана условная чувствительность 40 мм.
Указанная чувствительность будет воспроизведена, если настроить дефектоскоп по отверстию № 45 в образце СО-1Р, заводской номер.
2 — Технической документацией на контроль задана условная чувствительность 14 дБ. Указанная чувствительность будет воспроизведена, если настроить дефектоскоп по отверстию № 35 в образце СО-1Р, заводской номер.
Рисунок Б.1
ПРИЛОЖЕНИЕ В
(справочное)
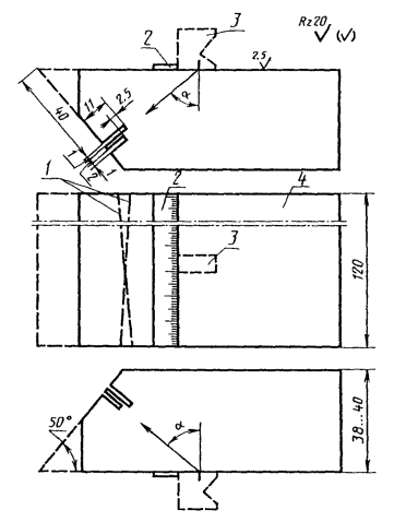
Образец для измерения частоты ультразвуковых колебаний и длительности импульса наклонного преобразователя (с углом призмы больше первого и меньше второго критического)

Материал: сталь марки 20 по ГОСТ 14637.
* Размеры для справок.
Рисунок B.1
Примечания
1 Угол ψ определяют угломером или рассчитывают по значениям l и S, измеренным с точностью не менее 0,1 мм; ψ = 2arctg(0,5S/l); значение ψ маркируют на образце.
2 Миллиметровую шкалу гравируют или наклеивают. Нуль миллиметровой шкалы должен совпадать с плоскостью углового отражателя с погрешностью не более ±0,1 мм.
3 Линию, проходящую через проекцию точки пересечения угловых отражателей перпендикулярно к поверхности Б, гравируют; отклонение линии гравировки от заданного положения — не более ±0,1 мм.
Значения частоты упругих колебаний f, Гц, длины волны λt, мм, и длительности импульса τ, с, вычисляют по формулам:
f = Ct/λt,


где Сt — измеренное значение скорости распространения сдвиговой волны в материале образца, мм/с; при невозможности измерить значение Сt его принимают равным 3260 . 103 мм/с;
ψ — истинное значение угла ψ, . . . °;
Xmax — максимальное расстояние от линии, проходящей через проекцию точки пересечения угловых отражателей, до линии, проходящей перпендикулярно к поверхности Б через середину (точку ввода луча) преобразователя, установленного в положение, при котором задний фронт первого эхо-сигнала еще пересекается с передним фронтом второго эхо-сигнала от угловых отражателей на уровне линии развертки, мм;
— среднее значение расстояний между соседними положениями преобразователя, при которых провал между двумя эхо-сигналами, наблюдаемыми на экране электронно-лучевой трубки, максимален, мм;
L0 — расстояние от проекции углового отражателя на рабочую поверхность образца до точки выхода при установке преобразователя в положение, при котором амплитуда эхо-сигнала от отражателя максимальна.
Ключевые слова: стандарт, контроль неразрушающий, рельсы железнодорожные, методы ультразвуковые, основные параметры, аппаратура

























































