Часть 1 | |
Центральный научно-исследовательский и проектный институттеплового и экспериментального проектирования школ,дошкольных учреждений, средних и высших учебных заведений(ЦНИИЭП учебных зданий) ГосгражданстрояПОСОБИЕПО ПРОЕКТИРОВАНИЮ ОБЩЕСТВЕННЫХ ЗДАНИЙИ СООРУЖЕНИЙ(к СНиП 2.08.02—85)Утверждено приказом по ЦНИИЭП учебных зданийот 17 июня 1986 года № 70Москва Стройиздат 1988Рекомендовано к изданию секцией Научно-технического совета ЦНИИЭП учебных зданий. Изложены объемно-планировочные и конструктивные решения и противопожарные требования при проектировании общественных зданий и сооружений. Даны примеры расчета. Для проектировщиков. В скобках указаны соответствующие номера пунктов, таблиц и формул , к которым даются пояснения. Пособие разработано ЦИИИЭП учебных зданий — канд. техн. наук 3.И.Эстров, канд. архит. Н.С.Шакарян, инж. В.С.Вольман, канд. архит. Е.II.Зайченко при участии инженеров В.М.Бычковской, О.А.Люлихиной; ЦНИИЭП торгово-бытовых зданий и туристских комплексов (архитектор А.Б.Варшавер); ЦНИИЭП им. Б.С.Мезенцева (архитектор Д.Г.Копелянский, канд. архит. И.И.Лернер); ЦНИИЭП инженерного оборудования — инженеры Л.Н.Вайсман, Ю.М.Соснер; ЛенЗНИИЭП (канд. архит. Э.С.Боровицкий, инж. Ю.Н.Ионов, канд. архит. Н.Я.Лейбошиц, канд. архит. Ю.Н.Лобанов, архитектор Р.М.Попова, инж.С.С.Шмелева); ВНИИПО МВД СССР — инж. В.П.Власов, кандидаты техн. наук В.М.Есин, Б.И.Кашолкин, Е.А.Мешалкин; ЦПКБ по лифтам — инж. С. М Ройтбурд; МИСИ им. В.В.Куйбышева — д-р техн. наук В.В.Холщевников. В разработке Пособия приняли участие: инспектор — врач Главного санитарно-эпидемиологического управления Минздрава СССР Г.М.Осадчий и мл. научный сотрудник НИИ общей и коммунальной гигиены им. А.С.Сысина, Текшева Л.М.
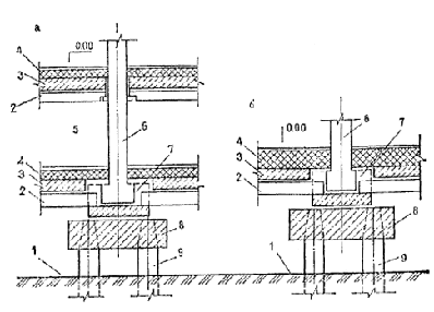
1. ОБЩИЕ ПОЛОЖЕНИЯ1.1. Разработку индивидуальных проектов общественных зданий и сооружений и привязку типовых проектов необходимо выполнять с учетом климатических, геологических, демографических, национально-бытовых и других местных условий конкретного города, поселка, сельского населенного пункта. Для типового проектирования общественных зданий принято следующее укрупненное районирование территории страны: а) IА, IБ и IГ климатические подрайоны; б) IВ подрайон, II и III климатические районы; в) IV климатический район. Для строительства в IД подрайоне при наличии вечномерзлых грунтов или расчетной зимней температуры ниже — 45 °С используются типовые проекты, предназначенные для IА, IБ и IГ подрайонов, а на остальной территории — для IВ подрайона. Для объектов массового строительства разрабатываются типовые проекты, рассчитанные на различные природные условия: наличие сейсмики 7, 8 и 9 баллов, просадочные грунты, подрабатываемые территории. 1.2 (1.2). При переменных планировочных отметках земли этажи или часть этажей считаются надземными, цокольными или подвальными, если не менее 70% площади этажа или рассматриваемой части этажа соответствуют определению, приведенному в п. 1.2 СНиП2.08.02—85. Холодное подполье с круглогодичной естественной вентиляцией (подполье для проветривания) устраивается под зданиями, проектируемыми для строительства на вечномерзлых грунтах с использованием их в мерзлом состоянии в течение всего периода эксплуатации (принцип 1). В этом случае техническое подполье или технический этаж для размещения инженерных сетей рекомендуется устраивать выше подполья для проветривания. При небольших габаритах здания в плане допускается размещать инженерные сети в толще перекрытия над подпольем для проветривания без устройства технического подполья или технического этажа (рис. 1, а и 1, б). |
||||||||||||||||||||||||||||||||||||||||||||||||||||||||||||||||||||||||||||||||||||||||||||||||||||
|
Назначение |
Буквенное обозначение параметров (параметры в метрах) |
||||||
|
кинопроекционного комплекса |
а |
б |
в |
г |
д |
е не менее |
и |
|
Для 35 мм кинопроекторов с ксеноновыми лампами |
4,2 |
3,5 |
1,5 |
1,2 |
2,3 |
0,8 |
2,6 |
|
Для 35 мм кинопроекторов с лампами накаливания |
3,4 |
2,7 |
— |
— |
— |
0,8 |
2,6 |
|
Для 16 мм стационарного кинопроектора |
2,2 |
2,7 |
— |
— |
— |
0,8 |
2,6 |
Величина параметров принята в соответствии с нормами на проектирование кинотеатров.
2.11 (2.21). Наименьшая этажность и другие условия, при которых должны устанавливаться пассажирские лифты, оговорены в нормах на проектирование общественных зданий.
Без выполнения расчета установка пассажирских лифтов а зданиях может быть осуществлена в следующих случаях:
при этажности меньшей, чем указано в нормах;
когда лифты устанавливаются для выполнения специальных технологических целей (служебно-хозяйственные лифты гостиниц и турбаз; лифты для транспортирования аптечных товаров, белья, отходов лечения в больницах и для других подобных целей);
когда число и параметры лифтов, необходимые для установки в здании, оговорены в нормативном документе или в пособии к нему.
2.12 (2.21). Расчет вертикального транспорта включает: составление схем движения пассажирских потоков (далее — пассажиропотоков);
определение расчетных пассажирских потоков в разные периоды функционирования зданий;
размещение лифтовых узлов в плане здания;
решение вопросов о взаиморасположении лифтов и организации их работы;
выбор интервала движения пассажирских лифтов в соответствии с требуемым уровнем комфортности обслуживания пассажиров в здании;
определение расчетного заполнения кабины пассажирских лифтов и предварительный выбор типоразмера лифта по грузоподъемности и скорости в соответствии с требуемым уровнем комфортности обслуживания пассажиров в здании;
расчеты с целью определения необходимого для установки в здании числа и параметров лифтов;
технико-экономический анализ результатов расчета различных вариантов систем вертикального транспорта и выбор проектного варианта.
В многоэтажных зданиях с интенсивными пассажиропотоками при необходимости установки большого числа лифтов выбор их числа и параметров с определением показателей работы вертикального транспорта (времени ожидания для пассажиров, времени поездки, длины очереди) рекомендуется выполнять методами моделирования с использованием ЭВМ. Указанная работа по заказам может быть выполнена головной научно-исследовательской организацией по лифтам.
Исходные данные для расчета вертикального транспорта:
высота подъема лифтов; число и назначение этажей;
технология функционирования здания;
характеристика помещений, расположенных на этажах и непосредственно влияющих на величины пассажирских или транспортных потоков;
характеристика каждого вида потока, перевозимого пассажирскими лифтами;
требуемый уровень комфортности обслуживания пассажиров в здании.
Методические основы расчета вертикального транспорта (лифтов) приведены в прил. 2. Там же приведены основные понятия (термины), применяемые при проектировании и расчете вертикального транспорта (лифтов).
2.13 (2.21). При размещении в здании грузового лифта, используемого для транспортирования людей, следует иметь в виду, что система управления таким лифтом не предусматривает выполнение лифтом попутных остановок по вызовам. По вызовам с этажа может прийти только освободившаяся кабина.
При установке рядом двух и более таких грузовых лифтов они не могут быть объединены системой группового управления, так как каждый из них работает обособленно и имеет собственные вызывные кнопочные посты на этажах.
2.14 (2.21). Номенклатура пассажирских лифтов, которые могут устанавливаться в общественных зданиях и сооружениях, приведена в ГОСТ 5746—83*.
Система управления лифтами для общественных зданий согласно ГОСТ 5746—83* «смешанная собирательная в двух направлениях», т. е. на каждом этаже имеется кнопка вызова для остановки лифта, для движения вверх и для движения вниз (на нижней остановке кнопка вызова только для движения вверх, а на верхней остановке—только для движения вниз). Группа лифтов (см. прил. 2) оснащается системой группового управления. В этом случае на каждом этаже устанавливается один вызывной кнопочный пост на группу лифтов. На появившийся вызов система группового управления направляет один из лифтов группы, что обеспечивает минимальное время ожидания для пассажиров, исключает движение на один вызов нескольких лифтов, улучшает эксплуатационные показатели лифтов.
2.15 (2.21). Система управления лифтами общественных зданий обеспечивает их работу в режиме «пожарная опасность». Режим «пожарная опасность» включается автоматически по сигналу от автоматической пожарной сигнализации здания независимо от нагрузки и направления движения кабины лифта и обеспечивает принудительное, движение лифта на основной посадочный этаж (за исключением случаев, когда лифт стоит на остановках ниже основного посадочного этажа).
По прибытии на основной посадочный этаж двери кабины лифта открываются и остаются в открытом положении. Возвращение системы управления лифтами в нормативный режим работы может быть произведен только из машинного помещения.
Режим «пожарная опасность» обеспечивает безопасность пассажиров, находящихся в лифтах, во время возникновения пожара в зданиях.
2.16 (2.21). При проектировании лифтов в зданиях необходимо выполнять требования правил устройства и безопасности эксплуатации лифтов. По этим правилам расположение шахт лифтов над проходами и помещениями, в которых смогут находиться люди, допускается только в тех случаях, когда перекрытие, расположенное под шахтой, способно выдержать удар противовеса, свободно падающего с наибольшей возможной скоростью.
2.17 (2.21). В комплект проектной документации на здание и сооружение должен входить чертеж на заказ лифтов, оформленный в соответствии с требованиями производителя лифтов.
2.18 (2.21). В зданиях, имеющих более 2 лифтов, желательно предусматривать диспетчерский контроль за работой лифтов. Диспетчерское оборудование можно размещать в отдельном помещении или в диспетчерской другого инженерного оборудования здания. Диспетчерская может обслуживать группу зданий.
2.19 (2.21). В зданиях, имеющих более 2 лифтов, желательно предусматривать помещение для размещения мастерской по ремонту лифтов. Это помещение допускается размещать в подвальных и цокольных этажах. Помещение для мастерской по ремонту лифтов может быть предусмотрено на группу рядом расположенных зданий.
2.20 (2.21). Выбор типа, грузоподъемности, скорости и размеров кабин грузовых лифтов должен производиться с учетом технологических требований, максимальной массы и габаритов грузов и сопровождающих их людей, а также величин грузопотоков.
В случаях, оговоренных в ВСН на проектирование различных видов общественных зданий, выбор грузовых лифтов должен быть обоснован расчетом.
2.21 (2.21). Размеры лифтовых холлов и тамбуров перед грузовыми лифтами должны быть не меньше внутренних габаритов шахты и позволять доставку и размещение грузов со средствами транспорта, доставляющими эти грузы. Двери шахт грузовых лифтов не должны выходить наружу из зданий и сооружений. При необходимости загрузки и разгрузки лифта с улицы перед его дверями устраивается тамбур с дверями, предохраняющий лифт от атмосферных осадков и обеспечивающий нормативные условия для работы лифта.
2.22 (2.21). Условия, которые должны быть созданы для нормативной работы лифтов, оговорены в ГОСТ 22011—76*.
2.23 (2.22). Пассажирские лифты устанавливаются на основных путях движения людей. Наиболее целесообразно их размещать в центре здания и сосредоточивать, как правило, в одном лифтовом узле. Рассредоточивать лифты допустимо в зданиях протяженностью более 120 м. Увеличение числа лифтовых узлов в зданиях меньшей протяженности может быть в следующих случаях:
при необходимости выделения отдельных частей зданий с самостоятельным транспортным обслуживанием в соответствии с технологией функционирования зданий;
по условиям зонной организации лифтов (рис. 7);
Рис. 7. Схема зонной организации работы лифтов
1 — группа лифтов, обслуживающих нижнюю зону; 2 — группа лифтов, обслуживающих верхнюю зону; 3 — этаж (этажи) пересадки. Остановка лифтов, обслуживающих верхнюю и нижнюю зоны; 4 — основной посадочный этаж; м. о. — машинное отделение лифтов; Н — высота подъема лифтов в нижней зоне, м; НВ.З. — высота подъема лифтов в верхней зоне, м; НЭ — высота экспрессной зоны, м; N1 Н.З. — число возможных остановок лифтов в нижней зоне; N1В.З. — число возможных остановок лифтов в верхней зоне
когда по расчету вертикального транспорта должно устанавливаться в зданиях более одной группы лифтов;
когда расстояние от дверей наиболее удаленного помещения до дверей ближайшего пассажирского лифта превышает 60 м.
2.24 (2.23). Пассажирские лифты нужно сосредоточивать в группы и располагать рядами. Число лифтов в ряду должно быть не более четырех.
Рекомендуемые сочетания и расположение пассажирских лифтов в группах (т. е. лифтов, объединенных системами группового управления) приведены на рис. 8. В каждой группе пассажирские лифты, обозначенные цифрой 1, должны быть одной и той же грузоподъемности; лифты, обозначенные цифрой 2, — грузоподъемностью 1000 кг с размерами кабины (ширина, глубина) 1100´2100 мм; лифты обозначенные цифрой 3, — для зданий лечебно-профилактических учреждений с размерами кабины 1400´2400 мм.
Лифты в каждом конкретном случае принимаются с одной и той же скоростью, кроме сочетаний, где лифты 3 могут иметь меньшую скорость согласно документации производителя лифтов.
Сочетание и расположение пассажирских лифтов, применяемых в больницах и родильных домах, могут отличаться от приведенных на рис. 8.




Рис. 8. Рекомендуемые сочетания и расположение пассажирских лифтов, объединяемых типовой системой группового управления. Сочетания
2б, г; 3б, г; 4б, г; 6б только для лифтов со скоростями 1 и 1,6 м/с
2.25 (2.13). Строительная часть лифтов проектируется по документации головной научно-исследовательской организации по лифтам.
При разработке проектов зданий необходим чертеж на заказ лифтов. В этом чертеже указывается, что в комплект поставки должна входить система группового управления.
Рекомендуется согласовать с ЦПКБ по лифтам расчет вертикального транспорта, обосновывающий выбор числа и параметров лифтов, сочетание и расположение лифтов в группе, а также другие вопросы.
Наиболее удачным является решение лифтового узла с тупиковым лифтовым холлом. Размещение лифтов с трех сторон лифтового холла не рекомендуется; в случае если такого решения нельзя избежать, то площадь лифтового холла не должна быть меньше, чем если бы то же число лифтов было размещено в два ряда.
2.26 (2.13). На рис. 9 приведены схемы расположения лифтов, встречающиеся в проектной практике и не рекомендуемые для применения.
Рис. 9. Примеры схем нерекомендуемого расположения лифтов
На этом рисунке расположение лифтов на схемах 1, 2, 3 и 4 не позволяет объединить их системами группового управления, что резко снижает эффективность работы лифтов и уровень комфортности обслуживания пассажиров. Расположение лифтов по схемам 1, 2 и 12 допустимо применять в случаях, когда лифты обслуживают различные части здания, сообщение между которыми ограничено или в других случаях, оговоренных в п. 2.12.
При расположении лифтов по схемам 5, 6 и 7 площадь лифтового холла заметно меньше, чем при расположении их в два ряда; кроме того, при этом в углах лифтовых холлов возможны скопления пассажиров при их входе в кабину и выходе из кабины на этажах.
Расстояние между передними стенами лифтовых шахт при расположении лифтов по схеме 8 сильно отличается, что затрудняет пользование лифтами. Лифты, размещенные по схеме 9, не могут быть объединены системой группового управления, что в процессе эксплуатации здания вызовет возникновение холостых пробегов и остановок лифтов. Это отрицательно сказывается на эффективности их работы.
Лифты с различными грузоподъемностями (см. схему 10) не объединяются системами группового управления, кроме случаев, показанных на рис. 8. На схеме 11 и 12 лифты также не могут быть объединены системами группового управления, кроме того, на схеме 11 два лифта выходят непосредственно в коридор, что недопустимо согласно требованию п. 2.23 СНиПа. При расположении лифтов по схеме 13, где число лифтов в ряду более 4, затрудняет пользование лифтами (см. п. 2.23).
2.27 (2.26). В СНиПе приведен перечень здании, при проектировании которых допускается предусматривать централизованную или комбинированную пылеуборку. В остальных зданиях пылеуборка выполняется вручную.
2.28 (2.26). При вакуумной комбинированной пылеуборке предусматривается стационарная вакуумная система для отсасывания пыли из пылеприемников бытовых пылесосов. Схема такой системы приведена на рис. 10.
Рис. 10. Схема вакуумной комбинированной пылеуборки
1 — стояк пылеудаления; 2 — соединительный клапан; 3 — съемная заглушка для прочистки пылепровода; 4 — магистральный пылепровод; 5 — пылесосная установка; 6 — гибкий шланг с металлическим наконечником; А — выброс очищенного воздуха
2.29 (2.26). По способу прокладки магистрального трубопровода системы вакуумной централизованной пылеуборки проектируются с горизонтальным магистральным пылепроводом (рис. 11) или с вертикальным магистральным пылепроводом (рис. 12).
Рис. 11. Схема вакуумной централизованной пылеуборки
с горизонтальным магистральным трубопроводом
1 — стояк пылеудаления; 2 — съемная заглушка для прочистки пылепровода; 3 — соединительный клапан; 4 — магистральный пылепровод; 5 — пылесосная установка; 6 — гибкий шланг; 7 — пылесосный насадок; А — выброс очищенного воздуха
Рис. 12. Схема вакуумной централизованной пылеуборки
с вертикальным магистральным пылепроводом
1 — горизонтальное ответвление; 2 — соединительный клапан; 3 —магистральный пылепровод; 4 — съемная заглушка для прочистки пылепровода; 5 — пылесосная установка; А — выброс очищенного воздуха
Система с горизонтальным магистральным пылепроводом предусматривается с применением настенных соединительных клапанов.
Система с вертикальным магистральным пылепроводом предусматривается с применением напольных соединительных клапанов.
Допускается проектирование системы с комбинацией горизонтального и вертикального магистральных пылепроводов.
Радиус обслуживания одним соединительным клапаном при вакуумной централизованной пылеуборке должен быть не более 15 м.
2.30 (2.26). Расчет систем вакуумной пылеуборки выполняется в следующей последовательности.
1. Общая приведенная площадь поверхностей SПР, подлежащих уборке, м2:
SПР = K1 S S1 + K2 S S2 + … + KiS Si ,(1)
где K1, К2,…, Ki — коэффициенты, характеризующиетрудоемкость уборки пыли с различных поверхностей, принимаемые по табл. 1; S S1, S S2, …, S Si — суммы площадей, характеризуемых одинаковым коэффициентом трудоемкости уборки, м2.
Таблица 1
|
Поверхности, подлежащие уборке |
Коэффициент трудоемкости уборки |
|
Пол ровный, гладкий |
1 |
|
Пол, покрытый ковром |
2 |
|
Стены на высоте: |
|
|
до 2 м |
1 |
|
св. 2 м |
1,5 |
|
Мебель: |
|
|
твердая |
2 |
|
мягкая |
3 |
2. Количество рабочих, необходимых для уборки:
ПР = SПР / 250 ty , (2)
где 250 — производительность одного уборщика, м2/ч; ty — время, отведенное на пылеуборку, ч.
3. Количеству рабочих, определенных по формуле (2), соответствует количество работающих пылесосных насадок
ПС = ПР . (3)
4. Общая производительность воздуходувных машин, м3/ч:
Lобщ = ПС LC ,(4)
где LC — расход воздуха через один пылесосный насадок принимается 180 м3/ч.
5. Общее количество пыли, подлежащее уборке системой пылеудаления
GОБЩ=
, (5)
где Si — площади поверхностей с одинаковой загрязненностью, м2; qi — загрязненность поверхности, кг/м2/сут, принимается:
для твердых полов—0,001;
для полов, покрытых ковром, — 0,005.
6. Диаметры труб вакуумной системы пылеуборки определяются расчетным способом в зависимости от расхода воздуха и принятой скорости.
7. При расчете разветвленных трубопроводов необходимо обеспечить равенство давлений в местах присоединения ответвлений (в узлах) подбором соответствующих диаметров ответвлений.
8. Скорости движения пылевоздушной смеси в трубах вакуумной системы пылеуборки принимаются:
для горизонтальных участков и вертикальных участков с движением пыли снизу вверх — 20 … 25 м/с;
для вертикальных участков с движением пыли сверху вниз — 15 … 20 м/с.
9. В многоэтажных зданиях при наличии нескольких стояков их следует проектировать одного неизменного диаметра. При этом пылеуборка производится поэтажно.
10. При наличии 2 стояков со сборным горизонтальным участком диаметр последнего можно принять равным диаметру стояков, допускается в нем увеличение скорости.
11. Расчетная потеря давления в системе определяется для наиболее удаленного от воздушной машины участка. При этом коэффициенты местного сопротивления для основных узлов систем вакуумной пылеуборки принимаются по табл. 2.
Таблица 2
|
Основные узлы системы вакуумной |
Коэффициент местного сопротивления |
|
Уборочный насадок с длиной, всасывающей щели, мм: |
|
|
150 |
8,3 |
|
250 |
3,6 |
|
350 |
2 |
|
Пылесосный шланг (ТУ 1072-60) диаметром 50 мм и длиной 15 м |
11 |
12. Потерю давления в барбатерах следует принимать 1200 Па.
13. При потерях давления по всасывающем трубопроводе до 10 кПа изменением плотности воздуха в расчетах можно пренебречь. При большем вакууме для более точных расчетов следует учитывать термодинамическое изменение состояния воздуха.
14. Общий коэффициент пылеулавливания двухступенчатого пылеулавливателя рассчитывается по формуле
hобщ = (h1 + h2 —h1h2) , (6)
где h1 и h2 — коэффициенты пылеулавливания первой и второй ступени пылеулавливателя.
15. Пылесборник пылеулавливателя рассчитывается не менее чем на суточный объем уловленной пыли.
2.31 (2.26). Воздуходувные машины и пылеулавливатели необходимо, как правило, располагать в специальных помещениях — пылесосных камерах, которые можно размещать в технических подпольях зданий.
2.32 (2.26). Подсоединение пылепроводов и вытяжного воздуховода к воздуходувной машине осуществляется через эластичные воздухонепроницаемые вставки диаметром, равным подсоединяемому трубопроводу, длиной не менее 200 мм. Воздуходувная машина устанавливается на пружинных или резиновых амортизаторах.
2.33 (2.26). Для контроля за работой пылесосной установки предусматривается вакуумметр на всасывающей стороне воздуходувной машины.
2.34 (2.26). Управление пылесосной установкой предусматривается местное. Работу пылесосной установки надо включать в общую систему автоматизации и диспетчеризации управления и контроля за работой инженерного оборудования здания при их наличии.
2.35 (2.26). При проектировании системы вакуумной пылеуборки в части огнестойкости стенок пневмопроводов, правил прокладки пневмопроводов по зданию, устройству огнезадерживающих клапанов, требовании к пылеуловителям, пылесборникам и камерам воздуходувных машин необходимо руководствоваться требованиями и прокладке воздуховодов, содержащихся в СНиП 2.04.05-86 «Отопление, вентиляция и кондиционирование».
2.36 (2.26). С целью предотвращения взрывов пыли от: зарядов статического электричества стенки пневмопроводов необходимо заземлять в соответствии с требованиями, «Правил защиты от статического электричества в производствах химической промышленности».
2.37 (2.28—2.30). В общественных зданиях должна быть предусмотрена система удаления мусора.
Система мусороудаления должна включать сбор, накопление, а также временное (в пределах санитарных норм) хранение мусора и обеспечение его дальнейшего вывоза.
При удалении пищевых отходов из зданий и помещении общественного питания должны учитываться специальные технические и гигиенические требования к их сбору, хранению и транспортированию,
Система удаления мусора из зданий должна быть увязана с системой санитарной очистки населенного пункта. При проектировании крупных комплексов, общественных центров и зданий допускается устройство пневматической системы для сбора и удаления мусора, включая средства для его вывоза.
Мусоропроводы в зданиях должны соответствовать требованиям ВСН 8-72.
Примерные схемы мусоропроводов приведены на рис. 13, а пример установки загрузочного клапана на рис. 14.
Рис. 13. Примерные схемы мусоропроводов
1 — контейнер; 2 — направляющий патрубок с шибером; 3 — опора отвода мусоропровода; 4 — отметка промежуточной площадки лестницы; 5 — фланец дефлектора; 6 — дефлектор; 7 — загрузочный клапан; 8 — направляющий патрубок с шибером; 9 — контейнер
Рис. 14. Установка загрузочного клапана в стене мусоросборной камеры
1 — лоток; 2 — клапан загрузочный; 3 — опора ствола мусоропровода; 4 — направляющий патрубок с шибером; 5 — контейнер
2.38 (2.28—2.30). Металлические элементы мусоропроводов должны соответствовать стандартам:
ГОСТ 24324—80 «Клапаны загрузочные для мусоропроводов жилых и общественных зданий. Технические условия»;
ГОСТ 26256—84 «Шиберы для мусоропроводов жилых и общественных зданий. Технические условия»;
ГОСТ 26257—84 «Контейнеры несменяемые для мусоропроводов жилых и общественных зданий. Технические условия».
2.39 (2.28—2.30). Ствол мусоропровода должен выполняться, как правило, из элементов цилиндрических асбестоцементных с условным проходом. Допускается стволы мусоропроводов выполнять круглой формы указанного размера из других соответствующих строительных материалов, а также совмещенными с конструктивными элементами здания (лифтовыми и вентиляционными шахтами, каналами дымоудаления и т. п.) (рис. 15, 16, 17).

Рис. 15. Схема ствола мусоропровода, совмещенного с лифтовой шахтой
1 — канал вентиляции технического подполья; 2 — блок объемной шахты; 3 — канал мусоропровода

Рис. 16. Схема ствола мусоропровода, совмещенного
с вентиляционным блоком
1 — гипсобетонный блок инженерных коммуникаций КБ 5—2; 2 — мусоропровод
Рис. 17. Схема створа мусоропровода, совмещенного с вентиляционным блоком сечения
1 — гипсобетонный блок; 2 — плита перекрытия лестничной клетки; 3 — гернитовый шнур Ф 40 ПВТУ 32-65.
2.40 (2.28—2.30). При смежном размещении стволов мусоропроводов, вентиляционных шахт и каналов дымоудаления перегородки, отделяющие ствол мусоропровода от вентиляционных шахт или каналов дымоудаления, должны быть пылегазонепроницаемыми и иметь предел огнестойкости, установленный СНиП 2.04.05—86.
2.41 (2.28—2.30). Мусоропроводы не должны сужать расчетную ширину путей эвакуации людей и не должны препятствовать открыванию дверей эвакуационных выходов, очистке окон; к загрузочным клапанам должен быть обеспечен удобный и освещенный подход.
2.42 (2.28—2.30). Наружная сторона двери мусоросборной камеры должна иметь архитектурно-декоративное покрытие.
Допускается установка раздельных дверей: функциональной (внутренней) и декоративной (наружной).
Для строительства в I климатическом районе и IIIА климатическом подрайоне необходимо устройство в мусоросборной камере тамбура с раздельными дверями:внутренней — функциональной и наружной — декоративной.
2.43 (2.28—2.30). Светильники электрического освещения мусоросборной камеры устанавливаются в пыленепроницаемом влагозащищенном исполнении; вход в мусоросборную камеру также должен иметь электрическое освещение (в уличном исполнении).
2.44 (2.28—2.30). В зданиях, оборудованных автоматическими установками пожаротушения (спринклерные установки) или автоматической пожарной сигнализацией (тепловой), необходимо предусматривать установку пожарных датчиков или спринклеров в мусоросборных камерах.
2.45 (2.28—2.30). Для накопления и временного хранения мусора в зданиях, не оборудованных мусоропроводом, проектируемых для строительства в городах, следует предусматривать мусоросборную камеру или другое хозяйственное помещение.
Мусоросборная камера и зданиях, не оборудованных мусоропроводом, может быть встроенной, пристроенной или отдельно стоящей.
Требования к таким мусоросборным камерам предъявляются такие же, как к камерам зданий, оборудованных мусоропроводом.
2.46 (2.28—2.30). Для накопления и временного хранения мусора в зданиях, не оборудованных мусоропроводом, проектируемых для строительства в поселках и сельских населенных пунктах, допускается (вместо мусоросборной камеры) использовать крытую или открытую хозяйственную площадку или хозяйственное помещение.
2.47 (2.28—2.30). Отдельно стоящие хозяйственные помещения и площадки следует располагать на расстоянии не менее 14—20 м и не более 75—100 м от общественных зданий.
Отдельно стоящие хозяйственные помещения и площадки должны быть ограждены зелеными насаждениями, ассортимент которых определяется климатической зоной,
Зеленые насаждения и ограждения не должны ограничивать работу мусоровоза.
Примерная схема площадки под мусоросборники вместимостью 0,1 м3 приведена на рис. 18.
Рис. 18. Схема площадки под мусоросборники вместимостью 0,1 м3
Рекомендуемые схемы крытых площадок под контейнеры вместимостью до 0,75 м3 показаны на рис. 19, 20.

Рис. 19. Площадка крытая для двух контейнеров

Рис. 20. Площадка крытая для пяти контейнеров
2.48 (2.28—2.30). Минимальные площади элементов хозяйственных помещений и площадок для размещения в них специального оборудования и подходов для обслуживания приведены в табл. 3.
Таблица 3
|
Наименование |
Необходимая площадь на единицу инвентаря, м2 |
|
|
|
для размещения |
для обслуживания |
|
Мойка |
0,24 |
1 |
|
Трап для отвода сточной воды в канализационную сеть |
0,1 |
— |
|
Тележка для транспортирования тары и других работ дворника |
0,9 |
1,2 |
|
Место для хранения инвентаря дворника |
0,55 |
1 |
|
Место хранения вторсырья |
3 |
0,5 |
|
Мусоросборники вместимость. 0,1 м3 |
0,19 |
— |
|
Контейнеры вместимостью 0,3 м3 |
0,66 |
— |
|
Контейнеры вместимостью 0,75 м3 |
1 |
1,5 |
П р и м е ч а н и е. К сумме площадей вводится коэффициент КС = 0,9, учитывающий возможность их совмещения при работе.
2.49 (Раздел 2). При проектировании зданий для строительства в IА, IБ и IГ климатических подрайонах необходимо по возможности принимать компактные объемно-планировочные решения, избегать сложных по конфигурации планов и разновысотности отдельных частей здания.
2.50. В наружных стенах подвалов и технических подполий, не имеющих вытяжной вентиляции, необходимо предусматривать продухи общей площадью не менее 1 : 400 площади пола.
2.51. В зданиях высотой 9 этажей нужно предусмотреть возможность крепления строительных люлек с электроприводом или другое устройство для ремонта и чистки фасадов.
2.52 (Приложение 2). Помещения в подвальных и цокольных этажах общественных зданий могут быть использованы по второму назначению для нужд гражданской обороны под помещения основного назначения убежищ и противорадиационных укрытий в соответствии с нормативными документами.
2.53. Помещения, предназначенные для использования по второму назначению, рекомендуется предусматривать внутри застройки под зданиями наименьшей этажности.
2.54. При использовании помещений для нужд гражданской обороны желательно отдавать предпочтение большим помещениям, как, например, вестибюль с гардеробной, фойе, холлы, торговые залы магазинов, группа помещений предприятий общественного питания, лаборатории и аудитории для изучения спецпредметов с нестационарным, убираемым спецоборудованием, помещения для посетителей, демонстрационные залы, залы семейных торжеств, приемные пункты бытового обслуживания, стрелковые тиры, спортивные залы для тренировочных занятий, кинотеатры или их залы вместимостью до 300 мест, выставочные залы и пр.
2.55. Суммарная площадь помещений, предназначенных для укрываемых в убежище, должна быть не менее 75 м2, при этом желательно, чтобы площадь отдельных помещений была не менее 25 м2.
Суммарная площадь помещений, предназначенных для укрываемых в противорадиационных укрытиях, должна быть не менее 25 м2.
2.56. Помещения, используемые в качестве убежища, должны быть, как правило, высотой не более 3,5 м и не менее 1,8 м.
2.57. В кладовых и подсобных помещениях стеллажи, поддоны и другие виды оборудования желательно проектировать с учетом возможности их приспособления для размещения укрываемых.
2.58. Помещения, предназначенные для использования под противорадиационные укрытия, рекомендуется проектировать исходя из минимальных затрат времени и средств на их переоборудование и срочное повышение защиты от ионизирующих излучений (предусматривать оконные решетки в приямках, допускающие усиление выступающих над поверхностью земли стен цокольного этажа, наружные подоконные доски для заделки оконных проемов, экраны у входов и пр.).
Массу строительных элементов для усиления стен и закрытия оконных проемов с целью срочного повышения защиты помещений от ионизирующих излучений рекомендуется принимать до 80—100 кг.
2.59. В помещениях, предназначенных для использования по второму назначению в качестве убежища, в отделке интерьеров нежелательно применять штукатурку, облицовочные плитки и другие откалывающиеся отделочные материалы.
Рекомендуются: побелка и окраска клеевыми и масляными красками с получением матовых поверхностей, офактуривание лицевой поверхности сборных элементов в заводских условиях, затирка швов и лицевой поверхности, щитовые отделочные материалы с соответствующими противопожарными характеристиками.
Часть 1 | |
| Часть 2 |
3. ПРОТИВОПОЖАРНЫЕ ТРЕБОВАНИЯ3.1 (3.1). При проектировании общественных зданий со стилобатом площадь этажа можно принимать без учета площади стилобата при условии отделения высотной части здания противопожарной стеной. Допускается сообщение высотной части здания со стилобатной через противопожарный тамбур-шлюз с подпором воздуха не менее 20 Па. 3.2 (3.8). В прил. 3 приведен пример расчета плотности людского потока в коридоре. 3.3 (3.11). Поэтажные холлы открытых на всю высоту здания лестниц рекомендуется отделять противопожарными перегородками от коридоров и других помещений на каждом этаже здания. 3.4 (3.17). Пример планировочного решения по устройству выходов из лестничных клеток через один вестибюль приведен на рис. 21. |
||||||||||||||||||||||||||||||||||||||||||||||||||||||||||||||||||||||||||||||||||||||||||||||||||||||||||||||||||||||||||||||||||||||||||||||||||||||||||||||||||||||||||||||||||||||||||||||||||||||||||||||||||||||||||||||||||||||||||||||||||||||||||||||||||||
|
Nв / N1 |
Кн |
|
0,6 |
0,8 |
|
0,61 … 0,8 |
0,9 |
|
> 0,8 |
1 |
12. Число вероятных остановок лифта за круговой рейс выше основного посадочного этажа
Nв = Nв. п + Nв. с ; (11)
Nв. п =
; (12)
Nв. с =
; (13)
где Nв.п , Nв.с — число вероятных остановок лифта выше основного посадочного этажа при подъеме и спуске соответственно; N1 — число возможных остановок лифта выше основного посадочного этажа при подъеме или спуске; Км.п , Км.с — коэффициент междуэтажных перевозок выше основного посадочного этажа при подъеме и спуске соответственно.
Величины Nв.п и Nв.с при Км.п и Км.с = 1 могут быть найдены по табл. 2. При Км.п и Км.с ¹ 1 табличные значения Nв.п и Nв.с следует умножить на значения указанных коэффициентов.
Таблица 2
|
N1 |
Заполнение кабины при подъеме Еп или спуске Ес |
|
|||||||||
|
|
1 |
2 |
3 |
4 |
5 |
6 |
7 |
8 |
9 |
10 |
|
|
1 |
2 |
3 |
4 |
5 |
6 |
7 |
8 |
9 |
10 |
11 |
|
|
3 |
1 |
1,67 |
2,11 |
2,41 |
2,6 |
2,74 |
2,82 |
2,88 |
2,92 |
2,95 |
|
|
4 |
1 |
1,75 |
2,31 |
2,73 |
3,05 |
3,29 |
3,47 |
3,60 |
3,70 |
3,77 |
|
|
5 |
1 |
1,8 |
2,44 |
2,95 |
3,36 |
3,69 |
3,95 |
4,16 |
4,33 |
4,46 |
|
|
6 |
1 |
1,83 |
2,53 |
3,11 |
3,59 |
3,99 |
4,33 |
4,60 |
4,84 |
5,03 |
|
|
7 |
1 |
1,86 |
2,59 |
3,22 |
3,76 |
4,22 |
4,62 |
4,96 |
5,25 |
5,5 |
|
|
8 |
1 |
1,87 |
2,64 |
3,31 |
3,9 |
4,41 |
4,86 |
5,25 |
5,59 |
5,9 |
|
|
9 |
1 |
1,89 |
2,68 |
3,38 |
4,01 |
4,56 |
5,05 |
5,49 |
5,88 |
6,23 |
|
|
10 |
1 |
1,90 |
2,71 |
3,44 |
4,10 |
4,69 |
5,22 |
5,70 |
6,13 |
6,51 |
|
|
11 |
1 |
1,91 |
2,74 |
3,49 |
4,17 |
4,79 |
5,36 |
5,87 |
6,33 |
6,76 |
|
|
12 |
1 |
1,92 |
2,76 |
3,53 |
4,23 |
4,88 |
5,47 |
6,02 |
6,52 |
6,97 |
|
|
13 |
1 |
1,92 |
2,78 |
3,56 |
4,29 |
4,96 |
5,58 |
6,15 |
6,67 |
7,16 |
|
|
14 |
1 |
1,93 |
2,79 |
3,59 |
4,33 |
5,03 |
5,67 |
6,26 |
6,81 |
7,33 |
|
|
15 |
1 |
1,93 |
2,80 |
3,62 |
4,38 |
5,08 |
5,75 |
6,36 |
6,94 |
7,48 |
|
|
16 |
1 |
1,94 |
2,82 |
3,64 |
4,41 |
5,14 |
5,82 |
6,45 |
7,05 |
7,61 |
|
|
17 |
1 |
1,94 |
2,83 |
3,66 |
4,45 |
5,18 |
5,88 |
6,53 |
7,15 |
7,73 |
|
|
18 |
1 |
1,94 |
2,84 |
3,68 |
4,47 |
5,23 |
5,94 |
6,61 |
7,24 |
7,84 |
|
|
19 |
1 |
1,95 |
2,84 |
3,70 |
4,50 |
5,26 |
5,99 |
6,67 |
7,32 |
7,94 |
|
|
20 |
1 |
1,95 |
2,85 |
3,71 |
4,52 |
5,30 |
6,03 |
6,73 |
7,40 |
8,03 |
|
| Часть 2 |
| | Часть 3
|
Окончание табл. 2
П р и м е ч а н и е. Число вероятных остановок при дробных значениях Еп и Ес определяется интерполяцией. 13. Коэффициенты междуэтажных перевозок учитывают дополнительные остановки, которые должен сделать лифт для обслуживания пассажиров, перемещающихся на подъем и спуск между этажами выше основного посадочного этажа: Км.п = ам.э.п5 / а1м5 ; Км.с = ам.э.с5 / а1с5 ; (14) где ам.э.п5 и ам.э.с5 — численность пассажиров (пассажиропоток), перемещающихся между этажами выше основного посадочного на подъем и спуск в течение пиковых пяти минут; а1м5 и а1с5 — численность пассажиров (пассажиропоток), поднимающихся с основного посадочного этажа и спускающихся на основной посадочный этаж в течение «пиковых» пяти минут. При выполнении расчетов вертикального транспорта для зданий, в которых пассажиропотоки выше основного посадочного этажа отсутствуют, коэффициенты Км.п и Км.с равны единице: Км.п = 1; Км.с = 1 . 14. Затраты времени St St = (t1 + t2 + t3) (Nв + 1) + t4 + t5 , где t1 — затраты времени на разгон лифта до установившейся скорости и торможение от номинальной скорости до полной остановки, с; t2 — затраты времени на пуск лифта, с; t3 — затраты времени на открывание дверей, с; t4 — затраты времени на вход пассажиров в кабину лифта, с; t5 — затраты времени на выход пассажиров из кабины лифта, с. 15. Значения hи для лифтов с различными скоростями приведены в табл. 3. Таблица 3
16. Время входа пассажиров в кабину лифта и выхода из нее за круговой рейс t4 + t3 = 2Dt (Еп Км.п + Ес Км.с) , (15) где Dt — время входа или выхода одного пассажира с. Величина Dt принимается: Dt = 1,5 с — при ширине дверного проема меньше 1000 мм; Dt = 1с — при ширине дверного проема 1000 и более мм; Dt = 1,2 с — при ширине дверного проема меньше 1000 мм; Dt = 0,8 с — при ширине дверного проема 1000 и более мм. ПРИЛОЖЕНИЕ 3 Пример расчета плотности людского потока в коридореНа рис. представлена схема плана типового этажа корпуса технического вуза. Здание второй степени огнестойкости имеет 7 этажей На этаже размещаются помещения кафедр и помещения для занятий по половине группы, размером в осях 6´6 м, которые могут объединяться в общую аудиторию для занятий целой группы (размером в осях 6´9 м и 6´12 м).
Схема плана типового этажа технического вузаАбсолютно симметричное размещение лестничных клеток (А, Б, В и Г) позволяет подразделить план на четыре равные зоны. На рис. приведена схема планировки одной из таких зон, обслуживаемых лестничной клеткой Б, с указанием количества людей, эвакуирующихся из каждой аудитории, и маршрутов их движения в лестничную клетку Расчетная схема путей эвакуации и движения людских потоков дана на рис. В каждом помещении аудиторий находится менее 50 чел. и расстояние от любой точки в ней до выхода не превышает 25 м, поэтому согласно п. 3.5 и СНиП 2.08.02-85 из аудиторий может быть один выход в коридор с минимальной шириной двери выхода из помещения, равной 0,9 м. Ширина коридора в свету dК составляет 2,6 м. Поток в коридоре формируется на участках от выходов из помещений, наиболее удаленных от лестничной клетки Б, до дверного проема, отдаляющего его от поэтажного холла, т. е. на участках (слева и справа по отношению к лестничной клетке) длиной l1 = 6 + 6 + 1,5 = 13,5 м. Плотность людского потока на участке его формирования в коридоре определяется как количество людей N, выходящих на него, к его площади. При этом следует учитывать неодновременность использования всех помещений, принимая расчетную численность студентов с коэффициентом К = 0,8 от проектной вместимости помещений. Следовательно, расчетная плотность людского потока на участке формирования в коридоре определится по формуле DК = По табл. 6 СНиП 2.08.02—85 этому значению плотности соответствует допустимое расстояние от наиболее удаленного выхода из помещения до выхода в лестничную клетку: 60 м — из помещений, расположенных между лестничными клетками; 30 м — из помещений с выходами в тупиковый коридор. Фактические расстояния в рассматриваемом проекте составляют 13,5 + 6 + 2 = 21,5 м, что меньше нормативных. Двигаясь по пути эвакуации, людские потоки проходят через три дверных проема. Следует определить их требуемую ширину где SNK — суммарное количество людей (с учетом неодновременности использования аудиторного фонда вуза), чел.; 165 — нормативное для зданий I и II степени огнестойкости количество людей, пропускаемых 1 м ширины двери без образования скоплений людей перед ней, чел. Через дверной проем, отделяющий коридор от поэтажных холлов, эвакуируется Nр= 67,2 чел., следовательно и поэтому может быть принята равной минимально допустимой ширине 1,2 м. Перед следующим дверным проемом на путях эвакуации расположен дверной проем в лифтовый холл. Передним сливаются людские потоки, идущие с правой и левой частей коридора. Суммарное расчетное количество людей составляет Np= 2 × 67,2 = 134,4 чел. Требуемая расчетная ширина дверей этого выхода составит и должна быть принята минимально допустимой, равной 1,2 м. Поскольку количество людей, эвакуирующихся через последующий выход (выход из лифтового холла в лестничную клетку), равно количеству людей, эвакуирующихся через предыдущий выход, то ширина этого выхода должна быть такой же, т. е. d3 = d2 = 1,2 м. Ширина лестничного марша согласно требованиям п. 3.19 должна быть не менее ширины выхода в лестничную клетку с этажа, т. е. d4 = 1,2 м и соответствует минимальной (п. 3.19) для рассматриваемого вида зданий. ПРИЛОЖЕНИЕ 4 Расчет дымоудаления из помещения без естественного освещенияОпределяется расход дыма, который необходимо удалить из помещения без естественного освещения, для хранения горючего вещества массой 3000 кг в пересчете на древесину. Площадь помещения составляет 100 м2, в помещении имеется дверь шириной 0,85 м и высотой 2 м. Расчетная температура в смежных помещениях составляет 18°С. Определяем удельную пожарную нагрузку q = 3000 / 100 = 30 к×м-2 . По графику рис. 23 определяем продолжительность начальной стадии пожара (0,15 ч) и максимальную среднеобъемную температуру в помещении tпом = 1000 °С. Плотность воздуха в смежном помещении rс = 353/273 + tc = 353/273 +18 = 1,21 кг×м-3. Плотность газов в помещении, где возник пожар rпом = 353/273 + 1000 = 0,28 кг×м-3. Расход дыма, который необходимо удалить из помещения, где возник пожар, определяем по формуле (1) G = 0,8 ВН = 6,4 кг×с-1 . Объемный расход удаляемого дыма Q = G / rпом = 6,4 / 0,28 = 22,8 м-3×с-1 = 82 300 м3×ч-1 . Расчет требуемого давления вентилятора Р производится для конкретного исполнения канала дымоудаления и обвязки вентилятора. Выбор вентилятора осуществляется по каталогам в соответствии с полученными расчетом Р и Q. ПРИЛОЖЕНИЕ 5 Пример расчета параметров системы дымоудаления из коридора 16-этажного административного зданияТребуется рассчитать расход газов в системе дымоудаления 16-этажного административного здания. Высота этажа здания hэт = 3,6 м. Средняя пожарная нагрузка в помещениях составляет 20 кг×м-2. Дверные проемы в помещениях имеют размеры НоВо = 2 × 1 м. Помещения оборудованы приточной общеобменной вентиляцией, обеспечивающей трехкратный обмен воздуха. Поэтажный коридор длиной 60 м разделен посередине на отсеки перегородкой с дверью. Размеры дверных проемов в перегородках, отделяющих лестничную клетку с подпором воздуха от первого отсека коридора и отсеки коридора друг от друга, составляют НпВп = 2 × 1 м. Средняя температура наружного воздуха наиболее холодной пятидневки года Тп составляет минус 30°С, скорость ветра uв 5 м×с-1. В здании поддерживается температура Тd, равная 20 °С. По номограмме рис. 23 определяем максимальную по времени среднеобъемную температуру в помещении, где возник пожар: То.м = 912 °С= 1185 К. Определяем температуру продуктов горения, выходящих из помещения очага пожара в коридор То.к = 0,65 То.м = 0,65 × 1185 = 770 К. Среднюю скорость воздуха в дверном проеме между поэтажным коридором и лестничной клеткой с подпором воздуха uп, предотвращающую поступление дыма в лестничную клетку, определим по формуле uп = (0,46 — 0,09lп / L ) где lп — расстояние от двери помещения очага пожара до двери в лестничную клочку, м; L — длина отсека коридора, м. Температуру приточного воздуха Тп вычисляем по формуле Тп = (Тн + Тв) / 2 = (243 + 293) / 2 = 268 К. Плотность приточного воздуха rп вычислим по формуле rп = 353/Тп = 353 / 268 = 1,32 кг×м-3. Определим расход приточного воздуха из лестничной клетки в поэтажный коридор Gп Gп = rп Нп Вп uп = 1,32 × 2 × 1 × 2 = 5,3 м×с-1 . Расход воздуха в приточной системе общеобменной вентиляции Gо.в вычисляем по формуле Go.в = n Vпом rп / 3600 = 3 (36 × 3,6) 1,32 / 3600 = 0,13 кг×с-1 , где n — кратность воздухообмена в рабочих помещениях; Vпом — объем рабочего помещения, м3. Вычисляем расход дыма Gд, удаляемого из отсека поэтажного коридора Gд =1,1Gп + Gо.в = 1,1 × 5,3 + 0,13 + 6,01 кг×с-1. Определяем расход продуктов горения G2 из помещения очага пожара в поэтажный коридор G2 = 0,6 Bo Ho3/2 = 0,6 ×1 × 23/2 = 1,69 кг×с-1 . Температуру дыма Тд, удаляемого из отсека поэтажного коридора, определяем по формуле Тд = G2 Tо.к+Тп (Gп — 0,9 G2) / Gд = = 1,69×770 + 268 (5,3 — 0,9×1,69) / 6,01 = 385 К. Плотность продуктов горения rд в отверстиях клапана дымоудаления определяем по формуле rд = 353 / Тд = Принимаем площадь отверстия клапана дымоудаления fкл равной 0,5 м2 и вычисляем скорость дыма в нем: uд = Gд / rд fкл = 6,01 / 0,917 × 0,5 = 13,1 м×с-1. Среднюю по высоте шахты дымоудаления температуру продуктов горения Тс вычисляем по формуле Тс = Тв + (Тд — Тв) 1 = 293 + (385 — 293) 1 — е—0,0725×16×3,6 / 0,0725 × 16 × 3,6 = 314 К , где N — количество этажей. Плотность продуктов горения rс при этой температуре находим по формуле rс = 353/Тс = 353 / 314 = 1,11 кг×м-3. Расход продуктов горения Gо.ш.д на оголовке шахты дымоудаления определяем по формуле Gо.ш.д = Gд + hэ Gф (N — 1) = 6,01 + 3,6 × 0,11 (16 — 1) = 12 кг×с-1 , где Gф — расход воздуха фильтрующегося в шахту дымоудаления через метр ее высоты (принимать Gф не менее 0,11 кг×с-1м-1). Среднюю скорость uш в шахте дымоудаления при ее площади сечения, равной fшд= 1 м2, вычислим по формуле uш = Потери давления в шахте дымоудаления DРш.д вычисляем по формуле DРш.д = где xш.д — коэффициент гидравлического сопротивления шахты дымоудаления; dэ — эквивалентный диаметр шахты дымоудаления, вычисляется через размеры проходного сечения А и В по формуле dэ = 4 fш.д/2A +2В=4×1/2 ×1+2 ×1 =1 м. Потери давления на клапане дымоудаления DРк.д вычисляем по формуле DРк.д = xк.д rд u2 / 2 = 1,5 ×0,917 × 13,12/2 = 118 Па, где xк.д —коэффициент гидравлического сопротивления клапана дымоудаления. Эквивалентную площадь проемов (mf)э, отделяющих лестничную клетку с подпором от объема второго отсека коридора, определяем по формуле (mf)э = [1 / (mfп)2 + 1 / (mfп)2 ]—1/2 = [1/(0,64×1,2)2 + 1/(0,64×1,2)2]—1/2 = = 0,905 м2 , где m — коэффициент расхода (m = 0,64). Потерю давления DРп в дверных проемах, отделяющих лестничную клетку от объема второго отсека коридора, вычисляем по формуле DРп = На оголовке шахты дымоудаления вентилятор должен развить давление Рв, равное: Рв = DРп + DРкл + DРш.д —DРсети . Потери давления в обвязке вентилятора дымоудаления DРсети вычисляются по известным из гидравлики формулам с учетом конструктивного ее исполнения. Объемный расход дыма на оголовке шахты дымоудаления определяется по формуле Qд = 3600Gо.ш.д / rс = 3600 × 12 / 1,11 = 38920 м3×ч-1 = 40000 м3×ч-1 . Располагая значения Q и Рв по каталогам, выбираем вентиляционное оборудование.
|
|||||||||||||||||||||||||||||||||||||||||||||||||||||||||||||||||||||||||||||||||||||||||||||||||||||||||||||||||||||||||||||||||||||||||||||||||||||||||||||||||||||||||||||||||||||||||||||||||||||||||||||||||||||||||||||||||||||||||||||||||||||||||||||||||||||||||||
| | Часть 3






























чел.-ч ; (6)
чел.-ч ; (7)


= 6,01 + 12 / 2
=
= 430 Па,