|
ФЕДЕРАЛЬНОЕ АГЕНТСТВО ПО ТЕХНИЧЕСКОМУ РЕГУЛИРОВАНИЮ И МЕТРОЛОГИИ |
||
|
|
НАЦИОНАЛЬНЫЙ СТАНДАРТ российской ФЕДЕРАЦИИ |
ГОСТ Р ЕН 13779— 2007 |
ВЕНТИЛЯЦИЯ В НЕЖИЛЫХ ЗДАНИЯХ
Технические требования к системам вентиляции и кондиционирования
ЕН 13779:2005
Ventilation for non-residential buildings — Performance requirements for ventilation and room-conditioning systems
(IDT)
|
|
Москва Стандартинформ 2008 |
Предисловие
Цели и принципы стандартизации в Российской Федерации установлены Федеральным законом от 27 декабря 2002 г. № 184-ФЗ «О техническом регулировании», а правила применения национальных стандартов Российской Федерации — ГОСТ Р 1.0—2004 «Стандартизация в Российской Федерации. Основные положения»
Сведения о стандарте
1 ПОДГОТОВЛЕН Общероссийской общественной организацией «Ассоциация инженеров по контролю микрозагрязнений» (АСИНКОМ) на основе собственного аутентичного перевода стандарта, указанного в пункте 4
2 ВНЕСЕН Техническим комитетом по стандартизации ТК 184 «Обеспечение промышленной чистоты»
3 УТВЕРЖДЕН И ВВЕДЕН В ДЕЙСТВИЕ Приказом Федерального агентства по техническому регулированию и метрологии от 27 декабря 2007 г. № 616-ст
4 Настоящий стандарт идентичен международному стандарту ЕН 13779:2005 «Вентиляция в нежилых зданиях. Технические требования к системам вентиляции и кондиционирования» (EN 13779:2005 «Ventilation for non-residental buildings — Performance requirements for ventilation and room-conditioning systems»)
При применении настоящего стандарта рекомендуется использовать вместо ссылочных международных стандартов соответствующие им национальные стандарты, сведения о которых приведены в дополнительном
5 ВВЕДЕН ВПЕРВЫЕ
Информация об изменениях к настоящему стандарту публикуется в ежегодно издаваемом информационном указателе «Национальные стандарты», а текст изменений и поправок — в ежемесячно издаваемых информационных указателях «Национальные стандарты». В случае пересмотра (замены) или отмены настоящего стандарта соответствующее уведомление будет опубликовано в ежемесячно издаваемом информационном указателе «Национальные стандарты». Соответствующая информация, уведомление и тексты размещаются также в информационной системе общего пользования — на официальном сайте Федерального агентства по техническому регулированию и метрологии в сети Интернет
Содержание
Введение
Настоящий стандарт содержит требования к системам вентиляции и кондиционирования воздуха с целью обеспечения комфортных условий для находящихся в здании людей и соблюдения условий гигиены в помещениях во все времена года при оправданных капитальных и текущих расходах. В стандарте приведены:
— параметры воздуха внутри помещений;
— исходные данные и требования к проектированию;
— порядок регулирования отношений между различными сторонами, работающими в данной области.
НАЦИОНАЛЬНЫЙ СТАНДАРТ РОССИЙСКОЙ ФЕДЕРАЦИИ
|
ВЕНТИЛЯЦИЯ В НЕЖИЛЫХ ЗДАНИЯХ Технические требования к системам вентиляции и кондиционирования Ventilation for non-residential buildings. Performance requirements for ventilation and room-conditioning systems |
Дата введения — 2008—10—01
1 Область применения
Настоящий стандарт устанавливает технические требования к проектированию систем вентиляции и кондиционирования воздуха в нежилых зданиях, в которых могут находиться люди. Стандарт также устанавливает термины и определения для различных параметров этих систем. Здания с естественной вентиляцией не рассматриваются.
Системы вентиляции и кондиционирования классифицируются по различным признакам. В стандарте приведены примеры для некоторых параметров, а также требования к их значениям с указанием пределов изменения. Приведенные номинальные и предельные значения следует использовать, если не установлены иные требования. При выборе системы следует учитывать тип здания и его назначение. Если используется другая классификация, то этому должно быть дано соответствующее обоснование. Следует выполнять также требования других нормативных документов, относящихся к вентиляции и кондиционированию воздуха, выходящих за рамки настоящего стандарта.
2 Нормативные ссылки
В настоящем стандарте использованы нормативные ссылки на следующие международные стандарты:
ЕН 12097:1997 Вентиляция в зданиях. Воздуховоды. Требования к элементам воздуховодов с учетом технического обслуживания воздуховодов
ЕН 12237:2003 Вентиляция в зданиях. Воздуховоды. Прочность и утечки в витых воздуховодах из листового металла
ЕН 12464-1:2003 Свет и освещение. Освещение рабочих мест. Часть 1. Рабочие места в помещениях
ЕН 12599:2000 Вентиляция в зданиях. Методы испытаний и контроля при сдаче готовых систем вентиляции и кондиционирования воздуха
ЕН 12792:2004 Вентиляция в зданиях. Обозначения и термины
ЕН ИСО 7730:2006 Эргономика окружающих тепловых условий. Аналитическое определение и интерпретация комфортности теплового режима с использованием расчета показателей PMV и PPD и критериев локального теплового комфорта (ISO 7730:2005)
3 Термины и определения
3.1 Общие положения
В настоящем стандарте применены термины и определения, приведенные в ЕН 12792.
3.2 Типы потоков воздуха
Типы потоков воздуха приведены в .
3.3 Эксплуатируемая (рабочая) зона
Эксплуатируемая зона определяется с учетом размеров и назначения помещения. Как правило, термин «эксплуатируемая зона» используется только для случая нахождения в ней людей и задается объемом воздуха, ограниченным определенными вертикальными и горизонтальными плоскостями. Вертикальные плоскости параллельны стенам помещения. Как правило, задается высота эксплуатируемой зоны. Эксплуатируемая зона в помещении является пространством, в котором предусмотрено нахождение людей и в котором заданы требования к параметрам окружающей среды. Характеристики эксплуатируемой зоны приведены в .
3.4 Эффективность вентиляции
Эффективность вентиляции характеризует связь между концентрацией загрязнений в приточном воздухе, вытяжном воздухе и в зоне дыхания (внутри эксплуатируемой зоны). Эффективность вентиляции εv вычисляется по формуле
(1)
где сЕНА — концентрация загрязнений в вытяжном воздухе;
сIDA — концентрация загрязнений внутри помещения (в зоне дыхания в пределах эксплуатируемой зоны);
csup — концентрация загрязнений в приточном воздухе.
Эффективность вентиляции зависит от распределения воздуха, а также от вида и места нахождения источников загрязнения воздуха. Она может быть разной для различных видов загрязнений. Если происходит полное удаление загрязнений, то эффективность вентиляции равна единице. Более подробно понятие «эффективность вентиляции» рассмотрено в CR 1752 [].
Примечание — Для обозначения данного понятия также широко используется термин «эффективность удаления загрязнений».
3.5 Удельная мощность вентилятора
Удельная мощность вентилятора PSfp > Вт∙с/м3, вычисляется по формуле
(2)
где Р — потребляемая мощность электродвигателя вентилятора, Вт;
qv — номинальный расход воздуха через вентилятор, м3/с;
∆р — перепад давления воздуха на вентиляторе;
ηtot — общий КПД вентилятора, электродвигателя и тракта прохождения воздуха.
Удельная мощность вентилятора определяется для номинального расхода воздуха при чистых фильтрах и при отсутствии обходных путей. Плотность воздуха принята равной 1,2 кг/м3.
4 Обозначения и единицы измерения
В настоящем стандарте применяют обозначения и единицы измерения, приведенные в таблице 1, включая единицы, данные в скобках.
Таблица 1 — Обозначения и единицы измерения
|
Наименование параметра |
Обозначение |
Единица измерения |
|
Перепад давления |
∆р |
Па |
|
Разность температур |
∆θ (тета) |
К |
|
Эффективность вентиляции |
εv |
— |
|
Температура по Цельсию |
θ (тета) |
°С |
|
Температура воздуха в помещении |
θа(тета) |
°С |
|
Средняя радиационная температура |
θr (тета) |
°С |
|
Рабочая температура |
θ0 (тета) |
°С |
|
Плотность |
ρ(ро) |
кг/м3 |
|
Тепловая нагрузка (нагрузка по холоду) |
Ф (фи) |
Вт (кВт) |
|
Площадь зоны |
А |
м2 |
|
Затраты |
С |
денежная единица |
|
Концентрация |
с |
мг/м3 |
|
Удельная теплоемкость при постоянном давлении |
cp |
Дж/(кг∙К) |
|
Диаметр |
d |
м |
|
Расход энергии измеренный |
Е |
Дж (МДж, ГДж) |
|
Расход энергии расчетный |
Е |
Дж (МДж, ГДж) |
|
Удельные утечки |
f |
л/(с∙м2) |
|
Показатель остаточной стоимости |
fpv |
— |
|
Высота |
h |
м |
|
Первоначальные вложения |
I |
денежная единица |
|
Тепловое сопротивление одежды |
IcI |
cIo |
|
Длина |
L |
м |
|
Показатель метаболизма |
М |
мет |
|
Срок службы |
n |
год |
|
Показатель nL50 |
nL50 |
ч-1 |
|
Мощность |
Р |
Вт |
|
Удельная мощность вентилятора |
PSFP |
Вт∙с/м3 |
|
Остаточная стоимость |
PV |
Денежная единица |
|
Давление |
р |
Па |
|
Расход по массе |
qm |
кг/с |
|
Расход по объему |
qv |
м3/с (л/с, м3/ч) |
|
Процентная ставка |
r |
— |
|
Время |
t |
с (ч) |
|
Объем |
V |
м3 |
|
Скорость воздуха |
v |
м/с |
5 Классификация
5.1 Типы потоков воздуха
Типы потоков воздуха в здании и системе вентиляции и кондиционирования приведены в таблице 2 и показаны на рисунке 1. В чертежах систем вентиляции и кондиционирования для указания типа потока воздуха следует применять сокращения и условные цветовые обозначения. Сокращения также можно использовать для маркировки элементов системы с указанием в скобках обозначений на английском языке (если допустимо). Цветовые обозначения потоков приточного воздуха выбираются с учетом функций системы (см. ).
Таблица 2 — Типы потоков воздуха
|
Номер позиции на рисунке 1 |
Тип потока воздуха |
Обозначение потока |
Определение |
|
|
Сокра- |
Цветовое обозначение |
|||
|
1 |
Наружный воздух (Outdoor air) |
ODA |
Зеленый |
Атмосферный воздух, поступающий в систему вентиляции и кондиционирования |
|
2 |
Приточный воздух (Supply air) |
SUP |
По таблице 13 |
Воздух, подаваемый в помещение (в систему) после подготовки |
|
3 |
Воздух в помещении (Indoor air) |
IDA |
Серый |
Воздух в помещении (зоне) после подготовки |
|
4 |
Перетекающий воздух (Transferred air) |
TRA |
Серый |
Воздух, непосредственно перетекающий из одного помещения в другое |
|
5 |
Вытяжной воздух (Extract air) |
ETA |
Желтый |
Воздух, удаляемый из помещения |
|
6 |
Рециркуляционный воздух (Recirculation air) |
RCA |
Оранжевый |
Часть вытяжного воздуха, возвращаемого в систему вентиляции и кондиционирования |
|
7 |
Удаляемый воздух (Exhaust air) |
EHA |
Коричневый |
Воздух, удаляемый в атмосферу |
|
8 |
Вторичный воздух (Secondary air) |
|
Оранжевый |
Воздух, отбираемый из помещения и возвращаемый в то же помещение (например, после обработки в вентиляторном конвекторе) |
|
9 |
Утечка (Leakage) |
LEA |
Серый |
Непредусмотренный поток воздуха через неплотности в системе |
|
10 |
Инфильтрация (Infiltration) |
INF |
Зеленый |
Поступление воздуха в здание из окружающей среды |
|
11 |
Эксфильтрация (Exfiltration) |
EXF |
Серый |
Утечка воздуха из здания в окружающую среду |
|
12 |
Воздушная смесь (Mixed air) |
MIA |
Для обозначения каждого потока используется свой цвет |
Смесь двух или более потоков воздуха |

Рисунок 1 — Типы потоков воздуха. Номера позиций соответствуют таблице 2
5.2 Классификация потоков воздуха
5.2.1 Общие положения
Разработчики проекта, заказчики и другие стороны (при необходимости) должны согласовывать основные требования к параметрам воздуха. При этом может использоваться классификация, приведенная в . Рекомендации по проектированию приведены в .
5.2.2 Вытяжной и удаляемый воздух
Классификация вытяжного и удаляемого воздуха приведена в таблицах 3 и 4. Если общий поток удаляемого воздуха складывается из потоков воздуха из различных помещений, то общему потоку присваивается класс, характеризуемый наибольшим уровнем загрязнений.
Класс вытяжного воздуха устанавливается для воздуха, прошедшего предусмотренную очистку. Метод очистки воздуха (при ее наличии) и ее эффективности должны быть четко определены, причем эффективность очистки должна проверяться при пусконаладочных работах и в процессе эксплуатации системы. Следует принимать во внимание и фактор стоимости (см. ), особенно если предусмотрена очистка воздуха более чем на один класс.
Таблица 3 — Классификация вытяжного воздуха
|
Обозначение класса |
Характеристика |
Примеры |
|
ЕТА 1 Вытяжной воздух с низким уровнем загрязнений |
Воздух из помещений, в которых основным источником загрязнений являются материалы и конструкции здания, а также люди (за исключением помещений, где разрешено курение) |
Офисы, включая небольшие кладовые, места общественного пользования, учебные классы, коридоры, залы совещании, торговые помещения, в которых отсутствуют дополнительные источники загрязнений |
|
ЕТА 2 Вытяжной воздух с умеренным уровнем загрязнений |
Воздух из помещений, где находится персонал, но уровень загрязнений выше, чем для класса ЕТА 1 (источники загрязнений те же). Помещения, которые могут быть отнесены к классу ЕТА 1, но в которых разрешено курение |
Столовые, кухни для приготовления горячих напитков, магазины, складские помещения в офисных зданиях, помещения гостиниц, гардеробы |
|
ЕТА 3 Вытяжной воздух с высоким уровнем загрязнений |
Воздух из помещений, в которых происходит выделение влаги, выполняются химические процессы, хранятся химикаты, т. е. действуют факторы, существенно снижающие качество воздуха |
Туалеты и комнаты для умывания, сауны, кухни, некоторые химические лаборатории, помещения для копирования, комнаты для курения |
|
ЕТА 4 Вытяжной воздух с очень высоким уровнем загрязнений |
Воздух, имеющий запахи и загрязнения, вредные для здоровья, в концентрациях, значительно превышающих допустимые значения в помещениях с людьми |
Вытяжные укрытия специального назначения, местные вытяжки из кухонь и грилей, гаражи, тоннели для движения транспорта, места для стоянки машин, помещения для работы с красками и растворителями, помещения для химической чистки, помещения, в которых находятся остатки пищевых продуктов, системы централизованной вакуумной уборки, интенсивно используемые курительные комнаты и некоторые химические лаборатории |
Таблица 4 — Классификация удаляемого воздуха
|
Обозначение класса |
Характеристика и примеры |
|
ЕНА 1 Удаляемый воздух с низким уровнем загрязнений |
По таблице 3 для ЕТА 1 |
|
ЕНА 2 Удаляемый воздух с умеренным уровнем загрязнений |
По таблице 3 для ЕТА 2 |
|
ЕНА 3 Удаляемый воздух с высоким уровнем загрязнений |
По таблице 3 для ЕТА 3 |
|
ЕНА 4 Удаляемый воздух с очень высоким уровнем загрязнений |
По таблице 3 для ЕТА 4 |
5.2.3 Наружный воздух
При проектировании систем вентиляции следует учитывать качество наружного воздуха вблизи здания или предполагаемого места расположения здания. Возможны два основных способа снижения влияния загрязненного наружного воздуха на среду внутри помещения:
— располагать приемные устройства наружного воздуха в наименее загрязненных местах, если уровень загрязнений вблизи здания не является равномерным [см. ()];
— предусматривать очистку воздуха [см. ()].
Для очистки воздуха могут использоваться различные методы в зависимости от требований к качеству воздуха в помещении и от степени загрязнения наружного воздуха газами, частицами или тем и другим, а также от размеров частиц, имеющих значение для данного случая.
Классификация наружного воздуха приведена в таблице 5.
Таблица 5 — Классификация наружного воздуха
|
Обозначение класса |
Характеристика |
|
ODA 1 |
Воздух, который может загрязняться лишь периодически (например, пыльцой) |
|
ODA 2 |
Наружный воздух с высокой концентрацией частиц |
|
ODA 3 |
Наружный воздух с высокой концентрацией загрязнений в газообразной форме |
|
ODA 4 |
Наружный воздух с высокой концентрацией частиц и загрязнений в газообразной форме |
|
ODA 5 |
Наружный воздух с очень высокой концентрацией частиц и загрязнений в газообразной форме |
При классификации учитывают наиболее критические загрязнения в газообразной форме и в виде частиц (включая твердые частицы и соляной туман). Воздух считается чистым, если выполнены требования руководства Всемирной организации здравоохранения — ВОЗ (1999 г.) и национальных стандартов по качеству воздуха. Концентрация загрязнений считается высокой, если она превышает установленное значение, но не более чем в 1,5 раза. Концентрация считается очень высокой, если она превышает установленное значение более чем в 1,5 раза.
При проектировании следует также оценивать виды загрязнений, не учтенные нормативными документами (при необходимости). Следует учитывать влияние не только отдельных загрязнений, но и влияние их комбинаций.
Типичными загрязнениями в газообразной форме, которые следует учитывать при проектировании систем вентиляции и кондиционирования воздуха, являются оксид углерода, двуокись углерода, двуокись серы, оксиды азота и летучие органические соединения (бензол, растворители, полиароматические углеводороды и пр.). Влияние этих загрязнений наружного воздуха на воздух в помещениях зависит от степени их химической активности.
Например, оксид углерода относительно стабилен и плохо абсорбируется на поверхностях внутри помещений. Содержание в наружном воздухе озона, наоборот, не учитывают при проектировании, поскольку он обладает высокой активностью и его концентрация резко снижается в системе вентиляции и в помещении. Другие загрязнения в газообразной форме занимают промежуточное положение.
К частицам относятся все твердые или жидкие объекты в воздухе от видимой пыли до объектов субмикронных размеров. Во многих случаях чистота воздуха оценивается концентрацией частиц с размерами (аэродинамическим диаметром) более 10 мкм (индекс РМ10). Для целей охраны здоровья следует учитывать и частицы меньших размеров. При необходимости защиты от инфекций или иммунном риске следует, в первую очередь, учитывать частицы биологической природы.
Уровни загрязнения наружного воздуха приведены в таблице 6.
Таблица 6 — Примеры содержания загрязнений в наружном воздуха
|
Местность |
Концентрация в воздухе |
|||||
|
СO2, |
СО, |
NO2 |
SO2 |
частиц |
||
|
Общая концентрация, мг/м3 |
РМ10 |
|||||
|
Сельская местность, существенные источники отсутствуют |
350 |
< 1 |
5—35 |
£ 5 |
£ 0,1 |
£ 20 |
|
Небольшой город |
375 |
1—3 |
15—40 |
5—15 |
0,1—0,3 |
10—30 |
|
Загрязненный центр большого города |
400 |
2—6 |
30—80 |
10—50 |
0,2—1,0 |
20—50 |
|
Примечание — Приведенные значения являются среднегодовыми. Их не следует использовать при проектировании, поскольку максимальные концентрации будут выше. Для более подробной информации, следует выполнить оценку загрязнений на месте или пользоваться соответствующими руководствами. |
||||||
5.2.4 Приточный воздух
Классификация приточного воздуха приведена в таблице 7.
Таблица 7 — Классификация приточного воздуха
|
Класс |
Характеристика |
|
SUP 1 |
Приточный воздух, состоящий только из наружного воздуха |
|
SUP 2 |
Приточный воздух, состоящий из наружного и рециркуляционного воздуха |
|
Примечание — Рециркуляционный воздух может принудительно подаваться в приточный воздух либо попадать в него путем утечки. Особое внимание следует уделять теплообменным устройствам. |
|
Качество приточного воздуха должно обеспечивать соответствующее требованиям качество воздуха в помещениях с учетом выделения загрязнений от человека, технологических процессов, строительных материалов, мебели, самой системы вентиляции и пр.
При задании требований к качеству приточного воздуха рекомендуется учитывать загрязнения, выделяемые в самом помещении и, по возможности, увязывать их с требованиями стандартов.
5.2.5 Воздух в помещениях
5.2.5.1 Общие положения
Основные классы воздуха в помещениях приведены в таблице 8 (для помещений, в которых находятся люди)
Таблица 8 — Классификация воздуха в помещениях
|
Класс |
Характеристика |
|
IDA 1 |
Высокое качество воздуха в помещениях |
|
IDA 2 |
Среднее качество воздуха в помещениях |
|
IDA 3 |
Приемлемое качество воздуха в помещениях |
|
IDA 4 |
Низкое качество воздуха в помещениях |
Точное определение каждого класса зависит от характера источника загрязнений и воздействия этих загрязнений. Например, источники загрязнений могут быть:
— локализованными или распространенными по всему зданию;
— действующими непрерывно или периодически;
— выделяющими частицы (неорганические, жизнеспособные, другие органические) или газы (пары — органические или неорганические).
Влияние качества воздуха (например, на слизистые поверхности) может быть различным для людей с разными индивидуальными особенностями и состоянием здоровья. Оно может проявляться в виде реакций на токсичные и канцерогенные вещества и аллергических реакций. Это влияние на взрослых, детей и больных, находящихся в лечебных учреждениях, может иметь индивидуальный характер.
Исчерпывающее определение качества воздуха в помещениях является сложной задачей и не рассматривается в настоящем стандарте.
Для практических целей используются четыре класса качества воздуха в помещениях. Количественные показатели для одного и того же класса могут быть различными в зависимости от рассматриваемого вида загрязнений (5.2.5.2—). Выбор показателя и метода его оценки зависит от назначения помещения и предъявляемых к нему требований. Требуемый расход наружного воздуха может различаться для одного и того же класса в зависимости от принятого показателя. Могут использоваться и специальные методы оценки качества воздуха в помещениях.
5.2.5.2 Классификация по концентрации СO2
В таблице 9 приведена классификация воздуха в помещениях по концентрации СO2, соответствующая результатам исследований и принятой практике. СO2 является хорошим индикатором биологических выделений от человека. Классификация по концентрации СO2 широко применяется для помещений, в которых находятся люди, но запрещено курение и загрязнения являются, в основном, следствием метаболизма человека. Типовые концентрации СO2, добавляемого к наружному воздуху находящимися в помещении людьми, приведены в таблице 9.
Таблица 9 — Содержание СO2 в помещениях
|
Класс |
Содержание СO2 в помещениях сверх содержания в наружном воздухе, ppm |
|
|
Типовые пределы |
Типовые значения |
|
|
IDA 1 |
£ 400 |
350 |
|
IDA 2 |
400—600 |
500 |
|
IDA 3 |
600—1000 |
800 |
|
IDA 4 |
> 1000 |
1200 |
Классы по содержанию СO2, как правило, соответствуют расходу наружного воздуха по таблице 11.
5.2.5.3 Классификация по очищаемому загрязнению воздуха в дециполах
Метод классификации приведен в CR 1752. Он применяется для помещений, в которых находятся люди, но отсутствует риск загрязнений опасными неощущаемыми людьми загрязнениями, например СО, радоном. Типовые значения приведены в таблице 10.
Таблица 10 — Ощущаемое загрязнение воздуха в помещениях, в которых находятся люди
|
Класс |
Ощущаемое загрязнение воздуха в дециполах |
|
|
Типовые пределы |
Типовые значения |
|
|
IDA 1 |
£ 1,0 |
0,8 |
|
IDA 2 |
1,0—1,4 |
1,2 |
|
IDA 3 |
1,4—2,5 |
2,0 |
|
IDA 4 |
> 2,5 |
3,0 |
Метод не нашел широкого применения из—за его сложности для практического использования. Его следует применять только в случаях, когда есть вся необходимая информация об интенсивности выделения загрязнений.
5.2.5.4 Косвенная классификация по расходу наружного воздуха на одного человека
Этот метод широко используется для помещений, в которых находятся люди. В таблице 11 приведен расход наружного воздуха, подаваемого системой вентиляции на одного человека, имеющего показатель метаболизма 1,2 мет, при нормальной работе в офисе или дома. Эти значения учитывают выделения от людей и материалов помещений (для материалов с низкой интенсивностью выделения загрязнений). При более активной работе (показатель метаболизма превышает 1,2 мет) расход наружного воздуха следует увеличить путем умножения значений по таблице 11 на дробь (показатель метаболизма/1,2).
Таблица 11 — Расход наружного воздуха на 1 человека
|
Класс |
Единица измерения |
Значение расхода наружного воздуха |
|||
|
Курение запрещено |
Курение разрешено |
||||
|
Предельное |
Номинальное |
Предельное |
Номинальное |
||
|
IDA 1 |
м3/(ч∙чел) л/(с∙чел) |
> 54 > 15 |
72 20 |
> 108 > 30 |
144 40 |
|
IDA 2 |
м3/(ч∙чел) л/(с∙чел) |
36-54 10-15 |
45 12,5 |
72-108 20-30 |
90 25 |
|
IDA 3 |
м3/(ч∙чел) л/(с∙чел) |
22-36 6-10 |
29 8 |
43-72 12-20 |
58 16 |
|
IDA 4 |
м3/(ч∙чел) л/(с∙чел) |
< 22 < 6 |
18 5 |
< 43 < 12 |
36 10 |
Рекомендуется применять материалы с низкой интенсивностью выделения загрязнений (для мебели, ковровых покрытий, систем вентиляции и кондиционирования). Это дает больший эффект, чем повышение расхода наружного воздуха для разбавления выделяемых загрязнений.
Зоны, в которых запрещено или разрешено курение, рекомендуется разделять.
5.2.5.5 Косвенная классификация по расходу воздуха на единицу площади пола
Этот метод может быть использован при проектировании помещений, не предназначенных для постоянного нахождения в них людей, в случае когда не задан уровень загрязнений исходя из назначения помещений (например, склады). В этом случае расход воздуха задается на единицу площади пола (см. таблицу 12) в предположении, что система вентиляции работает в течение 50 % текущего времени, а высота помещения до 3 м. Если система работает в течение меньшего времени, а высота помещения превышает 3 м, то расход воздуха следует увеличить.
Таблица 12 — Расход наружного или перетекающего воздуха на единицу площади пола для помещений, в которых не предусмотрено постоянное нахождение людей
|
Класс |
Единица измерения |
Значение расхода наружного и перетекающего воздуха на единицу площади пола |
|
|
Предельное |
Номинальное |
||
|
IDA 1* |
м3/(ч∙м2) л/(см2) |
* * |
* * |
|
IDA 2 |
м3/(ч∙м2) л/(см2) |
> 2,5 > 0,7 |
3 0,83 |
|
IDA 3 |
м3/(ч∙м2) л/(см2) |
1,3—2,5 0,35—0,70 |
2 0,55 |
|
IDA 4 |
м3/(ч∙м2) л/(см2) |
< 1,3 < 0,35 |
1 0,28 |
|
* Для класса IDA 1 данный метод не применяется. |
|||
5.2.5.6 Классификация по уровням концентраций для отдельных видов загрязнений
Этот метод применяется при наличии значительных выделений загрязнений отдельных видов. Если информации о выделениях внутри помещения достаточно, то параметры системы вентиляции могут быть рассчитаны по . Если интенсивность выделений неизвестна, то требуемое качество воздуха может быть задано косвенно по расходам воздуха, основанным на опыте.
5.3 Назначение системы и ее основные типы
Системы вентиляции и кондиционирования воздуха предназначены для обеспечения требуемого качества воздуха внутри помещений и поддержания заданных значений температуры и влажности. Эти показатели следует учитывать в капитальных и эксплутационных расходах. Принятые решения должны отражать особенности конкретной ситуации.
В систему вентиляции входят приточные и вытяжные системы, имеющие, как правило, фильтры наружного воздуха, нагреватели и устройства регенерации (вторичного использования). Вытяжные системы без приточных систем не могут соответствовать всем требованиям. Приточные системы без вытяжных систем не позволяют, как правило, осуществлять регенерацию тепла и могут привести к избытку давления в помещениях, что может представлять опасность для конструкции здания.
Основные классы систем управления качеством воздуха в помещениях зависят от средств контроля и возможностей регулирования термодинамических показателей в помещениях (см. таблицу 13).
Таблица 13 — Типы систем управления качеством воздуха в помещениях
|
Тип |
Характеристика |
|
IDA — C1 |
Управление отсутствует Система работает непрерывно |
|
IDA — С 2 |
Ручное управление Включение и выключение системы осуществляется вручную |
|
IDA — С 3 |
Управление по времени Система работает в соответствии с заданным графиком |
|
IDA — С 4 |
Управление в зависимости от наличия людей Система включается автоматически при входе людей в помещение и выключается при их выходе (инфракрасные сенсоры, выключатели света и пр.) |
|
IDA — С 5 |
Управление с учетом числа людей Система обеспечивает расход воздуха в зависимости от числа людей в помещении |
|
IDA — C 6 |
Прямое управление Системой управляют датчики, измеряющие параметры воздуха или связанные с ними величины (например, СO2, смесь газов или летучие органические соединения). Контролируемые параметры выбираются с учетом вида деятельности в помещении |
Лучший результат может быть достигнут при активном управлении. Например, целесообразно организовать непрерывный контроль уровня загрязнений и при его повышении до предельного допустимого значения увеличить расход воздуха.
Регулирование температуры может выполняться как системой вентиляции отдельно, так и в сочетании с нагревом (охлаждением) потолков, полов и пр. С учетом этого в таблице 14 приведены два основных варианта систем регулирования температуры.
Таблица 14 — Основные варианты систем регулирования температуры в помещении
|
Вариант системы регулирования |
Характеристика |
|
Регулирование только системой вентиляции |
Любая вентиляционная система |
|
Регулирование системой вентиляции в сочетании с другими средствами (например, нагревательными элементами, охлаждаемыми потолками, радиаторами) |
Смешанная система |
К методам подготовки воздуха, регулирующим температуру и влажность в помещении, относятся нагрев, охлаждение, увлажнение и осушение. Метод подготовки воздуха может быть использован для классификации только в случае, если он может регулировать данный параметр в пределах заданных значений. Например, неконтролируемое осушение воздуха в секции охлаждения не рассматривается как метод подготовки воздуха. Определения основных типов систем вентиляции в зависимости от функций по регулированию температуры и влажности приведены в таблице 15.
Таблица 15 — Основные типы систем вентиляции в зависимости от их функций
|
Обозначение |
Наименование функции системы |
Наименование типа системы |
Цветовое обозначение для приточного воздуха |
||||
|
Вентиля- |
Нагрев |
Охлаж- |
Увлажне- |
Осуше- |
|||
|
ТНМ — С0 |
× |
— |
— |
— |
— |
Простая система вентиляции |
Зеленый |
|
ТНМ — С1 |
× |
× |
— |
— |
— |
Система вентиляции с нагревом воздуха |
Красный |
|
ТНМ — C2 |
× |
× |
— |
× |
— |
Система частичного кондиционирования с увлажнением |
Синий |
|
ТНМ — C3 |
× |
× |
× |
— |
(×) |
Система частичного кондиционирования с охлаждением |
Синий |
|
ТНМ — С4 |
× |
× |
× |
× |
(×) |
Система частичного кондиционирования с охлаждением и увлажнением |
Синий |
|
ТНМ — С5 |
× |
× |
× |
× |
(×) |
Система полного кондиционирования |
Фиолетовый |
|
Обозначения: — — не входит в функцию системы; × — регулируется системой и обеспечивается поддержание параметров воздуха в помещении в заданных пределах; (×) — регулируется системой, но поддержание параметров воздуха в заданных пределах не обеспечивается |
|||||||
Тип системы ТНМ — С5 требуется только в случаях, если требуется осушение воздуха.
5.4 Давление воздуха в помещении
Для обеспечения движения воздуха и загрязнений в нужном направлении между различными зонами здания и (или) за пределы здания используется перепад давления, создаваемый потоками приточного и вытяжного воздуха. Классы перепадов давления приведены в таблице 16.
Таблица 16 — Давление в помещении
|
Обозначение класса перепада давления |
Характеристика класса (ветер и эффект дымовой трубы отсутствуют) |
|
PC 1 |
Пониженное давление (£ -6 Па) |
|
PC 2 |
Слегка пониженное давление (от -2 до -6 Па) |
|
РС 3 |
Отсутствие перепада давления (от -2 до +2 Па) |
|
PC 4 |
Слегка повышенное давление (от +2 до +6 Па) |
|
PC 5 |
Повышенное давление (> 6 Па) |
Выбор класса перепада давления зависит от назначения помещения. В некоторых случаях требуется создать несколько уровней пониженного или повышенного давления для управления потоками воздуха между зонами в здании. Если заданные уровни давления следует поддерживать и при наличии ветра, то корпус здания должен быть герметичным [см. ()]. Как правило, задаются направления движения воздуха в нормальных условиях (без внешних влияний) и без определения перепадов давления. В условиях холодного климата повышенное давление может привести к повреждению конструкции здания.
Если в соответствующих нормативных документах не оговорено иное, то предусматривается класс РС 3.
5.5 Удельная мощность вентилятора
Классификация вентиляторов (для каждого вентилятора) в зависимости от удельных мощностей приведена в таблице 17.
Если не оговорено иное, то следует применять типовое значение по ().
Таблица 17 — Классификация вентиляторов в зависимости от удельной мощности
|
Обозначение класса вентилятора |
Значение удельной мощности PSFP, Вт∙с/м3 |
|
SFP 1 |
< 500 |
|
SFP 2 |
500—700 |
|
SFP 3 |
750—1250 |
|
SFP 4 |
1250—2000 |
|
SFP 5 |
> 2000 |
6 Среда внутри помещения
6.1 Общие положения
Системы вентиляции и кондиционирования воздуха определяют следующие параметры помещений:
— тепловой комфорт;
— качество воздуха;
— влажность воздуха;
— уровень шума.
На комфорт и деятельность людей, находящихся в помещении, также влияют:
— характер выполняемой работы и параметры рабочего места;
— освещение и цвет;
— размеры помещения и мебель;
— возможность обзора пространства за пределами помещения;
— условия работы и служебные взаимоотношения;
— индивидуальные факторы.
Исходные данные для проектирования системы вентиляции и кондиционирования должны быть согласованы между заказчиком и исполнителем. Значения типовых параметров для проектирования приведены в —, а требования к качеству воздуха — в . Требования к тепловому комфорту, влажности, качеству воздуха и уровню шума для рабочей зоны приведены в 6.2. Проект системы в целом должен соответствовать ее назначению.
6.2 Эксплуатируемая (рабочая) зона
В эксплуатируемой (рабочей) зоне должны выполняться требования к воздуху в помещениях, в том числе требования к комфорту. Для оценки соответствия требованиям может использоваться вся площадь помещения, но соответствие требованиям к комфорту за пределами рабочей зоны не гарантируется.
Типовые размеры рабочей зоны приведены таблице 18 и на рисунке 2.
Таблица 18 — Размеры рабочей зоны
|
Обозначение расстояния от внутренней поверхности: |
Типовой диапазон значений, м |
Типовое |
|
|
нижнего уровня пола |
А |
От 0 до 0,20 включ. |
0,05 |
|
верхнего уровня пола |
В |
От 1,30 до 2,00 включ. |
1,8 |
|
наружных окон и дверей |
С |
От 0,50 до 1,50 включ. |
1,0 |
|
элементов системы вентиляции и кондиционирования |
D |
От 0,50 до 1,50 включ. |
1,0 |
|
наружных стен |
Е |
От 0,15 до 0,75 включ. |
0,5 |
|
внутренних стен |
F |
От 0,15 до 0,75 включ. |
0,5 |
|
дверей, транзитных зон и пр. |
G |
Определяется с учетом конкретных условий |
— |

Рисунок 2 — Пример рабочей зоны (выделена фоном)
При наличии наружных окон и дверей расстояние от внутренней поверхности до эксплуатируемой зоны определяется по наибольшему размеру полотна двери или створки окна.
В помещениях с высотой потолка до 2,5 м обеспечение соответствия требованиям к тепловому комфорту на верхней границе рабочей зоны 2,0 м может оказаться затруднительным.
Если выполнение требований к тепловому комфорту, особенно в отношении сквозняков и температуры, затруднено, то следует отдельно согласовывать условия для:
a) транзитных зон;
b) зон, прилегающих к дверям;
c) зон, прилегающих к местам притока воздуха;
d) зон, прилегающих к оборудованию с интенсивным тепловыделением и расходом воздуха.
Если в соответствующих нормативных документах не оговорено иное, то зоны, указанные в перечислениях а) и b), не являются частью рабочей зоны, а зоны, указанные в перечислениях с) и d), являются частью рабочей зоны.
Границы рабочей зоны могут быть определены исходя из организации рабочего места и оборудования или расположения зоны дыхания (по согласованию между заказчиком и исполнителем), если рабочая зона занимает не все помещение.
6.3 Тепловой комфорт
6.3.1 Общие положения
Для обеспечения теплового комфорта в типовых помещениях (офисах и пр.) следует руководствоваться ИСО 7730.
6.3.2 Исходные данные для проектирования
Одежда и физическая активность человека относятся к наиболее важным факторам, влияющим на тепловой комфорт. Типовые значения коэффициента теплового сопротивления одежды и показателя физической активности для офисных и аналогичных помещений приведены в таблице 19.
Таблица 19 — Типовые значения коэффициента теплового сопротивления одежды и показателя физической активности для офисных помещений
|
Наименование параметра |
Типовой диапазон значений |
Типовое значение (при проектировании) |
|
Коэффициент теплового сопротивления одежды, clo |
Лето: от 0,5 до 0,7 включ. Зима: от 0,8 до 1,0 включ. |
Лето: 0,5 clo Зима: 1,0 clo |
|
Показатель физической активности (метаболизма), мет (см. ) |
От 1,0 до 1,4 включ. |
1,2 мет |
Тепловой обмен человеческого тела за счет излучения зависит от температуры окружающих поверхностей. Тепловой обмен за счет конвекции зависит от температуры и скорости потока воздуха.
Тепловой комфорт при одежде конкретного вида и физической активности зависит, в основном, от температуры и скорости движения воздуха. Более подробные характеристики, например градиент температуры воздуха по вертикали, наличие теплых и холодных полов, асимметрия излучения, учитываются только в специальных областях применения (ИСО 7730, ИСО 8990 и ИСО 9920).
6.3.3 Температура воздуха и рабочая температура
Для большинства нежилых зданий характерны низкие скорости потока воздуха (не более 0,2 м/с) и незначительное различие между температурой воздуха и средней температурой излучения в помещении (не выше 4°С). В связи с этим в настоящем стандарте рабочая температура в данном месте θ0, вычисляется по формуле
(3)
где θ0 — рабочая температура в данном месте помещения, °С;
θа — температура воздуха в помещении, °С;
θr — средняя температура излучения всех поверхностей (стен, пола, потолка, окон, радиаторов и пр.) для данного места помещения, °С
Более подробно характеристика рабочей температуры рассмотрена в ИСО 7726 и ИСО 7730.
Оптимальная рабочая температура для нежилых зданий и помещений летом составляет плюс 24,5°С, а зимой минус 21,5°С (в таблице 19 приведены значения для офисных помещений). По возможности, в проекте следует учитывать параметры и характеристики конкретного здания, а не основываться на номинальных или предельных значениях. Требования к температуре также могут зависеть от местных климатических условий, влияющих на тепловой комфорт, что следует учитывать в проекте. Приоритетными являются местные нормы. Если в соответствующих нормативных документах не оговорено иное, следует пользоваться данными таблицы 20.
Таблица 20 — Значения рабочих температур в офисных помещениях
|
Сезон |
Типовой диапазон значений θ0, °С |
Типовое значение θ0 (при проектировании), °С |
|
Зимний отопительный период |
От 19 до 24 включ. |
211) |
|
Летний период с охлаждением |
От 23 до 26 включ. |
262) |
|
1) Минимальное значение в течение дня. 2) Максимальное значение в течение дня. |
||
Если в соответствующих нормативных документах не оговорено иное, то установленные значения рабочей температуры должны выполняться в центре помещения на высоте 0,6 м от уровня пола.
По согласованию между заказчиком и исполнителем может быть определен период времени, когда установленные значения могут быть превышены (например, число часов в течение дня или число дней в течение года).
6.3.4 Скорость воздуха и интенсивность сквозняка
Допустимая средняя скорость воздуха зависит от интенсивности сквозняка (от процента людей, испытывающих дискомфорт при сквозняке), температуры воздуха и интенсивности турбулентности. Описание этого соотношения приведено в ИСО 7730 и CR 1752.
Интенсивность сквозняка DR, %, вычисляется по формуле
DR = (34 — θа)∙(v — 0,05)0,62∙(0,37∙v∙TU + 3,14), (4)
где θа — локальная температура воздуха, °С (от 19°С до 27°С);
v — локальная средняя скорость воздуха, м/с;
TU — локальная интенсивность турбулентности, % (от 30 % до 60 % для смешанного распределения потока воздуха).
Если не предусмотрено иное, то для определения температуры воздуха в помещении по 6.3.3, интенсивности сквозняка от 10 % до 20 % и интенсивности турбулентности 40 % (смешанный поток воздуха) могут быть использованы данные таблицы 21.
Таблица 21 — Значения локальной скорости воздуха (среднее значение, м/с, в течение 3 мин измерений по методике, приведенной в ЕН 13182 для проектирования)
|
Локальная температура воздуха, °С |
Типовой диапазон значений локальной средней скорости воздуха v, м/с |
Типовое значение v, м/с, не более (DR = 15%) |
|
θа = 20 |
От 0,10 до 0,16 включ. |
0,13 |
|
θа = 21 |
От 0,10 до 0,17 включ. |
0,14 |
|
θа = 22 |
От 0,11 до 0,18 включ. |
0,15 |
|
θа = 24 |
От 0,13 до 0,21 включ. |
0,17 |
|
θа = 26 |
От 0,15 до 0,25 включ. |
0,20 |
|
Примечание — Допускается использовать значения, превышающие приведенные в таблице, при условии контроля потока воздуха или интенсивного вентилирования в течение ограниченных промежутков времени. |
||
Согласованные значения должны поддерживаться всегда в ходе нормальной эксплуатации, что должно быть предусмотрено проектом.
6.4 Качество воздуха в помещении
6.4.1 Исходные данные для проектирования
К наиболее важным исходным данным при проектировании (для воздуха в помещении) относятся численность людей в помещении, разрешение или запрещение курения, данные о выделениях загрязнений от других источников (помимо метаболизма человека и курения). Следует учитывать, что чувствительность человека к качеству воздуха возрастает при повышении температуры и влажности.
В таблице 22 приведены типичный диапазон и типовые значения площадей помещений, приходящихся на одного человека. В проект следует включать расчетные данные. В случае их отсутствия следует использовать данные таблицы 22. При отсутствии информации о курении следует принять то, что курение не допускается (см. таблицу 22). Если курение разрешено, то следует выделить зоны для курения.
Таблица 22 — Площадь помещения, приходящаяся на одного человека
|
Назначение помещения |
Площади пола на 1 человека, м2 |
|
|
Типовой диапазон значений |
Типовое значение |
|
|
Большое офисное помещение |
От 7 до 20 включ. |
12,0 |
|
Малое офисное помещение |
От 8 до 12 включ. |
10,0 |
|
Комната переговоров |
От 2 до 5 включ. |
3,0 |
|
Магазин |
От 3 до 8 включ. |
4,0 |
|
Учебная комната |
От 2 до 5 включ. |
2,5 |
|
Больничная палата |
От 5 до 15 включ. |
10,0 |
|
Номер в гостинице |
От 5 до 20 включ. |
10,0 |
|
Ресторан |
От 1,2 до 5 включ. |
1,5 |
Следует четко задавать характеристики выделений от других источников (помимо метаболизма человека и курения). В противном случае по согласованию с заказчиком, выделения от других источников не учитываются.
6.4.2 Расход приточного воздуха
6.4.2.1 Общие положения
При определении расхода наружного и приточного воздуха следует учитывать:
— присутствие курящих и некурящих людей;
— другие известные источники выделения загрязнений;
— избыток тепла или холода, который должен быть удален средствами вентиляции.
Воздуховоды должны быть герметичными (см. ) для предотвращения непредусмотренных потерь приточного воздуха.
6.4.2.2 Присутствие людей
Расход воздуха в помещениях, в которых предусмотрено нахождение людей, следует определять по . Исходя из назначения помещений, могут быть использованы установленные нормы или опытные данные.
6.4.2.3 Другие источники выделения загрязнений
Расход приточного воздуха для удаления выделяемых загрязнений с учетом допустимой концентрации загрязнений в помещении qv,SUP, м/с, вычисляется по формуле
(5)
где qm,E — интенсивность выделения загрязнений в помещении, мг/с;
сIDA — допустимая концентрация выделения загрязнений в помещении, мг/м3;
cSUP— концентрация выделения загрязнений в приточном воздухе, мг/м3.
Следует определить все возможные источники выделения загрязнений. Как правило, снижение выделения загрязнений является предпочтительным решением по сравнению с вентиляцией.
По формуле (5) расход приточного воздуха вычисляют для установившегося состояния с продолжительными постоянными выделениями. Если период выделения загрязнений краток, то равнозначное значение концентрации может быть не достигнуто, или расход воздуха может быть снижен с учетом заданного максимального уровня концентрации. Зависимость концентрации от времени вычисляют по формуле (расход приточного воздуха равен расходу вытяжного воздуха)
, (6)
где cIDA(t) — концентрация загрязнений в помещении в момент времени t, мг/м3;
cSUP — концентрация загрязнений в приточном воздухе, мг/м3;
cIDA(0) — концентрация загрязнений в помещении в начальный момент времени, мг/м3;
qv,SUP — расход приточного воздуха, м3/с;
qm,E — интенсивность выделения загрязнений в помещении, мг/с;
Vr — объем помещения, м3;
t — время, с.
6.4.2.4 Избытки теплоты и холода
В ряде случаев расход воздуха определяется по избыткам теплоты или холода, которые должны быть удалены средствами вентиляции. Если расход воздуха для этой цели значительно выше, чем определяемый по пункту , то более эффективным может оказаться другой метод удаления избытков теплоты или холода.
Расход приточного воздуха для удаления избытков теплоты или холода qv,SUP, м3/с, вычисляется по формуле
(7)
где Ф — тепловая нагрузка, Вт;
ρ — плотность воздуха, кг/м3;
ср — удельная теплоемкость воздуха, Дж/(кг∙К);
θа,IDA — температура в помещении, °С;
θSUP — температура приточного воздуха, °С.
Плотность и теплоемкость воздуха зависят от его температуры и давления. Следует определить их значения в конкретных условиях.
6.4.3 Расход вытяжного воздуха
В системе вентиляции, сбалансированной при помощи механических средств, расход вытяжного воздуха определяется расходом приточного воздуха и требуемым давлением в помещении.
Расход вытяжного воздуха в вытяжной системе определяется по —6.4.2.4. Типовые значения расхода вытяжного воздуха для кухонь, туалетов и комнат для умывания приведены в таблице 23. Вытяжной воздух может заменяться наружным воздухом или воздухом из других помещений (см. таблицу ). В отдельных областях применения (например, некоторые промышленные и больничные здания) расход вытяжного воздуха следует определять с учетом специальных требований, принимая во внимание возможность влияния на окружающую среду (в настоящем стандарте данный вопрос не рассматривается).
Таблица 23 — Проектные значения расхода вытяжного воздуха
|
Помещение |
Единица измерения |
Типовое значение |
Типовое значение для проектирования |
|
Кухни: |
|
|
|
|
— для обычного использования (например, для приготовления горячих напитков) |
м3/ч |
Не менее 72 |
108 |
|
л/с |
Не менее 20 |
30 |
|
|
— для профессионального использования |
* |
* |
* |
|
Туалеты/Комнаты для умывания**: |
|
|
|
|
— на помещение (минимум) |
м3/ч |
Не менее 24 |
36 |
|
|
л/с |
Не менее 6,7 |
10 |
|
— на единицу площади пола |
м3/(ч∙м2) |
Не менее 5,0 |
7,2 |
|
|
л/(с∙м2) |
Не менее 1,4 |
2,0 |
|
* Расход вытяжного воздуха для кухонь. ** Вентиляция работает в течение не менее 50 % всего времени. При меньшем времени работы требуется больший расход воздуха. Меньшие значения допускаются при непосредственной вытяжке воздуха из туалета (типовые значения: от 10 м3/ч до 20 м3/ч на туалет). |
|||
6.5 Влажность воздуха в помещении
При температуре воздуха от 20°С до 26°С испарение играет незначительную роль в регулировании температуры тела человека. В связи с этим при значениях относительной влажности от 30 % до 70 % нарушений условий теплового комфорта, как правило, не возникает.
Нижний предел относительной влажности 30 % задается для предотвращения сухости в глазах и раздражения слизистых оболочек. В суровых климатических условиях допускается меньшая влажность в течение ограниченного периода времени (по согласованию между заказчиком и исполнителем и с учетом нормативных требований). Дискомфорт от слишком сухого воздуха часто обусловливается наличием пыли или других загрязнений. Низкое значение относительной влажности часто является следствием высокой температуры в помещении и (или) слишком большого расхода наружного воздуха. Эти факторы следует учитывать при применении увлажнения.
Следует избегать длительных периодов с высокой влажностью ввиду опасности роста грибков, размножения клещей и гниения строительных материалов. Следует не допускать чрезмерно высоких концентраций частиц, выделяемых этими организмами, которые могут представлять опасность для людей с повышенной чувствительностью.
При отсутствии необходимой информации следует принимать, что другие источники влаги, кроме выделений от людей и инфильтрации воздуха, отсутствуют.
6.6 Шумы
Допускаемые уровни звукового давления, создаваемого и (или) передаваемого системой вентиляции и кондиционирования и другими установками приведены в таблице 24. Эти данные являются средними значениями и не учитывают других видов шума снаружи или внутри помещения.
Таблица 24 — Допускаемые уровни звукового давления
|
Назначение здания |
Тип помещения |
Значение уровня звукового давления, дБ(А) |
|
|
Типовой диапазон значений |
Типовое значение |
||
|
Детские учреждения |
Детские сады |
От 30 до 45 включ. |
40 |
|
Ясли |
От 30 до 45 включ. |
40 |
|
|
Общественные здания |
Аудитории |
От 30 до 35 включ. |
33 |
|
Библиотеки |
От 28 до 35 включ. |
30 |
|
|
Кинотеатры |
От 30 до 35 включ. |
33 |
|
|
Суды |
От 30 до 40 включ. |
35 |
|
|
Музеи |
От 28 до 35 включ. |
30 |
|
|
Коммерческие здания |
Магазины |
От 35 до 50 включ. |
40 |
|
Универмаги |
От 40 до 50 включ. |
45 |
|
|
Супермаркеты |
От 40 до 50 включ. |
45 |
|
|
Компьютерные помещения большие |
От 40 до 60 включ. |
50 |
|
|
Компьютерные помещения малые |
От 40 до 50 включ. |
45 |
|
|
Больницы |
Коридоры |
От 35 до 45 включ. |
40 |
|
Операционные |
От 30 до 48 включ. |
40 |
|
|
Палаты |
От 25 до 35 включ. |
30 |
|
|
Спальни (ночь) |
От 20 до 35 включ. |
30 |
|
|
Спальни (день) |
От 25 до 40 включ. |
30 |
|
|
Гостиницы |
Холлы и коридоры |
От 35 до 45 включ. |
40 |
|
Помещения регистрации |
От 35 до 45 включ. |
40 |
|
|
Номера (ночь) |
От 25 до 35 включ. |
30 |
|
|
Номера (день) |
От 30 до 40 включ. |
35 |
|
|
Офисные здания |
Офисы (малые) |
От 30 до 40 включ. |
35 |
|
Конференц-залы |
От 30 до 40 включ. |
35 |
|
|
Офисы (большие) |
От 35 до 45 включ. |
40 |
|
|
Кабины (отгороженные помещения) |
От 35 до 45 включ. |
40 |
|
|
Рестораны |
Кафетерии |
От 35 до 50 включ. |
40 |
|
Залы ресторанов |
От 35 до 50 включ. |
45 |
|
|
Кухни |
От 40 до 60 включ. |
55 |
|
|
Школы |
Классы |
От 30 до 40 включ. |
35 |
|
Коридоры |
От 35 до 50 включ. |
40 |
|
|
Спортивные залы |
От 35 до 45 включ. |
40 |
|
|
Преподавательские |
От 30 до 40 включ. |
35 |
|
|
Спортивные учреждения |
Крытые стадионы |
От 35 до 50 включ. |
45 |
|
Плавательные бассейны |
От 40 до 50 включ. |
45 |
|
|
Помещения общего пользования |
Туалеты |
От 40 до 50 включ. |
45 |
|
Гардеробы |
От 40 до 50 включ. |
45 |
|
6.7 Источники тепла внутри помещения
6.7.1 Общие положения
Данные о выделении тепла от людей, светильников и оборудования приведены в 6.7.2—. При проектировании систем вентиляции и кондиционирования следует правильно определить тепловыделения от источников внутри помещения в зависимости от времени.
Примечание — Переоценка тепловыделений внутри помещений может привести к неоправданным капитальным и текущим затратам, недооценка — к превышению температуры в сезон, когда работает система охлаждения.
6.7.2 Персонал
Тепловыделение от персонала состоит из явной теплоты (излучение и конвекция) и скрытой теплоты (испарения). На повышение температуры влияет только явная теплота. В таблице 25 приведены значения тепловыделений при температуре воздуха 24°С. При более высокой температуре общие тепловыделения остаются теми же, но значения скрытого тепла уменьшаются (при θа = 26°С на 20 %).
Таблица 25 — Тепловыделения от персонала при различных видах физической активности
|
Физическая активность |
Общие тепловыделения |
Скрытые тепло- |
|
|
мет1) |
Вт/чел2) |
||
|
Спокойная поза, полулежа |
0,8 |
80 |
55 |
|
Спокойная поза сидя, отдых |
1,0 |
100 |
70 |
|
Работа в положении сидя (офис, школа, лаборатория) |
1,2 |
125 |
75 |
|
Легкая работа стоя (магазин, лаборатория, легкая работа на производстве) |
1.6 |
170 |
85 |
|
Работа средней тяжести стоя (помощник продавца, работа с механизмами) |
2,0 |
210 |
105 |
|
Ходьба со скоростью: |
|
|
|
|
2 км/ч |
1,9 |
200 |
100 |
|
3 км/ч |
2,4 |
250 |
105 |
|
4 км/ч |
2,8 |
300 |
110 |
|
5 км/ч |
3,4 |
360 |
120 |
|
1) 1 Мет = 58 Вт/м2. 2) Округленные значения для тела человека с площадью поверхности 1,8 м2/чел. |
|||
6.7.3 Освещение
При проектировании систем вентиляции следует учитывать тепловыделение от светильников. Типовой диапазон значений освещенности приведен в таблице 26. Эти значения являются средними для всего помещения.
Таблица 26 — Освещенность, принимаемая при проектировании
|
Тип помещения |
Освещенность, люкс |
|
|
Типовой диапазон значений |
Типовое значение |
|
|
Офис с окнами |
От 300 до 500 включ. |
400 |
|
Офис без окон |
От 400 до 600 включ. |
500 |
|
Универмаг |
От 300 до 500 включ. |
400 |
|
Класс |
От 300 до 500 включ |
400 |
|
Больничная палата |
От 200 до 300 включ. |
200 |
|
Гостиничный номер |
От 200 до 300 включ. |
200 |
|
Ресторан |
От 200 до 300 включ. |
200 |
|
Нежилое помещение |
От 50 до 100 включ. |
50 |
Расходы электроэнергии на освещение зависят от принимаемых технических решений. Типовые значения для энергоэффективных систем приведены в таблице 27.
Таблица 27 — Расход электроэнергии на освещение для энергоэффективных систем
|
Освещенность, люкс |
Удельный расход электроэнергии, Вт/м2 |
|
|
Типовой диапазон значений |
Типовое значение |
|
|
50 |
От 2,5 до 3,2 включ. |
3 |
|
100 |
От 3,5 до 4,5 включ. |
4 |
|
200 |
От 5,5 до 7,0 включ. |
6 |
|
300 |
От 7,5 до 8,5 включ. |
8 |
|
400 |
От 9,0 до 12,5 включ. |
10 |
|
500 |
От 11,0 до 15,0 включ. |
12 |
|
Примечание — При использовании систем освещения с низкой эффективностью расход электроэнергии может увеличиться в два раза и более. Дополнительная мощность может потребоваться на местное освещение, при использовании других специальных систем освещения или поверхностей помещений темных цветов. |
||
Более подробные требования к освещению приведены в ЕН 12464-1.
6.7.4 Оборудование
При проектировании систем вентиляции и кондиционирования воздуха следует учитывать все существенные выделения от оборудования, находящегося в помещениях.
В офисах тепловыделение от оборудования обычно составляет в среднем 25—200 Вт/чел в течение рабочего дня. В качестве номинального значения принимается 100 Вт/чел в течение восьмичасового рабочего дня.
7 Исходные данные для проектирования
7.1 Общие положения
Исходные данные являются основой для проектирования систем вентиляции и кондиционирования. Они содержат критерии для проведения приемо—сдаточных испытаний системы и дают общие критерии для всех сторон, включая заказчика, проектную организацию, заказчика и персонал, занимающийся эксплуатацией и техническим обслуживанием.
Состав необходимых исходных данных приведен в 7.2—, но по согласованию сторон могут быть установлены и другие требования.
7.2 Принципы подготовки исходных данных
Ответственность заказчика, проектной организации и подрядчика определяется контрактом. Если одна из сторон не предоставляет необходимой информации, то другие стороны должны запросить ее официально. Достижение соглашения в письменной форме между заказчиком и проектной организацией по основным требованиям имеет принципиальное значение.
Заказчик должен предоставить проектной организации данные об окружающей среде, характеристику здания и другие требования, которые он задает остальным подрядчикам. Проектная организация и заказчик должны также согласовать критерии, по которым будут проводиться приемо—сдаточные испытания системы и оцениваться ее работа в процессе эксплуатации.
В ходе разработки проекта могут потребоваться более подробные данные о здании, включая данные о его конструкции, порядке эксплуатации и пр. В связи с этим все требования должны быть изложены ясно.
Перечень исходных данных также зависит от методов расчета. Проектная организация должна определить перечень необходимых исходных данных.
Рекомендуется ввести систему обозначений и сокращений, единую для всего проекта.
7.3 Общая характеристика здания
7.3.1 Место расположения, влияющие факторы за пределами здания, соседние объекты
Проектной организации следует, по возможности, получить от заказчика данные о месте расположения здания, существенных соседних объектах (близлежащие здания, объекты, дающие тень или эффект отражения, источники выделений, аэродромы, берег моря и другие данные, которые следует учесть при проектировании), а также уровне шума и ветровой нагрузке (если требуется). Класс наружного воздуха следует определять по .
7.3.2 Климатические данные
Следует, как минимум, определить климатические данные для зимнего и летнего периодов. Как правило, указывается базовое число дней с данными о температуре наружного воздуха в течение суток по часам. Наиболее важными параметрами для проектирования являются:
— зимой — наружная температура и скорость ветра;
— летом — наружная температура и солнечная радиация.
В отдельных случаях целесообразно использование дополнительной информации об экстремальных ситуациях, особенно в отношении условий комфорта. Проектная организация должна задать базовые характеристики для оценки годового потребления энергии.
7.3.3 Данные об эксплуатации здания
Проектная организация должна получить от заказчика данные о порядке использования здания в рабочие дни, нерабочие периоды года (например, для школ), а также общие данные об эксплуатации здания в выходные дни, в ночной период и пр.
7.4 Данные о конструкции здания
Следует определить перечень всех элементов здания с необходимыми сведениями об их конструкции.
7.5 Ориентация здания
Следует указать ориентацию наружных элементов здания, в виде чертежей и (или) таблиц. Рекомендуется дать спецификацию всех помещений с указанием их площади и объема.
7.6 Использование помещения
7.6.1 Общие положения
Следует привести в форме таблицы данные о назначении помещения (групп помещений аналогичного назначения), а также необходимые данные от заказчика в соответствии с ЕН 12599 (приложение 1).
7.6.2 Присутствие людей
Следует указать численность людей, которые могут находиться в помещении в течение длительного времени (см. ). На основании этого числа определяется кратность воздухообмена. Дополнительно учитывается вид деятельности и одежда согласно .
Численность людей указывается по часам (для смены) для типовых условий.
7.6.3 Другие источники тепла внутри помещений
Для помещений (групп помещений) аналогичного назначения следует задать следующие внутренние нагрузки:
— тепловые нагрузки по явной теплоте (конвекции или излучения);
— скрытые тепловые нагрузки.
Эти нагрузки задаются по часам дня (смены).
7.6.4 Другие внутренние источники загрязнений и влаги
Проектная организация и заказчик должны согласовать данные по выделению загрязнений и влаги в помещениях для каждого вида загрязнений. Интенсивность выделения каждого вида загрязнений и допустимые пределы указываются по часам дня (смены).
7.6.5 Требования к вытяжным системам
В ряде случаев требования к вытяжным системам задаются заказчиком исходя из вида процесса или оборудования.
7.7 Требования к помещениям
7.7.1 Общие положения
Для каждого помещения (групп помещений аналогичного назначения) должны быть заданы требования в соответствии с — по согласованию с проектировщиком и заказчиком. Эти требования должны учитывать условия теплового комфорта и влияние сквозняков в зоне нахождения людей (см. ).
Заказчик может устанавливать собственные требования и требования, приведенные в других разделах настоящего стандарта. Проектная организация несет ответственность за определение специальных требований для зон, в которых находятся люди.
7.7.2 Вид контроля
Вид контроля параметров среды внутри помещения выбирается в соответствии с таблицей 13 с учетом назначения помещения.
7.7.3 Температура и влажность
Требования к температуре задаются в соответствии с , к влажности — в соответствии с 6.5.
7.7.4 Качество воздуха для людей
Требования к качеству воздуха должны быть согласованы проектной организацией и заказчиком. Заказчик должен задать метод классификации воздуха. Важным условием является разрешение или запрещение курения в помещении.
Проектная организация должна определить расход воздуха, необходимый для выполнения заданных требований (см. и ), на основании соглашения с заказчиком. При отсутствии такого соглашения следует исходить из требований к расходу воздуха по таблице 11 для класса IDA 2.
7.7.5 Скорость воздуха
Скорость воздуха в эксплуатируемой (рабочей) зоне нахождения людей не должна превышать заданных пределов. Заказчик может задать собственные требования или использовать типовые значения по .
7.7.6 Уровень шума
Допустимый уровень шума задается по , если отсутствуют специальные требования или нормы.
7.7.7 Освещение
Проектирование освещения должно выполняться исходя из назначения помещения. Установленная электрическая мощность для освещения не должна быть слишком высокой с учетом экономии энергии и затрат на охлаждение помещения в летний период. Типовые величины уровней освещенности и расходов энергии на освещение приведены в таблицах и пункта .
7.8 Общие требования к контролю работы системы
Требования к контролю и мониторингу всех систем должны быть согласованы проектной организацией и заказчиком. В отдельных случаях могут быть разделены требования к первому году (годам) эксплуатации и последующим периодам.
7.9 Общие требования к техническому обслуживанию и безопасности при эксплуатации
Для системы вентиляции и кондиционирования воздуха должны быть предусмотрены требования к эксплуатации и техническому обслуживанию с целью поддержания работоспособности в течение всего срока службы. Проект и конструкция системы должны предусматривать удобство ее очистки, технического обслуживания и эксплуатации (см. ЕН 12097). Следует предусмотреть необходимые средства защиты и обеспечения безопасности при выполнении технического обслуживания и ремонта, а также порядок аварийного выключения.
Примечание — Более подробные требования к безопасности при эксплуатации и техническом обслуживании могут регламентироваться другими нормативными документами.
8 Организация работ от начала проектирования до ввода в эксплуатацию
Выполнение и состав работ от начала проектирования до ввода объекта в эксплуатацию должны быть оформлены договором. Порядок работ, как правило, включает в себя следующие этапы:
a) начало проектирования, сбор и анализ исходных данных;
b) разработку задания на проектирование и технические условия (требования);
c) получение исходно—разрешительной документации;
d) проектирование;
e) монтаж;
f) проверку монтажа;
g) пуск системы, проверку ее функционирования, регулирование баланса воздухообмена, оформление протоколов испытаний;
h) информирование заказчика о завершении монтажа;
i) выполнение функциональных проверок и измерений, а также специальных измерений по ЕН 12599;
j) сдачу системы заказчику, включая передачу всей документации по эксплуатации и техническому обслуживанию;
к) эксплуатацию и техническое обслуживание.
Гарантийный период начинается, как правило, с момента сдачи системы.
Любая система вентиляции и кондиционирования воздуха требует надлежащей эксплуатации и технического обслуживания с целью обеспечения требуемых условий и качества воздуха в помещении, энергосбережения, исключения попадания загрязнений из системы вентиляции в помещения, предотвращения отказов системы и ее преждевременного износа.
Рекомендуется:
— вести журналы по эксплуатации и техническому обслуживанию;
— вести учет потребления энергии.
В журналах следует указывать описание методов контроля и периодичность технического обслуживания с указанием ответственных лиц. Проект и конструкция системы должны предусматривать выполнение работ по техническому обслуживанию и ремонту.
Организация учета потребления энергии должна предусматривать возможность периодического контроля потребления энергии во всем здании и в отдельных важных системах. В связи с этим требования к учету и средствам контроля должны быть заданы на ранних стадиях проектирования.
При внесении изменений в систему следует также изменять порядок ее эксплуатации с корректировкой соответствующих требований.
Приложение А
(справочное)
Рекомендации по проектированию
А.1 Область применения
Настоящие рекомендации распространяются на системы принудительной вентиляции и кондиционирования воздуха в зданиях, предназначенных для нахождения людей. При использовании этих рекомендаций в иных случаях следует учитывать специфику рассматриваемых помещений.
А.2 Требования к приемным устройствам наружного воздуха и устройствам для удаления воздуха за пределы здания
А.2.1 Общие положения
Воздуховоды должны быть, по возможности, короткими для снижения потери давления и расхода энергии. Воздуховоды должны соответствовать следующим требованиям:
— приемное устройство наружного воздуха должно быть устроено так, чтобы забираемый воздух был по возможности чистым, сухим (не содержал капель дождя и пр.) и прохладным в летнее время;
— удаление воздуха в атмосферу должно быть организовано так, чтобы снизить до минимума риск для здоровья персонала или вредные эффекты для здания и окружающей среды.
А.2.2 Прием наружного воздуха
К приему наружного воздуха предъявляются следующие требования:
— не допускается осуществлять прием воздуха на расстоянии менее 8 м по горизонтали от мест сбора мусора, вблизи интенсивно используемых мест парковки для трех и более автомобилей, вблизи дорог, погрузочно—разгрузочных зон, канализационных отверстий, верхних частей дымовых труб и прочих аналогичных источников загрязнений;
— следует обращать особое внимание на расположение и форму приемных устройств наружного воздуха вблизи систем испарительного охлаждения, чтобы предотвратить попадание загрязнений в приточный воздух; не допускается располагать эти устройства по преобладающему направлению ветра от систем испарительного охлаждения; важную роль играет надлежащее техническое обслуживание градирен;
— не допускается прием воздуха со стороны фасада, выходящего на улицу с интенсивным движением; если это условие невыполнимо, то приемные устройства наружного воздуха следует располагать на предельно возможной высоте от уровня земли;
— не допускается прием воздуха вблизи мест вытяжки и мест с выделениями других загрязнений или запахов (см. );
— не допускается прием воздуха непосредственно над землей; минимальное расстояние от нижней части приемного устройства наружного воздуха и землей должно составлять 3 м, или приемное устройство должно быть, по крайней мере, в 1,5 раза больше ожидаемой максимальной толщины слоя снега;
— если приемное устройство наружного воздуха располагается в верхней части здания или концентрация загрязнений с обеих сторон здания одинакова, то приемное устройство должно располагаться с наветренной стороны;
— приемные устройства наружного воздуха, расположенные вблизи открытых мест, крыш или стен, следует устраивать и защищать таким образом, чтобы воздух не перегревался в летний период;
— при наличии риска проникания воды в любой форме (снега, дождя, тумана и пр.) или пыли (в том числе листьев) скорость потока воздуха на входе приемного устройства наружного воздуха не должна превышать 2 м/с (см. также ЕН 13030 []);
— минимальное расстояние до нижней части приемного устройства наружного воздуха, располагаемого на крыше или площадке, должно быть, по крайней мере, в 1,5 раза больше ожидаемой максимальной толщины слоя снега; это расстояние может быть меньше указанного, если образование слоя снега предотвращается, например, щитами;
— следует учитывать порядок проведения очистки.
А.2.3 Устройство для удаления воздуха за пределы здания
К устройствам для удаления воздуха за пределы здания класса ЕНА 1 в атмосферу предъявляются следующие требования:
— расстояние от устройства для удаления воздуха до соседних зданий должно быть не менее 8 м;
— расстояние от устройства для удаления воздуха должно быть не менее 2 м до приемного устройства наружного воздуха, расположенного на той же стене; по возможности, приемное устройство наружного воздуха должно быть ниже отверстия для удаления воздуха (см. также );
— расход воздуха через устройство не должен превышать 0,5 м3/с;
— скорость удаляемого воздуха в устройстве не должна превышать 5 м/с.
В других случаях удаление воздуха должно быть организовано на крыше. Как правило, удаление воздуха организуется на крыше в наиболее высокой ее части, оно должно быть направлено вверх.
Исходя из требований экологии или гигиены, высота или скорость потока воздуха могут быть больше.
А.2.4 Расстояние между устройствами для приема и удаления воздуха
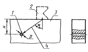
Минимальные расстояния между приемными устройствами наружного воздуха и устройствами для удаления воздуха за пределы здания приведены на рисунке А.1. Эти расстояния, в основном, зависят от класса удаляемого воздуха. Для класса ЕНА 4 расстояния имеют наибольшее значение и зависят от расхода воздуха. Для классов ЕНА 1-ЕНА 3 расстояния определяются только классом удаляемого воздуха. Данные рисунка А.1 могут использоваться только при скоростях потоков удаляемого воздуха не более 6 м/с. При более высоких скоростях расстояния могут быть меньше.
В высоких зданиях приемные устройства наружного воздуха и устройства для удаления воздуха за пределы здания должны располагаться таким образом, чтобы свести до минимума влияние ветра и восходящих потоков воздуха.

1 — расстояние по вертикали — устройство для удаления воздуха за пределы здания находится выше приемного устройства наружного воздуха (верхний график), расстояние по вертикали — устройство для удаления воздуха за пределы здания находится ниже приемного устройства наружного воздуха (нижний график); 2 — расстояние; 3 — класс ЕНА; 4 -расход воздуха в устройстве для удаления воздуха за пределы здания, м3/с
Рисунок А.1 — Минимальные расстояния между приемными устройствами наружного воздуха и устройствами для удаления воздуха за пределы здания
Пример 1 — По отношению к приемному устройству наружного воздуха устройство для удаления воздуха за пределы здания может:
а) быть на 4 м ниже;
b) располагаться на той же высоте;
с) быть на 2 м выше.
Необходимо определить минимальное расстояние для всех трех случаев. Система обслуживает большую профессиональную кухню, включая вытяжные укрытия, расход удаляемого воздуха 3 м3/с.
Решение:
Удаляемый воздух относится к классу ЕНА 4, поэтому используется линия для ЕНА 4, приведенная на рисунке А.1, со значением расхода воздуха 3 м3/с. Расстояния по горизонтали будут равны:
a) примерно 15 м;
b) 16 м;
c) примерно 11 м.
Пример 2 — Условия те же, что и в перечислении с) предыдущего примера, но система обслуживает офисные помещения, в которых курение запрещено.
Решение:
Удаляемый воздух имеет класс ЕНА 1, поэтому устройство для удаления воздуха за пределы здания может быть расположено на 2 м выше приемного устройства наружного воздуха. Минимальное расстояние по горизонтали составляет 0 м.
А.3 Фильтры очистки воздуха
Фильтрация воздуха необходима для обеспечения требуемой чистоты воздуха внутри здания (см. ) с учетом класса наружного воздуха (см. ). Размеры секций фильтров выбираются с учетом ряда параметров (срок службы, пылеемкость, специальные случаи местных выделений загрязнений пр.)
Рекомендуемые классы фильтров для различных ступеней очистки приведены в таблице А.1.
Таблица А.1 — Рекомендуемые классы фильтров для различных ступеней очистки (обозначения по ЕН 779)
|
Обозначение класса |
Обозначение класса воздуха в помещении (см. ) |
|||
|
IDA 4 (высокое) |
IDA 3 (среднее) |
IDA 2 (умеренное) |
IDA 1 (низкое) |
|
|
ODA 1 |
F9 |
F8 |
F7 |
F6 |
|
ODA 2 |
F7/F9 |
F6/F8 |
F6/F7 |
G4/F6 |
|
ODA 3 |
F7/F9 |
F8 |
F7 |
F6 |
|
ODA 4 |
F7/F9 |
F6/F8 |
F6/F7 |
G4/F6 |
|
ODA 5 |
F6/GF/F9* |
F6/GF/F9* |
F6/F7 |
G4/F6 |
|
* GF — газовый (угольный) и(или) химический фильтр. |
||||
Для снижения концентрации пыли, содержащейся в наружном воздухе, и поддержания системы вентиляции в чистом состоянии предусматривается установка предфильтра на ее входе. Это увеличивает срок службы второго фильтра, но также увеличивает первоначальные и текущие расходы. Если предусмотрена одна ступень фильтрации, то фильтр устанавливается после вентилятора. Если предусмотрено две и более ступени фильтрации, то первая ступень фильтрации устанавливается до секций подготовки воздуха, а вторая — после них.
При использовании фильтров классов F7 и выше следует уделить особое внимание изменению перепадов давления из—за изменения расхода воздуха.
Для класса наружного воздуха ODA 5 рекомендуется использовать газовые (угольные) фильтры. Это может быть эффективным решением и для классов ODA 3 и ODA 4. Газовые фильтры устанавливаются в сочетании с фильтрами F8 и F9 (располагают до них).
В некоторых случаях для класса ODA 5 (районы с высокой концентрацией промышленных предприятий, расположенные вблизи аэропортов и пр.) может потребоваться применение электростатических фильтров. Если повышенное загрязнение наружного воздуха происходит периодически, то рекомендуется предусмотреть обходной путь для этих фильтров и непрерывный контроль качества воздуха.
Исходя из условий гигиены не рекомендуется эксплуатировать фильтр первой ступени более одного года. Фильтры второй и третьей ступеней рекомендуется менять не реже одного раза в два года. Если для всех секций постоянно обеспечиваются сухие условия, то периодичность замены фильтров увеличивается. Рекомендуется предусматривать визуальный осмотр фильтров и контроль перепадов давления на них.
К фильтрам и местам их установки предъявляются следующие требования:
— следует тщательно выбирать и оборудовать место приемного устройства наружного воздуха во избежание попадания на фильтр местных загрязнений, а также дождя или снега;
— при проектировании системы для сведения к минимуму риска роста микроорганизмов следует предусмотреть, чтобы относительная влажность в ней была менее 90 %, а среднее значение относительной влажности в течение трех дней было менее 80 % во всех элементах системы, включая фильтр;
— исходя из условий гигиены фильтры наружного воздуха должны быть разделены на две ступени, по крайней мере, для классов воздуха в помещении IDA 1 и IDA 2; фильтр первой ступени может иметь класс F5 (предпочтительно F7); фильтр второй ступени должен иметь класс не ниже F7 (предпочтительно F9). Если предусмотрена только одна ступень фильтрации, то класс фильтра должен быть не ниже F7;
— в системе с рециркуляцией воздуха следует использовать фильтр класса не ниже F5 для предотвращения загрязнения системы, но везде, где возможно, фильтр рециркуляционного воздуха должен иметь тот же класс, что и аналогичный фильтр в основном потоке воздуха;
— для защиты системы вытяжного и удаляемого воздуха требуется фильтр класса не ниже F5;
— следует очищать воздух, удаляемый из кухонь, на первой ступени специальным фильтром для жиров, который можно легко заменять и очищать;
— не следует устанавливать фильтр непосредственно после вентилятора или в местах, где распределение воздуха в поперечном сечении не является однородным;
— общий перепад давления вычисляется и устанавливается с учетом допустимых колебаний потока воздуха, стоимости цикла эксплуатации фильтра и длительности срока службы; поскольку при повторных испытаниях используется грубая (крупнозернистая) искусственная пыль, то эксплуатационные характеристики фильтров (эффективность, пылеемкость и пр.) в реальных условиях эксплуатации будут отличаться от результатов испытаний в лаборатории; эффективность не должна оказываться ниже установленных требований;
— замену фильтров следует проводить, когда перепад давления достигает заданного значения или когда истечет указанный ниже интервал времени (если это произойдет), выбранный по гигиеническим условиям:
фильтр первой ступени следует менять после 2000 ч работы, но не реже одного раза в год;
фильтр второй ступени, а также вытяжные и рециркуляционные фильтры следует менять после 4000 ч работы, но не реже чем один раз в два года;
— замену фильтра в соответствии с условиями гигиены следует проводить осенью или после окончания сезона выделения пыльцы или спор; если предъявляются более жесткие требования, то замена фильтров может проводиться также весной после завершения отопительного сезона, с целью удаления запахов продуктов горения;
— замену фильтров следует проводить аккуратно с использованием защитных средств, чтобы предотвратить распространение накопленных загрязнений;
— при утилизации фильтры могут сжигаться в хорошо фильтруемых печах для уничтожения накопленных загрязнений, уменьшения количества отходов и экономии энергии. Фильтры из обычных систем вентиляции могут также вывозиться на свалку.
Системы рекуперации тепла следует также защищать фильтром не ниже класса F6. Роторные рекуператоры тепла следует оборудовать секциями очистки.
Утечки в фильтрах резко снижают их эффективность. В связи с этим следует соблюдать требования к герметичности и отсутствию утечек по ЕН 1886 [].
А.4 Рекуперация тепла
Рекомендуется предусматривать рекуперацию тепла везде, где осуществляется подогрев приточного воздуха. Исключениями являются производства с высокими теплопотерями и специальные случаи, когда рекуперация неэкономична, например, при очень коротких периодах работы или для предприятий с ограниченными площадями.
При применении рекуперации тепла по принципу «воздух-воздух» следует учитывать следующие факторы:
— виды испытаний установок рекуперации, в том числе на утечку (приведены в ЕН 308 []);
— допускается рециркуляция вытяжного воздуха для класса ЕТА 1; в то же время следует оценить значение перекрестных утечек, чтобы обеспечить поступление требуемого объема наружного воздуха в помещения;
— для систем с вытяжным воздухом класса ЕТА 2, не допускающих рециркуляции, необходимо обеспечить повышенное давление с приточной стороны установки рекуперации тепла (см. рисунок А.2);
— для систем с вытяжным воздухом класса ЕТА 3 необходимо обеспечить повышенное давление по всей поверхности с приточной стороны по отношению к вытяжной стороне; это условие должно выполняться во всех режимах эксплуатации системы; если применяется рекуператор, через который могут передаваться запахи или загрязнения, например влага, то в вытяжном воздухе может содержаться не более 5 % вытяжного воздуха класса ЕТА 3; следует обратить особое внимание на внутреннюю герметичность теплообменника;
— для систем с вытяжным воздухом класса ЕТА 4, как правило, не допускается применение рекуператоров тепла, работающих по принципу «воздух-воздух». В этих случаях следует использовать рекуператоры с промежуточным теплоносителем.

1 — удаляемый воздух; 2 — рекуператор тепла; 3 — вытяжной воздух; 4 — наружный воздух; 5 — приточный воздух; 6 — давление
Рисунок А.2 — Перепады давления в системе
А.5 Удаление вытяжного воздуха
Не допускается распространение загрязнений в здании через воздуховоды и систему вентиляции. Конструкция и обслуживание воздуховодов должны соответствовать ЕН 12097.
К удалению из здания вытяжного воздуха различных классов предъявляются следующие требования:
класс ЕТА 1: — вытяжной воздух может удаляться в общий воздуховод;
класс ЕТА 2: — вытяжной воздух может удаляться в общий воздуховод;
класс ЕТА 3: — вытяжной воздух удаляется, как правило, через отдельные воздуховоды от различных мест одного класса, удаляется наружу или в сборный воздуховод или камеру вытяжного воздуха;
класс ЕТА 4 — вытяжной воздух удаляется наружу отдельными воздуховодами.
Классификация удаляемого воздуха приведена в таблице 4.
Если воздух разных классов собирается в общий воздуховод, то класс воздуха в этом воздуховоде соответствует наихудшему случаю, если доля наиболее загрязненного воздуха превышает 20 % общего объема вытяжного воздуха.
А.6 Повторное использование вытяжного воздуха и перетекающего воздуха
Возможность повторного использования вытяжного воздуха зависит от конкретной ситуации.
Для экономии энергии расход приточного воздуха должен быть, по возможности, минимальным. Любые нежелательные выделения (тепло, загрязнение, влага и пр.) следует удалять локальными методами, непосредственно у источника выделений или применять закрытые системы с вытяжкой. В этом случае, а также в большинстве случаев, когда требуется хорошее качество воздуха в помещении, не следует применять рециркуляцию воздуха. Подогрев или охлаждение зоны перед работой (при необходимости) следует выполнять, в основном, рециркуляционным воздухом.
Рекомендации по повторному использованию вытяжного и переточного воздуха приведены в таблице А.2 в соответствии с классификацией по .
Таблица А.2 — Повторное использование вытяжного и переточного воздуха
|
Класс воздуха* |
Возможность повторного использования |
|
ЕТА 1 |
Допускается рециркуляция и перетекание воздуха в другие помещения |
|
ЕТА 2 |
Рециркуляция, как правило, не допускается, но возможна передача воздуха в туалеты, умывальники, гаражи и другие аналогичные помещения |
|
ЕТА 3 |
Не допускается рециркуляция и перетекание воздуха в другие помещения |
|
ЕТА 4 |
Не допускается рециркуляция и перетекание воздуха в другие помещения |
|
* Классификация удаляемого воздуха приведена в . |
|
Для класса ETA 1 допускается рециркуляция воздуха в пределах одной зоны без ограничения. Для класса ЕТА 2 допускается рециркуляция при условии контроля рециркуляционного воздуха.
Примечание — Если повторное использование вытяжного воздуха не допускается, то в проекте должна быть исключена возможность рециркуляции (попадания вытяжного воздуха). Следует обратить особое внимание на герметичность систем рекуперации тепла.
А.7 Тепловая изоляция
Следует предусмотреть теплоизоляцию всех воздуховодов, труб и оборудования с существенной разницей между температурой среды в них и в окружающем пространстве. Конструкция изоляции должна предусматривать:
— отсутствие образования конденсата на внутренних поверхностях;
— защиту изоляции от повреждений;
— возможность очистки воздуховодов;
— сведение до минимума вредного влияния производства и заменяемых частей на окружающую среду.
Как правило, не допускается применение внутренней изоляции для наружного рециркуляционного и приточного воздуха.
А.8 Герметичность системы
А.8.1 Общие положения
Классификация и методы контроля герметичности воздуховодов круглого сечения приведены в ЕН 12237. Эта классификация используется также для других элементов системы. Требования к герметичности и методы ее контроля для кондиционеров, включая утечку в обходных фильтрах, приведены в ЕН 1886 [].
Критерием выбора класса герметичности является допустимый процент утечки воздуха в системе в условиях эксплуатации (инфильтрации воздуха в оборудование, работающее при пониженном давлении, или при отсутствии эксфильтрации воздуха из оборудования, работающего при повышенном давлении). Для предотвращения излишних потерь энергии и поддержания необходимого расхода воздуха в системе допустимая утечка не должна превышать 6 %.
В зоне, в которой предусмотрено нахождение людей, следует обеспечить необходимый расход наружного воздуха. При наличии утечек в воздуховодах и кондиционере расход воздуха через вентилятор будет выше.
А.8.2 Определение класса герметичности
Ниже приведены требования к определению минимально допустимого класса герметичности. Более высокие требования предъявляются в случаях, если общая площадь поверхности оборудования велика по сравнению с расходом воздуха и утечки могут привести к невыполнению требований к качеству воздуха, риску образования конденсата и пр.
Утечки воздуха в кондиционерах, элементах систем вентиляции и пр. не должны превышать значения утечек по классу герметичности А (см. рисунок А.3). Класс герметичности А также может относиться к открытым воздуховодам, проходящим в помещениях, которые они обслуживают, и в случаях, если перепад давления по отношению к внутреннему воздуху не превышает 150 Па.
Класс герметичности В применяют для воздуховодов, проходящих вне вентилируемого пространства, или для воздуховодов в вентилируемом пространстве, где перепад давления по отношению к внутреннему воздуху превышает 150 Па. Все вытяжные воздуховоды с избыточным давлением, по отношению к воздуху помещения, за исключением вентиляционных камер, должны иметь класс герметичности не ниже класса В.
Класс герметичности С применяют, если перепад между давлением воздуха в воздуховоде и давлением воздуха в помещении исключительно высок или утечка может привести к невыполнению требований к качеству воздуха в помещении, заданным условиям поддержания давления или функционирования системы вентиляции.
Класс герметичности D применяют в специальных случаях.
Максимально допустимая утечка f при испытаниях согласно ЕН 12237 составляет:
f = 0,027 p0,65 — для класса А;
f = 0,009 p0,65 — для класса В;
f = 0,003 p0,65 — для класса С;
f = 0,001 p0,65 — для класса D,
где f — утечка воздуха, л∙м2/с;
р — статическое давление, Па.
Зависимость f от р для классов герметичности приведена на рисунке А.3.

Рисунок А.3 — Классы герметичности (см. ЕН 1507 [] и ЕН 12237)
А.8.3 Испытания на герметичность
Возможность проведения испытаний на герметичность должна быть предусмотрена на стадии проектирования. Испытания следует проводить для каждой части системы, которая может быть испытана на герметичность установленными методами. Монтаж системы воздуховодов до проведения испытаний должен быть, по возможности, завершен, т.е. установлены все элементы воздуховодов, а кондиционеры и другое оборудование подсоединены к воздуховодам.
До проведения измерений следует выполнить визуальный осмотр и оценить правильность выполнения монтажа системы и наличие видимых повреждений. Если отдельные части системы имеют различные классы герметичности, то эти части следует испытывать отдельно под давлением, соответствующим проектным значениям. Если испытания проводятся совместно, то давление должно соответствовать наиболее высокому классу герметичности, а результаты испытаний следует оценивать по сумме максимально допустимых утечек для различных частей.
А.9 Герметичность здания
Степень герметичности здания должна соответствовать его назначению и типу системы вентиляции. Здания со сбалансированными системами вентиляции (приточно—вытяжные системы с механическим побуждением) должны иметь максимально возможную герметичность, т.е. иметь значение nL50 ниже 1,0 ч-1 для высоких зданий (выше трех этажей) и ниже 2,0 ч-1 для малоэтажных зданий. Во избежание сквозняков следует не допускать значительных утечек в одном месте здания. Если необходимо ограничить распространение загрязнений, то внутренние стены и полы также должны быть герметичными.
Метод определения nL50 приведен в ИСО 9972 или ЕН 13829 []. Приведенные выше значения характеризуют герметичность здания в целом. При проведении испытаний должны быть закрыты все двери, окна и другие отверстия, а также приточные и вытяжные вентиляционные отверстия.
А.10 Давление воздуха внутри системы и внутри здания
А.10.1 Общие положения
Относительное давление в здании, его частях и системе вентиляции должно быть задано так, чтобы предотвратить распространение запахов и загрязнений, превышающих допустимые пределы. Не допускается существенное изменение уровня давления при колебании погодных условий. На стадии проектирования следует принять решение по обеспечению герметичности здания, полов и стен, которые влияют на поддержание уровня давления с учетом температуры и ветра. В настоящем стандарте не рассматриваются перепады давления, образуемые системами дымоудаления.
А.10.2 Давление воздуха в здании
Если не заданы специальные требования, то система вентиляции не должна вызывать перепады давления в здании. В условиях сурового климата несколько пониженное давление по отношению к наружному воздуху позволяет предотвратить повреждение конструкций из—за влаги, но отрицательное давление не должно превышать 20 Па.
В районах с повышенным загрязнением наружного воздуха (классы ODA 2—ODA 5) или в зонах, где пониженное давление может вызвать риск повышения концентрации радона, отрицательное давление должно быть минимальным. Здание может проектироваться с учетом повышенного давления. В условиях сурового климата следует учитывать то обстоятельство, что повышенное давление внутри здания не приведет к повреждению материалов из—за влаги.
В некоторых зонах (а также в зданиях, в которых находятся люди) предусматривается повышенное давление по отношению к наружному воздуху или соседним помещениям. Примерами являются чистые помещения и помещения с чувствительным электронным оборудованием.
В зонах с высоким выделением загрязнений следует предусматривать непрерывный контроль перепадов давления. Давление воздуха на лестничных клетках, в коридорах и других проходах следует задавать таким образом, чтобы не было перетоков воздуха из одних помещений в другие.
А.10.3 Давление воздуха в помещении
Следует предусматривать повышенное давление с целью обеспечения перетока воздуха из чистых помещений в менее чистые помещения.
А.10.4 Давление воздуха в системе
Не допускается распространение загрязнений в здании через воздуховоды или систему вентиляции. Не допускается использование разных вентиляционных систем для одной и той же зоны здания, если это может привести к неконтролируемым изменениям уровня давления.
Высотные здания следует разделять по вертикали на несколько зон вентиляции. Расстояние по вертикали Dmax, м, между наиболее низкой и высокой точками приема воздуха в пределах одной зоны не должно превышать значения, вычисляемого по формуле
(А.1)
где θr — температура воздуха в помещении, °С;
θо,min — расчетная температура наружного воздуха в зимних условиях, °С.
Пример 1 — Если температура воздуха в помещении — плюс 21°С и расчетная температура наружного воздуха минус 14°С, то расстояние по вертикали между наиболее низкой и высокой точками приема воздуха не должно превышать 17 м.
В ином случае систему следует оборудовать дроссельными клапанами потока воздуха или другими аналогичными устройствами для автоматической компенсации эффекта дымовой трубы.
А.10.5 Давление воздуха в оборудовании
Перепады давления на фильтрах, секциях фильтров, дроссельных клапанах и секциях смешивания в кондиционерах должны быть заданы по ЕН 13053 []. Требования к установкам рекуперации воздуха приведены в .
Для систем с изменяющимся потоком воздуха следует задавать следующие дополнительные требования:
— к максимальному изменению перепада давления и соотношения между вытяжным и приточным воздухом;
— к контролю давления.
Следует оценить влияние изменений перепада давления на потоки воздуха из—за накопления пыли или изменения положения дроссельной заслонки в клапане или камере смешивания. Допускается незначительное изменение расхода воздуха (как правило, не более ±10 % общего расхода приточного или вытяжного воздуха) или давления в здании.
А.10.6 Воздуховоды
Вытяжные воздуховоды, расположенные внутри здания (за исключением воздуховодов, проходящих после вентилятора в вентиляционных камерах), должны, как правило, эксплуатироваться при пониженном давлении.
Допускается эксплуатация вытяжных воздуховодов классов ЕТА 1 и ЕТА 2 при повышенном давлении при условии, что они имеют герметичность класса С по ЕН 12237 и что в той же шахте не проходят приточные воздуховоды с пониженным давлением.
Не допускается применение воздуховодов классов ЕТА 3 или ЕТА 4 с повышенным давлением в помещениях, в которых предусмотрено нахождение людей. Исключением являются кухни в жилых домах (с вытяжкой над плитой) и ванные комнаты (с вентилятором) при условии, что вытяжной воздуховод не находится под повышенным давлением в любых помещениях (комнатах и пр.), кроме тех, которые они обслуживают.
В вытяжных воздуховодах систем принудительной вентиляции следует предусматривать клапаны, автоматически перекрывающиеся при выключении вентиляции, во избежание обратного тока воздуха и неконтролируемой вентиляции, по крайней мере, в случаях, если сечение вытяжного воздуха превышает 0,06 м3.
А.11 Управление вентиляцией
Управление вентиляцией в зависимости от реальных потребностей может существенно снизить потребление энергии.
С этой целью могут быть предусмотрены следующие средства управления:
— ручное выключение;
— комбинирование выключателей вентиляции с выключателями освещения;
— задание режима работы и выключения в зависимости от времени (день, неделя или год);
— выключатель у окна;
— инфракрасный сенсор.
Управление системой вентиляции может быть построено также с учетом воздействия различных факторов. В помещениях, в которых подразумевается нахождение людей, могут быть предусмотрены:
— сенсоры движения;
— сенсоры—счетчики;
— сенсоры СO2 (в основном, в помещениях, где запрещено курение);
— сенсоры газовой смеси (в том числе в помещениях, где находятся курящие).
В помещениях с известными выделениями концентрация наиболее значимого загрязнителя может использоваться в качестве входного сигнала, например концентрация СО в паркингах автомашин.
При изменении назначения помещения следует вносить изменения в систему вентиляции и средства ее управления в соответствии с изложенными выше принципами.
А.12 Снижение потребления энергии
А.12.1 Удельная мощность вентилятора
Удельная мощность вентилятора SPF зависит от перепада давления, эффективности вентилятора и конструкции двигателя. В таблице А.3 приведены примеры классов удельной мощности SPF для типовых областей применения с учетом .
А.12.2 Перепад давления
Перепад давления на элементах системы должен быть, по возможности, низким (в пределах соответствия заданным требованиям), чтобы сократить расходы энергии на вентиляцию. Перепад давления может изменяться, например, из—за накопления пыли, что может оказать влияние на баланс давлений в системе.
В таблицах А.4 и А.5 приведены примеры перепадов давлений. Если отдельные элементы имеют высокий перепад давления, то сохранить общий уровень можно за счет снижения перепада давления на других элементах.
Таблица А.3 — Примеры классов удельной мощности вентиляторов
|
Область применения |
Класс удельной мощности вентилятора |
|
|
Типовой диапазон значений |
Типовое значение |
|
|
Приточный вентилятор: |
|
|
|
— сложная система вентиляции |
SPF 1—SPF 5 |
SPF 3 |
|
— простая система вентиляции |
SPF 1—SPF 5 |
SPF 2 |
|
Вытяжной вентилятор: |
|
|
|
— сложная система вентиляции и кондиционирования |
SPF 1—SPF 4 |
SPF 3 |
|
— простая система вентиляции |
SPF 1—SPF 3 |
SPF 2 |
|
— вытяжная система |
SPF 1—SPF 3 |
SPF 2 |
Таблица А.4 — Примеры перепадов давления на отдельных элементах приточной системы вентиляции
|
Элемент |
Перепад давления, Па |
||
|
низкий |
нормальный |
высокий |
|
|
Воздуховод |
100 |
200 |
300 |
|
Секция нагревания |
40 |
80 |
120 |
|
Секция охлаждения |
60 |
100 |
140 |
|
Рекуператор |
100 |
150 |
200 |
|
Увлажнитель |
20 |
40 |
60 |
|
Секция фильтра * |
100 |
150 |
250 |
|
Шумоглушитель |
30 |
50 |
80 |
|
Конечный элемент |
30 |
50 |
100 |
|
Входное и выходное отверстия для воздуха |
20 |
50 |
70 |
|
* Конечный перепад давления перед заменой фильтра. |
|||
Таблица А.5 — Примеры перепадов давления в вытяжной системе
|
Элемент |
Перепад давления, Па |
||
|
низкий |
нормальный |
высокий |
|
|
Воздуховод и конечный элемент |
100 |
200 |
300 |
|
Рекуператор |
100 |
150 |
200 |
|
Секция фильтра * |
100 |
150 |
250 |
|
Шумоглушитель |
30 |
50 |
80 |
|
Входное и выходное отверстия для воздуха |
20 |
40 |
60 |
|
* Конечный перепад давления перед заменой фильтра. |
|||
А.13 Требования к расположению элементов и систем
А.13.1 Общие положения
При проектировании, изготовлении и монтаже системы следует предусматривать удобство очистки, технического обслуживания и текущего ремонта. С этой целью вблизи оборудования должно быть предусмотрено достаточно свободного пространства. Его размеры должны быть не меньше соответствующих размеров узлов оборудования. Для демонтажа и последующего ремонта должно быть предусмотрено достаточно свободного пространства. Следует организовать и обозначить пути транспортирования запасных частей. В А.13.1— приведены общие требования к свободному пространству.
Не допускается расположение оборудования, требующего технического обслуживания, или дверей для обслуживания в местах с затрудненным доступом. Если оборудование размещено за подвесным потолком, то к оборудованию должен быть обеспечен доступ без применения инструментов, и рядом с оборудованием за подвесным потолком должна быть свободная площадка с размерами не менее 500×500 мм.
Следует обеспечить доступ персонала к кондиционерам и вентиляционным камерам обслуживания (включая, при необходимости, транспортирование материалов и запасных частей) без входа в рабочие зоны или места нахождения людей.
На рисунках А.4-А.7 приведены типовые рекомендации по определению размеров зон обслуживания. В зависимости от конкретной задачи могут потребоваться зоны с размерами, менее или более установленных. При проектировании системы вентиляции кондиционирования следует учитывать требования к очистке, техническому обслуживанию и ремонту.
А.13.2 Требования к размерам вентиляционных камер для размещения кондиционеров
На рисунке А.4 приведены размеры вентиляционных камер, необходимые для эффективной работы системы вентиляции и ее технического обслуживания.

1 — только приточная система; 2 — только вытяжная система; 3 — приточная и вытяжная системы
Рисунок А.4 — Высота и площадь вентиляционных камер
Приведенные графики выполнены для систем с одной единицей приточного или вытяжного оборудования. При разделении оборудования на несколько частей и применении рекуператоров тепла может потребоваться увеличение площади пола.
При проектировании систем вентиляции и кондиционирования недостаточно указать только размеры вентиляционных камер. Следует предоставить планировку воздуховодов, пути перемещения оборудования и запасных частей, как приведено на рисунке А.5.

1 — b = 0,4×высота оборудования (не менее 0,5 м); 2 — зона обслуживания (ширина зоны обслуживания с должна быть не менее ширины кондиционера d)
Рисунок А.5 — Расположение кондиционера (в плане)
А.13.3 Требования к размерам зон с холодильными установками и системами распределения воды
На рисунке А.6 приведены размеры зон с холодильными установками и системами распределения воды.

1 — система охлаждения, включая распределение воды; 2 — система повторного охлаждения
Рисунок А.6 — Высота и площадь пола зон с холодильными установками и системами подготовки воды
Указанные зоны относятся к холодильной установке, насосам холодной воды и системе распределения холодной воды без учета насосов и системы распределения горячей воды.
А.13.4 Поперечное сечение шахт
Рекомендуемые размеры поперечного сечения шахт приведены на рисунке А.7.

1 — шахты для воздуховодов; 2 — шахты, непосредственно используемые в качестве воздуховодов
Рисунок А.7 — Поперечное сечение шахт
Для шахт, в которых проходят воздуховоды, может использоваться нижний предел, если поперечное сечение шахт является практически квадратным и отсутствуют ответвления воздуховодов. В иных случаях рекомендуется выбирать значение по верхнему пределу. На рисунке А.7 приведены «чистые» сечения шахт, используемые для движения воздуха.
В шахтах непосредственно используемых воздуховодов поперечное сечение используется только для прохода воздуха. Следует учитывать возможность присоединения воздуховодов в шахте к воздуховодам на этажах. Не рекомендуется располагать вентиляционные шахты между шахтами лифтов.
А.13.5 Требования к пространству за подвесными потолками
Высота пространства за подвесными потолками для размещения приточных и вытяжных воздуховодов должна быть, как правило, от 0,40 до 0,50 м, а в наиболее узких местах — от 0,25 до 0,30 м. Следует предусматривать доступ к местам воздуховодов, требующих обслуживания.
А.13.6 Подоконники
Минимальная глубина подоконников, на которых монтируется оборудование вентиляции и кондиционирования, должна находиться в пределах от 0,2 до 0,4 м.
А.14 Требования гигиены и технические требования при монтаже и эксплуатации
Все элементы системы вентиляции и кондиционирования воздуха должны соответствовать своему назначению, т.е. быть устойчивыми к коррозии, удобными для очистки, иметь хороший доступ для обслуживания и гигиенические показатели, которые не должны способствовать росту микроорганизмов.
Основные требования к техническому обслуживанию элементов воздуховодов приведены в ЕН 12097.
Общие гигиенические требования ЕН 12097 применимы для всех воздуховодов, элементов воздуховодов и оборудования вентиляционных систем. Проект и монтаж воздуховодов должны обеспечивать соответствие данным требованиям на протяжении всего срока службы системы вентиляции.
Расположение элементов воздуховодов должно предусматривать возможность их очистки или демонтажа для проведения технического обслуживания и очистки воздуховодов. Если это невозможно, то следует устанавливать двери для доступа при обслуживании сверху и (или) снизу элемента с одной или с обеих сторон по ЕН 12097.
Для вытяжного воздуха периодичность обслуживания (с использованием дверей и пр.) и метод очистки зависят от его класса.
В камерах статического давления, вблизи поворотов воздуховодов должны быть предусмотрены отверстия для проведения очистки и обслуживания с расстоянием между ними не более 10 м. Для вытяжного воздуха класса ЕНА 4 максимальное расстояние должно быть от 3 до 5 м, в зависимости от характера содержащихся в нем загрязнений.
Минимальные размеры отверстий приведены в ЕН 12097 (). При применении метода очистки, допускающем меньшие размеры отверстий или большие расстояния между ними, следует указать эти значения в соответствующей документации, выполнить соответствующую маркировку отверстий, а также задать требования к очистке.
Доступ к элементам, расположенным внутри воздуховодов, следует обеспечивать по ЕН 12097. Для подвесных потолков следует выполнять требования по . В верхней и нижней частях вертикальных воздуховодов следует предусматривать отверстия, расположенные в легкодоступных зонах.
Приложение В
(справочное)
Экономические показатели
В.1 Общие положения
В основе выбора системы отопления и вентиляции здания лежит необходимость обеспечения надлежащей работы оборудования при оправданных затратах. Расчет затрат должен быть обоснован и согласован с заказчиком.
В.2 Исходные данные
Следует указать все исходные данные для расчетов с целью получения ясного и прослеживаемого результата. Наиболее важными являются:
— метод расчета;
— значения величин по В.3.2.
В.3 Метод расчета
В.3.1 Общие положения
Расчет затрат следует выполнять по методу «фактической стоимости».
В основе расчета лежит ожидаемый срок службы и качество используемых элементов. Следует также учитывать норму прибыли и индекс инфляции. В В.3.2 приведен метод расчета фактической стоимости цикла жизни системы.
Дополнительные данные для расчетов приведены в В.3, в т.ч. в виде таблицы В.3, для рекомендуемого срока службы наиболее часто используемого оборудования.
В.3.2 Определения
В.3.2.1 Фактическая стоимость PV
Сумма всех затрат и доходов в течение срока службы в текущих ценах.
В.3.2.2 Первоначальные вложения [I]
Стоимость оборудования, выполняющего требуемые функции.
Примечание — Учитывается только стоимость оборудования без расходов на потребление энергии.
В.3.2.3 Рыночная норма прибыли [r]
Норма прибыли, согласованная с кредитором.
В.3.2.4 Индекс инфляции [i]
Показатель инфляции за год.
В.3.2.5 Реальная норма прибыли [ri]
Рыночная норма прибыли с учетом индекса инфляции вычисляется по формуле
(В.1)
В.3.2.6 Срок службы [n]
Ожидаемый срок службы оборудования, лет.
В.3.2.7 Расходы на обслуживание [сm]
Ежегодные расходы на техническое обслуживание и ремонт для поддержания работоспособности системы на первоначальном уровне.
В.3.2.8 Эксплутационные расходы [сo]
Ежегодные расходы на потребление энергии и пр., а также на содержание персонала.
Примечание — Расходы на энергию относятся к внешним издержкам, которые следует задавать и учитывать в расчетах.
В.3.2.9 Коэффициент фактической стоимости [fpv]
Показатель, на который следует умножать ежегодные расходы на техническое обслуживание и эксплутационные расходы, а также ежегодный доход, чтобы обеспечить сравнимые с первоначальными вложениями результаты.
Примечание — В таблице В.1 приведены коэффициенты фактической стоимости fpv для сроков службы оборудования от 5 до 50 лет и реальной нормы прибыли от 0 % до 20 %. Промежуточные значения могут быть получены методом интерполяции и по формуле
(В.2)
Расчет значений по таблице В.1 выполнен при условии, что платежи проводятся в конце каждого года.
Таблица В.1 — Коэффициенты фактической стоимости в процентах от ежегодных сумм для различных сроков службы и реальных норм прибыли
|
Срок службы n, лет |
Реальная норма прибыли ri, % |
|||||||
|
0 |
4 |
5 |
8 |
10 |
12 |
15 |
20 |
|
|
5 |
5 |
4,5 |
4,3 |
4,0 |
3,8 |
3,6 |
3,0 |
2,7 |
|
10 |
10 |
8,1 |
7,7 |
6,7 |
6,1 |
5,7 |
5,0 |
4,6 |
|
15 |
15 |
11,1 |
10,4 |
8,6 |
7,6 |
6,8 |
5,8 |
4,7 |
|
20 |
20 |
13,6 |
12,5 |
9,8 |
8,5 |
7,5 |
6,3 |
4,9 |
|
30 |
30 |
17,3 |
15,6 |
11,3 |
9,4 |
8,1 |
6,6 |
5,0 |
|
40 |
40 |
19,8 |
17,2 |
11,9 |
9,8 |
8,2 |
6,6 |
5,0 |
|
50 |
50 |
21,5 |
18,3 |
12,2 |
9,9 |
8,3 |
6,7 |
5,1 |
8.3.2.10 Стоимость цикла жизни системы [LLC]
Сумма первоначальных вложений и фактической стоимости всех издержек на эксплуатацию и техническое обслуживание.
Примечание — Предполагается, что к концу срока службы первоначальные вложения полностью окупятся, т.е. остаточная стоимость будет равна нулю.
LLC = I + fpv(C0 + Cm). (B.3)
8.3.2.11 Экономия в течение цикла жизни системы [LCS]
Предполагаемый доход благодаря экономии электроэнергии. Следует сравнивать разницу в текущих доходах и соответствующую разницу во вложениях.
Примечание — Следует отнести к времени инвестирования путем умножения на аккумулированный коэффициент фактической стоимости.
8.3.2.12 Текущая стоимость нетто [NPC]
Расчетная стоимость цикла жизни системы, уменьшенная на экономию в течение цикла жизни системы.
В.3.3 Расчет текущей стоимости нетто
B.3.3.1 Общие положения
Исходные данные для расчета:
a) предполагаемые затраты на оборудование;
b) предполагаемые затраты на эксплуатацию и техническое обслуживание, отнесенные к текущей стоимости;
c) ожидаемая экономия за счет инвестиций (за счет аренды или экономии расходов на эксплуатацию оборудования, например теплообменника).
Типичной трудностью для перечислений b) и с) является неравномерность распределения затрат в течение срока службы системы. Однако в большинстве случаев допускается и даже рекомендуется принимать затраты распределенными равномерно, т.к. фактор неопределенности высок и зависит от характера использования оборудования.
B.3.3.2 Пример расчета для системы с элементами, имеющими одинаковый срок службы
Первоначальные вложения, евро — I = 100000
Эксплуатационные расходы, евро/год — Сo = 10000
Расходы на техническое обслуживание, евро/год — Сm = 5000
Срок службы, лет — n = 30
Рыночная норма прибыли, % — r = 12
Индекс инфляции, % / год — i = 6,5
Реальная норма прибыли, % — ![]()
Коэффициент фактической стоимости, евро — ![]()
fpv ≈ 15,0 (см. таблицу В.1)
LСC1 = I + fpv (Сo + Сm) = 100000 + 15,0 (10000 + 5000) = 325000 евро.
Предполагаемый доход (экономия в течение цикла жизни LCS) следует отнести благодаря снижению ежегодных расходов Су к моменту вложения инвестиций путем умножения снижения ежегодных расходов на коэффициент текущей стоимости.
LCS = fpv∙Cy.
Допустим, что Су = 5 000 евро/год, тогда
LCS = 15×5000 = 75000 евро.
Полученное значение LCC следует уменьшить на LCS, чтобы получилось NPC, евро.
NPC = LCC — LCS;
NPC = 325000* — 75000 = 250000.
* Примечание ТК 184: исправлена арифметическая ошибка, содержащаяся в оригинале.
В.3.3.3 Пример вычислений для систем с остаточной стоимостью
В большинстве случаев остаточная стоимость не оказывает существенного влияния на значение LCC. Оценка влияния остаточной стоимости может быть выполнена следующим образом:
Уровень остаточной стоимости, % = x% от вложений I
Остаточная стоимость
Ir = I∙х /100
Текущее значение остаточной Iр = Ir∙р стоимости Ip = Irхр, где р = (1 + ri)—n (см. таблицу В.2)
По аналогии с В.3.3.2 получаем:
LCC2 = I — Ip + fpv(Co — Cm).
Таблица В.2 — Текущее значение коэффициентов fpv в процентах к единичным величинам в будущем
|
Срок службы n, лет |
Реальная норма прибыли ri, % |
|||||||
|
0 |
4 |
5 |
8 |
10 |
12 |
15 |
20 |
|
|
5 |
1 |
0,82 |
0,78 |
0,68 |
0,62 |
0,57 |
0,50 |
0,40 |
|
10 |
1 |
0,68 |
0,59 |
0,46 |
0,39 |
0,32 |
0,25 |
0,16 |
|
15 |
1 |
0,56 |
0,48 |
0,32 |
0,24 |
0,18 |
0,12 |
0,065 |
|
20 |
1 |
0,46 |
0,38 |
0,21 |
0,15 |
0,10 |
0,061 |
0,026 |
|
30 |
1 |
0,31 |
0,23 |
0,10 |
0,057 |
0,033 |
0,015 |
0,004 |
|
40 |
1 |
0,21 |
0,14 |
0,046 |
0,022 |
0,011 |
0,004 |
0,0007 |
|
50 |
1 |
0,14 |
0,087 |
0,021 |
0,009 |
0,003 |
0,001 |
0,0001 |
По аналогии с получаем:
Уровень остаточной стоимости, % — х = 20 = 0,2
Остаточная стоимость, евро — Ir = 0,2∙100000 = 20000
Текущее значение, евро — Iр = 20000 (1 + 0,052)—30 = 4400
Используя LCC1, евро, (см. В.3.2.2) получаем:
LCC2 = LCC1 — Ip = 325000* — 4400 = 320600.
* Примечание ТК 184: исправлена арифметическая ошибка, содержащаяся в оригинале.
В.3.3.4 Расчет для систем с различными сроками службы элементов
Расчет текущей стоимости нетто NPC системы следует, как правило, выполнять с учетом различия между сроками службы ее элементов. Суммарный срок службы для каждого элемента и системы должен быть одинаковым.
На рисунке В.1 приведен пример, когда один элемент имеет более короткий срок службы, чем другие.

1 — элементы, имеющие тот же срок службы, что и система; 2 — элементы с более коротким сроком службы
Рисунок В.1 — Первоначальные и повторные вложения в систему с элементами, имеющими два различных срока службы
Стоимость основных элементов, имеющих тот же срок службы, что и система, может быть рассчитана по . Если один из элементов имеет срок службы, вдвое меньший срока службы системы, то:
a) в начале периода 2, через 12 лет:
— повторные вложения равны I2,
— текущая стоимость равна Ip2 = I2∙(1 + ri)—12;
b) в начале периода 3, через 24 года:
— повторные вложения равны I3,
— текущая стоимость равна Ip3 = I3∙(1 + ri)-24.
Примечание — Если темп роста стоимости заменяемых элементов равен темпу роста инфляции, то можно использовать значение повторных вложений, учтенных в период первоначальных вложений, без поправок.
Общее текущее значение вложений равно:
Itot = I + IР2 + Iр3.
Далее LCC системы может быть получена по уравнению с заменой I на Itot.
Если срок службы элемента, поставленного после замены последним, выйдет за пределы срока службы системы, то его остаточная стоимость может быть определена (см. ) как:
LCC = Itot — Ip + fpv(C0 + Cm).
В.4 Сроки службы и расходы на техническое обслуживание помещений и оборудования
На сроки службы и расходы на техническое обслуживание влияют:
a) качество оборудования;
b) тип и размеры оборудования;
c) степень утилизации;
d) качество и порядок технического обслуживания.
Для расчета стоимости цикла жизни системы могут быть использованы примеры сроков службы на различное оборудование и ежегодные расходы на техническое обслуживание, приведенные в таблице В.3. Важно также учитывать указанные выше факторы, срок службы всего здания и его назначение.
Данные таблицы В.3 являются лишь примерами и служат основой для предварительного анализа и сравнения различных систем, но не являются непосредственно основой для заключения договоров на техническое обслуживание (ТО).
Таблица В.3 — Примеры сроков службы оборудования и ежегодные расходы на ТО
|
Наименование оборудования |
Срок |
Ежегодные |
Наименование оборудования |
Срок |
Ежегодные |
|
|
Кондиционеры |
15 |
4 |
Клапаны дроссельные |
20 |
1 |
|
|
Охладители |
20 |
2 |
Клапаны дроссельные с серводвигателями |
15 |
4 |
|
|
Нагреватели воздуха электрические |
15 |
2 |
Диффузоры |
20 |
4 |
|
|
Нагреватели воздуха паровые |
20 |
2 |
Коробы двухканальные |
15 |
4 |
|
|
Нагреватели воздуха водяные |
20 |
2 |
Система воздуховодов для воздуха, прошедшего фильтрацию |
30 |
2 |
|
|
Горелки на масле и газе |
10 |
4 |
Система воздуховодов для воздуха, не прошедшего фильтрацию |
30 |
6 |
|
|
Конденсатор |
20 |
2 |
||||
|
Системы управления |
15 |
4 |
||||
|
Клапаны управляющие автоматические |
15 |
6 |
Испарители |
20 |
2 |
|
|
Сосуды расширительные медные |
30 |
1 |
||||
|
Клапаны управляющие ручные |
30 |
4 |
||||
|
Сосуды расширительные из нержавеющей стали |
30 |
1 |
||||
|
Компрессоры охлаждающие |
15 |
4 |
||||
|
Сосуды расширительные из стали |
15 |
2 |
||||
|
Панели и потолки охлаждающие |
30 |
2 |
||||
|
Решетки вытяжные |
20 |
10 |
||||
|
Конвекторы вентиляторные |
15 |
4 |
Трубопроводы пластмассовые |
30 |
1 |
|
|
Вентиляторы |
20 |
4 |
Трубопроводы из нержавеющей стали |
30 |
1 |
|
|
Вентиляторы с регулируемым потоком |
15 |
6 |
||||
|
Трубопроводы стальные в закрытых системах |
30 |
1 |
||||
|
Рамы фильтров |
15 |
2 |
||||
|
Материал фильтров очищаемый |
10 |
10 |
Трубопроводы стальные в открытых системах |
15 |
1 |
|
|
Материал фильтров одноразовый |
1 |
0 |
Насосы в закрытых системах |
20 |
2 |
|
|
Клапаны противопожарные с легким доступом |
15 |
8 |
Насосы в открытых системах |
15 |
2 |
|
|
Клапаны противопожарные скрытые |
15 |
15 |
Радиаторы электрические |
20 |
2 |
|
|
Решетки разные |
30 |
4 |
Радиаторы водяные |
30 |
2 |
|
|
Насосы тепловые |
15 |
4 |
Запорные клапаны автоматические |
15 |
4 |
|
|
Устройства для утилизации тепла циклические |
15 |
4 |
||||
|
Запорные клапаны ручные |
30 |
2 |
||||
|
Устройства для утилизации тепла статические |
20 |
4 |
||||
|
Шумоглушители |
30 |
1 |
||||
|
Увлажнители водяные |
10 |
6 |
Термостаты для радиаторов |
15 |
4 |
|
|
Увлажнители паровые |
4 |
4 |
||||
|
Двигатели дизельные |
10 |
4 |
Устройства с переменным расходом воздуха |
15 |
6 |
|
|
Двигатели электрические |
20 |
1 |
||||
|
Клиноременная передача |
10 |
6 |
||||
|
Трубопроводы медные |
30 |
1 |
||||
|
Провода |
30 |
1 |
Приложение С
(справочное)
Контрольный лист для проектирования и эксплуатации системы с низким потреблением энергии
С.1 Контрольный лист для проектирования здания
Для исключения проектных решений, при которых возможны дефекты в зданиях, приводящие к дискомфорту или излишнему потреблению энергии, целесообразно предусмотреть следующее:
a) согласование с инженером по вентиляции и кондиционированию на ранних стадиях;
b) оптимизацию формы и ориентации здания, а также размеров окон;
c) хорошую теплоизоляцию для летнего и зимнего периодов;
d) герметичность здания с учетом его назначения и системы вентиляции;
e) оптимизацию энергосбережения здания;
f) использование материалов и мебели с низкими выделениями загрязнений;
g) эффективную защиту от солнца;
h) разделение зон с различным назначением и различными требованиями;
i) четкие требования пожаробезопасности;
j) помещения для вентиляционных камер и пространства для воздуховодов;
к) концепцию освещения;
l) использование дневного света.
С.2 Контрольный лист для проектирования системы вентиляции
Предназначен для архитекторов, строителей, инженеров по вентиляции и включает в себя следующее:
a) ясные и документально оформленные требования;
b) требования к управлению приточным воздухом при изменении характера использования помещения;
c) расчет нагрузки по теплу и холоду;
d) учет реальной внутренней нагрузки;
е) непосредственное удаление тепла, загрязнений или влаги от источника их образования;
f) обеспечение высокой эффективности вентиляции в помещении за счет вытесняющих потоков воздуха или эффективного смешения потоков;
g) использование естественного охлаждения;
h) рекуперацию тепла;
i) учет особенностей индивидуального характера (если это требуется);
j) применение альтернативных методов, например заземление воздуховодов наружного воздуха, применение вертикальных каналов, адиабатического охлаждения вытяжного воздуха;
к) применение водяного охлаждения при наличии значительных избытков теплоты;
l) контроль параметров для управления системой и потреблением энергии;
m) принципы проверки и очистки системы.
С.3 Контрольный лист для проектирования отдельных элементов
Предназначен для заказчиков и исполнителей на этапе проработки детальных решений и включает в себя следующее:
a) низкое потребление энергии для транспортирования воздуха (низкие скорости, короткие воздуховоды, хорошую аэродинамическую характеристику);
b) оптимизированную рекуперацию тепла;
c) управление увлажнением или отсутствие увлажнения;
d) управление охлаждением или отсутствие охлаждения;
е) использование холодной воды с максимально высокой температурой;
f) изоляцию холодных трубопроводов с целью защиты от образования конденсата и потерь энергии;
g) возможность проверки и очистки системы воздуховодов и ее элементов.
С.4 Контрольный лист для эксплуатации системы
Предназначен для владельцев и пользователей зданий. Рекомендуется периодически проводить проверку состояния системы по следующим параметрам:
a) соответствие температуры установленным значениям;
b) соответствие влажности установленным значениям;
c) соответствие порядка использования системы установленным значениям;
d) использование системы в соответствии с заданными требованиями;
е) минимизирование внутренних нагрузок в летний период;
f) периодическая проверка состояния элементов (фильтров, приводов, сенсоров), включая их чистоту;
g) периодический контроль потребления энергии;
h) периодическая проверка гигиенического состояния системы;
i) оптимизация порядка эксплуатации с учетом реальных условий.
Приложение D
(справочное)
Сведения о соответствии национальных стандартов Российской Федерации ссылочным международным (региональным) стандартам
|
Обозначение ссылочного международного стандарта |
Обозначение и наименование соответствующего национального стандарта |
Обозначение ссылочного международного стандарта |
Обозначение и наименование соответствующего национального стандарта |
|
ЕН 12097:1997 |
* |
CR 1752:1999 |
* |
|
ЕН 12237:2003 |
* |
ИСО 7726:1998 |
* |
|
ЕН 12464-1:2003 |
* |
ЕН 308:1997 |
* |
|
ЕН 12599:2000 |
* |
ЕН ИСО 7730:2006 |
* |
|
ЕН 12792:2004 |
* |
ЕН 779:2003 |
* |
|
ЕН 13053:2001 |
* |
ИСО 8990:1994 |
* |
|
ЕН 13182:2002 |
* |
ИСО 9920:1995 |
* |
|
ЕН 13829:2000 |
* |
ИСО 9972:2006 |
* |
|
ЕН 1507:2005 |
* |
|
|
|
* Соответствующий национальный стандарт отсутствует. До его утверждения рекомендуется использовать перевод на русский язык данного международного стандарта. Перевод данного международного стандарта находится в Федеральном информационном фонде технических регламентов и стандартов. |
|||
Библиография
|
EN 308, |
Heat exchangers — Test procedures for establishing performance of air to air and flue gases heat recovery devices |
|
|
[2] |
EN 779, |
Particulate air filters for general ventilation — Determination of the filtration performance |
|
[3] |
EN 1505, |
Ventilation for buildings — Sheet metal air ducts and fittings with rectangular cross section — Dimensions |
|
[4] |
EN 1506, |
Ventilation for buildings — Sheet metal air ducts and fittings with circular cross-section — Dimensions |
|
prEN 1507, |
Ventilation for buildings — Sheet metal air ducts with rectangular section — Requirements for strength and leakage |
|
|
EN 1886, |
Ventilation for buildings — Air handling units — Mechanical performance |
|
|
[7] |
EN ISO 7726, |
Ergonomics of the thermal environment — Instruments for measuring physical quantities (ISO 7726:1998) |
|
[8] |
prEN ISO 9920, |
Ergonomics of the thermal environment — Estimation of the thermal insulation and evaporative resistance of a clothing ensemble (ISO 9920:1995) |
|
EN 13030, |
Ventilation for buildings — Terminals — Performance testing of louvres subjected to simulated rain |
|
|
EN 13053, |
Ventilation for buildings — Air handling units — Ratings and performance for units, components and sections |
|
|
EN 13829, |
Thermal performance of buildings — Determination of air permeability of buildings — Fan pressurization method (ISO 9972:1996, modified) |
|
|
[12] |
EN 28996, |
Ergonomics — Determination of metabolic heat production (ISO 8996:1990) |
|
CR 1752, |
Ventilation for buildings — Design criteria for the indoor environment World Health Organization. Air Quality Guidelines for |
Ключевые слова: вентиляция и кондиционирование воздуха, фильтры, помещения, температура, влажность, воздуховоды

