|
ФЕДЕРАЛЬНОЕ АГЕНТСТВО |
||
|
|
НАЦИОНАЛЬНЫЙ |
ГОСТ Р ИСО |
ЭРГОНОМИЧЕСКИЕ ТРЕБОВАНИЯ ПРИ ВЫПОЛНЕНИИ ОФИСНЫХ РАБОТ С ИСПОЛЬЗОВАНИЕМ ВИДЕОДИСПЛЕЙНЫХ ТЕРМИНАЛОВ (ВДТ)
Часть 7
Требования к дисплеям при наличии отражений
ИСО 9241-7:1998
Ergonomic requirements for office work with display terminals (VDTs) — Part 7: Requirements for display with reflections
(IDT)
|
|
Москва Стандартинформ 2008 |
Предисловие
Цели и принципы стандартизации в Российской Федерации установлены Федеральным законом от 27 декабря
Сведения о стандарте
1 ПОДГОТОВЛЕН Автономной некоммерческой организацией «Научно—технический центр сертификации электрооборудования «ИСЭП» на основе собственного аутентичного перевода стандарта, указанного в пункте 4
2 ВНЕСЕН Техническим комитетом по стандартам ТК 452 «Безопасность аудио-, видео-, электронной аппаратуры, оборудования информационных технологий и телекоммуникационного оборудования. Устройства отображения информации»
3 УТВЕРЖДЕН И ВВЕДЕН В ДЕЙСТВИЕ Приказом Федерального агентства по техническому регулированию и метрологии от 27 декабря
4 Настоящий стандарт идентичен стандарту ИСО 9241-7:1998 «Эргономические требования при выполнении офисных работ с использованием видеодисплейных терминалов (ВДТ). Часть 7: Требования к дисплеям при наличии отражений» (ISO 9241-7:1998 «Ergonomic requirements for office work with visual display terminals (VDTs) — Part 7: Requirements for display with reflections» (IDT).
При применении настоящего стандарта рекомендуется использовать вместо ссылочных международных стандартов соответствующие им национальные стандарты Российской Федерации, сведения о которых приведены в дополнительном
5 ВВЕДЕН ВПЕРВЫЕ
Информация об изменениях к настоящему стандарту публикуется в указателе «Национальные стандарты», а текст этих изменений — в информационных указателях «Национальные стандарты». В случае пересмотра или отмены настоящего стандарта соответствующая информация будет опубликована в информационных указателях «Национальные стандарты». Соответствующая информация, уведомление и тексты размещаются также в информационной системе общего пользования — на официальном сайте Федерального агентства по техническому регулированию и метрологии в сети Интернет
Содержание
Введение
Видеодисплейные терминалы (ВДТ) могут отражать от экрана излучение, создаваемое внешними окружающими источниками света. При определенных условиях отраженное излучение вредит пользователю и влияет на комфортность его работы. Целью настоящего стандарта является обеспечение приемлемого качества изображения ВДТ при попадании внешнего освещения, которое вызывает нежелательные отражения от экрана.
Настоящий стандарт предназначен для проектировщиков и пользователей ВДТ. Он применяется совместно с ИСО 8995 [], ИСО 9241-3, ИСО 9241-6 [] и ИСО 9241-8. Соответствие требованиям настоящего стандарта зависит от характеристик аппаратных средств ВДТ, за исключением полярности, которая может зависеть от программного обеспечения.
Настоящий стандарт содержит требования и методы измерения качества изображения ВДТ в условиях внешней освещенности, которая может вызывать зеркальное и диффузное отражения от экрана. ИСО 9241-3 и ИСО 9241-8 содержат требования, которые устанавливают освещенность и соотношение яркостей изображений ВДТ, измеренных при условиях, исключающих зеркальные отражения. ВДТ, соответствующие требованиям и рекомендациям аналогичных частей ИСО 9241-3 и ИСО 9241-8, необязательно соответствуют требованиям настоящего стандарта.
Стандарты [] и [] содержат рекомендации для условий освещения на рабочем месте с целью минимизации влияния бликов. Условия внешнего освещения, определяющие соответствие настоящему стандарту, соответствуют или не противоречат рекомендациям и требованиям данных международных стандартов. Числовые значения внешней освещенности, используемые для определения соответствия настоящему стандарту, не являются обязательными требованиями по освещенности на рабочем месте.
При создании рабочего места с ВДТ необходимо обеспечить значение характеристик аппаратных средств ВДТ при внешнем освещении. Установлены три класса соответствия ВДТ требованиям настоящего стандарта по условиям внешней освещенности.
Хотя возможные требования к условиям внешнего освещения точно не оговорены, они приблизительно соответствуют принятым нормам освещенности на рабочем месте, при которых ВДТ считают соответствующими требованиям настоящего стандарта.
Таблица — Классификация ВДТ по условиям внешней освещенности
|
Классы ВДТ |
Внешние условия |
|
I |
Использование при проведении офисных работ |
|
II |
Для большинства (но не для всех) условий работы |
|
III |
Специальное управление условиями внешней освещенности |
Для ВДТ, особенности которых не допускают использование метода количественных измерений, нужен иной метод испытаний.
Примечание — Международный стандарт ИСО 13406-2 [] дополняет определения, требования и метод испытаний, приведенные в настоящем стандарте для плоских панелей, цветовой и/или световой контраст которых зависит от направления наблюдения, а значение отражения может меняться в зависимости от логического состояния экрана.
НАЦИОНАЛЬНЫЙ СТАНДАРТ РОССИЙСКОЙ ФЕДЕРАЦИИ
|
ЭРГОНОМИЧЕСКИЕ ТРЕБОВАНИЯ ПРИ ВЫПОЛНЕНИИ ОФИСНЫХ РАБОТ С ИСПОЛЬЗОВАНИЕМ ВИДЕОДИСПЛЕЙНЫХ ТЕРМИНАЛОВ (ВДТ) Часть 7 Требования к дисплеям при наличии отражений Ergonomic requirements for office work with visual display terminals (VDTs). Part 7. Requirements for display with reflections |
Дата введения — 2009—01—01
1 Область применения
Настоящий стандарт устанавливает требования к качеству изображения видеодисплейных терминалов (ВДТ), используемых при мешающем внешнем освещении, которое отражается от экрана и может повлиять на качество изображения. В настоящем стандарте установлены требования к заданию на проектирование, определены методы испытаний. Настоящий стандарт применяют при эргономическом конструировании ВДТ для выполнения офисных задач, включая такие действия, как ввод данных, обработка текста и интерактивный опрос. Офисные работы выполняют в помещении, устранив воздействие прямого солнечного света. Рекомендации пригодны также для других задач, включая управление процессами, графическое проектирование, машинное проектирование, но требования к их применению не устанавливают. Требования настоящего стандарта применяют к одноцветным и многоцветным ВДТ. Настоящий стандарт не распространяется на следующие дисплеи и оборудование:
— проекционные дисплеи коллективного пользования;
— просвечивающие дисплеи и дисплеи виртуального отображения.
Требования настоящего стандарта применяют к ВДТ, для которых данные методы являются приемлемыми. Данные методы испытаний с ограничениями применяют к ВДТ, цветовой контраст и/или соотношение яркостей которых зависит от направления наблюдения, а характеристики отражения мало влияют на смысловое содержание изображения на экране. Методы испытаний также применяют для эмиссионных ВДТ (на электронно—лучевых трубках и для некоторых плоских панелей).
Примечание — ВДТ, использующие устройства отображения, для которых не приемлем метод испытаний настоящего стандарта (например, жидкокристаллические дисплеи), испытывают на соответствие [3].
2 Нормативные ссылки
В настоящем стандарте использованы ссылки на следующие международные стандарты:
ИСО 9241-3:1992 Эргономические требования при выполнении офисных работ с использованием видеодисплейных терминалов (ВДТ). Часть 3. Требования к визуальному отображению информации
ИСО 9241-8:1997 Эргономические требования при выполнении офисных работ с использованием видеодисплейных терминалов (ВДТ) — Часть 8: Требования к отображаемым цветам
МКО 17.4:1989 Международный светотехнический словарь
3 Термины, определения и обозначения
3.1 Термины и определения
В настоящем стандарте применены термины и определения по ИСО 9241-3, а также следующие термины с соответствующими определениями:
3.1.1 темная комната (dark room): Комната, в которой единственным источником света является испытуемый ВДТ, а также другие применяемые источники яркости или освещенности.
3.1.2 протяженный источник яркости (extended source of luminance): Источник равномерной яркости LA(ПР), угловой размер ширины или диаметра которого, по крайней мере, равен 15°.
3.1.3 показатель яркости (элемента поверхности среды в определенном направлении, при определенных условиях облучения) (luminance coefficient) qv, q: Частное от деления яркости тела в некотором определенном направлении на освещенность этого тела, ср-1.
3.1.4 коэффициент яркости (элемента поверхности несамосветящегося тела в некотором направлении для заданных условий освещения) (luminance factor) βv, β: Отношение яркости тела в некотором определенном направлении к яркости совершенного отражающего или пропускающего рассеивателя, находящегося в тех же условиях освещения.
3.1.5 соотношение яркостей (luminance ratio): Отношение наибольшего значения к наименьшему значению яркости, усредненной по измеряемой поверхности, когда каждая яркость отношения является суммой излучаемой и отраженной яркостных компонент, причем компоненты (одна или более) являются общими для числителя и знаменателя.
Примечание — Для того, чтобы устранить недоразумения, термины «контраст» и «соотношение яркостей» в настоящем стандарте не применяют. Соотношение яркостей в настоящем стандарте не соответствует яркостному контрасту внутри знака и между деталями знака в соответствии с ИСО 9241-3.
3.1.6 отрицательная полярность (negative polarity): Режим, при котором яркость изображения LЦ больше яркости фона Lф на экране дисплея.
3.1.7 положительная полярность (positive polarity): Режим, при котором яркость изображения LЦ меньше яркости фона Lф.
3.1.8 рефлектометрическая величина (reflectometer value): Величина, характеризующая отражательные свойства экрана дисплея.
Примечание — Измеренное значение рефлектометрической величины зависит от геометрии метода испытаний, спектрального состава излучения, спектральной чувствительности приемника (даже при использовании фильтров) и образца сравнения.
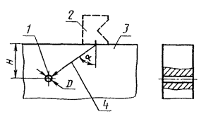
3.1.9 угол наклона экрана α (screen tilt angle): Угол, образованный пересечением плоскости, касательной к поверхности экрана в его центре, и горизонтальной плоскостью, выраженный в угловых градусах (см. рисунок 1).

1 — сторона наблюдения; 2 — горизонтальная опорная поверхность (горизонтальная плоскость)
Рисунок 1 — Угол наклона экрана
3.1.10 малый источник яркости (small source of luminance): Область с однородной яркостью LA(МАЛ), угловой размер которой (измеренный от центра экрана) равен 1°.
3.2 Обозначения
3.2.1 Основные обозначения
В настоящем стандарте принимают следующие основные обозначения (см. также рисунок 2):
E — освещенность, лк;
L — яркость, кд/м2;
LR — соотношение яркостей LЦ/Lф;
RД — величина, характеризующая диффузное отражение экрана; определяют с помощью процедуры, указанной в 7.3. Величина RД представляет собой отношение диффузно отраженной яркости экрана к его освещенности при условиях, указанных в разделе 7 (см. 3.1.8). Единица измерения — ср-1. Практическая единица — кд/м2·лк;
RЗ — величина, характеризующая зеркальное и частично диффузное отражение экрана; определяют с помощью процедуры, указанной в разделе 7: представляет собой отношение зеркальной и частично диффузной отраженной яркости определенной части отраженного мнимого изображения к яркости источника, вызывающего отражение при заданных условиях измерения (см. 3.1.8). Единица измерения — относительная.

1 — LЦЗД = яркость изображения активной области экрана + зеркальное отражение + диффузное отражение; 2 — Lфзд = яркость фона + зеркальное отражение + диффузное отражение; 3 — LЦД = яркость изображения активной области экрана + диффузное отражение; 4 — LФД = яркость фона + диффузное отражение
Примечание — Отраженные яркости: LЗ — яркость при зеркальном отражении, равная RЗLA; RЗ — коэффициент зеркального отражения яркости (в соответствии с методом испытаний); LА — яркость измеряемого участка поверхности; LД — яркость при диффузном отражении, равная RДЕ; RД — показатель яркости при диффузном отражении (в соответствии с методом испытаний); Е — внешняя освещенность.
Рисунок 2 — Яркость экрана
3.2.2 Индексы
В настоящем стандарте применяют понятие яркости, значение которой получается сложением нескольких идентифицируемых компонентов. Яркость обозначают символом L, нижними индексами обозначают компоненты яркости, например LЦЗД — полная яркость, состоящая из яркости активного окна, зеркальной отраженной яркости и диффузной отраженной яркости. Основные нижние индексы:
Ф — излучаемая яркость фона экрана дисплея;
Ц — излучаемая яркость активной области экрана дисплея;
Д — диффузная компонента отраженной яркости;
З — зеркальная компонента отраженной яркости;
А — яркость поверхности (протяженной или очень малой), которая зеркально отражает излучение;
(0) и (15) — углы, под которыми измеряют яркости пучков, отраженные и/или испускаемые источником, при определении коэффициентов диффузного или зеркального отражения. При измерениях углы отсчитывают от нормали к плоскости экрана дисплея;
О — опорное значение величины, используемое при расчетах. Опорные значения не предназначены для воспроизведения в процессе испытаний;
ЭТ — значение величины, полученное при калибровке по эталону;
макс — максимальное значение, при котором ВДТ соответствует требованиям настоящего стандарта.
пр и мал — указывают на характеристику измеряемой поверхности — протяженный или малый фрагмент. Данные индексы применяют только для разделения нижнего индекса З, например LЗ,МАЛ,15 — яркость пучка, зеркально отраженного активной областью экрана от мелкого фрагмента, измеренная при угле наклона 15°.
3.2.3 Дополнительные обозначения:
LЦ, LФ — усредненные по площади яркости, излучаемые группой пикселей. Излучаемые яркости измеряют при наибольшем и наименьшем значениях уровня яркости дисплея, используемой для отображения текста и сюжета при программном управлении;
LД, LЗ — яркости отраженного излучения (соответственно диффузная и зеркальная), необходимые при принятии решения о соответствии ВДТ требованиям настоящего стандарта. Значения яркостей определяют расчетом, основанным на измеренных значениях показателя яркости экрана ВДТ с учетом внешней освещенности;
LД ≈ RД·Е — яркость пучка, диффузно отраженного от экрана, где RД — величина, характеризующая диффузное отражение экрана; Е — освещенность в плоскости экрана;
LЗ ≈ RЗ·LA — яркость пучка, зеркально отраженного от экрана, где RЗ — коэффициент смешанного (зеркального и частично диффузного) отражения экрана ВДТ;
LA — равномерная яркость протяженного или малого источника яркости, используемого при измерении зеркального отражения. Значения LA, необходимые для установления соответствия ВДТ настоящему стандарту, представлены в разделе .
Яркости пучков при зеркальном отражении и показатели яркости индексируют для протяженного и малого источников яркости;
LЗ(пр), LЗ(мал) — яркости протяженного и малого источника соответственно при зеркальном отражении;
RЗ(пр), RЗ(мал) — коэффициент смешанного (зеркального и частично диффузного) отражения протяженного и малого источника;
LRфдЗ/цдЗ — соотношение яркостей экрана (активной области и фона) при учете диффузного и зеркального отражения, т.е. отношение наибольшего и наименьшего значений усредненной по площади яркости изображения, когда зеркальная и диффузная отраженные яркости совпадают по направлению (см. рисунок 3). Значение и метод измерения соотношения яркостей зависят от полярности.

1 — при отрицательной полярности; 2 — при положительной полярности
Рисунок 3 — Яркостные отношения при одновременном зеркальном и диффузном отражениях
При положительной полярности:
|
|
в расширенном виде:
|
|
При отрицательной полярности:
|
|
в расширенном виде:
|
|
LRФДЗ/ФД — соотношение яркостей при зеркальном отражении, т.е. отношение яркостей излучений области экрана, установленной равной фону, когда зеркальная и диффузная отраженные яркости совпадают по направлению, к яркости той же области экрана без зеркального отражения, см. рисунок 4. Определение этого отношения не зависит от полярности:
|
|
в расширенном виде:
|
|

1 — при любой полярности
Рисунок 4 — Соотношение яркостей при зеркальном отражении
Примечания
1 Хотя математически соотношение зеркально отраженных яркостей не зависит от полярности изображения, практически и по визуальному восприятию полярность имеет существенное значение. Соотношение яркостей ВДТ в режиме положительной полярности (фон — светлый) гораздо более устойчиво к влияниям отражений, чем ВДТ в режиме отрицательной полярности (фон — темный), при одинаковых уровнях яркости.
2 При отрицательной полярности зеркальное отражение имеет ту же полярность, что и информация, отображаемая на экране. Это приводит к некоторой кажущейся разнице между восприятием отраженного излучения и полезного изображения. Для того, чтобы поддержать приемлемое качество изображения, необходимо при наличии зеркального отражения поддерживать соотношение яркостей LRцдз/фдз существенно большим, чем соотношение яркостей LRФДЗ/ФД
LRцд/фд — соотношение яркостей рабочей части экрана и фона только при диффузном отражении, т.е. отношение между наибольшим и наименьшим значениями яркости изображения, когда на него накладывается диффузно отраженное излучение (см. рисунок 5). При отрицательной полярности максимальное приемлемое соотношение яркостей при зеркальном отражении связано с соотношением яркостей изображения без зеркального отражения. Определение данного отношения зависит от полярности. В настоящем стандарте оно определяется только при отрицательной полярности.
Отрицательная полярность:
|
|
в расширенном виде
|
|
1 — При отрицательной полярности
Рисунок 5 — Соотношение яркостей только при диффузном отражении
4 Общие принципы
Рабочая система представляет собой интегрированное целое, включающее в себя рабочее место с ВДТ, окружающую среду, структуру задачи, организационные мероприятия и социологические факторы. Характеристики ВДТ рассматривают в сравнении с другими элементами рабочей системы, а не как совокупность отдельных визуальных требований.
В настоящем стандарте приведены рекомендации, относящиеся к качеству изображения. Качество изображения дисплея ВДТ должно быть приемлемым для пользователя при нормальных рабочих условиях. Конструктивные характеристики рабочего места, такие как яркость, полярность, отражательная способность экрана и антиотражающая обработка экрана, влияют на его способность поддерживать приемлемое качество изображения при наблюдении в условиях изменяющейся внешней освещенности.
Примечание — При выборе конструкционных характеристик следует находить компромисс. Например, наличие зеркальных отражений уменьшает контраст экрана ВДТ при положительной полярности. Дисплеи с положительной полярностью требуют меньшей антиотражающей обработки поверхности экрана по сравнению с дисплеями с отрицательной полярностью. Конструктивные характеристики, например коэффициент отражения, рассматривают, поскольку они влияют на общее качество изображения.
Все аспекты, связанные с производством, установкой и использованием ВДТ, рабочее место и рабочее помещение должны быть такими, чтобы осуществить соответствие между ВДТ и окружающей средой.
5 Требования к техническим характеристикам
Требования настоящего стандарта направлены на обеспечение разборчивости изображения и комфортности использования ВДТ (см. раздел ).
6 Технические требования
6.1 Соотношение яркостей изображений при наличии отражений
Соотношение яркостей изображений с учетом зеркальной и диффузной отраженных яркостей должно быть равно или более 3.
При положительной полярности LRФДЗ/ЦДЗ ≥ 3.
При отрицательной полярности LRЦДЗ/фдз ≥ 3
Примечание — Данные требования основаны на разборчивости изображения (см. приложение D).
6.2 Соотношение яркостей при зеркальном отражении
Соотношение яркостей LRФдз/фд при зеркальном отражении к фону экрана должно быть низким.
Визуальное восприятие и приемлемость зеркального отражения фона экрана должны изменяться в зависимости от полярности изображения.
В случае, если используют преимущественно положительную полярность, соотношение яркостей LRФДЗ/ФД при зеркальном отражении на светлом фоне экрана должно удовлетворять неравенству
LRфдз/фд ≤ 1,25
В случае, если используют преимущественно отрицательную полярность, соотношение яркостей LRфдз/фд при зеркальном отражении на темном фоне экрана должно удовлетворять неравенству
![]()
Если используют положительную и отрицательную полярности, требования должны выполняться для обеих полярностей.
Примечание — Данные требования основаны на приемлемости системы для пользователя (см. приложение D).
6.3 Метод контроля отражения и влияние на качество изображения
ВДТ должен соответствовать требованиям соответствующих разделов ИСО 9241-3 и ИСО 9241-8 посредством антиотражающей обработки или дополнительного устройства, или способа организации рабочего места.
6.4 Окружающая световая среда
Для определения соответствия настоящему стандарту в расчетах используют указанные ниже значения параметров световой среды.
6.4.1 Опорная освещенность
Угол наклона экрана α должен быть указан компанией-поставщиком испытуемого ВДТ. Опорную освещенность ЕО, лк, для определения соответствия определяют по формуле
ЕО = 250 + 250 cos α.
6.4.2 Опорная яркость источника зеркальных отражений
С целью установления общего подхода к воздействию окружающей среды ВДТ должен соответствовать требованиям настоящего стандарта при условиях испытаний на соответствие классам I, II или III при опорной яркости источника зеркальных отражений LA(0), в соответствии с таблицей 1.
Таблица 1 — Условия испытаний на соответствие классам I, II и III
|
Класс ВДТ |
Условия испытаний |
|
I |
LА(0, пр) = 200 кд/м2 и La(0, мал) = 2000 кд/м2 |
|
II |
La(0, мал) = 200 кд/м2 или La(0, мал) = 2000 кд/м2 |
|
III |
LА(0, пр) = 125 кд/м2 или LA(0, мал) = 200 кд/м2 |
7 Измерения и расчеты
Метод измерений и расчетов, приведенный в настоящем разделе, связан с качеством изображения (с учетом отражений). Метод используют совместно с разделами 3 и 6. Независимо от условий испытаний на соответствие классу испытание ВДТ проводят, используя как протяженные, так и малые источники яркости.
7.1 Общие положения
Базовое расположение испытательного оборудования представлено на рисунке 6:
а) при угле излучения 0° (перпендикулярно к поверхности экрана ВДТ) определяют значение RД, характеризующее диффузное отражение экрана (аппроксимируют показателем диффузного отражения q);
б) при угле излучения 15° к поверхности экрана ВДТ:
— измеряют излучаемые яркости активной области экрана LЦ и фона LФ (в обеих полярностях, при наличии);
— определяют значение RЗ, характеризующее коэффициент зеркального отражения экрана для малого и/или протяженного источника (аппроксимируют коэффициентом яркости β);

1 — точечный фотометр; 2 — протяженный источник яркости; 3 — испытуемый ВДТ
Рисунок 6 — Взаимное расположение аппаратуры при измерении диффузного и зеркального отражения
в) определяют соответствие ВДТ требованиям :
— вычисляют соотношения яркостей, определенные в разделе , используя измеренные яркости, характеризующие диффузное и зеркальное отражение экрана, опорную освещенность и яркость (и) по ;
— определяют соответствие ВДТ требованиям раздела .
7.2 Оборудование
Для проведения измерений применяют следующее оборудование:
7.2.1 Точечный фотометр
Размещение элементов схемы, которыми руководствуются при установке фотометра, показано на рисунке 7.
Для измерения зеркального отражения с использованием протяженных источников поле зрения фотометра FOV должно быть от 1° до 2°, а рабочее расстояние должно превышать
Примечания
1 Важным фактором при проведении измерений является поле зрения фотометра FOV и рабочее расстояние, определяющие размеры пятна на экране, которые должны быть менее размеров измеряемого светящегося участка, но достаточно большими, чтобы влияние апертурных факторов (при излучающем элементе экрана около 0,03°) было минимальным.
Для измерений зеркальных отражений с использованием малого источника используют фотометр с полем зрения 0,3° или менее в виде круга и рабочим расстоянием (500 ±50) мм. Точечный фотометр при рабочем расстоянии
2 Суммарное увеличение оптической системы (источник — экран — фотометр) является критичным относительно размера изображения малого источника и поля зрения фотометра. Поле зрения фотометра должно быть меньше мнимого изображения. Данные, коррелирующие реакцию пользователя на отражения и измерения с малым источником, верны только для конкретной геометрии измерения.

1 — фотометр; 2 — фоточувствительный элемент; 3 — поле зрения: угловой размер рассматриваемого объекта, формируемый на приемнике; 4 — приемный конус: угол, формируемый входным зрачком прибора на рабочем расстоянии; 5 — образец; 6 — рабочее расстояние: расстояние между передней линзой фотометра и объектом, на который сфокусирован фотометр
Рисунок 7 — Размещение фотометра с учетом поля зрения и размера источника
7.2.2 Стандартный образец диффузного отражения
Диаметр стандартного образца — не менее
Примечание — Образцы диффузного отражения обычно калибруют по значению коэффициента диффузного отражения ρЭТ, который преобразуют в qЭТ по формуле
![]()
7.2.3 Источники
7.2.3.1 Два протяженных источника приблизительно однородной яркости
Апертура каждого источника должна быть не менее 15° (предпочтительно 30°) при рабочем расстоянии не менее
Примечание — Допускается применение промышленных источников (допустимы интегрирующие сферы с апертурами ≥
7.2.3.2 Малый источник
Яркость малого источника должна быть приблизительно однородной (± 5 % в центральной части в пределах 80 % диаметра и ± 1 % — в одном и том же месте в течение времени измерений) и быть стабильной в пределах ±1 % — в течение времени измерения. Малый источник может быть образован наложением апертуры на один из протяженных источников. Апертура малого источника должна быть равна 1° (приемлемый диапазон от 0,9° до 1,1 °), измеренная от центра экрана ВДТ, и иметь форму круга.
Примечание — Для малого источника рекомендуется апертура диаметром приблизительно
7.2.4 Механические устройства
Измеряют и устанавливают углы между компонентами испытательной установки.
7.3 Проведение испытаний
7.3.1 Общие положения
Измерения проводят в затемненном помещении, только при включенных ВДТ и источника яркости. Освещенность экрана посторонними источниками должна быть менее 5 лк (желательно менее 1 лк).
Яркость экрана измеряют при постоянном расстоянии между фотометром и экраном. Фотометр фокусируют на активную область экрана ВДТ. При измерении зеркального отражения с малым источником фотометр фокусируют до достижения максимальной резкости отраженного мнимого изображения малого источника.
7.3.2 Измерение яркости источника
7.3.2.1 Яркость протяженного источника
Измеряют яркость протяженного источника LА(ПР) центральной области одного из протяженных однородных источников света (см. рисунок 8).

1 — апертура фотометра меньше апертуры источника; 2 — апертура диаметром
Рисунок 8 — Измерение яркости протяженного источника
7.3.2.2 Малый источник яркости
Измеряют яркость LА(мал) малого источника. При этом измерении фотометр фокусируют на апертуру, а не на внутреннюю поверхность источника (см. рисунок 8).
7.3.3 Измерения перпендикулярно (0°) к экрану ВДТ (диффузная постоянная рефлектометра)
ВДТ, протяженные источники и фотометр для измерения размещают в плоскости, перпендикулярной к центру экрана ВДТ (см. рисунок 9). Выключают питание ВДТ. Открывают шторки обоих источников яркости. Измеряют диффузно отраженную яркость LД(0). Устанавливают образец диффузного отражения на то же место. Измеряют LД(ЭТ,0). Вычисляют значение RД (ср-1) по формуле
![]()

Рисунок 9 — Измерения диффузно отраженного излучения
7.3.4 Измерения при угле 15° к поверхности экрана ВДТ (зеркальная рефлектометрическая постоянная)
7.3.4.1 Излучаемые яркости при угле 15° к поверхности экрана ВДТ
Закрывают шторки обоих источников яркости. Поворачивают испытуемый ВДТ на угол 15° вокруг измеряемой точки (центр экрана ВДТ).
Взаимное расположение элементов схемы показано на рисунке 10, шторки у обоих источников закрыты.

1 — апертура диаметром
Рисунок 10 — Измерения при угле 15° к экрану
Примечание — Центр устройства поворота и наклона ВДТ обычно располагается позади экрана. При измерениях не рекомендуется устройства поворота и наклона ВДТ использовать как средство поворота ВДТ. При измерениях устройства поворота и наклона ВДТ блокируют или снимают для предотвращения произвольных изменений наклона экрана. Включают ВДТ и прогревают его не менее 20 мин.
Для каждой поддерживаемой полярности:
а) активную область экрана ВДТ и фон устанавливают так, чтобы массив пикселей активной области отображался в форме квадрата со стороной примерно
б) измеряют значения LЦ(15) и LФ(15).
Результаты измерений при положительной и при отрицательной полярности регистрируют отдельно.
Примечание — Излучаемая яркость участка пикселей при заданном уровне яркости может зависеть от параметров (например, от тока луча ЭЛТ), связанных с уровнем яркости остальных пикселей на экране. Яркости активной области экрана и фона меняются при переходе от одной полярности к другой неодинаково. Для подтверждения соответствия требованиям настоящего стандарта ВДТ измеряют отдельно при каждой полярности.
7.3.4.2 Измерения отражения с протяженным источником при угле излучения 15° (см. рисунок 10) Выключают ВДТ и открывают шторку источника. Измеряют значение LДЗ(ПР,15). Устанавливают стандартный образец коэффициента диффузного отражения на место измерения. Измеряют значение LД(ЭТ,15). Вычисляют значение зеркального коэффициента отражения RЗ(ПР) (безразмерная величина) по формуле
![]()
7.3.4.3 Измерения отражения с малым источником при угле излучения 15°
См. рисунок 10.
Позиционируют малый источник зеркальных отражений под углом 15° по отношению к центру экрана на расстоянии, при котором его апертура стягивает угол, равный 1°, измеренный от центра экрана. Устанавливают точечный фотометр с апертурой 0,3° или менее на расстоянии примерно
Примечание — Отраженное мнимое изображение источника зеркального отражения не находится в одной плоскости с экраном ВДТ. Отражение поверхности экрана испытуемого ВДТ при проведении данного измерения намеренно расфокусировано. Этим устраняется апертурный фактор структуры экрана при измерении очень малой области с целью уменьшения неопределенности измерения. Однако следует учитывать линейность чувствительности фотометра при измерении пятна малой площади и максимального значения яркости при большом резком изображении. Кроме того, разные площади изображения экрана при измерении яркости должны заполнять круглую апертуру фотометра так, чтобы краевые эффекты искажения изображения любой формы находились вне апертуры фотометра.
Измеряют LДЗ(МАЛ,15):
а) вычисляют RЗ(Мал) по формуле
![]()
или
б) если малый источник зеркального отражения настолько яркий, что нельзя пренебречь диффузной отраженной яркостью от экрана, устанавливают образец коэффициента диффузного отражения на место измерения, измеряют значение LД(ЭТ2,15) и вычисляют по формуле
![]()
7.4 Протокол соответствия
7.4.1 Общие положения
Соответствие настоящему стандарту определяют сравнением вычисленного соотношения яркостей диффузного и зеркального отражений с их заданными значениями и при внешней освещенности экрана и малым и протяженным источником яркости, определенными по разделу 6.
Формулы для определения диффузного и зеркального отражений зависят от полярности изображения (см. раздел ). Если устанавливают соответствие требованиям настоящего стандарта для обеих полярностей, то отдельно измеряют и вычисляют значения для каждой полярности, используя формулы подраздела .
7.4.2 Определение соответствия
7.4.2.1 Соотношение яркостей изображения
Соотношение яркостей зависит от полярности:
а) положительная полярность
![]()
в расширенном виде:
![]()
б) отрицательная полярность
![]()
в расширенном виде:
![]()
7.4.2.2 Соотношение яркостей при зеркальном отражении
Требование зависит от полярности:
а) положительная полярность
LRФДЗ/ФД ≤ 1,25
в расширенном виде:
![]()
б) отрицательная полярность
![]()
в расширенном виде:
![]()
7.5 Неопределенность измерения
Настоящий метод испытаний основан на том, что систематические ошибки (включая инструментальные и калибровку) и случайные погрешности измерения — вариационные и при измерении конкретных значений величин могут совместно обеспечить неопределенность измерения ± 10 % для каждой измеряемой величины. Результаты измерения определяют, используя наилучшие оценочные значения, без доверительных интервалов или принятых допусков отклонения результатов за исключением возможности округления полученных данных до трех значащих цифр.
8 Соответствие
8.1 Соответствие настоящему стандарту достигается:
а) выполнением всех требований раздела 6, используя методы измерений в соответствии с разделом , либо
б) получением положительного результата с использованием альтернативного метода испытаний и требований, определенных в дополнении к настоящему стандарту, которые будут разработаны.
Любой метод, перечисления а) и б), демонстрирует соответствие классу:
|
Класс ВДТ |
Окружающая среда |
|
I |
Пригоден для использования в обычном офисе |
|
II |
Пригоден для большинства офисных условий, но не для всех |
|
III |
Требует специального контроля световой среды при использовании |
Примечания
1 Альтернативный метод испытаний станет нормативным после утверждения его в качестве дополнения к настоящему стандарту. Метод, изложенный в , — справочный. Определение соответствия ВДТ настоящему стандарту выполняют в соответствии с 8.1, перечисление а).
2 Методы, приведенные в настоящем стандарте, допускается использовать при испытании ВДТ, для которых требования раздела 6 не могут быть применимы полностью, например для ВДТ на основе электронно—лучевых трубок.
Соответствие ВДТ требованиям настоящего стандарта определяют, используя параметры по умолчанию, например набор(ы) символов, цвет(а), конфигурацию(и), системные опции и рабочие установки.
Соответствие ВДТ требованиям настоящего стандарта зависит от комбинации элементов аппаратных средств, программного обеспечения (полярность) и рабочего места. Индивидуальное соответствие каждой комбинации указывает поставщик, однако партии ВДТ, в которых применены любые комбинации таких элементов, должны соответствовать требованиям в выбранной комбинации.
8.2 Протокол соответствия параметров ВДТ требованиям настоящего стандарта должен включать в себя следующую информацию:
а) информацию поставщика о ВДТ (наименование и адрес, номера типов и т.д.);
б) сведения об оборудовании, использованном при испытаниях, включая его установки и конфигурацию, постоянные и программируемые характеристики, условия испытаний и результаты испытаний;
в) условия эксплуатации;
г) необходимые сведения о результатах испытаний и приборах:
— класс соответствия,
— в случае определения соответствия классу II или III — использовался ли протяженный или малый источник,
— результаты испытаний (например, RД, RЗ, LФ, LЦ и т.д.) с протяженным и малым источником,
— необходимые результаты расчетов (например, LЦФДЗ/ЦДЗ и т.д.),
— способ, использованный для контроля отражения,
— существенную информацию об источниках яркости (например, спектральные характеристики и т.д.),
— существенную информацию об используемом фотометре (например, апертуре, поле зрения, рабочем расстоянии, спектральной чувствительности и т.д.);
д) если для определения соответствия используют способ , перечисление б) (после того как он станет действующим), — всю существенную информацию об отборе объектов испытаний и их характеристиках.
Приложение А
(справочное)
Альтернативный метод испытаний
А.1 Общие положения
После опубликования ИСО 9241-3 была проведена большая работа по нормированию визуального метода оценки. Результатом проведенной работы стал ИСО 9241-8 и отказ в необходимости применения альтернативных методов измерения цветоразличения с внесением дополнений к ИСО 9241-3, так как большинство проблем, связанных с испытаниями по ИСО 9241-3, без изменений могут быть разрешены в ИСО 9241-8. Возможно, пользователи настоящего стандарта были бы в большей мере удовлетворены таким развитием событий по измерению отражения. Предложенный в данном приложении альтернативный метод измерения отражательной способности экрана ВДТ основан на различных исследованиях в области рефлектометрии. Предложенная в настоящем приложении схема измерений, возможно, правомерна в том или другом приближении.
Приложение А представляет состояние развития альтернативного пути достижения соответствия ВДТ требованиям настоящего стандарта. Приложение А не утверждено, и предлагаемый метод испытаний является справочным. Просим сообщать испытательные организации об их опыте работы с этим методом или его модификациями с тем, чтобы использовать как дополнение к ИСО 9241-3.
Настоящая схема испытаний выбрана по следующим причинам:
— использование стандартных шрифтов позволяет довольно ясно интерпретировать результаты испытаний по удобочитаемости;
— для определения базового порога удобочитаемости используют клиническую и исследовательскую методологию испытания зрения, не требующую дальнейшей проверки;
— существует основа для установления корреляции между пороговым расстоянием и выполнением задач наблюдения и комфортностью при нормальных (сверхпороговых) расстояниях наблюдения;
— метод порогового расстояния наблюдения дает достоверные данные, относящиеся к качеству изображения, быстрее и эффективнее, чем строго детализированное задание по чтению, выполненное на нормальном расстоянии наблюдения.
Следует отметить, что сущность настоящего метода испытаний состоит в сравнении между собой каждого ВДТ (образцового и испытуемого) при стандартизированных условиях отражения. Настоящий метод является критичным, поскольку в настоящее время не установлено, возможно ли непосредственное сравнение ВДТ с существенно разными характеристиками изображения.
С помощью настоящего метода испытаний оценивают ухудшение удобочитаемости на экране ВДТ с отражениями по сравнению с удобочитаемостью на том же экране без отражений. Используют два ВДТ: испытуемый, который контролируют методом в соответствии с настоящим приложением, и образцовый, у которого определены количественные параметры по ИСО 9241-3, и проводят сравнение, в какой степени оба ВДТ соответствуют требованиям к определению класса ВДТ (классы I, II или III), пункт и подраздел . Для каждого ВДТ применяют два условия внешней освещенности. Значения внешней освещенности и яркости под углом зеркального отражения для двух вариантов измерений изменяют независимо друг от друга. Зависимая переменная — это расстояние удобочитаемости LD от глаза испытателя до экрана ВДТ для 50 %-ной правильной идентификации букв и слов. По результатам испытаний делают заключение, что качество изображения на испытуемом ВДТ при уменьшении контраста и наличии помех, создаваемых отражениями, по крайней мере, сопоставимы с образцовым ВДТ, удовлетворяющим классам I, II или III. При положительном результате испытаний фиксируют полученные значения коэффициентов отражения и устанавливают класс испытуемого ВДТ по классу образцового ВДТ в соответствии с .
А.2 Общие принципы
Скорость считывания и зрительный комфорт хорошо коррелируются с относительной удобочитаемостью слов и букв на различных экранах ВДТ. Относительная удобочитаемость при наличии отражений может быть оценена определением порогового расстояния от глаза до экрана для условий испытаний с отражениями и сравнением с пороговым расстоянием от глаза до экрана для образцового ВДТ при отсутствии отражений. Относительное расстояние удобочитаемости RLD для ВДТ, который испытывают методом в соответствии с настоящим приложением, не должно быть меньше, чем расстояние удобочитаемости RLD для образцового ВДТ, параметры которого соответствуют требованиям ИСО 9241-3 и настоящего стандарта:
|
|
где
|
|
— расстояние удобочитаемости при испытаниях с отражениями,
— расстояние удобочитаемости при испытаниях без отражений;
|
|
— расстояние удобочитаемости для образцового ВДТ при испытаниях с отражениями,
— расстояние удобочитаемости для образцового ВДТ при испытаниях без отражений.
Испытание начинают с расстояния наблюдения, достаточно близкого для обеспечения правильной идентификации не менее 90 % букв и слов. Расстояние наблюдения увеличивают равными логарифмическими шагами по 0,1 диоптрии (или менее, т. к. большее расстояние наблюдения требует большего разрешения) до тех пор, пока правильная идентификация не станет равной или менее 10 %. Для определения расстояния наблюдения, при котором достигается правильная идентификация 50 % букв и слов, используют стандартные методы распознавания напечатанного текста (метод вероятностной бумаги, регрессионный анализ и т.д.). Расстояние от глаза до экрана для каждого испытания должно быть известно с абсолютной погрешностью ±
Испытание проводят при монокулярном зрении одним глазом, который является более привычным для испытателя. Другой глаз закрывают.
Испытательные стимулы представляют собой группы из пяти неоднородных букв из набора, используемого в таблицах при определении остроты зрения (D, E, F, H, N, P, R, U, V, Z), расположенные в случайном порядке. Испытательные стимулы предъявляют последовательно в центре экрана ВДТ и сопровождают звуковым сигналом. В строках букв, находящихся выше и ниже испытательных стимулов, имеются подобные группы из пяти других случайных букв, взятых из того же набора:
|
D R F E V |
←тестовая строка |
|
Z N U P D |
|
|
H U Z V F |
Испытатели реагируют на содержание цветовых стимулов после подачи звукового сигнала, называя пять букв в центральной строке. При каждом расстоянии наблюдения предъявляют по крайней мере два испытательных стимула (10 букв). Ответы оценивают как «правильные» или «неправильные». Ответ о наличии знака в тестовом ряду, но в неправильной позиции, является «неправильным». В протоколе испытаний регистрируют число правильных ответов от общего числа возможных правильных ответов.
А.3 Условия испытаний
Четыре условия испытаний — в соответствии с таблицей А.1.
Таблица А.1 — Условия испытаний
|
Номер условия |
ВДТ |
Состояние поверхности экрана |
|
1 |
Испытуемый |
С отражениями |
|
2 |
Испытуемый |
Без отражений |
|
3 |
Образцовый |
С отражениями |
|
4 |
Образцовый |
Без отражений |
ВДТ, используемые для испытаний: образцовый — ВДТ, испытанный методами по ИСО 9241-3 и соответствующий настоящему стандарту по классу ВДТ (см. таблицу А.1), и испытуемый — ВДТ, для которого метод испытаний по настоящему стандарту был признан непригодным.
Режимы экрана приведены в таблицах А.2 и А.3 (см. также рисунок А.1).
Таблица А.2 — Режим экрана. Яркость источника
|
Режим экрана |
Яркость источника |
|||
|
Апертура от 15° до 16° |
Апертура от 1° до 2° |
|||
|
Класс I или II |
Класс III |
Класс I или II |
Класс III |
|
|
С отражениями |
200 кд/м2 |
125 кд/м2 |
2000 кд/м2 |
200 кд/м2 |
|
Без отражений |
Менее 12 кд/м2 |
Менее 12 кд/м2 |
||
Значение яркости устанавливают с погрешностью ± 10 %.
Таблица А.3 — Режим экрана. Освещенность
|
Режим экрана |
Освещенность |
|
С отражениями |
ЕО = 250 + 250 cos α, лк |
|
Без отражений |
Менее 50 лк |

1 — источник зеркального отражения; 2 — вспомогательный источник освещения экрана
Рисунок А.1 — Установка для испытания зрительной работоспособности
Значение освещенности устанавливают с погрешностью ± 10 %.
Угол наклона экрана α, который определяет поставщик, должен быть одинаковым при испытании образцового и испытуемого дисплеев.
Для отражающих дисплеев значение ЕО определяется поставщиком и используется при обоих режимах испытаний дисплеев.
Требования для испытаний (см. рисунок А.1):
— центр экрана ВДТ — на уровне глаза;
— экран ВДТ наклонен назад на угол (90° — α) (в качестве иллюстрации на рисунке А.1 показан угол наклона α = 75°);
— малый или протяженный источник зеркальных отражений, соответствующий требованиям разделов 3,6 и 7 настоящего стандарта, устанавливают выше центра ВДТ на расстоянии
— вспомогательный источник освещения экрана позиционируют так, чтобы избежать зеркальных отражений.
А.4 Помещение для испытаний и условия окружающей среды
Испытание проводят в условиях окружающей среды, близких к условиям клинических испытаний остроты зрения. Условия окружающей среды должны соответствовать требованиям и рекомендациям ИСО 9241-6, за исключением случаев, когда:
— общая освещенность помещения для испытаний ≤ 50 лк;
— яркости поверхностей в помещении для испытаний, угол размещения которых от нормали к центру экрана ВДТ равен или приблизительно равен углу зеркального отражения, ≤ 12 кд/м2;
— при испытаниях поверхности в помещении вокруг испытателя в пределах 45° яркость ≤ 12 кд/м2 (т.е. ≤ 1/3 минимальной яркости ВДТ по ИСО 9241-3 для того, чтобы была уверенность, что яркость адаптации испытателя определяется прежде всего яркостью излучения экрана ВДТ);
— необходим контроль горизонтального передвижения вдоль оси «глаз — экран ВДТ» и связанных с ним источников яркости и освещенности или испытателя. Опорное расстояние «глаз — экран ВДТ». Значение LD должно быть известно или измерено с погрешностью ±
А.5 Критерий для испытаний
Для каждого участника испытаний рассчитывают значения RLR (см. А.2). Рассчитывают среднее значение
для всех участников испытаний и сравнивают с критерием
![]()
Приложение В
(справочное)
Графическое представление результатов
В.1 Общие положения
Соответствие влияния отражений требованиям настоящего стандарта устанавливают при особых условиях. По возможности приводят отражающие свойства и излучаемые яркости ВДТ, обусловленные методом испытаний, для расчета диапазона световых условий окружающей среды, при которых требования выполняются на пределе. Эти данные могут быть представлены графически и полезны для предсказания соответствия ВДТ параметрам окружающей среды.
Примечание — Графическое представление не устанавливает соответствие и не заменяет протокол соответствия настоящему стандарту.
В.2 Графическое представление
При графическом представлении значения яркости источника зеркального отражения LА(макс) показаны как функция освещенности экрана Е в диапазоне от 0 до
Расширенные формулы для LА(макс) как функции Е, основанные на яркостном отношении изображения и на яркостном отношении при зеркальном отражении, приведены в В.3.2. Функции представлены на графике прямыми линиями, поэтому для их построения достаточно вычисление только двух точек для каждой. Прямые линии продолжают до пересечения с осью ординат.
В.3 Определения и формулы
В.3.1 Максимальная яркость источника зеркального отражения LA(макс)
Максимальную яркость источника зеркального отражения вычисляют с учетом требований настоящего стандарта. Графическое представление В.2 показывает уровень яркости источника зеркального отражения LА(макс), при котором или ниже которого ВДТ соответствует требованиям настоящего стандарта, при освещенности экрана Е в диапазоне от 0 до 1500 лк. При меньшем значении освещенности значение LA(макс) ограничено максимальным соотношением яркостей при зеркальном отражении LRфдз/фд. при большем значении освещенности значение LА(макс) ограничено минимальной яркостью изображения LRцдз/фдз или LRфдз/цдз.
В.3.2 Максимальная яркость источника зеркального отражения, ограниченная соотношением яркостей при зеркальном отражении LRФдЗ/фд
Максимальные соотношения яркостей при зеркальном отражении устанавливаются в соответствии с требованиями раздела 6 для положительной и отрицательной полярности изображения и определяют соответствующую максимальную яркость источника зеркального отражения LA(макс, фдз/фд) как функцию Е (см. рисунок В.1). Уравнение этой функции в виде прямой с угловым коэффициентом, пересекающей ось ординат, определяется по формулам:
а) для положительной полярности
|
|
б) для отрицательной полярности
|
|

1 — значение, отсекаемое на оси ординат
; 2 — значение, отсекаемое на оси ординат
; 3 — угловой коэффициент
; 4 — угловой коэффициент 
Рисунок В.1 — Ограничение яркостного отношения при зеркальном отражении
В.3.3 Максимальная яркость источника зеркального отражения, ограниченная соотношением яркостей при диффузном отражении LRФДЗ/ЦДЗ или LRцдз/фдз
Минимальное приемлемое соотношение яркостей изображения, установленное в соответствии с требованиями раздела 6, определяет соответствующую максимальную яркость источника зеркального отражения при диффузно отражающем экране LA(макс, цдЗ/фдз) или la(макс, фдз/цдз) как функцию Е (см. рисунок В.1). Уравнение этой функции в виде прямой с угловым коэффициентом, пересекающей ось ординат, определяется по формулам:
а) для положительной полярности:
|
|
б) для отрицательной полярности:
|
|

1 — значение, отсекаемое на оси ординат:
(положительная полярность) =
(отрицательная полярность) = 875; 2 — угловой коэффициент 
Рисунок В.2 — Ограничение понижения яркостного отношения
В.4 Диаграммы
По вышеприведенным формулам (см. рисунки В.1 и В.2) и данным, полученным методом испытаний по разделу 7, строят диаграммы LА(макс, ФДЗ/ФД) и LА(макс, цдз/фдз) или LA(макс, фдз/цдз) в зависимости от полярности. Считают, что в черных треугольниках на обеих диаграммах ВДТ соответствуют требованиям настоящего стандарта. Выше точки пересечения линии не продолжают.
Результирующая диаграмма является графическим отчетом (см. рисунок В.3).
На рисунках В.1 и В.2 приняты следующие значения:
— большее значение [LЦ, LФ] = 100 кд/м2;
— меньшее значение [LЦ, LФ] = 10 кд/м2;
RД = 0,035 01 (коэффициент диффузного отражения 11 %);
RЗ = 0,04 (стекло ЭЛТ, протяженный источник яркости).
Примечание — Значение освещенности экрана Е, как правило, составляет половину значения освещенности помещения.

Рисунок В.3 — Графический отчет
Приложение С
(справочное)
Пример обработки результатов испытаний методом в соответствии с разделом 7
С.1 Общие положения
Пример, приведенный в настоящем приложении, соответствует методу испытаний в соответствии с разделом и оперирует предполагаемыми значениями измеренных величин, с помощью которых проводят необходимые расчеты. По возможности нумерация настоящего приложения соответствует нумерации раздела .
С.2 Приборы и оборудование
Испытательное оборудование — в соответствии с .
Протяженные источники — интегрирующие сферы с выходным отверстием
Коэффициент диффузного отражения стандартного образца равен ρД = 0,98. Поэтому qЭТ = ρД/π = 0,98/π = 0,31194.
В применяемом фотометре должна быть предусмотрена возможность установки измеряемых апертур 2° и 0,2° при рабочем расстоянии измерения. В качестве испытуемого ВДТ используют дисплей на основе электронно-лучевой трубки (ЭЛТ). Подразумевается, что испытуемый ВДТ соответствует классу I, пункт 6.4.2. Подразумевается, что он будет использоваться при наклоне экрана назад на угол 15°. При угле α = 75°:
EREF = 250 + 250 cos α = 314,7 лк.
Текстура поверхности экрана ВДТ диффузно отражает излучение и нейтрально ослабляет диффузное отражение. ВДТ оценивают, используя оба источника — протяженный и малый.
С.3 Измерения
С.3.1 Общие положения
Испытательная установка — в соответствии с разделом 7. Комната для испытаний должна быть затемнена от постороннего излучения, за исключением излучения от интегрирующих сфер, создающих внешнюю освещенность экрана испытуемого ВДТ менее 0,1 лк.
С.3.2 Измерение яркости источников
Фотометр юстируют вместе с источником для измерения зеркального отражения в центре плоскости диафрагмы источника. При измерениях с малым источником излучения рабочее расстояние фотометра должно быть достаточным для того, чтобы апертура фотометра была менее половины пятна от 9-миллиметрового источника.
С.3.2.1 Протяженный источник яркости
Используя фотометр с апертурой 2°, устанавливают на его шкале яркость LA(ПР), равную 2000 кд/м2, с помощью излучения центральной части протяженного источника.
С.3.2.2 Малый источник яркости
Используя фотометр с апертурой 0,2°, с помощью излучения центральной части малого источника устанавливают на его шкале яркость LA(МАЛ) 2000 кд/м2.
С.3.3 Измерения по нормали (0°) к экрану ВДТ
ВДТ, протяженные источники и фотометр размещают для измерений по нормали к центру экрана. Включают оба источника. Измеряют диффузно отраженную яркость:
LД(0) = 9,62 кд/м2.
Эталон диффузного отражения устанавливают на место экрана и измеряют:
LД(ЭТ, 0) = 94,3 кд/м2.
Рассчитывают значение RД по формуле
|
|
С.3.4 Измерения при угле 15° к экрану ВДТ
С.3.4.1 Значения яркостей, излучаемых при угле 15° к поверхности экрана
Яркость источников уменьшают приблизительно до нуля и устанавливают испытуемый ВДТ под углом 15° к фотометру:
— при отрицательной полярности:
LЦ(15) = 150,00 кд/м2,
LФ(15) = 5,00 кд/м2;
— при положительной полярности:
LФ(15) = 100,00 кд/м2,
LЦ(15) = 10,00 кд/м2.
С.3.4.2 Измерения отражения с протяженным источником при угле 15°
Включают сферические источники, затем — выключают ВДТ и измеряют:
Lдз(пр,15) = 106,93 кд/м2;
LД(ЭТ,15) = 67,90 кд/м2.
Рассчитывают
|
|
С.3.4.3 Измерения отражения с малым источником при угле 15°
Включают сферические источники, выключают ВДТ и измеряют:
LДЗ(MAЛ, 15) = 22,93 кд/м2;
LДЗ(ЭТ,15) = 67,90 кд/м2.
Рассчитывают
|
|
С.4 Пример расчетов для протокола соответствия
С.4.1 Яркостное соотношение изображения
Требования, предъявляемые к ВДТ, зависят от полярности:
а) при положительной полярности:
|
|
в расширенном виде,
|
|
Для протяженных источников:
|
|
Требованиям настоящего стандарта, предъявляемым к ВДТ, соответствует.
Для малых источников:
|
|
Требованиям настоящего стандарта, предъявляемым к ВДТ, соответствует;
б) отрицательная полярность:
|
|
в расширенном виде
|
|
Для протяженных источников:
|
|
для малых источников:
|
|
Требованиям настоящего стандарта, предъявляемым к ВДТ, соответствует.
С.4.2 Соотношение яркостей при зеркальном отражении
Требования, предъявляемые к ВДТ, зависят от полярности:
а) при положительной полярности
LRФДЗ/ФД ≤ 1,25,
в расширенном виде
|
|
Для протяженных источников:
|
|
|
|
Требованиям настоящего стандарта, предъявляемым к ВДТ, соответствует.
Для малых источников
|
|
Требованиям настоящего стандарта, предъявляемым к ВДТ, соответствует;
б) при отрицательной полярности:
|
|
в расширенном виде
|
|
Для протяженных источников:
|
|
1,67 < 1,91.
Требованиям настоящего стандарта, предъявляемым к ВДТ, соответствует.
Для малых источников:
|
|
2,07 > 1,91.
Требованиям настоящего стандарта, предъявляемым к ВДТ, не соответствует.
С.4.3 Окончательные результаты испытаний
Вышеприведенные расчеты по С.3.1 — С.4.2 оформляются в виде таблицы.
Таблица С.1 — Окончательные результаты испытаний
|
Условия испытаний |
Положительная полярность |
Отрицательная полярность |
|
Протяженный источник |
Соответствует классу I |
Соответствует классу I |
|
Малый источник |
Соответствует классу I |
Не соответствует классу I |
|
Решение о соответствии |
Соответствует классу I |
Соответствует классу II |
Приложение D
(обязательное)
Сведения о соответствии национальных стандартов Российской Федерации ссылочным международным стандартам
Таблица D.1
|
Обозначение ссылочного международного стандарта |
Обозначение и наименование соответствующего национального стандарта |
|
ИСО 9241-3:1992 |
ГОСТ Р ИСО 9241-3—2003 Эргономические требования при выполнении офисных работ с использованием видеодисплейных терминалов (ВДТ). Часть 3. Требования к визуальному отображению информации |
|
ИСО 9241-8:1997 |
ГОСТ Р ИСО 9241-8—2007 Эргономические требования при выполнении офисных работ с использованием видеодисплейных терминалов (ВДТ). Часть 8. Требования к отображаемым цветам |
|
МКО 17.4:1989 |
* |
|
* Соответствующий национальный стандарт отсутствует. До его утверждения рекомендуется использовать перевод на русский язык данного международного стандарта. Перевод данного международного стандарта находится в Федеральном информационном фонде технических регламентов и стандартов. |
|
Библиография
|
ИСО 8995:1989 |
Эргономические требования к зрению. Освещение рабочих установок внутри помещений |
|
|
ИСО 9241-6:1995 |
Эргономические требования при выполнении офисных работ с использованием видеодисплейных терминалов (ВДТ). Часть 6. Руководящие указания по рабочей среде |
|
|
ИСО 13406-2:2001 |
Эргономические требования к работе с визуальными дисплеями, основанными на плоских панелях. Часть 2. Эргономические требования к дисплеям с плоскими панелями |
Ключевые слова: видеодисплейные терминалы, эргономические требования, требования к дисплеям




