ГОСТ Р 52129-2003 Порошок минеральный для асфальтобетонных и органоминеральных смесей Технические условия

Автор: | 17.02.2015

ГОСТ Р 52129-2003

Группа Ж18


ГОСУДАРСТВЕННЫЙ СТАНДАРТ РОССИЙСКОЙ ФЕДЕРАЦИИ


ПОРОШОК МИНЕРАЛЬНЫЙ ДЛЯ АСФАЛЬТОБЕТОННЫХ

И ОРГАНОМИНЕРАЛЬНЫХ СМЕСЕЙ

Технические условия

Mineral powders for asphaltic concrete

and organomineral mixtures.

Specifications

ОКС 93.080.20

ОКП 57 1600

Дата введения 2003-10-01


Предисловие

1  РАЗРАБОТАН Федеральным государственным унитарным предприятием Государственный дорожный научно-исследовательский институт (ФГУП "Союздорнии") и Государственным предприятием Российский дорожный научно-исследовательский институт (ГП "Росдорнии")

2  ВНЕСЕН Управлением технического нормирования, стандартизации и сертификации в строительстве и ЖКХ Госстроя России

3  ПРИНЯТ И ВВЕДЕН В ДЕЙСТВИЕ Постановлением Госстроя России от 27 июня 2003 г. N 119

4  ВВЕДЕН ВПЕРВЫЕ (на данный объект стандартизации ранее распространялись ГОСТ 16557-78 и ГОСТ 12784-78, применение которых в Российской Федерации прекращено одновременно с введением в действие настоящего стандарта)

     1 Область применения

Настоящий  стандарт распространяется на порошки минеральные, применяемые в качестве компонента асфальтобетонных и других видов органоминеральных смесей, и устанавливает требования к ним и методы их испытаний.

Область  применения минеральных порошков приведена в приложении А.

     2 Нормативные ссылки

Стандарты,  ссылки на которые использованы в настоящем стандарте, приведены в приложении Б.

     3 Определения

В  настоящем стандарте применены следующие термины с соответствующими определениями:

порошок  минеральный: Материал, полученный при помоле горных пород или твердых отходов промышленного производства.

порошок  минеральный активированный: Материал, полученный при помоле горных пород или твердых отходов промышленного производства с добавлением активирующих веществ, при помоле битуминозных пород, в том числе горючих сланцев.

активирующие  вещества: Смесь поверхностно-активных веществ (ПАВ) или продуктов, содержащих ПАВ, с битумом, рационально подобранная применительно к химической природе сырья для производства минерального порошка.

порода  карбонатная: Осадочная порода, состоящая более чем на 50% из одного или нескольких карбонатных минералов, например известняков, доломитов и переходных между ними разновидностей.

порода  некарбонатная: Осадочная или изверженная порода, состоящая более чем на 50% из минералов кремнезема, например опок, трепелов, туфов, песчаников, гранитов.

порошковые  отходы промышленного производства: Отходы промышленного производства, не требующие измельчения, например золы-уноса и золошлаковые смеси тепловых электростанций, пыль уноса цементных заводов, металлургические шлаки и др.

     4 Классификация

Порошки  в зависимости от показателей свойств и применяемых исходных материалов подразделяют на марки:

МП-1  — порошки неактивированные и активированные из осадочных (карбонатных) горных пород и порошки из битуминозных пород.

МП-2  — порошки из некарбонатных горных пород, твердых и порошковых отходов промышленного производства.

     5 Технические требования

Порошки  должны соответствовать требованиям настоящего стандарта и приготовляться по технологическому регламенту, утвержденному в установленном порядке.

     5.1 Основные показатели и характеристики (свойства)

5.1.1  Показатели свойств порошков должны соответствовать требованиям, установленным в таблице 1.

Таблица 1 — Показатели свойств порошков





Наименование показателя


Значение для порошка марки




МП-1


МП-2




неактивированный порошок


активированный порошок




Зерновой состав, % по массе:











мельче 1,25  мм




Не менее 100


Не менее 100


Не менее 95


          "       0,315  "


Не менее 90


Не менее 90


От 80 до 95


          "       0,071  "


От 70 до 80


Не менее 80


Не менее 60


Пористость, %, не более


35


30


40


Набухание образцов из смеси порошка с битумом, %, не более


2,5


1,8


3,0


Водостойкость образцов из смеси порошка с битумом, %, не более


Не нормируется


0,7


Показатель битумоемкости, г, не более


То же


80


Влажность, % по массе, не более


1,0


Не нормируется


2,5


Примечание — В минеральном порошке, получаемом из горной породы, прочность на сжатие которой выше 40 МПа, содержание зерен мельче 0,071 мм допускается на 5% меньше указанного в таблице.




5.1.2  Активированные минеральные порошки должны быть гидрофобными.

5.1.3  Порошки в зависимости от величины суммарной удельной эффективной активности естественных радионуклидов в горных породах и отходах промышленного производства используют:

при  до 740 Бк/кг — для строительства дорог и аэродромов в пределах территории населенных пунктов и зон перспективной застройки;

при  до 1500 Бк/кг — для строительства дорог вне населенных пунктов.

     5.2 Требования к материалам

5.2.1  Содержание полуторных окислов (АlO+FeO) в горных породах и промышленных отходах производства, используемых при приготовлении порошков, и в порошковых отходах промышленного производства, используемых в качестве порошков, не должно превышать, % по массе:

7,0  — для активированных порошков;

1,7  — для неактивированных порошков.

 

    

5.2.2  В битуминозных породах и горючих сланцах, используемых для приготовления активированных порошков, содержание органического вещества должно быть от 2% до 15% по массе.

5.2.3  В твердых промышленных отходах производства, используемых для приготовления порошков, и в порошковых промышленных отходах производства, используемых в качестве порошков, допускается содержание, % по массе:

активных  СаО+MgO — не более 3;

водорастворимых  соединений — не более 6.

5.2.4  Содержание РО в фосфоросодержащих отходах промышленного производства, используемых для приготовления порошков, не должно быть более 2% по массе.

   

  

5.2.5.  Потери при прокаливании в твердых отходах промышленного производства, используемых для приготовления порошков, и в порошковых промышленных отходах, используемых в качестве порошков (например, золах-уноса и золошлаковых смесях тепловых электростанций), должны быть не более 20% массы.

5.2.6  В качестве активирующих веществ, используемых для производства активированных порошков, применяют:

—  анионные ПАВ типа высших карбоновых кислот (госсиполовая смола, жировой гудрон, окисленный петролатум, синтетические жирные кислоты и др.), соответствующие установленным в нормативной документации требованиям;

—  катионные ПАВ типа аминов, диаминов или их производных, соответствующие установленным в нормативной документации требованиям;

—  нефтяной битум по ГОСТ 22245.

     6 Правила приемки

6.1  Порошок должен быть принят подразделением предприятия-изготовителя, осуществляющим технический контроль.

6.2  Приемку и поставку порошка производят партиями.

При  приемке партией считают количество порошка, выпущенное в смену на каждой технологической линии, но не более 200 т.

При  отгрузке автомобильным транспортом партией считают количество порошка, отгружаемое одному потребителю в течение суток.

При  отгрузке железнодорожным транспортом партией считают количество порошка, одновременно отгружаемое одному потребителю в одном железнодорожном составе.

6.3  Контроль качества порошка осуществляют путем испытания одной объединенной пробы порошка, отобранной от каждой партии.

6.4  Объединенная проба состоит из точечных проб, отобранных из расходного (накопительного) бункера или непосредственно с технологической линии.

Отбор  проб начинают через 30 мин после начала выпуска порошка и далее через каждый час в течение смены.

Интервал  отбора точечных проб в зависимости от производительности технологического оборудования может быть увеличен, при этом количество точечных проб должно быть не менее четырех.

6.5  Масса точечной пробы при интервале отбора в 1 ч должна быть не менее 500 г. При увеличении интервала отбора масса отбираемой точечной пробы должна быть увеличена: при интервале 2 ч — в два раза, при интервале 3 ч — в четыре раза.

6.6  Отобранные точечные пробы тщательно перемешивают и сокращают методом квартования для получения лабораторной пробы.

Для  квартования пробу материала разравнивают и делят взаимно перпендикулярными линиями, проходящими через центр, на четыре части. Две любые противоположные стороны берут в пробу.

6.7  Масса лабораторной пробы для приемочного контроля должна быть не менее 1 кг, для периодического контроля — не менее 3 кг.

Последовательным  квартованием сокращают пробу в два раза, в четыре раза и т.д. до получения пробы вышеуказанной массы.

6.8  При приемочном контроле определяют:

зерновой  состав;

влажность;

гидрофобность  (для активированных порошков).

6.9  Периодический контроль осуществляют при каждом изменении состава исходных материалов, но не реже одного раза в месяц. При периодическом контроле определяют:

пористость;

набухание  образцов из смеси порошка с битумом;

показатель  битумоемкости (для порошка марки МП-2);

водостойкость  образцов из смеси порошка с битумом (для порошка марки МП-2).

6.10  Удельную эффективную активность естественных радионуклидов в порошках принимают по максимальной величине удельной эффективной активности естественных радионуклидов, содержащихся в применяемых для их приготовления минеральных материалах, которая должна представляться не реже одного раза в год. Эти данные должны учитываться при решении о поставках и использовании порошка в соответствии с 5.1.3 настоящего стандарта.

6.11  На каждую отгружаемую потребителю партию порошка предприятие-изготовитель обязано выдать документ о качестве, в котором указывают следующие сведения:

наименование  предприятия-изготовителя;

номер  и дату выдачи паспорта;

наименование  и адрес потребителя;

номер  партии и количество порошка;

наименование  и марку порошка;

наименование  сырья, применяемого для приготовления порошка;

зерновой  состав;

влажность;

гидрофобность  (для активированного порошка);

пористость;

набухание  образцов из смеси порошка с битумом;

показатель  битумоемкости (для порошков марки МП-2);

водостойкость  образцов из смеси порошка с битумом (для порошков марки МП-2);

удельную  эффективную активность естественных радионуклидов.

6.12  Потребитель имеет право осуществлять контрольную проверку качества поставляемого порошка.

Для  контрольной проверки качества порошка, отгружаемого автомобильным транспортом, отбирают одну точечную пробу при разгрузке каждого автомобиля.

Для  контрольной проверки качества порошка, поставляемого железнодорожным транспортом, отбирают при разгрузке вагона через равные интервалы времени пять точечных проб, выбор вагона осуществляют методом случайного отбора.

Из  точечных проб составляют объединенную пробу, характеризующую контролируемую партию. Масса объединенной пробы должна быть не менее 7 кг.

6.13  На каждую пробу, предназначенную для контрольных испытаний в специализированной лаборатории, а также для арбитражных испытаний составляют акт отбора, содержащий наименование и обозначение материала, место и дату отбора пробы и подписи лиц, ответственных за отбор проб.

Отобранные  пробы упаковывают таким образом, чтобы масса и свойства порошка не изменились до проведения испытания.

Каждую  пробу снабжают двумя этикетками с обозначением пробы: одну этикетку помещают внутрь упаковки, другую закрепляют на видном месте упаковки. При транспортировании пробы следует обеспечить сохранность упаковки и этикеток. Срок хранения пробы — не менее 3 мес.

     7 Методы контроля

     

     7.1 Общие положения

7.1.1  Применяемые средства контроля (измерений), аппаратура, а также вспомогательные устройства должны пройти поверку и аттестацию в установленном порядке. Допускается использование аналогичного импортного оборудования.

7.1.2  Температура воздуха в помещении, в котором проводят испытания, должна быть (20±5) °С.

7.1.3  При использовании в качестве реактивов опасных (едких, токсичных, воспламеняющихся) веществ следует руководствоваться требованиями безопасности, изложенными в нормативных документах на эти вещества.

7.1.4  Пробы порошка перед проведением испытаний, исключая пробу, предназначенную для определения влажности, высушивают в сушильном шкафу при температуре (105±5) °С до постоянной массы.

Активированные  порошки перед испытаниями не сушат.

7.1.5  Взвешивание производят на лабораторных весах общего назначения 4-го класса точности по ГОСТ 24104 с допускаемой погрешностью взвешивания 0,1% массы. Массу определяют в граммах с точностью до второго десятичного знака после запятой.

7.1.6  Результаты испытаний рассчитывают с точностью до второго десятичного знака после запятой методом округления, если в методе не даны другие указания относительно точности вычисления.

     7.2 Определение зернового состава

Сущность  метода заключается в определении зернового состава путем просеивания порошка через стандартный набор сит.

7.2.1  Средства контроля (измерений), аппаратура, материалы, вспомогательные устройства

Набор  сит с сетками N 1,25; 0315; 0071 по ГОСТ 6613.

Прибор  для механического просеивания.

Весы  4-го класса точности по ГОСТ 24104.

Шкаф  сушильный.

Чашка  фарфоровая диаметром 15-20 см по ГОСТ 9147.

Пестик  фарфоровый с резиновым наконечником по ГОСТ 9147.

Сосуд  вместимостью от 6 до 10 л.

Груша  резиновая.

Вода  питьевая.

7.2.2  Порядок подготовки и проведения испытания

При  испытании активированных порошков в воду, используемую для промывки, вводят смачиватель.

В  качестве смачивателя применяют порошкообразные, пастообразные и жидкие технические или бытовые моющие средства. Смачиватель вводят в воду в следующем количестве на 1 л воды: жидкий — 15 г, пастообразный (в виде раствора в воде в соотношении 1:1) — 10 г, порошкообразный — 3 г.

Из  подготовленной в соответствии с 7.4 пробы минерального порошка берут навеску около 50 г, помещают в фарфоровую чашку, заливают небольшим количеством воды (порошок должен быть покрыт водой) и растирают в течение 2-3 мин пестиком с резиновым наконечником, после чего воду с взвешенными в ней частицами порошка сливают через сито с сеткой N 0071, установленное над сосудом.

Эту  операцию продолжают до тех пор, пока вода в чашке не станет прозрачной.

После  промывки частицы порошка крупнее 0,071 мм, оставшиеся на сетке, смывают с помощью резиновой груши в фарфоровую чашку.

Оставшуюся  в чашке воду осторожно сливают, чашку помещают в сушильный шкаф, высушивают остаток пробы порошка при температуре (105±5) °С до постоянной массы.

Не  допускается промывание и растирание порошка непосредственно на сите.

Высушенный  остаток пробы последовательно просеивают через сита с сетками N 1,25; 0315 и 0071 вручную или на приборе для механического просеивания. Просеивание считают законченным, если после встряхивания сита в течение 30 с количество частиц, прошедших через сито N 1,25, не превышает 0,05 г, а прошедших через сита N 0315 и 0071 — 0,02 г. Остаток на каждом сите взвешивают.

Для  текущего (оперативного) контроля зернового состава допускается просеивать порошок без предварительной промывки при условии использования прибора для механического просеивания. Из подготовленной в соответствии с 7.1.4 пробы порошка берут навеску около 50 г и помещают в набор сит с поддоном и крышкой, установленные в прибор для механического просеивания. Просеивание в приборе продолжают в течение 30-40 мин, после чего прибор останавливают и производят контрольное просеивание вручную. Просеивание считают законченным, если после встряхивания сита в течение 30 с количество частиц, прошедших через сито N 1,25, не превышает 0,05 г, а прошедших через сита N 0315 и 0071 — 0,02 г.

7.2.3  Обработка результатов испытания

По  результатам просеивания вычисляют:

—  частные остатки на каждом сите , %, по формуле

,                                                                      (1)

где — масса остатка на данном сите, г;

       — масса навески, г;

—  содержание частиц мельче 1,25 (), 0,315 () и 0,071 () мм — по формулам:

; ;

(2)

.

Результат  каждого испытания вычисляют с точностью до второго десятичного знака после запятой. Абсолютное допустимое расхождение между результатами параллельных определений не должно превышать 2%.

В  случае превышения абсолютного допустимого расхождения между результатами определений испытание следует повторить до получения допустимого расхождения.

Зерновой  состав вычисляют как среднеарифметическое значение результатов двух параллельных испытаний.

     7.3 Определение истинной плотности

Сущность  метода заключается в определении плотности порошка без учета имеющихся в нем пор.

7.3.1  Определение истинной плотности неактивированного минерального порошка из горных пород

7.3.1.1  Средства контроля (измерений), аппаратура, материалы, вспомогательные устройства

Колбы  мерные вместимостью 100 мл или 250 мл по ГОСТ 1770.

Весы  4-го класса точности по ГОСТ 24104.

Ванна  песчаная или электроплитка с закрытой спиралью.

Вода  дистиллированная по ГОСТ 6709.

7.3.1.2  Порядок подготовки и проведения испытания

Из  пробы порошка, подготовленной в соответствии с 7.1.4, берут две навески (для двух параллельных определений) около 10 г каждая, если истинную плотность определяют в колбах вместимостью 100 мл, или около 50 г, если используют колбы вместимостью 250 мл.

Каждую  навеску порошка всыпают в чистую, высушенную и взвешенную колбу, после чего колбу с порошком вновь взвешивают и на 1/3 заполняют дистиллированной водой.

Содержимое  колбы взбалтывают и кипятят на песчаной ванне в течение 1 ч, а затем охлаждают до комнатной температуры. После этого колбу заполняют дистиллированной водой до черты на шейке колбы и взвешивают. Затем колбу освобождают от содержимого, промывают, наполняют до черты на шейке дистиллированной водой комнатной температуры и вновь взвешивают.

7.3.1.3  Обработка результатов испытания

Истинную  плотность порошка , г/см, вычисляют по формуле

,                                                                 (3)

где — масса колбы с порошком, г;

       — масса пустой колбы, г;

       — масса колбы с дистиллированной водой, г;

       — масса колбы с порошком и водой, г;

       — плотность дистиллированной воды, равная 1 г/см.

Результат  каждого испытания вычисляют с точностью до второго десятичного знака после запятой. Абсолютное допустимое расхождение между результатами параллельных определений не должно превышать 0,02 г/см.

В  случае превышения абсолютного допустимого расхождения между результатами определений испытание следует повторить до получения допустимого расхождения.

Истинную  плотность вычисляют как среднеарифметическое значение результатов двух параллельных испытаний

.

7.3.2  Определение истинной плотности активированного минерального порошка

7.3.2.1  Средства контроля (измерений), аппаратура, материалы, вспомогательные устройства

Средства  контроля (измерений), аппаратура, материалы и вспомогательные устройства — по 7.3.1.1, раствор смачивателя — по 7.2.2.

7.3.2.2  Порядок подготовки и проведения испытания

Порошок  подготавливают к испытанию по 7.1.4.

Определяют  истинную плотность раствора смачивателя пикнометрическим методом по ГОСТ 3900.

Испытания  проводят по 7.3.1.3, при этом вместо дистиллированной воды используют раствор смачивателя.

7.3.2.3  Обработка результатов испытания

Истинную  плотность активированного порошка , г/см, вычисляют по формуле

,                                                              (4)

где — масса колбы с порошком, г;

       — масса пустой колбы, г;

       — масса колбы с раствором смачивателя, г;

       — масса колбы с порошком и раствором смачивателя, г;

       — плотность раствора смачивателя, г/см.

Результат  каждого испытания вычисляют с точностью до второго десятичного знака после запятой. Абсолютное допустимое расхождение между результатами параллельных определений не должно превышать 0,02 г/см.

В  случае превышения абсолютного допустимого расхождения между результатами определений испытание следует повторить до получения допустимого расхождения.

Истинную  плотность вычисляют как среднеарифметическое значение результатов двух параллельных испытаний

.

7.3.3  Определение истинной плотности порошковых отходов промышленного производства

7.3.3.1  Средства контроля (измерений), аппаратура, материалы, вспомогательные устройства

Колбы  мерные вместимостью 100 мл или 250 мл по ГОСТ 1770.

Весы  4-го класса точности по ГОСТ 24104.

Установка  вакуумная.

Колба  вместимостью 1 л по ГОСТ 23932.

Воронка  диаметром 120-150 мм стеклянная по ГОСТ 23932.

Керосин  осветительный.

Фильтр  бумажный по ГОСТ 12026.

Силикагель  марки АСК фракции 0,25-0,5 мм по ГОСТ 3956.

7.3.3.2  Порядок подготовки к проведению испытания

Порошок  подготавливают к испытанию по 7.1.4.

Керосин  подготавливают следующим образом: в стеклянную колбу вместимостью 1 л вставляют стеклянную воронку с бумажным фильтром. На фильтр высыпают 120-150 г силикагеля. 500 мл осветительного керосина небольшими порциями фильтруют через силикагель в воронке.

Определяют  плотность керосина пикнометрическим методом по ГОСТ 3900.

7.3.3.3  Порядок проведения испытания

Взвешивают  две чистые и высушенные мерные колбы. В каждую колбу помещают навески порошка около 50 г, после чего колбы с порошком вновь взвешивают и на заполняют очищенным керосином.

Колбы  помещают в вакуумную установку и выдерживают 30 мин при остаточном давлении не более 0,002 МПа (15 мм рт. ст.).

После  этого колбы извлекают из вакуумной установки, выдерживают в течение 30 мин при комнатной температуре, заполняют керосином до черты на шейке и взвешивают. Затем колбы освобождают от содержимого, заполняют керосином до черты на шейке и взвешивают.

    

 

7.3.3.4  Обработка результатов испытания

Истинную  плотность порошка, , г/см, вычисляют по формуле

,                                                     (5)

где — масса колбы с порошком, г;

       — масса пустой колбы, г;

       — масса колбы с керосином, г;

       — масса колбы с порошком и керосином, г;

       — плотность керосина, г/см.

Результат  каждого испытания вычисляют с точностью до второго десятичного знака после запятой. Абсолютное допустимое расхождение между результатами параллельных определений не должно превышать 0,02 г/см.

В  случае превышения абсолютного допустимого расхождения между результатами определений испытание следует повторить до получения допустимого расхождения.

Истинную  плотность вычисляют как среднеарифметическое значение результатов двух параллельных испытаний.

     7.4 Определение средней плотности

Сущность  метода заключается в определении плотности порошка после уплотнения его в форме объемом 100 см под нагрузкой 40 МПа.

    

 

7.4.1  Средства контроля (измерений), аппаратура, вспомогательные устройства

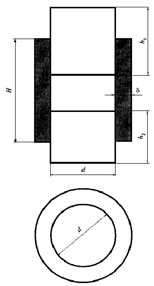
Форма  для уплотнения порошка (рисунок 1), состоящая из полого разъемного цилиндра (1 — верхняя часть, 2 — нижняя часть), вкладыша 3 и металлического поддона 4. Объем нижней части формы — (100±3) см.

1 — верхняя часть разъемного цилиндра, 2 — нижняя часть разъемного цилиндра;

3 — вкладыш; 4 — поддон

Рисунок 1 — Форма для определения средней плотности порошка

Весы  4-го класса точности по ГОСТ 24104.

Пресс  гидравлический или механический с нагрузкой не менее 100 кН (10 тс) по ГОСТ 28840.

Противень  металлический размером не менее 25х40 см.

Кисть  мягкая.

Нож  или шпатель.

7.4.2  Порядок подготовки и проведения испытания

Порошок  подготавливают к испытанию по 7.1.4.

Нижнюю  часть формы помещают на поддон, взвешивают, а затем на нее устанавливают верхнюю часть.

Порошок  порциями по 60-80 г переносят в собранную форму, послойно распределяют и штыкуют ножом или шпателем, заполняя ее на 15-20 мм ниже верхнего края, и слегка прижимают вкладышем.

Форму  с порошком устанавливают на нижнюю плиту пресса, плавно доводят уплотняющую нагрузку до 40 МПа и поддерживают в течение 3 мин. После этого нагрузку снимают и форму с вкладышем переносят на противень.

Вкладыш  и верхнюю часть формы снимают, излишек порошка над нижней частью формы срезают ножом, наружные части формы и поддона очищают мягкой кистью.

Нижнюю  часть формы с порошком и с поддоном взвешивают.

7.4.3  Обработка результатов испытания

Среднюю  плотность порошка , г/см, вычисляют по формуле

,                                                                     (6)

где — масса нижней части формы с поддоном и уплотненным минеральным порошком, г;

       — масса нижней части формы с поддоном, г;

       — объем порошка, равный 100 см.

Результат  каждого испытания вычисляют с точностью до второго десятичного знака после запятой. Абсолютное допустимое расхождение между результатами параллельных определений не должно превышать 0,02 г/см.

В  случае превышения абсолютного допустимого расхождения между результатами определений испытание следует повторить до получения допустимого расхождения.

Среднюю  плотность вычисляют как среднеарифметическое значение результатов двух параллельных испытаний.

     7.5 Определение пористости

Пористость  минерального порошка определяют расчетом на основании предварительно установленных значений истинной плотности по 7.3 и средней плотности по 7.4.

Пористость  порошка , %, вычисляют по формуле

,                                                       (7)

где — истинная плотность порошка, г/см;

       — средняя плотность порошка, г/см.

Результат  испытаний вычисляют с точностью до целого числа.

     7.6 Определение набухания образцов из смеси порошка с битумом

Сущность  метода заключается в определении приращения объема образцов с водонасыщением от 4% до 5% по объему из смеси порошка с битумом после насыщения их водой в условиях вакуума и последующего выдерживания в горячей воде.

7.6.1  Средства контроля (измерений), аппаратура, материалы, вспомогательные устройства

Весы  4-го класса точности по ГОСТ 24104 с приспособлением для гидростатического взвешивания.

Пресс  гидравлический или механический с нагрузкой не менее 30 кН (3 тс) по ГОСТ 28840.

Мешалка  лабораторная.

Шкаф  сушильный, обеспечивающий регулирование температуры до 200 °С.

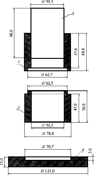
Формы  металлические для изготовления образцов (рисунок 2), отвечающие требованиям 7.6.2. Размеры форм приведены в таблице 2.

Рисунок 2 — Форма для изготовления образцов

Таблица 2








N


Размеры форм, мм


Площадь образца, см
















1


50,5


130


80


50


10


20


2


25,2


70


35


35


10


5


Термометр  стеклянный ртутный с ценой деления шкалы 1 °С.

Установка  вакуумная.

Емкость  вместимостью 2,0-3,0 л.

Чашка  (миска) металлическая.

Битум  нефтяной дорожный вязкий по ГОСТ 22245 с глубиной проникания иглы при температуре 25 °С от 60 до 130, 0,1 мм.

7.6.2  Требования к формам

7.6.2.1  Формы изготавливают из стали с механическими характеристиками не ниже соответствующих конструкционной стали Ст 35 по ГОСТ 1050.

7.6.2.2  На рабочих поверхностях форм, соприкасающихся со смесью при изготовлении образцов, не допускаются трещины, вмятины, риски и т.п. Шероховатость рабочих поверхностей не должна быть более 3,2 мкм.

    

 

7.6.2.3  Допускаемые отклонения от номинальных размеров внутренних диаметров цилиндров и наружных диаметров вкладышей, приведенных на рисунке 2, должны обеспечивать зазор между цилиндром и вкладышем в пределах 0,1-0,3 мм.

7.6.2.4  Отклонение внутренней рабочей поверхности формы от цилиндрического профиля не должно превышать 0,3 мм.

    

 

7.6.2.5  Отклонение от плоскостности торцевых поверхностей вкладышей не должно быть более, мм:

0,015  — для вкладышей диаметром 25,2 мм;

0,025  — для вкладышей диаметром 50,5 мм.

7.6.2.6  Отклонение от перпендикулярности образующей цилиндрической поверхности вкладышей относительно поверхности их оснований не должно быть более, мм:

0,03  — для вкладышей диаметром 25,2 мм;

0,04  — для вкладышей диаметром 50,5 мм.

7.6.3  Порядок подготовки к проведению испытания

Для  установления требуемого соотношения в смеси порошка и битума, при котором водонасыщение образцов будет составлять от 4% до 5%, готовят последовательно несколько смесей с разным содержанием битума.

Ориентировочный  расход битума, % массы порошка, составляет:

для  активированных порошков — 10-15;

для  неактивированных порошков — 13-18;

для  отходов промышленного производства — 25-30.

От  подготовленной по 7.1.4 пробы порошка отвешивают 100 или 1000 г (в зависимости от размера применяемых форм), помещают в металлическую чашку (миску) и нагревают до температур:

для  активированных порошков — от 135 °С до 140 °С;

для  неактивированных порошков и отходов промышленного производства — от 150 °С до 160 °С.

В  нагретый порошок вводят предварительно обезвоженный битум с температурой от 140 °С до 160 °С (в зависимости от марки применяемого битума), перемешивают металлической ложкой, затем смесь помещают в лабораторную мешалку для окончательного перемешивания. Допускается приготовлять смесь вручную. Полученную смесь помещают в сушильный шкаф, где поддерживают температуру, указанную выше для разных видов порошков.

Формы  и вкладыши нагревают до температуры от 90 °С до 100 °С и слегка протирают керосином или маслом.

Форму  со вставленным нижним вкладышем наполняют предварительно взвешенной смесью (от 25 до 30 г или от 200 до 240 г в зависимости от величины формы). Смесь в форме разравнивают, слабо штыкуют 4-5 раз ножом или шпателем, а затем прижимают вставленным в форму верхним вкладышем.

Форму  со смесью устанавливают на нижнюю плиту пресса таким образом, чтобы и верхний и нижний вкладыши выступали из формы на 1-2 см. Верхнюю плиту пресса доводят до соприкосновения с верхним вкладышем и включают электродвигатель пресса. Давление на уплотняемую смесь плавно доводят до 10 МПа и выдерживают под этой нагрузкой 3 мин, после чего нагрузку снимают, а образец извлекают из формы с помощью выжимного приспособления.

Из  каждой смеси изготавливают не менее трех образцов, для которых не ранее чем на следующий день после изготовления определяют водонасыщение по методике оценки водонасыщения, принятой для асфальтобетона в соответствии с разделом 13 ГОСТ 12801.

На  основе полученных данных строят график зависимости водонасыщения от содержания битума в смеси (рисунок 3), по которому определяют количество битума, требуемое для получения водонасыщения в пределах от 4% до 5% по объему. С установленным количеством битума для проведения испытания изготавливают три образца.

Рисунок 3 — Определение требуемого содержания битума

7.6.4  Порядок проведения испытания

Образцы  очищают от прилипших частиц смеси, после чего взвешивают на воздухе и в воде с температурой (20±2) °С.

Взвешенные  образцы помещают в вакуум-прибор с водой с температурой (20±2) °С, при этом уровень воды над образцами должен быть не менее 3 см. В вакуумной установке создают и поддерживают в течение 1 ч давление не более 0,002 МПа (15 мм рт. ст.). Затем давление доводят до атмосферного, при котором образцы выдерживают в течение 30 мин, после чего образцы переносят в другую емкость, в которой в течение 4 ч поддерживают температуру воды (60±2) °С.

Через  4 ч образцы помещают в воду с температурой (20±2) °С и оставляют на 16-18 ч, после чего образцы извлекают из воды, обтирают и взвешивают на воздухе и в воде. Если температура за истекшие 16-18 ч изменилась более чем на 2 °С, то за 30 мин до взвешивания ее доводят до (20±2) °С.

7.6.5  Обработка результатов испытания

Набухание  образцов , %, вычисляют по формуле

,                                                (8)

где — масса образца на воздухе по 7.6.3, г;

       — масса образца в воде по 7.6.3, г;

       — масса образца на воздухе после испытания по 7.6.3, г;

       — масса образца в воде после испытания по 7.6.3, г.

Результат  каждого испытания вычисляют с точностью до первого десятичного знака после запятой. Абсолютное допустимое расхождение между результатами параллельных определений не должно превышать 0,2%.

В  случае превышения абсолютного допустимого расхождения между результатами определений испытание следует повторить до получения допустимого расхождения.

Набухание  вычисляют как среднеарифметическое значение результатов трех параллельных испытаний.

     7.7 Определение водостойкости образцов из смеси порошка с битумом

Сущность  метода заключается в оценке степени падения прочности при сжатии образцов из смеси порошка с битумом после насыщения их водой в условиях вакуума и последующего выдерживания в горячей воде.

7.7.1  Средства контроля (измерений), аппаратура, вспомогательные устройства

Средства  контроля (измерений), аппаратура и вспомогательное оборудование — по 7.6.1 и 15.1 ГОСТ 12801.

7.7.2  Порядок подготовки и проведения испытания

Для  определения водостойкости изготавливают шесть образцов с водонасыщением от 4% до 5% по объему по 7.6.2. Три образца насыщают водой в режиме, приведенном в 7.11.3, и три образца выдерживают перед испытанием по 15.2 ГОСТ 12801.

Прочность  при сжатии образцов определяют при температуре (20±2) °С по ГОСТ 12801.

7.7.3  Обработка результатов испытания

Водостойкость  вычисляют по формуле

,                                                                       (9)

где — предел прочности при сжатии образцов после насыщения водой по 7.11.3, МПа;

       — предел прочности при сжатии образцов, выдержанных перед испытанием по 15.2 ГОСТ 12801, МПа.

     7.8 Определение показателя битумоемкости

Сущность  метода заключается в определении количества масла, при котором смесь его с 100 см порошка имеет заданную консистенцию.

    

 

7.8.1  Средства контроля (измерений), аппаратура, материалы, вспомогательные устройства

Весы  лабораторные 4-го класса точности по ГОСТ 24104.

Прибор  Вика по ГОСТ 310.3 с дополнительным грузом массой (170±0,5) г, укрепленным на верхней площадке стержня и с пестиком диаметром (10±1) мм.

Чашка  металлическая диаметром 50 мм и высотой 20 мм по ГОСТ 9147.

Чашка  фарфоровая диаметром 10-12 см.

Масло  индустриальное марки М.8В по ГОСТ 20799.

Нож  или шпатель.

7.8.2  Порядок подготовки и проведения испытания

Подготовка  порошка к испытанию — по 7.1.4.

Из  подготовленной пробы отвешивают порцию порошка 200-250 г. В фарфоровую чашку отвешивают 15 г масла с температурой (20±2) °С. К маслу постепенно небольшими порциями добавляют порошок и тщательно перемешивают с ним. Когда смесь приобретает пастообразную консистенцию и не прилипает к стенкам и дну фарфоровой чашки, ее помещают в металлическую чашку, выглаживая ножом или шпателем вровень с краями. Металлическую чашку со смесью устанавливают на подставку прибора Вика, подводят пестик к поверхности смеси и отмечают положение указателя на шкале. Затем пестик поднимают над поверхностью смеси на 20 мм и дают возможность стержню с пригрузом и пестиком свободно погружаться в смесь в течение 5 с, после чего отмечают положение указателя на шкале и определяют глубину погружения, которая должна быть 8 мм.

Если  полученная величина погружения больше 8 мм, смесь вновь помещают в фарфоровую чашку, добавляют порошок, перемешивают и повторяют испытание.

Если  полученная величина погружения меньше 8 мм, делают новую смесь порошка с маслом, используя количество порошка меньше первоначального, и снова повторяют испытание.

7.8.3  Обработка результатов испытания

Показатель  битумоемкости , г, вычисляют по формуле

,                                                            (10)

где — масса отвешенной порции порошка, г;

       — масса оставшегося после испытания порошка, г;

       — истинная плотность порошка, г/см;

       — объем порошка, см.

Результат  каждого испытания вычисляют с точностью до целого числа. Абсолютное допустимое расхождение между результатами параллельных определений не должно превышать 2 г.

В  случае превышения абсолютного допустимого расхождения между результатами определений испытание следует повторить до получения допустимого расхождения.

Показатель  битумоемкости порошка вычисляют как среднеарифметическое значение результатов двух параллельных испытаний.

     7.9 Определение гидрофобности активированного порошка

Сущность  метода состоит в оценке способности порошка не смачиваться водой.

7.9.1  Средства контроля (измерений), аппаратура, материалы, вспомогательные устройства

Весы  лабораторные 4-го класса точности по ГОСТ 24104.

Стакан  стеклянный вместимостью 500-800 мл по ГОСТ 23932.

Шпатель.

Вода  дистиллированная по ГОСТ 6709.

7.9.2  Порядок подготовки и проведения испытания

Порошок  подготавливают к испытанию по 7.1.4.

7.9.3  Определение гидрофобности методом свободного флотирования

Стеклянный  стакан заполняют дистиллированной водой на 50 мм ниже края. От подготовленной пробы отвешивают около 2 г порошка, ссыпают его со шпателя на поверхность воды легким постукиванием шпателя по краю стакана.

Стакан  с водой и порошком оставляют в покое на 24 ч.

Порошок  считают гидрофобным, если за 24 ч он не осядет на дно, и не будет наблюдаться видимого смачивания порошка водой.

7.9.4  Определение гидрофобности ускоренным методом

Стеклянный  стакан заполняют дистиллированной водой на 50 мм ниже края и ставят на уровне глаз (для удобства наблюдения) на ровную поверхность (стол или подставку), предварительно покрытую листом бумаги, на которую нанесены две параллельные линии на расстоянии 50 мм друг от друга.

Стакан  устанавливают таким образом, чтобы одна из линий на бумаге являлась касательной к основанию стакана.

От  подготовленной пробы порошка отвешивают около 0,5 г и ссыпают его со шпателя на поверхность воды легким постукиванием шпателя по краю стакана. Стакан двигают от одной линии к другой и обратно.

Цикл,  включающий два движения (путь в 100 мм), должен выполняться за 1 с плавно, без рывков.

Порошок  считают гидрофобным, если после 10 циклов перемещений стакана не наблюдается даже легких ("туманных") потоков порошка с поверхности воды ко дну стакана.

     7.10 Определение влажности

Сущность  метода заключается в определении содержания влаги в порошке.

7.10.1  Средства контроля (измерений), аппаратура, вспомогательные устройства

Весы  лабораторные 4-го класса точности по ГОСТ 24104.

Шкаф  сушильный.

Чашки  фарфоровые диаметром 10-15 см по ГОСТ 9147.

Эксикатор  с безводным хлористым кальцием по ГОСТ 450.

7.10.2  Порядок подготовки и проведения испытания

Вымытые  чашки помещают не меньше чем на 30 мин в сушильный шкаф при температуре (105±5) °С, затем охлаждают в эксикаторе до комнатной температуры.

Испытание  проводят в двух чашках. Каждую чашку, подготовленную как указано выше, взвешивают. Из пробы порошка берут две навески по (50±5) г и высыпают в чашки, заполняя их равномерно без уплотнения. Чашки с порошком взвешивают и помещают в сушильный шкаф с температурой (105±5) °С, где высушивают порошок до постоянной массы, для установления которой чашки с порошком взвешивают через каждый час, охлаждая предварительно до комнатной температуры в эксикаторе с безводным хлористым кальцием.

7.10.3  Обработка результатов испытания

Влажность  порошка , % по массе, вычисляют по формуле

,                                                              (11)

где — масса чашки с порошком до высушивания, г;

       — масса чашки с порошком после высушивания, г;

       — масса чашки, г.

Результат  каждого испытания вычисляют с точностью до первого десятичного знака после запятой. Абсолютное допустимое расхождение между результатами параллельных определений не должно превышать 0,2%.

В  случае превышения абсолютного допустимого расхождения между результатами определений испытание следует повторить до получения допустимого расхождения.

Влажность  порошка вычисляют как среднеарифметическое значение результатов двух параллельных испытаний.

     7.11 Определение содержания активирующих веществ в активированном порошке

7.11.1  Колориметрический метод

Сущность  метода заключается в определении содержания активирующего вещества путем сравнения цвета растворителя, которым обрабатывается порошок, с цветом эталонов.

Данный  метод непригоден в случае применения для активации порошков материалов, не окрашивающих растворитель.

7.11.1.1  Средства контроля (измерений), аппаратура, материалы, вспомогательные устройства

Весы  лабораторные 4-го класса точности по ГОСТ 24104.

Центрифуга  лабораторная.

Цилиндр  мерный вместимостью 10 мл по ГОСТ 1770.

Часы  песочные на 1 мин или секундомер.

Пробирки  по ГОСТ 1770 и штативы для них.

Растворители:  бензол по ГОСТ 9572, хлороформ по ГОСТ 20015, толуол по ГОСТ 14710 или смесь их со спиртом по ГОСТ 18300 (в соотношении от 4:1 до 2:1).

Пробки  корковые по ГОСТ 5541.

Парафин  по ГОСТ 23683.

7.11.1.2  Порядок подготовки к проведению испытания

В  лабораторной мельнице приготавливают 8 проб активированных порошков по 2000 г каждая с содержанием активирующего вещества 0,25, 0,50, 0,75, 1,0, 1,25, 1,50, 1,75 и 2,0% массы минеральной части.

Каждую  приготовленную пробу тщательно перемешивают, уменьшают методом квартования до 125 г, отвешивают от нее по 1 г порошка и высыпают в чистые сухие пробирки, в которые затем заливают 10 мл растворителя. Пробирки закрывают корковыми пробками, тщательно встряхивают в течение 1 мин и центрифугируют в течение 3 мин при скорости центрифуги 3000-5000 об/мин.

При  отсутствии центрифуги пробирки после встряхивания оставляют в покое на 24 ч.

Затем  верхний конец пробирки вместе с пробкой парафинируют, пробирки маркируют с указанием содержания активирующего вещества в порошке и устанавливают в штатив.

Цвет  раствора в пробирке служит эталоном при определении содержания активирующего вещества в порошке.

7.11.1.3  Порядок проведения испытания

Пробу  порошка массой 500 г тщательно перемешивают, уменьшают методом квартования до 50-100 г, отвешивают от нее 1 г порошка, высыпают его в пробирку и обрабатывают растворителем, как указано в 7.11.1.2.

7.11.1.4  Обработка результатов испытания

Цвет  полученного в пробирке раствора сравнивают с эталонами, приготовленными по 7.11.1.2, и устанавливают содержание активирующего вещества в порошке.

Содержание  активирующего вещества в минеральном порошке определяют по результатам двух параллельных испытаний.

7.11.2  Метод выжигания

Содержание  активирующего вещества в минеральном порошке определяют по потере массы при выжигании по 23.3 ГОСТ 12801, при этом масса испытуемой пробы должна быть не менее 50 г.

     7.12 Определение содержания водорастворимых соединений

Сущность  метода заключается в определении содержания в порошке соединений, способных растворяться в воде.

7.12.1  Средства контроля (измерений), аппаратура, материалы, вспомогательные устройства

Весы  лабораторные 4-го класса точности по ГОСТ 24104.

Колбы  конические вместимостью 250 мл по ГОСТ 23932.

Колбы  для промывания по ГОСТ 23932.

Холодильник  обратный по ГОСТ 23932.

Стаканчики  стеклянные вместимостью 50 мл по ГОСТ 23932.

Шкаф  сушильный.

Эксикатор  по ГОСТ 23932 с безводным хлористым кальцием по ГОСТ 450.

Баня  песчаная.

Вода  дистиллированная по ГОСТ 6709.

Бумага  фильтровальная по ГОСТ 12026.

7.12.2  Порядок подготовки и проведения испытания

Порошок  подготавливают к испытанию по 7.1.4.

Из  подготовленной пробы берут навеску массой около 50 г, всыпают ее в коническую колбу и заливают 100 мл дистиллированной воды. На колбе закрепляют обратный холодильник. Содержимое колбы нагревают до кипения на песчаной бане, кипятят в течение часа, после чего охлаждают до комнатной температуры. Образовавшуюся водную вытяжку выливают во вторую колбу через фильтр, предварительно смоченный дистиллированной водой. Остаток в первой колбе промывают дистиллированной водой порциями по 20-25 мл и также сливают через фильтр во вторую колбу. Из второй колбы фильтрат частями переносят в предварительно высушенный до постоянной массы и взвешенный стеклянный стаканчик и выпаривают из него воду на песчаной бане. После того как водная вытяжка, перенесенная в стаканчик, выпарится до объема около 5 мл остаток сушат до постоянной массы в сушильном шкафу при температуре (105±5) °С и после охлаждения в эксикаторе взвешивают.

7.12.3  Обработка результатов испытания

Содержание  водорастворимых соединений , % по массе, вычисляют по формуле

,                                                         (12)

где — масса навески минерального порошка, г;

       — масса стаканчика с сухим остатком, г;

       — масса стаканчика, г.

Результат  каждого испытания вычисляют с точностью до второго десятичного знака после запятой. Абсолютное допустимое расхождение между результатами параллельных определений не должно превышать 0,03%.

В  случае превышения абсолютного допустимого расхождения между результатами определений испытание следует повторить до получения допустимого расхождения.

Содержание  водорастворимых соединений вычисляют как среднеарифметическое значение результатов двух параллельных испытаний.

  

   

7.13  Содержание активных (СаО+MgO) и полуторных (AlO+FеО) окислов определяют по ГОСТ 8269.1.

 

    

7.14  Потери при прокаливании зол-уноса и золошлаковых смесей тепловых электростанций определяют по ГОСТ 11022.

7.15  Величину суммарной удельной эффективной активности естественных радионуклидов определяют по ГОСТ 30108.

     8 Транспортирование и хранение

8.1  Порошок транспортируют в цементовозах, контейнерах, закрытых вагонах-бункерах или упакованными в многослойные бумажные или полиэтиленовые мешки в обычных закрытых вагонах.

Для  внутризаводского транспортирования порошка следует использовать пневмотранспорт, а также транспортеры, конвейеры и шнеки, закрытые кожухами.

8.2  Порошки хранят в бункерах или в силосных хранилищах, а порошок, упакованный в мешки, — в закрытых складах.

При  хранении порошков в силосных хранилищах следует принимать меры против их слеживания — перекачку, аэрирование и т.п.

     9 Гарантии изготовителя

9.1  Предприятие-изготовитель гарантирует соответствие порошка требованиям настоящего стандарта при соблюдении условий транспортирования и хранения.

ПРИЛОЖЕНИЕ А

(рекомендуемое)

     

Область применения минеральных порошков




Марка минерального порошка


Вид минерального порошка


Область применения


МП-1


Активированный и неактивированный из карбонатных горных пород


Смеси асфальтобетонные по ГОСТ 9128









Смеси асфальтобетонные щебеночно-мастичные по ГОСТ 31015









Смеси органоминеральные по ГОСТ 30491





Из некарбонатных горных пород и твердых отходов промышленного производства


Смеси асфальтобетонные по ГОСТ 9128 марок II и III


МП-2






Смеси органоминеральные по ГОСТ 30491




Порошковые отходы промышленного производства


Смеси асфальтобетонные по ГОСТ 9128 марки III









Смеси органоминеральные по ГОСТ 30491


ПРИЛОЖЕНИЕ Б

(справочное)

     

Перечень нормативных документов, ссылки на которые приведены в настоящем стандарте

ГОСТ  310.3-76 Цементы. Методы определения нормальной густоты, сроков схватывания и равномерности изменения объема

ГОСТ  450-77 Кальций хлористый технический. Технические условия

ГОСТ  1050-88 Прокат сортовой калиброванный, со специальной отделкой поверхности из углеродистой качественной конструкционной стали. Общие технические условия

ГОСТ  1770-74 Посуда лабораторная стеклянная. Цилиндры, мензурки, колбы, пробирки. Технические условия

ГОСТ  3900-85 Нефть и нефтепродукты. Методы определения плотности

ГОСТ  3956-76 Силикагель технический. Технические условия

ГОСТ  5541-2002 Средства укупорочные корковые. Технические условия

ГОСТ  6613-86 Сетки проволочные тканые с квадратными ячейками. Технические условия

ГОСТ  6709-72 Вода дистиллированная. Технические условия

ГОСТ  8269.1-97 Щебень и гравий из плотных горных пород и отходов промышленного производства для строительных работ. Методы химического анализа

ГОСТ  9128-97 Смеси асфальтобетонные дорожные, аэродромные и асфальтобетон. Технические условия

ГОСТ  9147-80 Посуда и оборудование лабораторные фарфоровые. Технические условия

ГОСТ  9572-93 Бензол нефтяной. Технические условия

ГОСТ  11022-95 Топливо твердое минеральное. Методы определения зольности

ГОСТ  12026-76 Бумага фильтровальная лабораторная. Технические условия

ГОСТ  12801-98 Материалы на основе органических вяжущих для дорожного и аэродромного строительства. Методы испытаний

ГОСТ  14710-78 Толуол нефтяной. Технические условия

ГОСТ  18300-87 Спирт этиловый ректификованный технический. Технические условия

ГОСТ  20015-88 Хлороформ. Технические условия

ГОСТ  20799-88 Масла индустриальные. Технические условия

ГОСТ  22245-90 Битумы нефтяные дорожные вязкие. Технические условия

ГОСТ  23683-89 Парафины нефтяные твердые. Технические условия

ГОСТ  23932-90 Посуда и оборудование лабораторные стеклянные. Общие технические условия

ГОСТ  24104-2001 Весы лабораторные. Общие технические требования

ГОСТ  28840-90 Машины для испытания материалов на растяжение, сжатие и изгиб. Общие технические требования

ГОСТ  30108-94 Материалы и изделия строительные. Определение удельной эффективной активности естественных радионуклидов

ГОСТ  30491-97 Смеси органоминеральные и грунты, укрепленные органическими вяжущими, для дорожного и аэродромного строительства. Технические условия

ГОСТ  31015-2002 Смеси асфальтобетонные и асфальтобетон щебеночно-мастичные. Технические условия

ГОСТ  Р 51232-98 Вода питьевая. Общие требования к организации и методам контроля качества

Примечание  — При пользовании настоящим стандартом целесообразно проверить действие ссылочных стандартов по указателю "Государственные стандарты", составленному по состоянию на 1 января текущего года, и по соответствующим указателям, опубликованным в текущем году. Если ссылочный документ заменен (изменен), то при пользовании настоящим стандартом следует руководствоваться замененным (измененным) стандартом. Если ссылочный документ отменен без замены, то положение, в котором дана ссылка на него, применяется в части, не затрагивающей эту ссылку.

Текст документа сверен по:

официальное издание

М.: Госстрой России, ФГУП ЦПП, 2004

Предоставлено компанией .