|
ФЕДЕРАЛЬНОЕ АГЕНТСТВО |
||
|
|
НАЦИОНАЛЬНЫЙ |
ГОСТ Р |
Шум машин
ЭЛЕКТРОАГРЕГАТЫ ГЕНЕРАТОРНЫЕ ПЕРЕМЕННОГО ТОКА С ПРИВОДОМ
ОТ ДВИГАТЕЛЯ ВНУТРЕННЕГО СГОРАНИЯ
Измерение шума методом охватывающей поверхности
ISO 8528-10:1998
Reciprocating Internal combustion engine driven alternating current generating sets —
Part 10: Measurement of airborne noise by the enveloping surface method
(MOD)
|
|
Москва |
Предисловие
Цели и принципы стандартизации в Российской Федерации установлены Федеральным законом от 27 декабря
Сведения о стандарте
1. ПОДГОТОВЛЕН Автономной некоммерческой организацией «Научно-исследовательский центр контроля и диагностики технических систем» (АНО «НИЦ КД») на основе собственного аутентичного перевода стандарта, указанного в пункте 4
2. ВНЕСЕН Техническим комитетом по стандартизации ТК 358 «Акустика»
3. УТВЕРЖДЕН И ВВЕДЕН В ДЕЙСТВИЕ Приказом Федерального агентства по техническому регулированию и метрологии от 16 октября
4. Настоящий стандарт является модифицированным по отношению к международному стандарту ИСО 8528-10:1998 «Электроагрегаты генераторные переменного тока с приводом от двигателя внутреннего сгорания. Часть 10. Измерение шума методом охватывающей поверхности» (ISO 8528-10:1998 «Reciprocating internal combustion engine driven alternating current generating sets — Part 10: Measurement of airborne noise by the enveloping surface method») путем изменения отдельных фраз, которые выделены в тексте курсивом, и внесения технических отклонений, объяснение которых приведено в дополнительном .
Наименование настоящего стандарта изменено относительно наименования указанного международного стандарта для приведения в соответствие с ГОСТ Р 1.5-2004 (подраздел 3.5)
5. ВВЕДЕН ВПЕРВЫЕ
Информация об изменениях к настоящему стандарту публикуется в ежегодно издаваемом информационном указателе «Национальные стандарты», а текст изменений и поправок — в ежемесячно издаваемых информационных указателях «Национальные стандарты». В случае пересмотра (замены) или отмены настоящего стандарта соответствующее уведомление будет опубликовано в ежемесячно издаваемом информационном указателе «Национальные стандарты». Соответствующая информация, уведомление и тексты размещаются также в информационной системе общего пользования — на официальном сайте Федерального агентства по техническому регулированию и метрологии в сети Интернет
Содержание
|
|
НАЦИОНАЛЬНЫЙ СТАНДАРТ РОССИЙСКОЙ ФЕДЕРАЦИИ
|
Шум машин ЭЛЕКТРОАГРЕГАТЫ ГЕНЕРАТОРНЫЕ ПЕРЕМЕННОГО ТОКА С ПРИВОДОМ ОТ ДВИГАТЕЛЯ ВНУТРЕННЕГО СГОРАНИЯ Измерение шума методом охватывающей поверхности Noise of machines. Reciprocating internal combustion engine driven alternating current generating sets. Measurement of airborne noise by the enveloping surface method |
Дата введения — 2009-09-01
1. Область применения
Настоящий стандарт устанавливает технический и ориентировочный методы измерения уровня звуковой мощности электроагрегатов генераторных с приводом от двигателя внутреннего сгорания (далее — электроагрегаты) с учетом всех источников шума, исключая выхлопную систему и систему охлаждения в случае, когда их выходные отверстия находятся на удалении от электроагрегата.
Стандарт распространяется на наземные и судовые стационарные и передвижные электроагрегаты переменного и постоянного тока, устанавливаемые на жестких или упругих опорах.
Стандарт не распространяется на электроагрегаты воздушных судов, а также на электроагрегаты для приведения в движение наземных и железнодорожных транспортных средств.
Примечание — Для электроагрегатов специального назначения (например, для медицинских учреждений, высотных зданий и т.п.) могут устанавливаться дополнительные требования.
2. Нормативные ссылки
В настоящем стандарте использованы нормативные ссылки на следующие стандарты:
ГОСТ Р 51401-99 (ИСО 3744-94) Шум машин. Определение уровней звуковой мощности источников шума по звуковому давлению. Технический метод в существенно свободном звуковом поле над звукоотражающей плоскостью
ГОСТ Р 51402-99 (ИСО 3746-95) Шум машин. Определение уровней звуковой мощности источников шума по звуковому давлению. Ориентировочный метод с использованием измерительной поверхности над звукоотражающей плоскостью
ГОСТ 17168-82 Фильтры электронные октавные и третьоктавные. Общие технические требования и методы испытаний
ГОСТ 17187-81 Шумомеры. Общие технические требования и методы испытаний
ГОСТ 30457-97 (ИСО 9614-1-93) Акустика. Определение уровней звуковой мощности источников шума на основе интенсивности звука. Измерение в дискретных точках. Технический метод
ГОСТ 30720-2001 (ИСО 11203-95) Шум машин. Определение уровней звукового давления излучения на рабочем месте и в других контрольных точках по уровню звуковой мощности
ГОСТ 31252-2004 (ИСО 3740:2000) Шум машин. Руководство по выбору метода определения уровней звуковой мощности
Примечание — При пользовании настоящим стандартом целесообразно проверить действие ссылочных стандартов в информационной системе общего пользования — на официальном сайте Федерального агентства по техническому регулированию и метрологии в сети Интернет или по ежегодно издаваемому информационному указателю «Национальные стандарты», который опубликован по состоянию на 1 января текущего года, и по соответствующим ежемесячно издаваемым информационным указателям, опубликованным в текущем году. Если ссылочный стандарт заменен (изменен), то при пользовании настоящим стандартом следует руководствоваться заменяющим (измененным) стандартом. Если ссылочный стандарт отменен без замены, то положение, в котором дана ссылка на него, применяется в части, не затрагивающей эту ссылку.
3. Термины, определения и обозначения величин
В настоящем стандарте применены акустические термины по ГОСТ 31252. Обозначения, наименования и единицы измерения величин, используемых в стандарте, приведены в таблице 1.
Таблица 1 — Обозначения, наименования и единицы измерения величин
|
Обозначение величины |
Наименование |
Единица измерения |
|
i |
Подстрочный индекс, обозначающий номер точки измерения |
— |
|
K1A |
Коррекция на фоновый шум |
дБА |
|
K2A |
Показатель акустических условий |
дБА |
|
|
Средний на поверхности октавный или третьоктавный уровень звукового давления с учетом коррекций на фоновый шум и акустические условия |
дБА |
|
|
Средний на поверхности уровень звука с учетом коррекций на фоновый шум и акустические условия |
дБА |
|
LpAi |
Уровень звука в i-й точке измерения |
дБА |
|
Lpi |
Октавный или третьоктавный уровень звукового давления в i-й точке измерения |
дБА |
|
LWA |
Корректированный по частотной характеристике А уровень звуковой мощности |
дБА |
|
LWoct |
Октавный уровень звуковой мощности |
дБА |
|
LW1/3ost |
Третьоктавный уровень звуковой мощности |
дБА |
|
n |
Число точек измерений |
— |
|
S |
Площадь измерительной поверхности |
м2 |
|
S0 |
Площадь опорной измерительной поверхности |
м2 |
|
ΔLp |
Разность уровней звука (звукового давления) при работе электроагрегата и фонового шума |
дБ |
|
ΔLWA |
Разность корректированных по частотной характеристике А уровней звуковой мощности, определенных по результатам измерений в пяти и девяти точках соответственно (см. ) |
дБА |
|
cos φ |
Коэффициент мощности нагрузки |
— |
4. Дополнительные требования
4.1. Для электроагрегатов, устанавливаемых на судах и плавучих сооружениях, могут быть установлены специальные требования, которые заказчик должен определить до размещения заказа на электроагрегат.
Дополнительные требования к специальным электроагрегатам определяются соглашением между изготовителем и заказчиком,
4.2. При наличии требований, контролируемых органами власти и технического надзора, они должны быть сообщены заказчику до размещения заказа.
Любые другие требования устанавливают по соглашению между изготовителем и заказчиком.
5. Средства измерений
5.1. Для измерений техническим методом применяют шумомеры 1-го класса, для измерений ориентировочным методом — 1-го или 2-го класса по ГОСТ 17187 с полосовыми электронными фильтрами по ГОСТ 17168.
Микрофон должен быть предназначен для измерений в свободном звуковом поле.
5.2. Акустическую калибровку шумомера следует проводить до и после проведения измерений на одной или нескольких частотах диапазона измерений с применением калибратора звука с погрешностью не более ±0,3 дБ.
6. Составляющие шума
Шум электроагрегата включает шум, излучаемый внешними поверхностями двигателя и генератора, шум всасывания и выхлопа, шум системы охлаждения двигателя и вентилятора генератора, а также шум, который излучают, например, присоединенные детали (часта) и несущая рама.
Если электроагрегат полностью или частично заключен в звукоизолирующий кожух, то шумом поверхности является шум, излучаемый кожухом.
В случае, когда одна или большее число указанных составляющих шума отсутствуют в результатах измерений, это указывают в протоколе испытаний.
7. Режим работы электроагрегата
Электроагрегат должен быть подготовлен к работе в соответствии с инструкцией изготовителя.
Так как в условиях эксплуатации электроагрегат работает в различных режимах, испытания на шум следует проводить в режимах, указанных в 7.2 и 7.3 в зависимости от назначения и места установки.
При испытаниях крутящий момент двигателя должен быть постоянным с допускаемой вариацией ±10 %.
Температура атмосферного и всасываемого воздуха не должна превышать 320 К.
Частоту вращения электроагрегата, среднюю выходную электрическую мощность, температуру атмосферного воздуха, тип топлива и его марку указывают в протоколе испытаний.
Электроагрегат должен работать с постоянной выходной мощностью, равной 75 % ее номинального значения.
В протоколе испытаний указывают выходную электрическую мощность, рассчитанную по мощности генератора в киловольтамперах и коэффициенту мощности нагрузки cos φ.
Электроагрегат должен работать при нагрузке, соответствующей номинальной мощности.
Примечание — Режимы работы, указанные в 7.2 и 7.3, определены в [] и [].
7.4. Установка электроагрегата
Электроагрегат устанавливают на плоскую бетонированную или покрытую непористым асфальтом площадку. Расстояние от электроагрегата до ближайшей стены испытательного помещения должно быть в два раза больше расстояния от электроагрегата до микрофона. Передвижные электроагрегаты устанавливают на трейлере согласно рекомендациям изготовителя.
8. Измерительная поверхность, измерительные расстояния и точки измерений
8.1. Измерительная поверхность в форме полусферы
Для определения уровня звуковой мощности с использованием полусферической измерительной поверхности руководствуются [] и [].
8.2. Измерительная поверхность в форме прямоугольного параллелепипеда
Измерительную поверхность в форме прямоугольного параллелепипеда строят относительно огибающего параллелепипеда. Огибающий параллелепипед представляет собой параллелепипед наименьших размеров, охватывающий электроагрегат. При этом выступающие части электроагрегата, излучающие незначительную звуковую энергию, можно не включать в огибающий параллелепипед.
В целях безопасности измерительную поверхность можно расширить, чтобы точки измерений не находились вблизи опасных участков, например, вблизи горячих поверхностей и движущихся частей. Измерительная поверхность эквидистантна поверхности огибающего параллелепипеда, отступает от нее на измерительное расстояние d и заканчивается на поверхности площадки (см. — ).
8.3. Измерительное расстояние
Измерительное расстояние d должно быть равно
8.4. Число и расположение точек измерений
Число точек измерений зависит от размеров электроагрегата и однородности звукового поля.
Расположение и число точек измерений на измерительной поверхности зависит от размеров l1, l2 и l3 огибающего параллелепипеда и показано на рисунках 1 — 4.
Расположение точек измерений для технического и ориентировочного методов измерения одинаково.
Примечания
1 Расположение точек измерений на рисунках 2, 3 и 4 отличается от указанных в ГОСТ Р 51401 и ГОСТ Р 51402.
2 Для определенности можно считать, что на рисунках 1 — 4 двигатель внутреннего сгорания расположен слева, а генератор — справа.
Исследования показали, что корректированный по частотной характеристике А (далее — корректированный по А) уровень звуковой мощности электроагрегата, рассчитанный по результатам измерений в пяти точках (1, 2, 3, 4 и 9 на рисунке 1), обычно превышает уровень, рассчитанный по измерениям в девяти точках, на величину ΔLWA 1).
1) Многочисленные испытания показали, что для различных типов двигателей ΔLWA находится в интервале от 0,7 до 1,8 дБА.
Для каждого типа двигателя электроагрегата требуется предварительное исследование, чтобы убедиться, что значение ΔLWA не превысит 0,5 дБА в противном случае число точек измерений не может быть уменьшено до пяти.
Число точек измерений на рисунках 2, 3 и 4 для технического и ориентировочного методов меньше, чем требуют ГОСТ Р 51401 и ГОСТ Р 51402. Исследования показали, что для всех типов двигателей средние уровни звука на измерительной поверхности, рассчитанные при уменьшенном числе точек измерений, отличаются от уровня звука, рассчитанного по результатам измерений в точках по ГОСТ Р 51401 и ГОСТ Р 51402 соответственно, менее чем на 0,5 дБА.
Если одна из точек измерений недоступна из-за недостатка места для установки микрофона или по другим причинам, то допускается сместить ее на измерительной поверхности, но не более чем на минимально потребное расстояние. Измененное расположение точки должно быть указано в протоколе испытаний.
У всасывающих и выхлопных отверстий микрофоны размещают так, чтобы они не обдувались потоком воздуха или газа.
Примечание — В настоящее время отсутствуют данные о возможности измерений шума при уменьшенном числе точек для электроагрегатов с размерами больше, чем на рисунке 1.
![]()
Рисунок 1 — Расположение девяти точек измерений для электроагрегата с огибающим параллелепипедом с размерами l1 <

![]()
Рисунок 2 — Расположение двенадцати точек измерений для электроагрегата с огибающим параллелепипедом с размерами

![]()
Рисунок 3 — Расположение пятнадцати точек измерений для электроагрегата с огибающим параллелепипедом с размерами l1 >
![]()
Рисунок 4 — Расположение девятнадцати точек измерений для электроагрегата с огибающим параллелепипедом с размерами l1 >
9. Испытательное пространство
9.1. Показатель акустических условий
Для измерений техническим методом (степень точности 2 по ) показатель акустических условий должен быть K2А ≤ 2 дБА, ориентировочным методом (степень точности 3 по таблице 2) — K2А ≤ 7 дБА.
Часто (преимущественно для больших электроагрегатов) измерения могут быть выполнены только ориентировочным методом. В этом случае, по соглашению сторон для повышения точности измерений допускается применение, например, метода звуковой интенсиметрии по ГОСТ 30457 или .
Шум ветра считают одной из составляющих фонового шума. При измерениях вне помещения применяют ветрозащитный экран в соответствии с рекомендациями изготовителя микрофона. При измерениях вне помещения максимальная скорость ветра не должна превышать 8 м/с.
Фоновым шумом считают шум, который генерируется не испытуемым электроагрегатом, а другими источниками шума, в том числе выхлопными и всасывающими отверстиями, если они расположены вдали от электроагрегата, или составными частями электроагрегата, не являющимися объектом измерений.
При измерениях техническим методом коррекция на фоновый шум K1А не должна превышать 1,3 дБ/А, ориентировочным методом — 3 дБА.
Коррекцию на фоновый шум рассчитывают по .
10. Методика измерения
10.1. Общие положения
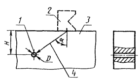
Условия измерений могут оказывать отрицательное влияние на микрофон. Следует избегать воздействия на микрофон сильных электромагнитных полей, потоков воздуха и ветра, низкой и высокой температуры вблизи электроагрегата путем выбора типа микрофона и/или его расположения. Микрофон направляют перпендикулярно грани измерительной поверхности. В угловых точках микрофон направляют в соответствующую вершину огибающего параллелепипеда (см. рисунок 5).
С целью уменьшить влияние оператора, выполняющего измерения, рекомендуется устанавливать микрофон на штативе. Оператор должен находиться не ближе

1 — огибающий параллелепипед
Рисунок 5 — Направления микрофона в точках измерительной поверхности
10.2. Измерения неинтегрирующим шумомером
Измерения выполняют при временной характеристике S («медленно») шумомера. Если изменения уровня звука за время измерений не превышают ±1 дБА, то шум считают постоянным. Среднее значение между максимальным и минимальным уровнем звука за время измерений принимают за результат измерений. Если изменения уровня звука за время измерений превышают ±1 дБА, то шум считают непостоянным и измерения выполняют интегрирующим шумомером.
10.3. Измерения интегрирующим шумомером
Если применяют интегрирующий шумомер, то время интегрирования устанавливают равным продолжительности измерений.
10.4. Измерения при работе злектроагрегата
В каждой точке измерения при работе электроагрегата в режиме, установленном в , измеряют уровень звука и, по соглашению между изготовителем и заказчиком, октавные или третьоктавные уровни звукового давления в заданном диапазоне частот. Одновременное измерение во всех точках не обязательно. Продолжительность измерений в каждой точке должна быть не менее 10 с.
Диапазон частот измерений должен включать октавные (или соответствующие им третьоктавные полосы) со среднегеометрическими частотами от 63 до 8000 Гц.
10.5. Измерение фонового шума
В каждой точке измерений при выключенном электроагрегате измеряют уровень звука и, по соглашению между изготовителем и заказчиком, октавные или третьоктавные уровни звукового давления в заданном диапазоне частот. Продолжительность измерений в каждой точке должна быть не менее 10 с.
11. Определение уровня звуковой мощности
11.1. Коррекция на фоновый шум K1
Уровень звука (октавный или третьоктавный уровень звукового давления), измеренный по 10.4, корректируют на фоновый шум, рассчитывая коррекцию K1, дБА (дБ), по формуле
Коррекции на фоновый шум K1 в зависимости от разности ΔLp между уровнем звука (звукового давления) при работе электроагрегата и уровнем звука (звукового давления) фонового шума приведены в таблице 2.
Таблица 2 — Коррекции на фоновый шум K1
|
Разность между уровнем звука (звукового давления) при работе электрогенератора и уровнем звука (звукового давления) фонового шума ΔLp, дБА (дБ) |
Коррекция на фоновый шум K1 1), ДБА (дБ) |
Степень точности методе |
|
3 |
3,0 |
3 (ориентировочный метод) |
|
4 |
2,2 |
|
|
5 |
1.7 |
|
|
6 |
1,3 |
2 (технический метод) |
|
7 |
1,0 |
|
|
8 |
0,7 |
|
|
9 |
0,6 |
|
|
10 |
0,5 |
|
|
более 10 |
0,0 |
|
|
1) Следует вычесть из уровня звука (уровня звукового давления), измеренного при работе электроагрегата. |
||
11.2. Расчет уровней звукового давления на измерительной поверхности
По корректированным на фоновый шум уровням звука (звукового давления) по 11.1 рассчитывают средний уровень звука (звукового давления) на измерительной поверхности и корректируют его на акустические условия по формулам:
|
|
(2) |
|
|
(3) |
где
— средний на поверхности уровень звука с учетом коррекций на фоновый шум и акустические условия, дБА;
— средний на поверхности октавный или третьоктавный уровень звукового давления с учетом коррекций на фоновый шум и акустические условия, дБ;
LpAi — уровень звука в i-й точке измерения с учетом коррекции на фоновый шум по , дБА;
Lpi — октавный или третьоктавный уровень звукового давления в i-й точке измерения, с учетом коррекции на фоновый шум по , дБ;
п — число точек измерений,
Показатели акустических условий K2А и K2 в испытательном пространстве определяют по ГОСТ Р 51401 и ГОСТ Р 51402.
Примечания. 1. Если разброс значений Lpi — не превышает 5 дБА (дБ), то средний на поверхности уровень звука (уровень звукового давления) с учетом коррекций на фоновый шум рассчитывают как среднеарифметическое уровней в точках измерений. Полученное значение может отличаться от вычисленных по формулам (2) и (3) не более чем на 0,7 дБA (дБ).
2. Если число точек измерений равно пяти (см. ) и уровень звука фонового шума в них одинаковый, то средний на поверхности уровень звука
дБА, рассчитывают по формуле
|
|
(4) |
где ΔLWA — разность корректированных по А уровней звуковой мощности, определенных по результатам предварительных измерений (см. 8.4) в пяти и девяти точках соответственно, дБА.
11.3. Расчет площади измерительной поверхности и уровня звуковой мощности
Площадь измерительной поверхности в форме параллелепипеда S, м2, рассчитывают по формуле
|
S = 4(ас + bc + ab), |
где а, b, с — размеры измерительной поверхности (см. — ).
Примечание — При погрешности определения площади, равной 5%, погрешность определения уровня звуковой мощности равна 0,2 дБ (дБА).
Корректированный по А уровень звуковой мощности LWA (третьоктавный LWA1/3oct октавный LWoct соответственно) рассчитывают по формуле
|
|
(6) |
где LW — корректированный по А уровень звуковой мощности LWA (или третьоктавный LWA1/3oct или октавный LWoct), дБА (дБ);
— средний на поверхности уровень звука (или звукового давления в октавной или в третьоктавной полосе соответственно), дБА (дБ);
S — площадь измерительной поверхности, м2;
S0 — площадь опорной измерительной поверхности, равная
12. Определение уровня звукового давления излучения
Уровень звукового давления излучения Lp, дБ (дБА), в контрольной точке определяют по ГОСТ 30720.
Значение Lp рассчитывают по формуле
|
|
где LW — корректированный по А уровень звуковой мощности электроагрегата (или уровень звуковой мощности в полосе частот), дБА (дБ);
S — площадь поверхности, охватывающей электроагрегат, на которой находится контрольная точка. Обычно принимают, что контрольная точка находится на расстоянии
S0 =
13. Неопределенность измерений
В настоящее время отсутствуют достаточные данные для определения стандартного отклонения воспроизводимости. В качестве верхних оценок следует принимать значения, указанные в ГОСТ Р 51401 (таблица 1) и ГОСТ Р 51402 (раздел 2).
14. Регистрируемые данные
Следует указать примененный метод измерений и данные по 14.1 — 14.4.
14.1. Объект испытаний
Регистрируют следующие данные об объекте испытаний:
— изготовитель;
— тип;
— заводской номер;
— габаритные размеры;
— описание звукоизолирующего кожуха, если применяется;
— номинальная электрическая мощность, кВт;
— частота вращения;
— способ монтажа;
— изготовитель двигателя внутреннего сгорания;
— тип двигателя внутреннего сгорания;
— заводской номер двигателя;
— тип и расположение системы впуска;
— тип и расположение выхлопной системы, в том числе выхлопного отверстия;
— тип системы охлаждения;
— вид и марка топлива;
— изготовитель генератора;
— тип генератора, включая описание компоновки электроагрегата;
— заводской номер генератора.
14.2. Условия измерений
Регистрируют следующие данные об условиях измерений:
— средняя электрическая мощность на выходе, кВт;
— частота вращения;
— температура атмосферного воздуха;
— влажность;
— акустические характеристики пола, потолка и стен;
— расположение электроагрегата в испытательном пространстве.
14.3. Средства измерений
Регистрируют следующие данные о средствах измерений:
— изготовитель;
— тип;
— заводские номера;
— примененные методики калибровки;
— место и время калибровки.
14.4. Измеряемые величины и результаты измерений
Регистрируют следующие данные:
— уровень звука LpAi в каждой точке измерения;
— коррекция на фоновый шум K1А;
— показатель акустических условий K2А;
— средний на поверхности уровень звука
;
— площадь измерительной поверхности S;
— корректированный по А уровень звуковой мощности LWA;
— место, время, дата проведения измерений и лицо, ответственное за измерения.
15. Протокол испытаний
Протокол испытаний должен содержать по меньшей мере следующие данные:
— ссылку на настоящий стандарт;
— дополнительные требования в соответствии с ;
— место и дату проведения измерений и лицо, ответственное за измерения;
— подробное описание испытуемого электроагрегата (включая его конфигурацию);
— наименование изготовителя;
— тип;
— описание звукоизолирующего кожуха (если применяется);
— тип системы впуска;
— тип системы выхлопа;
— выходную электрическую мощность (в соответствии с );
— частоту вращения;
— результаты измерений;
— корректированный по А уровень звуковой мощности LWA.
Приложение А
(справочное)
Взаимосвязь с директивами ЕЭС
В методах измерений, установленных настоящим стандартом, используется измерительная поверхность в форме прямоугольного параллелепипеда по ГОСТ Р 51401 и ГОСТ Р 51402.
Директивы 84/535/ЕЕС [] и 84/536/ЕЕС [] предписывают использование полусферической измерительной поверхности радиусом более
Исследования показали, что при использовании измерительной поверхности в форме параллелепипеда при измерительном расстоянии
Для измерений по [] и [] требуются существенно большее испытательное пространство и низкий уровень фонового шума, что значительно усложняет их применение. Многочисленные эксперименты показали, что результаты измерений по настоящему стандарту и по [] и [] сопоставимы.
Методы измерения уровня звука излучения по директивам 84/535/ЕЕС [] (для сварочных электрогенераторов) и 84/536/ЕЕС [] (для электрогенераторов питания) подлежат применению на строительных площадках или на предприятиях строительной индустрии на территории стран Европейского Союза.
Приложение В
(справочное)
Сведения о соответствии ссылочных международных стандартов национальным стандартам Российской Федерации, использованным в настоящем стандарте в качестве нормативных ссыпок
Таблица В.1
|
Обозначение ссылочного национального стандарта Российской Федерации |
Обозначение и наименование ссылочного международного стандарта и условное обозначение степени его соответствия ссылочному национальному стандарту |
|
ГОСТ Р 51401-99 (ИСО 3744-94) |
ИСО 3744:1994 «Акустика. Определение уровней звуковой мощности источников шума по звуковому давлению. Технический метод в существенно свободном звуковом поле над звукоотражающей плоскостью» (MOD) |
|
ГОСТ Р 51402-99 (ИСО 3746-95) |
ИСО 3746:1995 «Акустика. Определение уровней звуковой мощности источников шума по звуковому давлению. Ориентировочный метод с использованием измерительной поверхности над звукоотражающей плоскостью» (MOD) |
|
ГОСТ 17168-82 |
— |
|
ГОСТ 17187-81 |
МЭК 61672-1:2002 «Электроакустика. Шумомеры. Часть 1. Технические требования» (NEQ) |
|
ГОСТ 30457-97 (ИСО 9614-1—93) |
ИСО 9614-1:1993 «Акустика. Определение уровней звуковой мощности источников шума по интенсивности звука. Часть 1. Измерение в дискретных точках» (MOD) |
|
ГОСТ 30720-2001 (ИСО 11203-95) |
ИСО 11203:1995 «Акустика. Определение уровней звукового давления излучения на рабочем месте и в других контрольных точках по уровню звуковой мощности» (MOD) |
|
ГОСТ 31252-2004 (ИСО 3740:2000) |
ИСО 3740:2000 «Акустика. Определение уровней звуковой мощности источников шума. Руководство по применению основополагающих стандартов» (MOD) |
|
Примечание — В настоящей таблице использовано следующее условное обозначение степени соответствия стандартов: — MOD — модифицированные стандарты; — NEQ — неэквивалентные стандарты. |
|
Приложение С
(справочное)
Отличия настоящего стандарта от примененного в нем международного стандарта ИСО 8528-10:1998
С.1. Из исключена информация, приводимая в последующих разделах стандарта. В ИСО 8528-10 раздел 1 имеет следующую редакцию:
«Настоящая часть ИСО 8528 устанавливает методы измерения воздушного шума, излучаемого генераторными электроагрегатами с приводом от двигателя внутреннего сгорания, так что все существенные составляющие шума, например, шум выхлопной системы и системы охлаждения, шум других частей двигателя оцениваются совместно с целью получения сопоставимых результатов. Однако настоящая часть ИСО 8528 не предназначена для определения вклада шума системы выхлопа и системы охлаждения, если он отводится по каналу в сторону.
Основной характеристикой звукового излучения является уровень звуковой мощности,
В зависимости от акустических условий настоящая часть ИСО 8528 обеспечивает измерения со степенью точности 2 или 3. Для степени точности 2 (технический метод по ИСО 3744) требуется, чтобы измерительное пространство представляло собой существенно свободное звуковое поле над звукоотражающей плоскостью (с показателем акустических условий K2А ≤ 2 дБ) и уровень фонового шума был незначительным (коррекция на фоновый шум, K1А ≤ 1,3 дБ). Для степени точности 3 (ориентировочный метод по ИСО 3746) требуется, чтобы показатель акустических условий K2А был менее или равен 7 дБ и коррекция на фоновый шум K1А была менее или равна 3 дБ.
При постоянном режиме работы электроагрегата настоящая часть ИСО 8528 позволяет рассчитать корректированный по частотной характеристике А уровень звуковой мощности, а также октавные и третьоктавные уровни звуковой мощности с соответствующей степенью точности.
Настоящая часть ИСО 8528 распространяется на наземные и морские стационарные или передвижные электроагрегаты переменного тока с приводом от двигателя внутреннего сгорания с жестким или упругим креплением. Он не распространяется на электроагрегаты воздушных судов, а также на электроагрегаты, используемые для приведения в движение наземных и железнодорожных транспортных средств.
Примечания
1. Настоящая часть ИСО 8528, разработанная для электроагрегатов переменного тока, может применяться также для электроагрегатов постоянного тока.
2. Для некоторых специальных применений (например, электроснабжение медицинских учреждений, высотных зданий и т. п.) могут быть установлены дополнительные требования.
3. Достоверное сопоставление может проводиться только для электроагрегатов, испытанных одним и тем же методом».
С.2 Из исключены без замены ссылки на невведенные международные стандарты ИСО 700, ИСО 3046-1:1995, ИСО 8528-1:1993, ИСО 8528-2:1993, ИСО 9614-2:1996.
Дополнительно введены ссылки на ГОСТ 17168 и ГОСТ 31252.
С.3. В связи с тем, что ИСО 3046-1, ИСО 8528-1 и ИСО 8528-2 не введены в Российской Федерации, из исключен первый абзац:
«Для целей настоящего стандарта применяются следующие термины и определения:
— по акустике — в соответствии с ИСО 3744 и ИСО 3746;
— по двигателям внутреннего сгорания — в соответствии с ИСО 3046-1;
— по электроагрегатам — в соответствии с ИСО 8528-1 и ИСО 8528-2».
Раздел 4 «Обозначения величин» ИСО 8528-10 объединен с разделом 3 «Термины и определения».
Обозначения величин представлены в . Нумерация последующих таблиц и разделов настоящего стандарта изменена. Исключен LS — размер измерительной поверхности, не применяемый в ссылочных стандартах.
С.4. Исключен малозначительный раздел 6 ИСО 8528-10. В ИСО 8528-10 раздел 6 имеет следующую редакцию:
6. Обозначение метода измерений
Измерение шума методом степени точности 2 в соответствии с настоящей частью стандарта обозначают следующим образом:
Измерение шум техническим методом по ИСО 8528-10.
Измерение шума методом степени точности 3 в соответствии с настоящей частью стандарта обозначают следующим образом:
Измерение шума ориентировочным методом по ИСО 8528-10».
В связи с исключением раздела 6 нумерация последующих разделов настоящего стандарта изменена.
С.5. В вместо фразы «Средства измерений должны соответствовать требованиям ИСО 3744 и ИСО 3746» и для удобства пользования настоящим стандартом приведены требования к средствам измерений из ссылочных стандартов.
С.6. Из исключено требование указывать в протоколе испытаний цетановое число топлива, так как достаточно указать только вид и марку топлива. Требование об указании цетанового числа отсутствует в ИСО 8528-10 в разделах «Регистрируемая информация» и «Протокол испытаний».
С.7. Из исключено примечание:
Примечание — Приведенный режим работы идентичен режиму, определенному Европейской директивой 84/536/ЕЕС».
Информация перенесена в примечание .
С.8. В фраза: «Точки измерений, показанные на рисунках 2, 3 и 4, представляют более простой вариант расположения по сравнению с ИСО 3744 и ИСО 3746», — вынесена в примечание и редакция ее изменена.
На рисунках 1 — 4 исключены цифры обозначения условного места расположения двигателя внутреннего сгорания и генератора. Вместо этого перед рисунками добавлено соответствующее примечание,
Последняя фраза вынесена в примечание.
С.9. Из исключена фраза «Показатель акустических условий рассчитывают в соответствии с ИСО 3744 и ИСО 3746», так как данное указание содержится в .
С.10. Из исключена последняя фраза «Коррекции на фоновый шум определяют в соответствии с ИСО 3744 или ИСО 3746» в связи с тем, что указание об этом имеется в подразделе 11.2.
С.11. Из исключена последняя фраза «При необходимости могут быть проведены измерения на более низких частотах для того, чтобы иметь уверенность о включении в результат измерений значений низкочастотных компонент», так как измерения в более низком диапазоне частот согласно ссылочным стандартам не проводят.
С.12. Изменено наименование : «Определение корректированного по А уровня звуковой мощности» в связи с тем, что в данном разделе определяются также уровни мощности в полосах частот.
С.13. В коррекции на фоновый шум, представленные в , распространены на уровень звукового давления.
С.14. Из исключена фраза «Опорный уровень звукового давления равен 20 мкПа» как ошибочная.
С.15. В в связи с тем, что в стандарте не используется звукопоглощающий пол, исключен следующий текст:
«S = 4[а(с + d) + b(c + d) + 2аb] для звукопоглощающего пола.
В обеих формулах:
2а — длина прямоугольного параллелепипеда (длина огибающего параллелепипеда l1 плюс два измерительных расстояния d);
2b — ширина прямоугольного параллелепипеда (ширина огибающего параллелепипеда l2 плюс два измерительных расстояния d);
2с — высота прямоугольного параллелепипеда (высота огибающего параллелепипеда от пола l3 плюс измерительное расстояние d)».
Исключена фраза после «Площадь измерительной поверхности допускается измерять приблизительно». Следующая за ней фраза вынесена в примечание.
С.16. В в вместо величины
в левой части формулы указана величина Lp.
С.17. Библиография дополнена ссылкой на ИСО 9814-2:1996.
С.18. Другие не указанные в настоящем приложении незначительные редакционные отличия или сокращения текста имеют целью приведение его в соответствие с требованиями ГОСТ Р 1.5-2004.
Библиография
[1] 84/535/ЕЕС Council Directive of 17 September 1984 on the approximation of the laws of the Member States relating to the permissible sound power levels of welding generators
[2] 84/536/EEC Council Directive of 17 September 1984 on the approximation of the laws of the Member States relating to the permissible sound power levels of power generators
[3] ISO 9614-2:1996 Acoustics — Determination of sound power levels of noise sources using sound intensity — Part 2: Measurement by scanning
Ключевые слова: генераторный электроагрегат, шум электрогенератора, технический метод измерения шума, ориентировочный метод измерения шума, корректированный по А уровень звуковой мощности, уровень звука излучения на рабочем месте, неопределенность измерений




