ФЕДЕРАЛЬНОЕ АГЕНТСТВО
ПО ТЕХНИЧЕСКОМУ РЕГУЛИРОВАНИЮ И МЕТРОЛОГИИ
|
|
НАЦИОНАЛЬНЫЙ |
ГОСТ Р |
Государственная система обеспечения единства
измерений
МИКРОСКОПЫ СКАНИРУЮЩИЕ ЗОНДОВЫЕ
АТОМНО-СИЛОВЫЕ
Методика калибровки
|
|
Москва Стандартинформ 2008 |
Предисловие
Цели и принципы стандартизации в Российской Федерации установлены Федеральным законом от 27 декабря 2002 г. № 184-ФЗ «О техническом регулировании», а правила применения национальных стандартов Российской Федерации — ГОСТ Р 1.0-2004 «Стандартизация в Российской Федерации. Основные положения»
Сведения о стандарте
1 РАЗРАБОТАН Открытым акционерным обществом «Научно-исследовательский центр по изучению свойств поверхности и вакуума» и Государственным образовательным учреждением высшего профессионального образования «Московский физико-технический институт (государственный университет)»
2 ВНЕСЕН Техническим комитетом по стандартизации ТК 441 «Нанотехнологии и наноматериалы» Федерального агентства по техническому регулированию и метрологии
3 УТВЕРЖДЕН И ВВЕДЕН В ДЕЙСТВИЕ Приказом Федерального агентства по техническому регулированию и метрологии от 20 ноября 2007 г. № 318-ст
4 ВВЕДЕН ВПЕРВЫЕ
Информация об изменениях к настоящему стандарту публикуется в ежегодно издаваемом информационном указателе «Национальные стандарты», а текст изменений и поправок — в ежемесячно издаваемых указателях «Национальные стандарты». В случае пересмотра (замены) или отмены настоящего стандарта соответствующее уведомление будет опубликовано в ежемесячно издаваемом указателе «Национальные стандарты». Соответствующая информация, уведомление и тексты размещаются также в информационной системе общего пользования — на официальном сайте Федерального агентства по техническому регулированию и метрологии в сети Интернет
Содержание
|
|
ГОСТ Р 8.635-2007
НАЦИОНАЛЬНЫЙ СТАНДАРТ РОССИЙСКОЙ ФЕДЕРАЦИИ
Государственная система обеспечения единства измерений
МИКРОСКОПЫ СКАНИРУЮЩИЕ ЗОНДОВЫЕ
АТОМНО-СИЛОВЫЕ
Методика калибровки
State system for ensuring the uniformity of measurements.
Atomic-force scanning probe microscopes.
Methods for calibration
Дата введения — 2008-08-01
1 Область применения
Настоящий стандарт распространяется на сканирующие зондовые атомно-силовые микроскопы (далее — микроскопы), применяемые для измерений линейных размеров в диапазоне от 10-9 до 10-6 м, и устанавливает методику их калибровки с использованием рельефных мер по ГОСТ Р 8.628 и ГОСТ Р 8.629.
2 Нормативные ссылки
В настоящем стандарте использованы нормативные ссылки на следующие стандарты:
ГОСТ Р 8.628-2007 Государственная система обеспечения единства измерений. Меры рельефные нанометрового диапазона из монокристаллического кремния. Требования к геометрическим формам, линейным размерам и выбору материала для изготовления
ГОСТ Р 8.629-2007 Государственная система обеспечения единства измерений. Меры рельефные нанометрового диапазона с трапецеидальным профилем элементов. Методика поверки
ГОСТ Р ИСО 14644-2-2001 Чистые помещения и связанные с ними контролируемые среды. Часть 2. Требования к контролю и мониторингу для подтверждения постоянного соответствия ГОСТ Р ИСО 14644-1*
___________
* ГОСТ Р ИСО 14644-1-2000 отменен; с 01.04.2004 г. действует ГОСТ ИСО 14644-1-2002.
ГОСТ Р ИСО 14644-5-2005 Чистые помещения и связанные с ними контролируемые среды. Часть 5. Эксплуатация
ГОСТ 12.2.061-81 Система стандартов безопасности труда. Оборудование производственное. Общие требования безопасности к рабочим местам
ГОСТ ИСО 14644-1-2002 Чистые помещения и связанные с ними контролируемые среды. Часть 1. Классификация чистоты воздуха
Примечание — При пользовании настоящим стандартом целесообразно проверить действие ссылочных стандартов в информационной системе общего пользования — на официальном сайте Федерального агентства по техническому регулированию и метрологии в сети Интернет или по ежегодно издаваемому информационному указателю «Национальные стандарты», который опубликован по состоянию на 1 января текущего года, и по соответствующим ежемесячно издаваемым информационным указателям, опубликованным в текущем году. Если ссылочный документ заменен (изменен), то при пользовании настоящим стандартом следует руководствоваться заменяющим (измененным) документом. Если ссылочный документ отменен без замены, то положение, в котором дана ссылка на него, применяется в части, не затрагивающей эту ссылку.
3 Термины и определения
В настоящем стандарте применены следующие термины с соответствующими определениями.
3.1 рельеф поверхности твердого тела (рельеф поверхности): Поверхность твердого тела, отклонения которой от идеальной плоскости обусловлены естественными причинами или специальной обработкой.
3.2 элемент рельефа поверхности (элемент рельефа): Пространственно локализованная часть рельефа поверхности.
3.3 пиксель: Наименьший дискретный элемент изображения, получаемый в результате математической обработки информативного сигнала.
3.4 сканирование элемента исследуемого объекта (сканирование): Построчное перемещение зонда над выбранным элементом рельефа поверхности исследуемого объекта с одновременной регистрацией информативного сигнала.
3.5 изображение на экране монитора микроскопа (видеоизображение): Изображение на экране монитора микроскопа в виде матрицы из п строк по т пикселей в каждой, яркость которых прямо пропорциональна значению сигнала соответствующей точки матрицы.
Примечание — Яркость пикселя определяется силой света, излучаемой в направлении глаза наблюдателя.
3.6 видеопрофиль информативного сигнала (видеопрофиль): Графическая зависимость значения информативного сигнала, поступающего с детектора микроскопа, от номера пикселя в данной строке видеоизображения.
3.7 масштабный коэффициент видеоизображения микроскопа (масштабный коэффициент): Отношение значения длины исследуемого элемента рельефа на объекте измерений к числу пикселей этого элемента на видеоизображении.
Примечание — Масштабный коэффициент определяют для каждого микроскопа.
3.8 эффективный радиус острия зонда микроскопа (эффективный радиус зонда): Радиус сферы, характеризующей геометрические размеры острия зонда микроскопа.
Примечание — Эффективный радиус зонда микроскопа определяют по значению радиуса сферы, вписанной в острие зонда при одновременном касании острия боковой грани выступа и дна канавки рельефной меры по ГОСТ Р 8.629.
3.9 Z-сканер сканирующего зондового атомно-силового микроскопа (Z-сканер): Устройство сканирующего зондового атомно-силового микроскопа, позволяющее в процессе сканирования перемещать зонд над поверхностью исследуемого объекта (или исследуемый объект под зондом) в вертикальном направлении.
3.10 рельефная мера: Средство измерений длины, представляющее собой твердый объект, линейные размеры элементов рельефа которого установлены с необходимой точностью.
Примечание — Рельефная мера может быть изготовлена с помощью средств микро- и нанотехнологии или представлять собой специально обработанный объект естественного происхождения.
3.11 рельефная мера нанометрового диапазона: Мера, содержащая элементы рельефа, линейный размер хотя бы одного из которых менее 10-6 м.
3.12 элемент рельефа в форме выступа (выступ): Элемент рельефа, расположенной выше прилегающих к нему областей.
3.13 геометрическая форма элемента рельефа: Геометрическая фигура, наиболее адекватно аппроксимирующая форму минимального по площади сечения элемента рельефа.
Пример — Трапецеидальный выступ, представляющий собой элемент рельефа поверхности, геометрическая форма минимального по площади сечения которого наиболее адекватно аппроксимируется трапецией.
4 Технические требования
4.1 Требования к неопределенностям измерений параметров, определяемых в процессе калибровки
4.1.1 Суммарная стандартная неопределенность измерения масштабного коэффициента видеоизображения микроскопа тх должна быть не более 0,01 нм/пиксель.
4.1.2 Суммарная стандартная неопределенность измерения цены деления вертикальной шкалы микроскопа mz должна быть не более 0,01 нм/пиксель.
4.1.3 Суммарная стандартная неопределенность измерения эффективного радиуса острия зонда микроскопа r должна быть не более 1 нм.
4.1.4 Суммарная стандартная неопределенность измерения относительного отклонения Z-сканера микроскопа от ортогональности Zx должна быть не более 0,05.
4.2 Требования к средствам калибровки и вспомогательному оборудованию
4.2.1 Калибровку микроскопа проводят с помощью рельефной меры нанометрового диапазона (далее — рельефная мера), изготовленной по ГОСТ Р 8.628 и поверенной по ГОСТ Р 8.629.
4.2.2 В качестве вспомогательного оборудования применяют оптический микроскоп с увеличением не менее 400х.
4.2.3 Допускается применять другие средства калибровки, точность которых соответствует требованиям настоящего стандарта.
4.3 Требования к условиям проведения калибровки
4.3.1 Калибровку микроскопа проводят в следующих условиях:
— температура окружающей среды ………………………………………(20 ± 3) °С;
— относительная влажность воздуха………………………………………не более 80 %;
— атмосферное давление …………………………………………………..(100±4) кПа;
— напряжение питающей сети …………………………………………….![]()
— частота питающей сети ………………………………………………….50+10 Гц.
4.3.2 Помещение (зона), где размещен микроскоп и средства его калибровки, должно быть в эксплуатируемом состоянии и обеспечивать класс чистоты не более класса 8 ИСО по взвешенным в воздухе частицам размерами 0,5 и 5 мкм и концентрациями, определенными по ГОСТ ИСО 14644-1. Периодичность контроля состояния помещения (зоны) определяют по ГОСТ Р ИСО 14644-2. Эксплуатацию помещения (зоны) осуществляют по ГОСТ Р ИСО 14644-5.
5 Требования к квалификации калибровщиков
Калибровку микроскопов должны проводить штатные сотрудники метрологических служб предприятий, аккредитованных в установленном порядке на проведение калибровочных работ по . Сотрудники должны быть профессионально подготовлены, иметь опыт работы со сканирующими зондовыми атомно-силовыми микроскопами и знать требования настоящего стандарта. Рабочие места калибровщиков должны быть аттестованы по условиям труда в соответствии с требованиями трудового законодательства.
6 Требования по обеспечению безопасности
При проведении калибровки микроскопов необходимо соблюдать правила электробезопасности по ,
и требования по обеспечению безопасности на рабочих местах по ГОСТ 12.2.061, , .
7 Подготовка к процедуре калибровки
7.1 Подготовку к калибровке микроскопа проводят следующим образом:
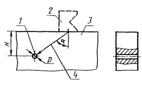
— выбирают необходимую для калибровки микроскопа рельефную меру по , сечение выступа которой приведено на рисунке 1. В качестве исследуемого элемента используют выступ, для которого в паспорте (формуляре) на меру приведены значения проекции боковой грани выступа на плоскость нижнего основания a, ширины нижнего основания выступа bp, высоты выступа h. В зависимости от ожидаемого значения эффективного радиуса зонда микроскопа r используют рельефную меру, для которой
![]()
— проводят осмотр футляра, в котором осуществлялось хранение и транспортирование рельефной меры, на отсутствие механических повреждений;
— проводят проверку соответствия комплекта поставки рельефной меры данным, приведенным в паспорте (формуляре) на рельефную меру;
— выдерживают выбранный экземпляр рельефной меры в помещении, где будет проведена калибровка микроскопа, не менее 24 ч;
— извлекают рельефную меру из футляра и осматривают ее для выявления внешних повреждений (царапин, сколов и других дефектов) и загрязнений. При необходимости поверхность меры очищают от частиц пыли струей очищенного и осушенного воздуха.

Рисунок 1 — Сечение исследуемого элемента рельефной меры
7.2 Выполняют операции, необходимые для подготовки микроскопа к работе. При этом проводят внешний осмотр микроскопа, в процессе которого должно быть установлено:
— соответствие комплекта поставки микроскопа данным, приведенным в паспорте (формуляре);
— отсутствие механических повреждений всех составных частей микроскопа;
— отсутствие механических повреждений соединительных кабелей и сетевых разъемов;
— наличие маркировки на микроскопе и ее соответствие данным, приведенным в паспорте (формуляре).
7.3 Устанавливают рельефную меру на рабочий стол микроскопа.
7.4 Зонд микроскопа устанавливают над поверхностью рельефной меры так, чтобы выступ, указанный в паспорте (формуляре) на эту меру в качестве исследуемого элемента, находился в пределах области сканирования. При выполнении операции целесообразно использовать вспомогательный оптический микроскоп.
7.5 В соответствии с инструкцией по эксплуатации микроскопа проводят операции, необходимые для приведения его в рабочее состояние (на мониторе микроскопа должен появиться информативный сигнал).
7.6 Настраивают устройство регистрации видеоизображения таким образом, чтобы число пикселей в направлении сканирования было достаточным для того, чтобы можно было пренебречь значением неопределенности, обусловленным квантованием видеосигнала. Это достигается выбором соответствующих размеров изображения в пикселях и увеличения микроскопа. Выбор увеличения осуществляют таким образом, чтобы видеопрофиль элемента, изображенного на рисунке 1, имел вид, приведенный на рисунке 2. При этом:
— ширина нижнего основания видеопрофиля Вр должна быть не менее 0,4 общей длины видеопрофиля;
— проекция наклонной стенки видеопрофиля AR и высота выступа по видеопрофилю Н должны быть не менее 200 пикселей.

Рисунок 2 — Видеопрофиль (направление сканирования слева направо)
8 Процедура проведения измерений
8.1 В соответствии с инструкцией по эксплуатации микроскопа выполняют сканирование исследуемого элемента рельефной меры и записывают видеоизображение.
Видеопрофиль, приведенный на рисунке 2, соответствует элементу рельефа, изображенному на рисунке 1.
Значения параметров, указанных на рисунке 2, определяют экспериментально путем обработки полученного видеопрофиля.
8.2 При сканировании исследуемого элемента рельефной меры необходимо, чтобы наклон зонда микроскопа (если имеется) был расположен в плоскости, перпендикулярной к направлению перемещения зонда.
Наклон зонда должен быть не более 20°. При соблюдении дополнительного условия ортогональности вертикального перемещения зонда регистрируемая кривая будет симметричной и значение AL будет равно AR.
Примечание — Если значения AL и AR не равны, то это указывает на неортогональность вертикального перемещения зонда и необходимость определения значения отклонения Z-сканера калибруемого микроскопа по 9.4.
8.3 Результаты измерений параметров рельефной меры, приведенных на рисунке 2, оформляют в виде протокола калибровки. Форма протокола — произвольная. Протокол с результатами калибровки должен храниться как минимум до следующей калибровки микроскопа.
9 Обработка результатов измерений
9.1 Вычисление масштабного коэффициента видеоизображения микроскопа
Масштабный коэффициент видеоизображения микроскопа тх, нм/пиксель, вдоль направления сканирования вычисляют по формуле
![]()
где а — значение проекции наклонной стенки выступа, приведенное в паспорте (формуляре) на рельефную меру, нм;
АR — значение проекции наклонной стенки рельефной меры, измеренное по видеопрофилю, пиксель.
Примечание — При вычислении масштабного коэффициента видеоизображения используют значение проекции наклонной стенки AR, соответствующее движению сканера от вершины выступа к дну канавки. Это значение при выполнении условия по 8.2 не зависит от угла наклона зонда микроскопа.
9.2 Вычисление эффективного радиуса острия зонда микроскопа
Эффективный радиус острия зонда микроскопа r, нм, вычисляют по формуле
r = 0,966 (тхвр — bр),
где тх — масштабный коэффициент видеоизображения микроскопа, вычисленный по 9.1, нм/пиксель;
Вр — ширина нижнего основания, измеренная по видеопрофилю, пиксель;
bр — ширина нижнего основания выступа, приведенная в паспорте (формуляре) на рельефную меру, нм.
9.3 Вычисление цены деления вертикальной шкалы микроскопа
Цену деления вертикальной шкалы микроскопа mz, нм/пиксель, вычисляют по формуле
![]()
где h — высота выступа, приведенная в паспорте (формуляре) на рельефную меру, нм;
Н — высота выступа рельефной меры, измеренная по видеопрофилю, пиксель.
9.4 Вычисление относительного отклонения Z-сканера микроскопа от ортогональности
Если значение AL не равно AR в пределах заданной точности измерений, то относительное отклонение Z-сканера микроскопа от ортогональности по отношению к направлению сканирования Zx (безразмерная величина) вычисляют по формуле
![]()
где тх — масштабный коэффициент видеоизображения микроскопа, вычисленный по , нм/пиксель;
AL, AR — проекции наклонных стенок рельефной меры, измеренные по видеопрофилю в направлении сканирования слева направо, пиксели;
Н — высота выступа рельефной меры, измеренная по видеопрофилю, пиксель;
mz — цена деления вертикальной шкалы микроскопа, вычисленная по , нм/пиксель.
10 Оценка неопределенности измерений параметров
10.1 Суммарную стандартную неопределенность ис(тх), нм/пиксель, измерения масштабного коэффициента видеоизображения микроскопа тх вычисляют по формуле

где тх — масштабный коэффициент видеоизображения микроскопа, вычисленный по , нм/пиксель;
и(а) — стандартная неопределенность измерения проекции наклонной стенки выступа, приведенная в паспорте (формуляре) на рельефную меру, нм;
а — проекция наклонной стенки выступа, приведенная в паспорте (формуляре) на рельефную меру, нм;
u(AR) — стандартная неопределенность измерения проекции наклонной стенки выступа рельефной меры AR, пиксель;
AR — проекция наклонной стенки выступа рельефной меры, измеренная по видеопрофилю, пиксель.
Примечание — Если в паспорте (формуляре) на рельефную меру приведена абсолютная погрешность измерения проекции наклонной стенки выступа, то вычисление и(а) осуществляют по . При равномерном квантовании видеосигнала значение u(AR) принимают равным 0,5 пиксель.
10.2 Суммарную стандартную неопределенность uc(mz), нм, измерения цены деления вертикальной шкалы микроскопа mz вычисляют по формуле

где mz — цена деления вертикальной шкалы микроскопа, вычисленная по , нм/пиксель;
u(h) — стандартная неопределенность измерения высоты выступа, приведенная в паспорте (формуляре) на рельефную меру, нм;
h — высота выступа, приведенная в паспорте (формуляре) на рельефную меру, нм;
и(Н) — стандартная неопределенность измерения высоты выступа рельефной меры по видеопрофилю, пиксель;
Н — высота выступа рельефной меры, измеренная по видеопрофилю, пиксель.
Примечание — Если в паспорте (формуляре) на рельефную меру приведена абсолютная погрешность измерения высоты выступа, то вычисление u(h) осуществляют по . При равномерном квантовании видеосигнала значение и(Н) принимают равным 0,5 пиксель.
10.3 Суммарную стандартную неопределенность ис(r), нм, измерения эффективного радиуса острия зонда микроскопа г вычисляют по формуле
![]()
где ис(тх) — суммарная стандартная неопределенность измерения масштабного коэффициента видеоизображения, вычисленная по , нм/пиксель;
Вр — ширина нижнего основания, измеренная по видеопрофилю, пиксель;
и(Вр) — стандартная неопределенность измерения ширины нижнего основания Вр по видеопрофилю, пиксель;
и(bр) — стандартная неопределенность измерения ширины нижнего основания выступа, приведенная в паспорте (формуляре) на рельефную меру, нм.
Примечание — Если в паспорте (формуляре) на рельефную меру приведена абсолютная погрешность измерения ширины нижнего основания выступа, то вычисление и(bр) осуществляют по . При равномерном квантовании видеосигнала значение и(bр) принимают равным 0,5 пиксель.
10.4 Суммарную стандартную неопределенность и(Zх) относительного отклонения Z-сканера микроскопа от ортогональности вычисляют по формуле

где AL, AR — проекции наклонных стенок выступа рельефной меры, измеренные по видеопрофилю в направлении слева направо, пиксели;
ис(тх) — суммарная стандартная неопределенность измерения масштабного коэффициента видеоизображения микроскопа, вычисленная по , нм/пиксель;
тх — масштабный коэффициент видеоизображения микроскопа, вычисленный по , нм/пиксель;
и(AL), и(AR) — стандартные неопределенности измерений проекций наклонных стенок выступа рельефной меры по видеопрофилю, пиксели;
Н — высота выступа рельефной меры, измеренная по видеопрофилю, пиксель;
mz — цена деления вертикальной шкалы микроскопа, вычисленная по , нм/пиксель;
Zx — относительное отклонение Z-сканера микроскопа от ортогональности по отношению к направлению сканирования, вычисленное по , (безразмерная величина);
и(Н) — стандартная неопределенность измерения высоты выступа рельефной меры по видеопрофилю, пиксель;
ис(тz) — суммарная стандартная неопределенность измерения цены деления вертикальной шкалы микроскопа, вычисленная по , нм/пиксель.
Примечание — При равномерном квантовании видеосигнала значения и(AL), и(AR), и(Н) принимают равными 0,5 пиксель.
11 Оформление результатов калибровки
11.1 Результаты калибровки оформляют в о калибровке установленной формы с соответствующей записью в паспорте (формуляре) на микроскоп и удостоверяют калибровочным знаком, наносимым на микроскоп.
11.2 В сертификате о калибровке и в паспорте (формуляре) на микроскоп должны быть приведены значения масштабного коэффициента видеоизображения микроскопа тх, цены деления вертикальной шкалы микроскопа mz и относительного отклонения Z-сканера микроскопа от ортогональности по отношению к направлению сканирования Zx, а также значение эффективного радиуса острия зонда r. Для перечисленных метрологических характеристик микроскопа необходимо также указать значения неопределенностей, вычисленных по .
Библиография
Ключевые слова: длина, рельефные меры нанометрового диапазона, сканирующие зондовые атомно-силовые микроскопы, методика калибровки
