
ГОСУДАРСТВЕННЫЙ СТАНДАРТ СОЮЗА ССР
ЛАТЕКС СИНТЕТИЧЕСКИЙ БС-30
ТЕХНИЧЕСКИЕ УСЛОВИЯ
ГОСТ 11808-88
Москва 1998
Содержание:
|
|
ГОСУДАРСТВЕННЫЙ СТАНДАРТ СОЮЗА ССР
|
ЛАТЕКС СИНТЕТИЧЕСКИЙ БС-30 ТЕХНИЧЕСКИЕ УСЛОВИЯ Synthetic latex БС-30. |
ГОСТ 11808-88 |
Дата введения 01.07.89
Настоящий стандарт распространяется на синтетический латекс БС-30, получаемый совместной полимеризацией бутадиена со стиролом в соотношении 70:30 в водной эмульсии с применением в качестве эмульгатора смеси сульфанола (алкилсульфоната) и натриевого мыла синтетических жирных кислот.
Латекс БС-30 применяется в качестве связующего или клеящего материала.
1. Технические требования
1.1. Латекс должен быть изготовлен в соответствии с требованиями настоящего стандарта по технологическому регламенту, утвержденному в установленном порядке.
1.2. Характеристики
1.2.1. Латекс должен соответствовать требованиям и нормам, указанным в таблице.
(Измененная редакция, Изм. № 1).
1.2.2. Латекс не должен содержать посторонних включений и коагулюма. Наличие поверхностной пленки дефектом не является.
1.2.3. Латекс перед употреблением должен быть профильтрован через двойной слой марли по ГОСТ 11109-90 или сетку № 1 по ГОСТ 6613-86.
1.2.4. Требования безопасности
1.2.4.1. Латекс БС-30 не взрывоопасен, самопроизвольно не воспламеняется, не горит, не выделяет углеводородов в количествах, достаточных для образования горючих и взрывоопасных смесей.
|
Наименование показателя |
Норма |
Метод испытаний |
|
1. Массовая доля сухого вещества, %, не менее |
40,00 |
По п. |
|
2. Массовая доля антиоксиданта в пересчете на сухое вещество, % П-23 |
1,0-1,5 |
По п. |
|
или ВС-ЗОА |
0,5-1,0 |
По п. |
|
3. Температура желатинизации, ºС, не более |
8,00 |
По п. |
|
4. Стойкость латекса при разведении водой в соотношении 1:100 |
Устойчив (отсутствие коагулюма) |
По п. |
|
5. Массовая доля свободной щелочи, %, не более |
0,10 |
По п. |
|
6. Массовая доля незаполимеризованного стирола, %, не более |
0,10 |
По п. |
|
7. Массовая доля легколетучих углеводородов С2-С4, %, не более |
0,02 |
По п. |
1.2.4.2. По степени воздействия на организм латекс БС-30 относится к малотоксичным и малоопасным продуктам; при непосредственном контакте с незащищенными покровами не вызывает патологических изменений, не обладает способностью к кумуляции. Через поврежденную кожу не проникает, канцерогенными свойствами не обладает.
1.2.4.3. Токсичность латекса обусловлена наличием незаполимеризованного стирола. Стирол по степени воздействия на организм относится к 3-му классу опасности по ГОСТ 12.1.007-76.
Предельно допустимая концентрация паров стирола в воздухе рабочей зоны производственных помещений 10 мг/м3.
Пары стирола в воздухе рабочей зоны определяют хроматографическим методом.
Контроль за предельно допустимой концентрацией паров стирола в воздухе производственных помещений проводят еженедельно.
(Измененная редакция, Изм. № 1).
1.2.4.4. Токсичных соединений в воздушной среде и сточных водах в присутствии других веществ латекс БС-30 не образует.
1.3. Маркировка
На каждое грузовое место наносят транспортную маркировку по ГОСТ 14192-96 с указанием манипуляционного знака «Соблюдение интервала температур от 10 до 75°С».
Кроме того, на тару с грузом наносят следующие дополнительные обозначения:
наименование и (или) товарный знак предприятия-изготовителя;
наименование продукта;
номер партии;
номер места;
массу нетто;
дату изготовления;
обозначение настоящего стандарта.
(Измененная редакция, Изм. № 1).
1.4. Упаковка
Латекс наливают в чистые металлические бочки БС1-200, БЗ1-200 по ГОСТ 13950-91 или БС1-200 по ГОСТ 6247-79.
2. Приемка
2.1. Приемка — по ГОСТ 24920-81.
2.2. Для проверки качества латекса на соответствие требованиям настоящего стандарта проводят приемо-сдаточные и периодические испытания.
Приемо-сдаточные испытания проводят по всем показателям, кроме стойкости латекса при разведении водой и массовой доли свободной щелочи.
2.3. Стойкость латекса при разведении водой и массовую долю свободной щелочи изготовитель проверяет периодически на каждой 20-й партии.
При получении неудовлетворительных результатов периодических испытаний изготовитель переводит испытание по данному показателю в категорию приемо-сдаточных до получения положительных результатов не менее чем на пяти партиях подряд.
Результаты повторных испытаний распространяются на всю партию.
2.2, 2.3. (Введены дополнительно, Изм. № 1).
3. Методы испытаний
3.1. Отбор и подготовка проб — по ГОСТ 24920-81. Объем средней пробы должен быть не менее 1 дм3.
3.2. Определение массовой доли сухого вещества — по ГОСТ 25709-83
3.3. Определение массовой доли антиоксиданта в пересчете на сухое вещество
3.3.1. Определение массовой доли антиоксиданта П-23
3.3.1.1. Аппаратура, посуда, реактивы и материалы
Спектрофотометр типа СФ-16 или СФ-26, или другого типа с аналогичными метрологическими характеристиками.
Баня водяная.
Весы лабораторные общего назначения 2-го класса по ГОСТ 24104-88 с наибольшим пределом взвешивания 200 г.
Колба К-1-100-14/23, 29/32 по ГОСТ 25336-82 с воздушным холодильником (длина трубки 1000 мм, диаметр 10-12 мм) на шлифах.
Колбы мерные 1-10, 1-100 по ГОСТ 1770-74.
Пипетки вместимостью 1 см3.
Цилиндры мерные 1-10, 1-50 по ГОСТ 1770-74.
Спирт этиловый ректификованный технический по ГОСТ 18300-87.
Калия гидроксид по ГОСТ 24363-80, раствор 1 моль/дм3.
6г гидроксида калия растворяют в 100 см3 этилового спирта. Раствор хранят в темном месте. При появлении желтого окрашивания готовят свежий раствор.
Антиоксидант П-23 по нормативной документации, перекристаллизованный из этилового спирта.
3.3.1.2. Определение коэффициента пропорциональности (градуировка)
В пять мерных колб вместимостью по 100см3 берут навески антиоксиданта по 0,02г, растворяют их в этиловом спирте, доводят объем до метки и перемешивают.
В мерную колбу вместимостью 10см3 наливают 1см3 спиртовой щелочи и доливают до метки раствором антиоксиданта (щелочной раствор).
В другую такую же колбу наливают 1 см3 этилового спирта и доливают до метки тем же раствором антиоксиданта (нейтральный раствор).
В рабочую кювету с толщиной поглощающего свет слоя 10 мм наливают щелочной раствор, а в аналогичную кювету сравнения — нейтральный раствор.
Разность оптических плотностей этих растворов измеряют при длине волны 303 и 350 нм.
Коэффициент пропорциональности (К) для каждого раствора вычисляют по формуле
(1)
где D303 и D350 — разности оптических плотностей щелочного и нейтрального растворов, измеренные при длине волны 303 и 350 нм;
m — масса навески антиоксиданта П-23, г.
При расчете результатов анализа берут среднее арифметическое пяти полученных значений коэффициента пропорциональности Кcр.
3.3.1.3. Подготовка пробы
Взвешивают мерный цилиндр вместимостью 10 см3 с 5 см3 латекса. Латекс выливают по каплям или тонкой струйкой в 50 см3 спирта, перемешивают в колбе вместимостью 100 см3. Цилиндр взвешивают снова и по разности масс определяют массу вылитого латекса. Колбу присоединяют к воздушному холодильнику, и ее содержимое кипятят на воздушной бане в течение 30мин. Спирт декантируют в мерную колбу вместимостью 100см3, а к крошке латекса, оставшейся в колбе для экстрагирования, добавляют еще 40см3 спирта и вновь кипятят 30мин. Спирт сливают в ту же мерную колбу.
После охлаждения экстракт; доводят до метки спиртом.
3.3.1.4. Проведение испытания
Готовят щелочной и нейтральный растворы, как и при градуировке, заменяя раствор антиоксиданта экстрактом. В тех же условиях измеряют разность оптических плотностей этих растворов.
3.3.1.5. Обработка результатов
Массовую долю антиоксиданта П-23 в латексе в процентах в пересчете на сухое вещество вычисляют по формуле
(2)
где X — массовая доля сухого вещества латекса, определенная по п. , %;
m1 — масса навески латекса, г.
Вычисляют до второго десятичного знака.
Расхождение между двумя параллельными определениями не должно превышать 0,1 %.
За результат вычисления принимают среднее арифметическое значение двух определений, округленное до первого десятичного знака.
3.3.2. Определение массовой доли антиоксиданта ВС-30А
3.3.2.1. Аппаратура, посуда, реактивы и материалы
Хроматограф с пламенно-ионизационным детектором
Колонка длиной 1 м, диаметром 3 мм.
Прибор для экстрагирования, состоящий из круглодонной колбы К-1-100-29/32 ТС по ГОСТ 25336-82 с пришлифованным обратным холодильником (длина трубки 800-1000 мм, диаметр 12-14 мм).
Баня песчаная.
Весы лабораторные 2-го класса по ГОСТ 24104-88 с наибольшим пределом взвешивания 200г.
Колба Кн-2-250-18 ТС по ГОСТ 25336-82.
Колба 2-100-2 по ГОСТ 1770-74.
Пипетки вместимостью 2 см3.
Стаканчик СВ-14/8 по ГОСТ 25336-82.
Цилиндр 1-50 по ГОСТ 1770-74.
Лупа измерительная по ГОСТ 25706-83 или другие оптические приборы с ценой деления 0,1мм.
Микро шприц типа МШ-10М, вместимостью 10мкдм3.
Носитель твердый — хроматон N—AW—HMDS фракции от 0,250 до 0,315, силанизированный гексаметилдисилазаном.
Фаза неподвижная — апиезон Z.
«Внутренний эталон» — эйкозан, х. ч., раствор в метилэтилкетоне с концентрацией 0,003г/см3.
Метилэтилкетон, ч. д. а.,. по нормативной документации.
Спирт этиловый ректификованный технический по ГОСТ 18300-87.
Антиоксидант ВС-30А по нормативной документации.
Воздух сжатый.
Водород технический по ГОСТ 3022-80, марка А или высший сорт.
Газ-носитель: аргон по ГОСТ 10157-79 или гелий по нормативной документации.
Хлороформ по ГОСТ 20015-88.
3.3.2.2. Подготовка к испытанию
3.3.2.2.1. Подготовка хроматографической колонки
Твердый носитель в объеме, превышающем на 10-12 %расчетный объем колонки, помещают в круглодонную колбу вместимостью 250см3. Фазу — апиезон Z в количестве 5% от массы твердого носителя растворяют в 50см3 хлороформа и выливают в колбу с твердым носителем. После пропитки твердого носителя растворитель удаляют нагреванием на песчаной бане при перемешивании до сыпучего состояния. Приготовленным сорбентом заполняют чистую сухую хроматографическую колонку.
Подготовленную хроматографическую колонку устанавливают в термостат хроматографа и, не подсоединяя к детектору, кондиционируют в потоке газа-носителя при температуре. (60±5)°С в течение 30мин. Затем поднимают температуру до 120°С и кондиционируют еще 30мин. После этого газ-носитель отключают, а температуру термостата поднимают до (240±5) °С. При этой температуре колонку выдерживают 4 ч, после чего вновь включают газ-носитель и продувают ее при этой температуре еще 2 ч. Затем колонку охлаждают до температуры (23±5)°С, подсоединяют к детектору и устанавливают следующие параметры хроматографического разделения:
температура колонки, °С………………………………………………………….. 195
температура испарителя, °С……………………………………………………… 280
скорость газа-носителя, см3/мин……………………………………………….. 40
3.3.2.2.2. Определение калибровочного коэффициента
Взвешивают 0,1г антиоксиданта ВС-30А и 0,1г эйкозана и растворяют в 2см3 метилэтилкетона. С помощью микрошприца вводят в испаритель хроматографа 3-5мкдм3 этого раствора и проводят хроматографирование.
Калибровочный коэффициент (Kx) в процентах вычисляют по формуле
(3)
где Sст, Sx — площади «внутреннего эталона» и антиоксиданта ВС-30А, мм2;
mст, mx – масса «внутреннего эталона» и антиоксиданта ВС-30А, г.
3.3.2.3. Приготовление раствора «внутреннего эталона»
В мерную колбу вместимостью 100см3 помешают 0.3г эйкозана, растворяют его в 50-70см3 метилэтилкетона. Полученный раствор в мерной колбе доводят до метки этим же растворителем и перемешивают. Раствор содержит 0,003 г «внутреннего эталона» в 1 см3.
Раствор «внутреннего эталона» хранят в плотно закрытой склянке.
3.3.2.4. Проведение испытания
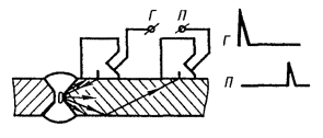
Типовая хроматограмма определения антиоксиданта ВС-30А в латексе

1 – растворитель; 2 – антиоксидант ВС-30А; 3 – эйкозан («внутренний эталон»)
Черт. 1
Взвешивают 2см3 латекса, помещают в колбу для экстрагирования, снабженную обратным холодильником, и экстрагируют спиртом дважды в течение 30мин на песчаной бане, используя на каждую экстракцию по 20см3 этилового спирта. Экстракт сливают в коническую колбу. Колбу с экстрагируемым латексом ополаскивают 10см3 этилового спирта и сливают в колбу с экстрактом.
Экстракт в колбе упаривают на песчаной бане до объема 0,5см3, затем добавляют 2см3 раствора «внутреннего эталона» и перемешивают. С помощью микро шприца вводят в испаритель хроматографа 1-3мкдм3 подготовленной пробы и проводят хроматографирование (черт. 1).
3.3.2.5. Обработка результатов
Массовую долю антиоксиданта ВС-ЗОА в латексе в процентах в пересчете на сухое вещество вычисляют по формуле
(4)
где Кх — калибровочный коэффициент;
Sx, Sст — площади пиков антиоксиданта ВС-30А и «внутреннего эталона», мм2;
m3 — масса пробы латекса, взятая для анализа, г;
X — массовая доля сухого вещества латекса, определенная по п. , %;
m2 — масса раствора введенного «внутреннего эталона».
Вычисляют до второго десятичного знака.
Расхождение между двумя параллельными определениями не должно превышать 0,1% масс.
За результат испытания принимают среднее арифметическое результатов двух определений, округленное до первого десятичного знака.
3.3 — 3.3.2.5. (Измененная редакция, Изм. №1).
3.3.2.6 — 3.3.4. (Исключены, Изм. № 1).
3.4. Определение температуры желатинизации
3.4.1. Аппаратура, посуда, материалы
Баня водяная.
Пробирка П 1-21-200 ХС по ГОСТ 25336.
Пипетка вместимостью 20 см3.
Термометр типа ТН6 по ГОСТ 400-80.
3.4.2. Проведение испытания
В стеклянную пробирку вносят 20 см3 испытуемого латекса, погружают в него термометр и пробирку помещают в баню со льдом, непрерывно помешивая латекс, пока он не загустеет. Осторожно вынимают термометр из пробирки и наблюдают за состоянием латекса на термометре и температурой. Температура, при которой латекс начинает стекать с термометра тонким ровным слоем, является температурой желатинизации.
Если при погружении пробирки с латексом в баню со льдом загустения не происходит, то в результатах испытания следует указать «Температура желатинизации ниже нуля».
3.5. Определение стойкости латекса при разведении водой в соотношении 1:100
3.5.1. Посуда, материалы и реактивы
Пипетка вместимостью 1 см3.
Стакан В-1-250 ХС по ГОСТ 25336-82.
Вода дистиллированная по ГОСТ 6709-72.
Марля по ГОСТ 9412-93.
3.5.2. Проведение испытания
Из средней пробы латекса, отфильтрованной через двойной слой марли, берут пипеткой 1см3 латекса и переносят в чистый сухой стакан. Затем в стакан добавляют 100см3 дистиллированной воды, которую смешивают с латексом до равномерного распределения. Температура раствора должна быть 15-25°С.
Латекс считают устойчивым при отсутствии появления коагулюма в течение 15-20 мин от начала определения.
3.6. Определение массовой доли свободной щелочи
3.6.1. Аппаратура, посуда, реактивы и материалы
Весы лабораторные общего назначения 3-го класса по ГОСТ 24104-88 с наибольшим пределом взвешивания 1000г.
Бюретка вместимостью 10см3.
Колба Кн-2-500-40 ТХС по ГОСТ 25336-82.
Вода дистиллированная по ГОСТ 6709-72.
Кислота серная по ГОСТ 4204-77, раствор 0,1моль/дм3 или кислота соляная по ГОСТ 3118-77, раствор 0,1моль/дм3.
Фенолфталеин (индикатор), раствор готовят по ГОСТ 4919.1-77
(Измененная редакция, Изм. № 1).
3.6.2.Проведение испытания
50 г латекса помещают в коническую колбу и прибавляют 200 см3 дистиллированной воды. Содержимое колбы титруют раствором серной или соляной кислоты до устойчивого обесцвечивания по фенолфталеину (5-6 капель).
Титрование считают законченным, когда в месте падения капли индикатора перестанет появляться розовое окрашивание.
3.6.3. Обработка результатов
Массовую долю свободной щелочи {Х2) в процентах вычисляют по формуле
(5)
где V — объем растворов серной кислоты или соляной кислоты, см3;
М — молярная концентрация эквивалента кислоты в растворе, моль/дм3;
40 — молярная масса эквивалента гидроокиси натрия, г/моль;
m — масса навески латекса, г.
Результаты вычисления округляют до второго десятичного знака.
(Измененная редакция, Изм. № 1).
3.7. Определение массовой доли незаполимеризованного стирола
3.7.1. Массовую долю незаполимеризованного стирола определяют хроматографическим методом, при этом на хроматографирование берут 0,0004-0,001см3 пробы.
Допускается определять массовую долю незаполимеризованного стирола спектрофотометрическим методом.
(Измененная редакция, Изм. № 1).
3.7.1а. Хроматографический метод
3.7.1а.1. Аппаратура, посуда, реактивы и материалы
Хроматограф с пламенно-ионизационным детектором.
Колонка хроматографическая из нержавеющей стали длиной 1м, диаметром 3мм.
Печь муфельная, обеспечивающая нагревание до температуры 1100°С.
Баня водяная.
Весы лабораторные общего назначения 2-го класса по ГОСТ 24104 с наибольшим пределом взвешивания 200г.
Колба К-2-500-34 ТХС по ГОСТ 25336-82.
Колба 2-50-2, 2-100-2 по ГОСТ 1770-74.
Пипетка вместимостью 1см3.
Цилиндр 1-50 по ГОСТ 1770-74.
Лупа измерительная по ГОСТ 25706-83 или другие оптические приборы с ценой деления 0,1мм.
Линейка измерительная по ГОСТ 427-75.
Микрошприц типа МШ-1М, МШ-10М или газохром.
Носитель твердый диатомитового типа целит-545 с размерами частиц от 0,200 до 0,315мм или другой, обеспечивающий аналогичное разделение.
Фаза неподвижная — апиезон L.
Раствор эмульгатора — 5%-ный раствор алкилсульфоната натрия или 3%-ный водный раствор сульфанола.
Спирт этиловый ректификованный технический по ГОСТ 18300-87.
Н-декан по нормативной документации.
Воздух сжатый.
Водород технический по ГОСТ 3022-80, марка А или высший сорт.
Газ-носитель: азот технический по ГОСТ 9293-74 или аргон по ГОСТ 10157-79, или гелий по нормативной документации.
Хлороформ по ГОСТ 20015-88.
Допускается применять аппаратуру и посуду с техническими и метрологическими характеристиками, обеспечивающими точность измерения в соответствии с требованиями настоящего стандарта.
3.7.1а.2. Подготовка к испытанию
3.7.1а.2.1. Подготовка хроматографической колонки
Твердый носитель прокаливают в муфельной печи при температуре (1000±10)°С в течение 3 ч и в объеме, превышающем на 10-12% расчетный объем колонки, помещают в круглодонную колбу вместимостью 500см3. Фазу — апиезон L в количестве 5% от массы твердого носителя растворяют в 50см3 хлороформа и выливают в колбу с твердым носителем. Добавляют хлороформ, чтобы верхний слой растворителя над твердым носителем составлял 1-2см. Содержимое колбы тщательно перемешивают, периодически встряхивая в течение 15-20 мин, после чего колбу помещают на водяную баню и удаляют хлороформ до полного отсутствия запаха.
Подготовку колонки и ее заполнение сорбентом выполняют в соответствии с инструкцией по эксплуатации хроматографа. Колонку устанавливают в термостат и, не подсоединяя к детектору, продувают газом-носителем, повышая температуру ступенчато на 10-15°С в час до температуры 240°С. Затем колонку охлаждают до температуры (23±5°С, подсоединяют к детектору и устанавливают следующие параметры хроматографического разделения:
температура колонки, °С…………………………………………………………… 90±10
температура детектора, °С………………………………………………………… 150
температура испарителя, °С……………………………………………………… 150
расход газа-носителя, дм3/ч……………………………………………………….. 3-4
3.7.1а.2.2. Приготовление раствора «внутреннего эталона»
В предварительно взвешенную мерную колбу вместимостью 100см3 вносят 0,5-1,0г н-декана и снова взвешивают с той же точностью.
В колбу добавляют 50-70см3 этилового спирта, тщательно перемешивают, доводят до метки спиртом и вновь перемешивают. Массовую долю н-декана в растворе (С) вычисляют по формуле
(6)
где m — масса навески н-декана, г;
100 — объем раствора «внутреннего эталона», см3.
3.7.1а.3. Проведение испытания
В предварительно взвешенную мерную колбу вместимостью 50см3 вносят 1,8-2,2г латекса снова взвешивают с той же точностью. Добавляют 40см3 раствора эмульгатора, 1см3 раствора «внутреннего эталона» и осторожно перемешивают содержимое колбы. Затем объем жидкости в колбе доводят до метки раствором эмульгатора и снова перемешивают.
Подготовленную пробу микро шприцем вводят в испаритель хроматографа и снимают хроматограмму
При использовании в качестве эмульгатора сульфанола после 3-5-кратного ввода пробы колонку продувают при температуре 180-200°С в течение 1-2 ч.
3.7.1а.4. Обработка результатов
Массовую долю незаполимеризованного стирола в латексе (
) в процентах вычисляют по формуле
(7)
где m1 — масса «внутреннего эталона», г;
S — площадь пика стирола, мм2;
So — площадь пика «внутреннего эталона», мм2;
m2 — масса пробы латекса, г.
Вычисляют до второго десятичного знака.
Расхождение между двумя параллельными определениями не должно превышать 0,01% масс.
За результат испытания принимают среднее арифметическое результатов двух определений, округленное до первого десятичного знака.
3.7.1а-3.7.1а.4. (Введены дополнительно, Изм. № 1).
3.7.2. Спектрофотометрический метод
3.7.2.1. Аппаратура, посуда и реактивы
Спектрофотометр типа СФ-16 (СФ-26) или другие с аналогичными метрологическими характеристиками.
Прибор для перегонки: колба К-1-500-29/32 ТХС, изгиб И 75° 2К-29/32-14/23 ТХС, холодильник ХПТ-1-300-14/23 ТХС, аллонж АИ-14/23-60 ТХС по ГОСТ 25336-82.
Весы лабораторные общего назначения 2-го класса по ГОСТ 24104-88 с наибольшим пределом взвешивания 200г.
Часы сигнальные по ГОСТ 3145-84.
Колбонагреватель (220В, 300Вт) или электроплитка закрытого типа по ГОСТ 14919-83.
Колбы мерные 2-25-2, 2-50-2 по ГОСТ 1770-74.
Пипетка вместимостью 1см3.
Цилиндры мерные 1-10, 1-50 по ГОСТ 1770-74.
Калия гидроокись по ГОСТ 24363-80, раствор 0,5% (по массе).
Натрия диэтилдитиокарбамат по ГОСТ 8864-71, спиртовой раствор 0,01% (по массе).
Спирт этиловый технический ректификованный по ГОСТ 18300-87.
Стирол по ГОСТ 10003-90 свежеперегнанный.
3.7.2.2. Определение коэффициента пропорциональности
В пять мерных колб вместимостью по 25см3, до половины наполненных спиртом и взвешенных с точностью до четвертого десятичного знака, вводят по 0,1г свежеперегнанного стирола и вновь взвешивают с той же точностью. По разности определяют массу навески стирола. Раствор доводят до метки спиртом и перемешивают. Полученные растворы разбавляют в 50 раз. Для этого 1см3 раствора вводят пипеткой в мерную колбу вместимостью 50см3, доводят до метки спиртом и перемешивают.
Одним из растворов заполняют прямоугольную кювету с толщиной поглощающего свет слоя 10мм, аналогичную кювету сравнения заполняют спиртом. Спектр поглощения этого раствора записывают по точкам через 1 нм в интервале длин волн 273-300нм и при 310нм. Оптические плотности остальных четырех растворов измеряют в тех же кюветах при длине волны 291нм (или при длине волны, соответствующей максимуму поглощения этой полосы на данном приборе) и 310нм.
Коэффициент пропорциональности (K) между массовой долей стирола в растворе и его оптической плотностью вычисляют по формуле
(8)
где Dmax и D310 — оптические плотности растворов в максимуме полосы поглощения и при
длине волны 310нм;
m — масса навески стирола, г;
25 — коэффициент разбавления пробы;
1 — объем раствора, взятый для разбавления, см3.
При анализе латекса используют среднее арифметическое значение коэффициента пропорциональности пяти определений — Kср.
3.7.2.1, 3.7.2.2. (Измененная редакция, Изм. № 1).
3.7.2.3. Подготовка пробы
Мерный цилиндр вместимостью 10 см3 взвешивают с 2-3 см3 латекса. Латекс выливают в колбу для отгонки, а цилиндр взвешивают вновь. По разности взвешиваний определяют массу навески латекса. Затем в колбу добавляют при перемешивании 50см3 раствора гидроокиси калия и 30см3 раствора диэтилдитиокарбамата натрия. Колбу присоединяют к прибору для перегонки, подставляют под нее предварительно нагретый в течение 15мин колбонагреватель (между стенкой колбы и поверхностью колбонагревателя должен быть небольшой воздушный зазор) или электроплитку, обертывают колбу асбестовой тканью и отгоняют в мерную колбу вместимостью 50см3 около 25см3 дистиллята. Объем доводят до метки спиртом, промывая им предварительно изгиб, холодильник и аллонж, и перемешивают содержимое колбы.
3.7.2.4. Проведение испытания
Оптическую плотность раствора измеряют в той же кювете и при тех же длинах волн, что и при градуировке.
3.7.2.5. Обработка результатов
Массовую долю незаполимеризованного стирола в латексе (Х3) в процентах вычисляют по формуле
(9)
где Kср — среднее арифметическое значение коэффициента пропорциональности;
m1 — масса навески латекса, г.
Результаты вычислений округляют до третьего десятичного знака.
Два результата испытаний, полученные последовательно одним исполнителем на частях одной и той же пробы (отгонок), считают достоверными (с доверительной вероятностью 0,95), если расхождение между ними не превышает 0,015 %.
(Измененная редакция, Изм. № 1).
3.8. Определение массовой доли легколетучих углеводородов С2-С4
3.8.1. Аппаратура, посуда, реактивы и материалы
Хроматограф с пламенно-ионизационным детектором.
Колонка длиной 2м, диаметром 3-4 мм, заполненная наполнителем — 15% (по массе) полиэтиленгликольадипината на твердом носителе типа ТНД-ТС-М (сферохром, целит, хроматон).
Прибор для выделения и улавливания легколетучих углеводородов из латекса (черт. 2), выполненный из толстостенного стекла для работы под вакуумом (прибор должен быть герметичным).
Вакуум-насос.
Весы лабораторные общего назначения 2-го класса по ГОСТ 24104-88 с наибольшим пределом взвешивания 200 г.
Лупа измерительная по ГОСТ 25706-83 или другие оптические приборы с ценой деления 0,1мм.
Шприц медицинский вместимостью 1см3.
Секундомер по нормативной документации.
Колба П-2-25-14 ТХС по ГОСТ 25336-82.
Колба П-2-1000-29 ТХС по ГОСТ 25336-82 (с горлом, переделанным для самозатягивающейся пробки) или колба П-1-1000 по ГОСТ 25336-82.
Очищенные и осушенные газы:
азот по ГОСТ 9293-74;
бутадиен по нормативной документации;
водород по ГОСТ 3022-80;
воздух сжатый по нормативной документации.
(Измененная редакция, Изм. № 1).
3.8.2. Подготовка к испытанию
3.8.2.1. Режим хроматографа
Температура колонки 120°С.
Прибор для выделения и улавливания легколетучих углеводородов из латекса

1 — отросток; 2, 5 — краны; 3 — емкость для отбора легколетучих углеводородов (100-120 см3); 4 — отверстие для самозатягивающейся пробки; 6, 8 — усики; 7 — шлиф; 9 — колба со шлифом для латекса
Черт. 2
Скорость подачи газов:
азота — 30см3/мин,
водорода и воздуха — согласно инструкции, прилагаемой к хроматографу.
3.8.2.2. Приготовление стандартной смеси
Плоскодонную толстостенную колбу, обернутую в капроновую или металлическую сетку, с точно измеренной вместимостью и самозатягивающейся пробкой вакуумируют в течение 10мин. Для этого в пробку вставляют иглу от медицинского шприца, другой конец которой соединяют через шланг с вакуум-насосом. Затем также с помощью шприца вводят в колбу через пробку 1см3 чистого бутадиена (газа). Оставшийся вакуум в колбе снимают воздухом с помощью иглы от медицинского шприца.
При отсутствии самозатягивающейся пробки допускается использовать колбу с тубусом (склянку Бунзена), обернутую в капроновую или металлическую сетку.
Колбу с точно измеренной вместимостью закрывают пробкой, на тубус колбы надевают резиновую трубку с двухходовым краном, который подсоединяют к вакуум-насосу. При открытом кране вакуумируют колбу в течение 10мин. После этого кран закрывают и колбу отсоединяют от вакуум-насоса.
С помощью шприца прокалыванием иглой резиновой трубки вводят в колбу 1см3 чистого бутадиена (газа). Оставшийся вакуум в колбе снимают воздухом с помощью иглы от медицинского шприца.
1см3 приготовленной смеси вводят в хроматографическую колонку и снимают хроматограмму при указанном режиме работы хроматографа. Операцию повторяют не менее трех раз. На хроматограммах измеряют площади пиков бутадиена как произведение высоты пика на половину его ширины и берут среднее значение (S1). Описанным образом готовят не менее трех искусственных смесей и вычисляют Sст как среднее арифметическое результатов испытания всех смесей.
(Измененная редакция, Изм. № 1).
3.8.3. Проведение испытания
Емкость реактора (см. ) вакуумируют в течение 10-15 мин при открытом кране 2 и закрытом кране 5. Для этого присоединяют отросток к вакуум-насосу. Затем кран 2 закрывают и отключают насос.
В предварительно взвешенную колбу 9 вносят пипеткой 1см3 латекса, снова взвешивают и быстро присоединяют к шлифу 7, смазанному вакуумной смазкой. Колбу дополнительно укрепляют резинкой с помощью «усиков» 6 и 8. Открывают кран 5 и помещают колбу в кипящую водяную баню. Одновременно с помощью стеклянной трубки, направленной чуть ниже шлифа, на шейку колбы подают струю воздуха в течение всего нагревания, чтобы избежать попадания вспененного при кипении латекса в реактор. Через 30мин нагревание прекращают. Поворотом крана 2 на 360° стравливают оставшийся вакуум в реакторе. Затем медицинским шприцем (поршень необходимо смазать вакуумной смазкой) через самозатягивающуюся пробку 4 отбирают 1см3 газа и вводят в хроматографическую колонку. При тех же условиях, что и для стандартной смеси, снимают хроматограмму. Операцию повторяют не менее двух раз.
На хроматограммах определяют площади пиков бутадиена как произведение высоты пика на половину его ширины.
Условия анализа подобраны таким образом, что углеводороды С2 — С4 элюируются суммарным пиком.
3.8.4. Обработка результатов
Объемную долю бутадиена (Х4) в процентах в стандартной смеси вычисляют по формуле:
(10)
где V — объем бутадиена, введенного в колбу, см3;
Vст — объем стандартной смеси, см3.
Объемную долю легколетучих углеводородов С2—С4 (Х5) в процентах в испытуемой смеси вычисляют по формуле
(11)
где X4 — объемная доля бутадиена в стандартной смеси, %;
S — площадь пика легколетучих углеводородов в анализируемом латексе, мм2;
Sст — площадь пика бутадиена в стандартной смеси, мм2.
Массовую долю легколетучих углеводородов С2—С4 (Х6) в процентах вычисляют по формуле
(12)
где Х5 — объемная доля легколетучих углеводородов, %;
М — молекулярная масса бутадиена, г;
V1 — объем реактора с учетом колбы (см. ), т.е. весь объем включительно до крана 2 (измеряется вливанием известного объема), см3;
22400 — объем газа, занимаемый одной грамм-молекулой бутадиена при нормальных условиях, см3;
m — масса навески латекса, г.
Перед каждым анализом реактор тщательно продувают воздухом при открытых кранах 2 и 5, а затем вакуумируют. Пипетку и колбу отмывают от латекса водой и сушат.
Результат вычисления округляют до второго десятичного знака.
Два результата испытаний, полученные последовательно одним исполнителем на частях одной и той же пробы, считают достоверными (с доверительной вероятностью 0,95), если расхождение между ними не превышает 0,003 %.
(Измененная редакция, Изм. № 1).
4. Транспортирование и хранение
4.1. Латекс транспортируют в железнодорожных цистернах предприятия-изготовителя и автоцистернах в соответствии с правилами перевозки грузов, действующими на данном виде транспорта.
Расчет степени (уровня) заполнения цистерны производят с учетом полного использования вместимости (грузоподъемности) цистерн и объемного расширения продукта при возможности перепада температур в пути следования.
4.2. Латекс должен транспортироваться при температуре не менее 10°С.
4.3. Латекс, упакованный в бочки, транспортируют в крытых железнодорожных вагонах повагонными отправками.
При температуре окружающей среды менее 10°С латекс транспортируют в отапливаемых железнодорожных вагонах в сопровождении проводников грузоотправителя (получателя) или авторефрижераторах.
4.4. Латекс хранят в складских помещениях при температуре не менее 10°С.
5. Гарантии изготовителя
5.1. Изготовитель гарантирует соответствие латекса требованиям настоящего стандарта при соблюдении потребителем условий хранения и транспортирования, установленных настоящим стандартом.
5.2. Гарантийный срок хранения латекса — шесть месяцев со дня изготовления.
Информационные данные
1. РАЗРАБОТАН И ВНЕСЕН Министерством нефтеперерабатывающей и нефтехимической промышленности СССР
РАЗРАБОТЧИКИ
Г.С. Тихомиров, д-р техн. наук; Ю.В. Перина (руководители темы); И.И. Полякова, канд. хим. наук; А.П. Гаршин, канд. техн. наук; И.Д. Жданеева
2. УТВЕРЖДЕН И ВВЕДЕН В ДЕЙСТВИЕ Постановлением Государственного комитета СССР по стандартам от 08.06.88 № 1667
Изменение № 1 принято Межгосударственным Советом по стандартизации, метрологии и сертификации (протокол № 6 от 21.10.94)
За принятие проголосовали:
|
Наименование государства |
Наименование национального органа по стандартизации |
|
Азербайджанская Республика |
Азгосстандарт |
|
Республика Армения |
Армгосстандарт |
|
Республика Белоруссия |
Госстандарт Белоруссии |
|
Грузия |
Грузстандарт |
|
Республика Казахстан |
Госстандарт Республики Казахстан |
|
Киргизская Республика |
Киргизстандарт |
|
Республика Молдова |
Молдовастандарт |
|
Российская Федерация |
Госстандарт России |
|
Республика Узбекистан |
Узгосстандарт |
|
Украина |
Госстандарт Украины |
3. ВЗАМЕН ГОСТ 11808-76
4. ССЫЛОЧНЫЕ НОРМАТИВНО-ТЕХНИЧЕСКИЕ ДОКУМЕНТЫ
|
Обозначение НТД. на который дана ссылка |
Номер пункта, подпункта |
|
ГОСТ 12.1.007-76 |
|
|
ГОСТ 400-80 |
|
|
ГОСТ 427-75 |
|
|
ГОСТ 1770-74 |
; ; ; |
|
ГОСТ 3022-80 |
; ; |
|
ГОСТ 3118-77 |
|
|
ГОСТ 3145-84 |
|
|
ГОСТ 4204-77 |
|
|
ГОСТ 4919.1-77 |
|
|
ГОСТ 6247-79 |
|
|
ГОСТ 6613-86 |
|
|
ГОСТ 6709-72 |
; |
|
ГОСТ 8864-71 |
|
|
ГОСТ 9293-74 |
; |
|
ГОСТ 9412-93 |
|
|
ГОСТ 10003-90 |
|
|
ГОСТ 10157-79 |
; |
|
ГОСТ 11109-90 |
|
|
ГОСТ 13950-91 |
|
|
ГОСТ 14192-96 |
|
|
ГОСТ 14919-83 |
|
|
ГОСТ 18300-87 |
; : ; |
|
ГОСТ 20015-88 |
; |
|
ГОСТ 24104-88 |
; : ; ; ; |
|
ГОСТ 24363-80 |
; |
|
ГОСТ 24920-81 |
; |
|
ГОСТ 25336-82 |
; ; ; ; ; ; ; |
|
ГОСТ 25706-83 |
; ; |
|
ГОСТ 25709-83 |
|
5. Ограничение срока действия снято по протоколу № 3-93 Межгосударственного Совета по стандартизации, метрологии и сертификации (ИУС 5-6-93)
6. ПЕРЕИЗДАНИЕ (март 1998 г.) с Изменением № 1, утвержденным в феврале 1995 г. (ИУС 5-95)