ГОСТ 16948-79
МЕЖГОСУДАРСТВЕННЫЙ СТАНДАРТ
ИСТОЧНИКИ СВЕТА ИСКУССТВЕННЫЕ
МЕТОД ОПРЕДЕЛЕНИЯ ПЛОТНОСТИ ПОТОКА ЭНЕРГИИ
УЛЬТРАФИОЛЕТОВОГО ИЗЛУЧЕНИЯ
ИПК ИЗДАТЕЛЬСТВО СТАНДАРТОВ
Москва
МЕЖГОСУДАРСТВЕННЫЙ СТАНДАРТ
|
ИСТОЧНИКИ СВЕТА ИСКУССТВЕННЫЕ Метод определения плотности потока энергии ультрафиолетового излучения Light sources artificial. Method of determining ultraviolet radiation density energy flow |
ГОСТ Взамен |
Постановлением Государственного комитета СССР по стандартам 29 октября 1979 г. № 4105 срок введения установлен
01.01.81
Настоящий стандарт устанавливает метод химического определения плотности потока энергии ультрафиолетового излучения искусственных источников света климатических камер.
Метод основан на вычислении плотности потока энергии ультрафиолетового излучения по результатам изменения оптической плотности светочувствительного раствора (раствор ферриоксалата калия).
1. РЕАКТИВЫ И АППАРАТУРА
Калий щавелевокислый, ч. д. а., по ГОСТ 5868-78.
Натрий уксуснокислый, ч. д. а., по ГОСТ 199-78.
Железо хлорное, ч. д. а., по ГОСТ 4147-74.
Кислота серная, ч. д. а., по ГОСТ 4204-77.
о-фенантролин, ч. д. а., с погрешностью не более 1 %, 0,1 %-ный раствор.
Стекло оптическое цветное марки ЖС-11 по ГОСТ 9411-91.
Колбы 2-25-2; 2-100-2; 2-1000-2 по ГОСТ 1770-74.
Цилиндры 1-1000 по ГОСТ 1770-74.
Пипетки по нормативно-технической документации.
Стаканчики СН-45/13 по ГОСТ 25336-82.
Воронки В-75-100 ХС по ГОСТ 25336-82.
Пробки 16 по ТУ 38 1051835-88.
Пробирки ПП-90КШ 14/23 или ПП-90КШ 19/26 по ГОСТ 19908-90.
Стаканы Н-1-50 или Н-2-50 ТС по ГОСТ 25336-82.
Спектрофотометр, обеспечивающий измерение пропускания (оптической плотности) жидких и твердых прозрачных веществ в области длин волн 400 — 750 нм.
Весы лабораторные по ГОСТ 24104-88.
(Измененная редакция, Изм. № 1).
2. ПОДГОТОВКА К ИСПЫТАНИЯМ
2.1. Для проведения испытаний применяют стаканы (пробирки) № 1 и 2.
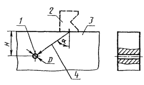
2.2. На наружную поверхность пробирок и стаканов наносят светонепроницаемую оболочку, имеющую у пробирок окно для облучения светочувствительного раствора. Способ нанесения светонепроницаемой оболочки на пробирки и стаканы приведен в приложении . Для определения плотности потока энергии ультрафиолетового излучения, падающего на вертикальную плоскость, применяют пробирки, на горизонтальную — стаканы.
(Измененная редакция, Изм. № 1).
2.3. Приготовление светочувствительного раствора (раствор ферриоксалата калия)
2.3.1. Приготовление светочувствительного раствора и все операции с ним проводят в затемненном помещении при красном свете при температуре (20 ± 2) °С.
(Измененная редакция, Изм. № 1).
2.3.2. Твердый ферриоксалат калия получают при тщательном перемешивании 3 объемов раствора (1,5 моль/л) щавелевокислого калия и 1 объема раствора (1,5 моль/л) хлорного железа.
Осажденный ферриоксалат калия перекристаллизовывают три раза из теплого водного раствора и сушат при температуре 45 °С, твердый осадок хранят без доступа света.
2.3.3. Берут навеску ферриоксалата калия 2,947 г с погрешностью не более 0,001 г, в стаканчике через воронку переносят в колбу вместимостью 1000 мл. Воронку и стаканчик промывают несколько раз дистиллированной водой, добавляют 500 мл дистиллированной воды, 100 мл 1 н. раствора серной кислоты, доливают дистиллированную воду до метки и тщательно перемешивают.
(Измененная редакция, Изм. № 1).
2.3.4. Приготовленный светочувствительный раствор хранят без доступа света до употребления. Срок хранения раствора не более 60 дней с момента приготовления.
2.4. Приготовление буферного раствора
Для приготовления буферного раствора перемешивают 600 мл 1 н. раствора уксуснокислого натрия и 360 мл 1 н. раствора серной кислоты в колбе вместимостью 1000 мл и доливают до метки дистиллированной водой.
3. ПРОВЕДЕНИЕ ИСПЫТАНИЙ
3.1. В пробирки (стаканы) № 1 и 2 наливают пипеткой по 50 мл светочувствительного раствора. Пробирки закрывают пробками.
3.2. Пробирки (стаканы) устанавливают на расстоянии не более 5 мм друг от друга, чтобы плоскости окон для облучения были расположены перпендикулярно направлению светового потока источника излучения.
3.3. Перед пробиркой (или стаканом) № 2 помещают оптическое цветное стекло марки ЖС-11.
3.4. Время выдержки под источником излучения 1 — 2 мин.
3.5. После облучения раствор тщательно перемешивают и пипеткой переносят 10 мл раствора из пробирки (стакана) № 1 в колбу вместимостью 25 мл, добавляют пипеткой 2 мл 0,1 %-ного раствора о-фенантролина и 5 мл буферного раствора, доливают пипеткой до метки дистиллированной водой и хорошо перемешивают. Аналогично готовят раствор из пробирки (стакана) № 2 и необлученный раствор для кюветы сравнения. Приготовленный раствор выдерживают без доступа света в течение 1 ч.
3.6. Оптическую плотность растворов № 1 и 2 измеряют на спектрофотометре при длине волны 510 нм в кювете шириной 1 см, используя в кювете сравнения необлученный раствор.
4. ОБРАБОТКА РЕЗУЛЬТАТОВ ИСПЫТАНИЙ
4.1. Плотность потока энергии ультрафиолетового излучения (I) в квант·с-1·м-2 вычисляют по формуле
где B — условный коэффициент;
D1, D2 — соответственно измеряемые оптические плотности растворов № 1 и 2 при длине волны 510 нм;
t — коэффициент пропускания окна пробирок из кварцевого стекла в ультрафиолетовой области;
t — время облучения светочувствительного раствора, с;
S — площадь окна пробирок (стаканов), м2.
(Измененная редакция, Изм. № 1).
4.2. Условный коэффициент (В) вычисляют по формуле
где 6,022·1023 моль-1 — постоянная Авогадро;
V1 — объем облучаемого раствора, м3;
V2 — объем отобранного для анализа светочувствительного раствора, м3;
V3 — объем раствора, подготовленного для определения оптической плотности, м3;
b — ширина кюветы спектрофотометра, м;
e — молярный коэффициент экстинкции комплекса Fe2+, равный 1,11·103 м2·моль-1;
K — показатель поглощения светочувствительного раствора, равный единице для ультрафиолетовой области;
— среднее значение квантового выхода для ультрафиолетовой области, равное 1,24.
4.3. За величину плотности потока энергии ультрафиолетового излучения принимают среднее арифметическое результатов трех параллельных определений, расхождение между которыми не должно превышать 1 %.
4.4. Плотность потока энергии ультрафиолетового излучения (Iс) в Вт·м-2 источников света, для которых известно спектральное распределение, вычисляют по формуле
Iс = I·C, (3)
где С — энергетический эквивалент, рассчитанный на основе спектрального распределения источника света, Дж·квант-1.
4.3; 4.4. (Измененная редакция, Изм. № 1).
4.5. Значения энергетических эквивалентов для ряда источников света приведены в таблице.
|
Тип лампы |
Энергетический эквивалент С·10-9, Дж·квант-1 |
|
Угольно-дуговая |
5,27 |
|
Ксеноновая ДКСТВ-6000 |
5,50 |
|
Ртутно-кварцевая |
6,28 |
4.6. Энергетический эквивалент для источников света с известным спектральным распределением в ультрафиолетовой области вычисляют по методу, приведенному в приложении .
4.7. Пример расчета плотности потока энергии ультрафиолетового излучения приведен в приложении .
(Измененная редакция, Изм. № 1).
5. ТРЕБОВАНИЯ БЕЗОПАСНОСТИ
5.1. Содержание производственных помещений, в которых расположены установки и аппараты искусственной погоды, должно соответствовать общим требованиям «Инструкции по санитарному содержанию помещений и оборудования производственных предприятий», утвержденной Главным санитарно-эпидемиологическим управлением Министерства здравоохранения СССР и «Санитарными правилами организации технологических процессов и гигиенических требований к производственному оборудованию» № 1042-73, утвержденными Министерством здравоохранения СССР.
5.2. Облучение светочувствительного раствора при включенных лампах для защиты кожных покровов в связи с высокой интенсивностью излучения проводят в защитных щитках типа НН по ГОСТ 12.4.023-84 с светофильтрами Э-2 52´102 по ОСТ 21-6-87 и перчатках, отвечающих требованиям стандартов или технических условий.
(Измененная редакция, Изм. № 1).
5.3. Помещения, в которых проводят работы с химическими реактивами, должны быть оборудованы приточно-вытяжной механической вентиляцией. Растворы для проведения испытаний следует готовить в вытяжном шкафу.
5.4. При работе с реактивами необходимо применять индивидуальные средства защиты:
халат с длинными рукавами по ГОСТ 12.4.131-83 или по ГОСТ 12.4.132-83,
резиновые перчатки по ГОСТ 20010-93,
резиновые фартуки по ГОСТ 12.4.029-76, а также соблюдать правила личной гигиены.
(Измененная редакция, Изм. № 1).
ПРИЛОЖЕНИЕ 1
Рекомендуемое
СПОСОБ НАНЕСЕНИЯ СВЕТОНЕПРОНИЦАЕМОЙ ОБОЛОЧКИ НА ПРОБИРКИ И СТАКАНЫ
1. Для нанесения светонепроницаемой оболочки применяют следующие материалы и оборудование:
смола эпоксидно-диановая неотвержденная по ГОСТ 10587-93*;
* На территории Российской Федерации действует ГОСТ 10587-84.
пудра алюминиевая пигментная марки ПАП-2 по ГОСТ 5494-95;
отвердитель полиэтиленполиамин;
спирт этиловый по ГОСТ 17299-78;
ацетон по ГОСТ 2768-84;
лента из поливинилхлоридного пластиката марки ЛВ-40 шириной 10 мм по ГОСТ 17617-72;
пробирка П2Т-250 ТС по ГОСТ 25336-82;
стакан Н-1-150 ТС или Н-2-150 ТС по ГОСТ 25336-82;
стакан фарфоровый № 3 по ГОСТ 9147-80;
вискозиметр ВЗ-246 4,0 по ГОСТ 9070-75;
весы лабораторные по ГОСТ 24104-88.
(Измененная редакция, Изм. № 1).
2. Подготовка к нанесению светонепроницаемой оболочки на пробирки и стаканы.
2.1. Для нанесения светонепроницаемой оболочки на пробирки и стаканы наружную поверхность тщательно промывают и высушивают.
2.2. Ножницами вырезают полоску ленты из поливинилхлоридного пластиката длиной 25 мм, шириной 10 мм и плотно приклеивают без перекосов и морщин к наружной поверхности пробирок на равном расстоянии от концов.
2.3. В фарфоровом стакане под вытяжкой при постоянном перемешивании и слабом подогреве на водяной бане растворяют в ацетоне навеску смолы, затем постепенно добавляют алюминиевую пигментную пудру в соотношении 1:5 к навеске смолы.
Состав доводят ацетоном до вязкости 35 — 40 с по вискозиметру ВЗ-246.
(Измененная редакция, Изм. № 1).
2.4. В штативе укрепляют вспомогательную пробирку или стакан и наполняют приготовленным составом. Непосредственно перед нанесением светонепроницаемой оболочки в состав добавляют отвердитель полиэтиленполиамин в соотношении 1:10 к навеске смолы и тщательно перемешивают.
3. Для нанесения светонепроницаемой оболочки пробирку или стакан погружают в подготовленный состав, извлекают из него и дают составу стечь. Наносят три — пять слоев до получения светонепроницаемого покрытия, выдерживают до полного высыхания не менее 24 ч при температуре (20 ± 2) °С.
После высыхания покрытия на пробирке надрезают ленту из поливинилхлоридного пластиката, снимают ее с пробирки и протирают окно спиртом.
(Измененная редакция, Изм. № 1).
4. Штангенциркулем измеряют линейные размеры окна с погрешностью не более ± 0,1 мм и рассчитывают его площадь.
5. При нанесении оболочки необходимо помнить, что смола с отвердителем схватывается в течение 15 мин, поэтому каждый слой наносят быстро, после чего смолу удаляют из вспомогательной пробирки или стакана и промывают их ацетоном.
ПРИЛОЖЕНИЕ 2
Рекомендуемое
МЕТОДИКА РАСЧЕТА ЭНЕРГЕТИЧЕСКИХ ЭКВИВАЛЕНТОВ ДЛЯ РАЗЛИЧНЫХ ИСТОЧНИКОВ СВЕТА
1. Энергетический эквивалент С в Дж·квант-1 определяют на основе известного распределения энергии в ультрафиолетовой области спектра (250 — 400 нм) для данного источника излучения по формуле
,
где lλ — энергия кванта для длины волны λ, Дж;
aλ — доля энергии для длины волны λ от общей энергии всего ультрафиолетового диапазона, %;
fλ — коэффициент для длины волны λ.
2. Величину aλ в процентах определяют по известному распределению энергии данного источника излучения пропорциональным делением по формуле
,
где Iλ — относительная величина энергии для длины волны λ.
Для источника излучения с непрерывным спектром расчет проводят для интервалов длин волны 10 нм, для расчета используют среднюю длину волны интервала.
3. Коэффициент fλ определяют по формуле
,
где λ — длина волны, нм;
λ΄ — характерная линия спектра лампы, нм:
для ртутно-кварцевых ламп ДРТ-375, ДРТ-1000 … 365;
для ксеноновой и угольно-дуговой ламп … 400.
4. Результаты расчета величины С для ртутно-кварцевых ламп ДРТ-375, ДРТ-1000 и других приведены в таблице.
|
Длина волны, λ, нм |
Процент энергии к общему количеству aλ |
|
aλ·fλ |
Доля кванта к общему количеству |
Энергия кванта lλ·10-19 |
Энергетический эквивалент С·10-19 Дж·квант-1 |
|
248,3 |
3,7 |
0,68 |
2,52 |
0,029 |
8,00 |
0,23 |
|
253,7 |
9,3 |
0,70 |
6,51 |
0,075 |
7,83 |
0,59 |
|
265,2 |
8,2 |
0,73 |
5,99 |
0,069 |
7,48 |
0,52 |
|
280,4 |
3,6 |
0,77 |
2,77 |
0,032 |
7,08 |
0,23 |
|
296,7 |
5,0 |
0,81 |
4,05 |
0,047 |
6,69 |
0,31 |
|
302,2 |
11,0 |
0,83 |
9,13 |
0,105 |
6,57 |
0,69 |
|
312,6 |
24,0 |
0,86 |
20,64 |
0,237 |
6,53 |
1,53 |
|
365,0 |
35,2 |
1,00 |
35,20 |
0,406 |
5,44 |
2,21 |
|
|
|
|
Σ = 86,80 |
|
|
Σ = 6,28 |
ПРИЛОЖЕНИЕ 3
Рекомендуемое
ПРИМЕР РАСЧЕТА ПЛОТНОСТИ ПОТОКА ЭНЕРГИИ УЛЬТРАФИОЛЕТОВОГО ИЗЛУЧЕНИЯ
1. Пробирки № 1 и 2 со светочувствительным раствором облучали под двумя ртутно-кварцевыми лампами ДРТ-375 в течение 1 мин.
2. Оптическая плотность (D) измерялась на спектрофотометре СФД-2 при длине волны 510 нм.
3. По формуле () п. рассчитывают условный коэффициент, подставляя следующие значения:
V1 = 50 мл = 5·10-5 м3;
V2 = 10 мл = 1·10-5 м3;
V3 = 25 мл = 2,5·10-5 м3;
b = 1 см = 1 10-2 м;
e = 1,11·103 м2·моль-1;
K = 1;
= 1,24;
.
4. По формуле () п. с использованием условного коэффициента (В) рассчитывают величину плотности потока энергии ультрафиолетового излучения, подставляя значения трех измерений оптической плотности:
t = 0,9; S = 2,5·10-4 м2; t = 60 с;
1) D1 = 0,730; D2 = 0,055;
2) D1 = 0,725; D2 = 0,045;
3) D1 = 0,730; D2 = 0,050
.
квант·с-1м-2;
квант·с-1м-2;
квант·с-1м-2.
5. За величину плотности потока энергии принимают среднее арифметическое значение:
квант·с-1м-2.
6. По формуле () п. рассчитывают величину плотности потока энергии ультрафиолетового излучения (Iс)
Вт·м-2.
3 — 6. (Измененная редакция, Изм. № 1).
СОДЕРЖАНИЕ
