ГОСТ 21405-93 Система проектной документации для строительства Правила выполнения рабочей документации тепловой изоляции оборудования и трубопроводов

Автор: | 17.02.2015

ГОСТ 21.405-93

Группа Ж01

МЕЖГОСУДАРСТВЕННЫЙ СТАНДАРТ

СИСТЕМА ПРОЕКТНОЙ ДОКУМЕНТАЦИИ ДЛЯ СТРОИТЕЛЬСТВА


Правила выполнения рабочей документации тепловой

изоляции оборудования и трубопроводов

System of building design documents. Rules of

carrying out of working documents of heat insulation

of equipment and pipelines

ОКСТУ 0021                         

         Дата введения 1994-07-01


Предисловие


1  РАЗРАБОТАН Научно-исследовательским и проектным институтом "Теплопроект", Государственным проектным, конструкторским и научно-исследовательским институтом "СантехНИИпроект" и Центральным научно-исследовательским и проектно-экспериментальным институтом по методологии, организации, экономике и автоматизации проектирования (ЦНИИпроект)

ВНЕСЕН  Госстроем России


2  ПРИНЯТ Межгосударственной научно-технической комиссией по стандартизации и техническому нормированию в строительстве 10 ноября 1993 г.

За  принятие стандарта проголосовали:


+——————————————————————+

¦  Наименование государства   ¦Наименование органа государственного¦

¦                             ¦  управления строительством         ¦

+——————————+————————————¦

¦Азербайджанская Республика   ¦Госстрой Азербайджанской Республики ¦

¦                             ¦                                    ¦

¦Республика Армения           ¦Госупрархитектура Республики Армения¦

¦                             ¦                                    ¦

¦Республика Беларусь          ¦Госстрой Республики Беларусь        ¦

¦                             ¦                                    ¦

¦Республика Казахстан         ¦Минстрой Республики Казахстан       ¦

¦                             ¦                                    ¦

¦Кыргызская Республика        ¦Госстрой Кыргызской Республики      ¦

¦                             ¦                                    ¦

¦Российская Федерация         ¦Госстрой России                     ¦

¦                             ¦                                    ¦

¦Республика Таджикистан       ¦Госстрой Республики Таджикистан     ¦

¦                             ¦                                    ¦

¦Украина                      ¦Минстрой архитектуры Украины        ¦

+——————————————————————+

3  ВВЕДЕН В ДЕЙСТВИЕ с 1 июля 1994 г. в качестве государственного стандарта Российской Федерации Постановлением Госстроя России от 5 апреля 1994 г. N 18-28


4  Введен впервые


5  Переиздание. Май 1995 г.



1 ОБЛАСТЬ ПРИМЕНЕНИЯ


Настоящий  стандарт устанавливает состав и правила оформления рабочей документации тепловой изоляции наружной поверхности трубопроводов и оборудования зданий и сооружений различного назначения.



2 НОРМАТИВНЫЕ ССЫЛКИ


В  настоящем стандарте использованы ссылки на следующие стандарты:

ГОСТ  21.101-93 СПДС. Основные требования к рабочей документации

ГОСТ  21.109-80 СПДС. Ведомости потребности в материалах

ГОСТ  21.110-82 СПДС. Спецификация оборудования

ГОСТ  21.111-84 СПДС. Ведомости объемов строительных и монтажных работ

ГОСТ  17314-81 Устройства для крепления тепловой изоляции стальных сосудов и аппаратов. Конструкция и размеры. Технические требования



3 ОБЩИЕ ПОЛОЖЕНИЯ


3.1  Рабочую документацию тепловой изоляции оборудования и трубопроводов выполняют в соответствии с требованиями настоящего стандарта, ГОСТ 21.101 и других взаимосвязанных стандартов Системы проектной документации для строительства.


3.2  В состав рабочей документации тепловой изоляции включают:

—  рабочие чертежи, предназначенные для производства монтажных работ (основной комплект рабочих чертежей марки ТИ);

—  ведомость техномонтажную в соответствии с разделом 6;

—  спецификацию оборудования по ГОСТ 21.110;

—  ведомость потребности в материалах по ГОСТ 21.109*;

________

*  Выполняют при наличии указаний в договоре на выполнение проектных работ

—  ведомости объемов строительных и монтажных работ по ГОСТ 21.111*;

________

*  Выполняют при наличии указаний в договоре на выполнение проектных работ

—  эскизные чертежи общих видов нетиповых теплоизоляционных конструкций, изделий, устройств (далее — эскизные чертежи общих видов нетиповых изделий), предназначенные для разработки конструкторской документации.


3.3  В состав основного комплекта рабочих чертежей марки ТИ включают:

—  общие данные по рабочим чертежам;

—  чертежи (виды, планы, разрезы) тепловой изоляции.


3.4  Позиционные обозначения (марки) оборудования (установок, блоков), систем, трубопроводов, арматуры и других элементов принимают по соответствующим рабочим чертежам (технологическим, тепломеханическим, санитарно-техническим и др.), на основании которых разрабатывают чертежи тепловой изоляции.


3.5  При незначительном объеме работ по тепловой изоляции трубопроводов и применении типовых решений допускается не выполнять основной комплект рабочих чертежей марки ТИ.

В  этом случае соответствующие указания о выполнении работ, составе теплоизоляционных конструкций и техномонтажную ведомость (при необходимости) приводят на листе общих данных основного комплекта, содержащего рабочие чертежи трубопроводов, подлежащих изоляции.



4 ОБЩИЕ ДАННЫЕ ПО РАБОЧИМ ЧЕРТЕЖАМ


4.1  Общие данные по рабочим чертежам марки ТИ выполняют по ГОСТ 21.101.


4.2  В общих указаниях, кроме сведений, предусмотренных ГОСТ 21.101, приводят:

—  расчетную температуру окружающего воздуха;

—  результаты теплотехнических расчетов (при необходимости);

—  коэффициенты уплотнения теплоизоляционных материалов;

—  требования к изготовлению и монтажу тепловой изоляции оборудования и трубопроводов (допускается приводить на соответствующих чертежах тепловой изоляции);

—  назначение изоляции для отдельных видов оборудования и трубопроводов, а также сведения по расположению тепловой изоляции в соответствии с 6.2, перечисление ж.

Примеры


1  Тепловая изоляция трубопроводов с температурой веществ от плюс 50 до плюс 240 град.С предусмотрена с целью соблюдения норм плотности теплового потока.


2  Тепловая изоляция воздуховодов с температурой от плюс 5 до минус 20 град.С, расположенных в помещении, предусмотрена с целью предотвращения конденсации влаги на поверхности теплоизоляционной конструкции.



5 ЧЕРТЕЖИ ТЕПЛОВОЙ ИЗОЛЯЦИИ


5.1  На чертежах тепловой изоляции (видах, планах и разрезах) наносят и указывают:

—  координационные оси здания (сооружения)*;

________

*  Указывают при необходимости.

—  изолируемое оборудование (установки, блоки), трубопроводы, воздуховоды, газоходы, а также строительные конструкции*;

_______

*  Указывают при необходимости.

    

 — отметки чистых полов этажей (площадок), уровней основных элементов оборудования*;

________

*  Указывают при необходимости.

—  размерные привязки оборудования (установок, блоков), трубопроводов, воздуховодов, газоходов, опор к координационным осям здания (сооружения)*;

_______

*  Указывают при необходимости.

—  габаритные размеры оборудования;

—  наружные размеры сечения трубопроводов и их элементов;

—  толщину теплоизоляционного слоя в конструкции (при двух и более теплоизоляционных слоях указывают толщину каждого слоя);

—  размерные привязки элементов крепления тепловой изоляции к элементам оборудования, трубопроводов, если они не определены требованиями ГОСТ 17314. При необходимости размерную привязку элементов крепления выполняют на отдельном чертеже;

—  слои тепловой изоляции (тепло- и пароизоляционный, покровный) и их крепления с привязкой к элементам теплоизоляционной конструкции;

—  позиционные обозначения элементов теплоизоляционных конструкций на полке линии-выноски;

—  позиционные обозначения (марки) оборудования (установок, блоков), систем, трубопроводов, воздуховодов, газоходов;

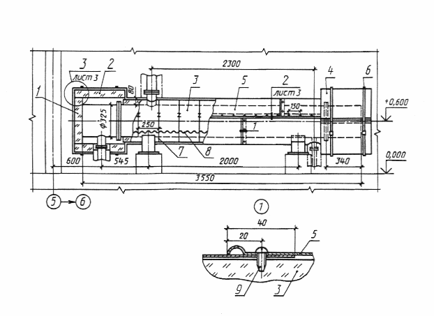
—  Пример выполнения чертежа тепловой изоляции приведен в приложении А.


5.2  На видах, планах и разрезах теплоизоляционные конструкции, изделия, устройства изображают упрощенно сплошной толстой основной линией.

Оборудование  (установки, блоки), трубопроводы, воздуховоды, газоходы и строительные конструкции на видах, планах и разрезах изображают сплошной тонкой линией.

Элементы  крепления составных частей теплоизоляционной конструкции или их соединения между собой изображают, как правило, на узлах видов, планов или разрезов.


5.3  К каждому чертежу тепловой изоляции оборудования (установки, блока), трубопровода, воздуховода, газохода и других элементов составляют спецификацию по форме 7 или 8 ГОСТ 21.101.


5.4  Элементы теплоизоляционной конструкции записывают в спецификацию в следующей последовательности:

—  изделия теплоизоляционные;

—  материалы теплоизоляционные, пароизоляционные, покровного слоя;

—  изделия крепежные.


5.5  В спецификации указывают:

—  в графах "Кол." и "Масса ед., кг" — объем и массу теплоизоляционного материала (для уплотняющегося материала — объем и массу указывают с учетом уплотнения);

—  в графе "Примечание" — единицы измерения и другие необходимые данные.



6 ВЕДОМОСТЬ ТЕХНОМОНТАЖНАЯ


6.1  Ведомость техномонтажную (ВТ) выполняют по форме 1, приложение Б.


6.2  В графах ВТ указывают:


а)  в графе "Марка, поз." — обозначение изолируемого оборудования (установки, блока), системы, трубопровода, элемента трубопровода, арматуры, фланцевого соединения согласно 3.4;


б)  в графе "Наименование":

—  для оборудования — наименование, тип, марку (для оборудования сложной конфигурации — площадь поверхности, подлежащей изоляции);

—  для трубопровода, воздуховода, газохода — наименование, начальную и конечную точки трубопровода, воздуховода, газохода или их участков, подлежащих изоляции;

—  для арматуры — тип, диаметр условного прохода;


в)  в графе "Размеры: наружный диаметр или сечение, мм":

—  для оборудования, трубопровода, воздуховода, газохода цилиндрической формы — наружный диаметр;

—  для оборудования, воздуховода, газохода прямоугольного сечения — наружные размеры сечения;


г)  в графе "Размеры: длина, высота, м" — длину (высоту) подлежащих изоляции участков горизонтального или вертикального оборудования, трубопровода, воздуховода, газохода.

Для  оборудования сложной конфигурации, арматуры, фланцевых соединений графу "Размеры" не заполняют;


д)  в графе "Кол." — количество изолируемых элементов трубопровода, оборудования, арматуры и т.п.;


е)  в графе "Температура вещества, град.С" — температуру теплоносителя. Для обогреваемых трубопроводов и оборудования указывают также температуру теплоносителя трубопровода-спутника;


ж)  в графе "Назначение и расположение" — назначение теплоизоляционной конструкции и расположение изолируемых оборудования, трубопровода, воздуховода, газохода в соответствии с заданием на проектирование. Для оборудования и трубопроводов (воздуховодов, газоходов), размещенных в одинаковых условиях, расположение не указывают. В этом случае сведения по расположению тепловой изоляции помещают в общих указаниях, входящих в состав общих данных по рабочим чертежам марки ТИ. Перечень обозначений, применяемых в техномонтажной ведомости для заполнения графы "Назначение и расположение", приведен в приложении В;


и)  в графе "Наименование (обозначение)" — наименование или обозначение теплоизоляционной конструкции в соответствии с документацией на конструкцию. Допускается приводить наименование материала слоев тепловой изоляции;


к)  в графе "Толщина слоя, мм, теплоизоляционного" — толщину каждого слоя из разнородных теплоизоляционных материалов или толщину индустриальной теплоизоляционной конструкции; для уплотняющихся материалов — толщину после уплотнения. Допускается указывать общую толщину слоев из однородных теплоизоляционных материалов;


л)  в графе "Толщина слоя, мм, покровного" — толщину металлического покровного слоя. Для неметаллических покровных слоев графу не заполняют;


м)  в графе "Поверхность, кв.м" — расчетную наружную поверхность покровного слоя;


н)  в графе "Объем теплоизоляционного слоя, куб.м" — объем теплоизоляционных слоев по каждому слою в отдельности;


п)  в графе "Обозначение документа" — обозначение документа на теплоизоляционную конструкцию;


р)  в графе "Примечание" — дополнительные сведения.


6.3  ВТ выполняют, как правило, отдельным документом с присвоением самостоятельного обозначения, состоящего из обозначения основного комплекта рабочих чертежей и (через точку) шифра ВТ, например, 2345-11-ТИ.ВТ.

При  выполнении ВТ отдельным документом первым листом является титульный лист. Титульный лист выполняют по форме 2, приложение Г.

Допускается  титульный лист не выполнять. В этом случае на первом листе ВТ наносят основную надпись по форме 3 ГОСТ 21.101.


7 СПЕЦИФИКАЦИЯ ОБОРУДОВАНИЯ


7.1  В спецификацию оборудования (СО) конструкции изделия и материалы записывают по группам в следующей последовательности:

—  конструкции (изделия) теплоизоляционные;

—  материалы теплоизоляционные;

—  материалы пароизоляционные;

—  материалы покровного слоя;

—  другие материалы.

Изделия  крепежные (болты, гайки, шайбы, прокладки) в СО не включают.


7.2  В графе "Наименование" перед наименованиями конструкций, изделий и материалов, включенных в СО, указывают порядковый номер их записи в СО. Графу "Поз." не заполняют.


7.3  В СО принимают следующие единицы измерений:

—  конструкции (изделия) — шт.;

—  материалы теплоизоляционные — куб.м;

—  материалы пароизоляционные и покровного слоя — кв.м;

—  другие материалы — кг.



8 ЭСКИЗНЫЕ ЧЕРТЕЖИ ОБЩИХ ВИДОВ НЕТИПОВЫХ ИЗДЕЛИЙ


8.1  Эскизные чертежи выполняют в объеме задания, необходимого для разработки конструкторской документации.


8.2  Эскизный чертеж должен содержать:

—  изображения изделия (виды, разрезы, сечения), технические требования и надписи, необходимые для понимания устройства изделия;

—  наименования составных частей изделия;

—  размеры и другие наносимые на изображения данные.


8.3  Изображения нетипового изделия выполняют с максимальными упрощениями.


8.4  Наименования составных частей нетипового изделия на эскизном чертеже указывают на полках линий-выносок.


8.5  В технических требованиях приводят:

—  требования к разрабатываемому изделию и применяемым материалам;

—  требования к изготовлению, монтажу и окраске;

—  особые требования к изделию, например кислостойкость.


8.6  Эскизному чертежу присваивают самостоятельное обозначение, состоящее из обозначения основного комплекта рабочих чертежей по ГОСТ 21.101, через точку шифра Н и порядкового номера эскизного чертежа.

Пример  — 2345-11-ТИ.Н1; 2345-11-ТИ.Н2



ПРИЛОЖЕНИЕ А

(справочное)

Пример выполнения чертежа тепловой изоляции


ПРИЛОЖЕНИЕ Б

(обязательное)

Ведомость техномонтажная



ПРИЛОЖЕНИЕ В

(обязательное)

Перечень обозначений, применяемых в техномонтажной

ведомости при заполнении графы "Назначение и

расположение"

+——————————————————————+

¦             Наименование                        ¦  Обозначение   ¦

+————————————————-+—————-¦

¦             Назначение                          ¦                ¦

¦                                                 ¦                ¦

¦Соблюдение норм плотности теплового потока       ¦      СН        ¦

¦                                                 ¦                ¦

¦Соблюдение требований безопасности               ¦      ТБ        ¦

¦                                                 ¦                ¦

¦Сохранение заданной температуры                  ¦      СТ        ¦

¦                                                 ¦                ¦

¦Предотвращение конденсации влаги на поверхности  ¦                ¦

¦изоляции или внутренней поверхности изолируемого ¦                ¦

¦оборудования или трубопровода                    ¦      ПК        ¦

¦                                                 ¦                ¦

¦Предотвращение замерзания или увеличения вязкости¦                ¦

¦вещества                                         ¦      З         ¦

¦                                                 ¦                ¦

¦             Расположение                        ¦                ¦

¦                                                 ¦                ¦

¦На открытом воздухе                              ¦      О         ¦

¦                                                 ¦                ¦

¦В помещении                                      ¦      П         ¦

¦                                                 ¦                ¦

¦В тоннеле                                        ¦      Т         ¦

¦                                                 ¦                ¦

¦В канале                                         ¦      К         ¦

¦                                                 ¦                ¦

¦В техническом подполье                           ¦      ТП        ¦


ПРИЛОЖЕНИЕ Г

(обязательное)

  

Титульный лист

                    

Форма 2

_______

*  Допускается не указывать наименование министерства (ведомства)




Текст документа сверен по:

официальное издание

МНТКС — М.: ИПК Издательство

стандартов, 1995