ГОСТ 2177-99
(ИСО 3405-88)
МЕЖГОСУДАРСТВЕННЫЙ СТАНДАРТ
НЕФТЕПРОДУКТЫ
Методы определения фракционного состава
МЕЖГОСУДАРСТВЕННЫЙ СОВЕТ
ПО СТАНДАРТИЗАЦИИ, МЕТРОЛОГИИ И СЕРТИФИКАЦИИ
Минск
Предисловие
1. РАЗРАБОТАН Межгосударственным техническим комитетом ТК 31 «Нефтяные топлива и смазочные материалы» (ВНИИ НП).
ВНЕСЕН Госстандартом России.
2. ПРИНЯТ Межгосударственным советом по стандартизации, метрологии и сертификации (протокол № 15 от 28 мая 1999 г.).
За принятие проголосовали:
|
Наименование государства |
Наименование национального органа по стандартизации |
|
Азербайджанская Республика |
Азгосстандарт |
|
Республика Армения |
Армгосстандарт |
|
Республика Беларусь |
Госстандарт Беларуси |
|
Республика Казахстан |
Госстандарт Республики Казахстан |
|
Киргизская Республика |
Киргизстандарт |
|
Республика Молдова |
Молдовастандарт |
|
Российская Федерация |
Госстандарт России |
|
Республика Таджикистан |
Таджикгосстандарт |
|
Туркменистан |
Главная государственная инспекция Туркменистана |
|
Республика Узбекистан |
Узгосстандарт |
|
Украина |
Госстандарт Украины |
3. Настоящий стандарт представляет собой полный аутентичный текст международного стандарта ИСО 3405-88 «Нефтепродукты. Определение фракционного состава» с дополнительными требованиями, отражающими потребности экономики страны.
4. Постановлением Государственного комитета Российской Федерации по стандартизации и метрологии от 21 сентября 1999 г. № 300-ст межгосударственный стандарт ГОСТ 2177-99 введен в действие непосредственно в качестве государственного стандарта Российской Федерации с 1 января 2001 г.
5. ВЗАМЕН ГОСТ 2177-82.
6. ИЗДАНИЕ (декабрь 2003 г.) с Поправкой (ИУС 1-2002).
СОДЕРЖАНИЕ
|
|
ГОСТ 2177-99
МЕЖГОСУДАРСТВЕННЫЙ СТАНДАРТ
НЕФТЕПРОДУКТЫ
Методы определения фракционного состава
Petroleum products.
Methods for determination of distillation characteristics
Дата введения 2001-01-01
1. Назначение и область применения
Настоящий стандарт устанавливает методы определения фракционного состава нефтепродуктов.
В зависимости от условий проведения испытания проводят двумя способами:
А — для автомобильных бензинов, авиационных бензинов, авиационных топлив для турбореактивных двигателей, растворителей с установленной точкой кипения, нафты, уайт-спирита, керосина, газойлей, дистиллятных жидких топлив и аналогичных нефтепродуктов;
Б — для нефти и темных нефтепродуктов.
При разногласиях в оценке качества нефти и нефтепродуктов применяют метод А.
Примечание — Для перегонки авиационных турбинных топлив и других продуктов с широким диапазоном температур кипения следует использовать высокотемпературные термометры, указанные в группе 3 ().
Фракционный состав является определяющей характеристикой при установлении области применения нефтепродуктов. Пределы гарантируют качество продуктов с соответствующими характеристиками испаряемости.
Условия испытания по методу с применением автоматического оборудования (приложение ) эмпирически подобраны так, что они коррелируют с условиями перегонки при использовании ручного оборудования, а также с другими характеристиками испаряемости.
Дополнения, отражающие потребности экономики страны, выделены курсивом.
2. Нормативные ссылки
В настоящем стандарте использованы ссылки на следующие стандарты:
ГОСТ 400-80 Термометры стеклянные для испытаний нефтепродуктов. Технические условия.
ГОСТ 1756-2000 (ИСО 3007-99) Нефтепродукты. Определение давления насыщенных паров.
ГОСТ 1770-74 Посуда мерная лабораторная стеклянная. Цилиндры, мензурки, колбы, пробирки. Общие технические условия.
ГОСТ 2477-65 Нефть и нефтепродукты. Метод определения содержания воды.
ГОСТ 2517-85 Нефть и нефтепродукты. Методы отбора проб.
ГОСТ 4166-76 Натрий сернокислый. Технические условия.
ГОСТ 4233-77 Натрий хлористый. Технические условия.
ГОСТ 12026-76 Бумага фильтровальная лабораторная. Технические условия.
ГОСТ 25336-82 Посуда и оборудование лабораторные стеклянные. Типы, основные параметры и размеры.
3. Термины и определения
В настоящем стандарте применяют следующие термины и определения:
3.1 температура начала кипения: Температура, отмеченная (скорректированная, если необходимо) в момент падения первой капли конденсата с конца холодильника во время перегонки в стандартных условиях.
3.2 температура конца кипения: Максимальная температура, отмеченная (скорректированная, если необходимо) в период завершающей стадии перегонки в стандартных условиях. Это обычно происходит после выпаривания всей жидкости со дна колбы. Максимальная температура часто используется как синоним температуры конца кипения.
3.3 температура конца перегонки (выпаривания): Температура, отмеченная (скорректированная, если необходимо) в момент испарения последней капли жидкости со дна колбы во время перегонки в стандартных условиях. Капли или пленка жидкости на стенке колбы или термометра не учитываются.
Примечание — На практике чаще применяют термин «температура конца кипения», чем «выпаривания». Последняя может быть использована для дистиллятов специального назначения, например, применяемых в лакокрасочной промышленности. Термин «температура выпаривания» применяется вместо температуры конца кипения при испытании образцов, когда точность определения температуры кипения не удовлетворяет требованиям .
3.4 температура разложения: Показание термометра, соответствующее первым признакам термического разложения в колбе.
Примечание — Характерными признаками термического разложения являются выделение белых паров и неустойчивые показания термометра, которые обычно уменьшаются после любой попытки отрегулировать нагрев.
3.5 объем отогнанного продукта: Объем конденсата в кубических сантиметрах в мерном цилиндре, который отмечают одновременно с показанием термометра.
3.6 отгон (выход): Максимальный объем конденсата в соответствии с , в процентах.
3.7 восстановленный общий отгон: Сумма объема конденсата в мерном цилиндре и остатка в колбе, определенная в соответствии с , в процентах.
3.8 потери: Разность между 100 и восстановленным общим объемом, в процентах.
3.10 выпаривание: Сумма отогнанного продукта (выхода) и потерь, в процентах.
4. Сущность метода
Сущность метода заключается в перегонке 100 см3 испытуемого образца при условиях, соответствующих природе продукта (таблица ), и проведении постоянных наблюдений за показаниями термометра и объемами конденсата.
Таблица 1 — Условия испытаний
|
Значения для группы |
||||||
|
1 |
2 |
3 |
4 |
|||
|
1. Характеристика образца |
|
|
|
|
||
|
1.1 Давление насыщенных паров при 37,8 °С, кПа (мм рт. ст.) (ГОСТ 1756) |
≥ 65,5 (³ 488) |
< 65,5 (< 488) |
||||
|
1.2 Перегонка, °С: |
|
|
|
|
||
|
температура начала кипения1 |
— |
£ 100 |
> 100 |
|||
|
температура конца кипения |
£ 250 |
> 250 |
||||
|
2. Подготовка аппаратуры |
|
|
|
|
||
|
2.1 Термометр для перегонки () |
Низкотемпературный термометр |
Высокотемпературный термометр |
||||
|
2.2 Диаметр отверстия прокладки колбы2), мм |
37,5 или 50 |
50 |
||||
|
2.3 Температура в начале испытания, °С: |
|
|
|
|
||
|
колбы и термометры |
13 — 18 |
£ Температура окружающей среды |
||||
|
прокладки для колбы и кожуха |
Температура окружающей среды |
— |
||||
|
мерного цилиндра со 100 см3 пробы () |
13 — 18 |
От 13 до температуры окружающей среды |
||||
|
2.4 Вместимость колбы, см3 () |
125 |
|||||
|
3. Условия проведения испытания |
|
|
|
|
||
|
3.1 Температура охлаждающей жидкости в холодильнике, °С |
0 — 1 |
0 — 4 |
0 — 603) |
|||
|
3.2 Температура среды, окружающей мерный цилиндр, °С |
13 — 18 |
В пределах ±3 °С от температуры загруженного продукта |
||||
|
3.3 Время от момента нагревания до начала кипения, мин |
5 — 10 |
5 — 15 |
||||
|
3.4 Время от начала кипения до получения 5 % отгона, с |
60 — 75 |
— |
||||
|
3.5 Постоянная средняя скорость перегонки отгона 5 % до получения 95 см3 отгона, см3/мин |
4 — 5 |
|||||
|
3.6 Время перегонки от 95 см3 отгона до конца кипения, мин |
3 — 5 или 2 — 5 |
£ 5 |
||||
|
1) Определено при условиях испытаний соответствующей группы продуктов. 2) Диаметры отверстия подставки колбы могут быть изменены. 3) Температуру охлаждающей жидкости устанавливают в зависимости от содержания парафина в испытуемой пробе или ее дистиллятных фракциях. Следует поддерживать минимальную температуру, обеспечивающую необходимую скорость перегонки. |
||||||
В зависимости от давления насыщенных паров и температуры начала и конца кипения нефтепродукты подразделяют на четыре группы (таблица ).
(Поправка).
5. Метод А
5.1 Аппаратура, материалы и реактивы
Стандартные типы приборов представлены на рисунках и .
Допускается использовать другие типы аппаратов, в том числе автоматические, обеспечивающие получение результатов в соответствии с точностью метода.
Использование автоматических приборов допустимо только при согласии заинтересованных сторон и указании в протоколе испытания типа прибора. В приложении приведен метод определения фракционного состава при помощи автоматического аппарата.
В приложении приведены обобщенные сопоставительные данные.
1 — колба для перегонки; 2 — термометр; 3 — крышка бани; 4 — фильтровальная бумага; 5 — подставка; 6 — мерный цилиндр; 7 — газопровод; 8 — охлаждающая баня; 9 — вентиляционные отверстия; 10 — горелка; 11 — кожух; 12 — асбестовая прокладка
Рисунок 1 — Аппарат типа 1 (с применением газовой горелки)
1 — термометр; 2 — колба для перегонки; 3 — асбестовая прокладка; 4 — электрический нагревательный элемент; 5 — подставка; 6 — ручка для регулирования положения колбы; 7 — диск для регулирования нагрева; 8 — выключатель; 9 — открытое дно кожуха; 10 — мерный цилиндр; 11 — фильтровальная бумага; 12 — охлаждающая баня; 13 — трубка холодильника; 14 — кожух
Рисунок 2 — Аппарат типа 2 (с применением электрического нагревателя)
Колба должна быть изготовлена из термостойкого стекла (рисунок ) или типа КРН по ГОСТ 25336. Края пароотводной трубки и горловины колбы должны быть оплавлены.
Примечание — Для испытаний, в которых определяют температуру конца перегонки нефтепродуктов, целесообразно применять специально отобранные колбы, имеющие дно и стенки одинаковой толщины.
5.1.2 Холодильник и охлаждающая баня
Холодильник и охлаждающая баня изображены на рисунках и .
Могут быть использованы другие конструкции холодильника при условии, что полученные при этом результаты соответствуют точности 5.6.
5.1.2.1 Трубка холодильника должна быть изготовлена из цельнотянутой латунной трубки. Длина трубки 560 мм, наружный диаметр 14 мм, толщина стенки от 0,8 мм до 0,9 мм.
Рисунок 3 — Колба для перегонки
Верхний выступающий конец трубки должен находиться под углом 75 ° к вертикали.
Часть трубки, находящейся внутри охлаждающей бани, может быть прямой или изогнутой.
Средний наклон должен составлять 0,26 мм на 1 мм трубки холодильника (эквивалентно углу в 15 °), а участок погруженной части трубки холодильника должен иметь наклон не менее 0,24 мм и не более 0,28 мм на 1 мм трубки холодильника.
Выступающая нижняя часть трубки холодильника длиной 76 мм должна быть изогнута вниз и слегка назад для обеспечения контакта конденсата со стенкой мерного цилиндра в точке, расположенной на расстоянии от 25 до 32 мм ниже верхней кромки мерного цилиндра. Нижний конец трубки холодильника обрезают под острым углом, чтобы он мог соприкасаться со стенкой мерного цилиндра.
Трубка холодильника должна быть расположена в охлаждающей бане так, чтобы ее осевая линия находилась на расстоянии не менее 32 мм ниже верхней части корпуса бани на входе и не менее 19 мм над дном бани в месте выхода.
5.1.2.4 Расстояние между трубкой холодильника и стенками бани должно быть не менее 13 мм, за исключением участков трубки, прилегающих к местам ее входа и выхода.
Допускается использовать различные устройства, состоящие из нескольких трубок при условии, что они удовлетворяют требованиям и , а вместимость охлаждающей бани должна быть не менее 5,5 дм3 в расчете на каждую трубку.
5.1.3 Металлический экран или кожух для колбы
5.1.3.1 Металлический кожух типа 1 (рисунок ) высотой 480 мм, длиной 280 мм и шириной 200 мм изготовляют из листового металла толщиной около 0,8 мм. На одной из узких сторон кожуха должна быть дверка и два отверстия диаметром 25 мм, расположенные на равном расстоянии в каждой из узких сторон; в одной из сторон кожуха имеется прорезь для пароотводной трубки.
Центры этих четырех отверстий должны находиться на расстоянии 215 мм от верхней кромки кожуха. В каждой из четырех сторон кожуха имеются три отверстия диаметром 13 мм; центры их находятся на 25 мм выше основания кожуха. По горизонтали центры отверстий должны быть расположены на расстоянии 62 мм от стенки.
5.1.3.2 Кожух типа 2 (рисунок ) высотой 440 мм, длиной 200 мм, шириной 200 мм изготовляют из листового металла толщиной около 0,8 мм с окошечком на передней стороне.
Открытое дно кожуха должно быть на расстоянии 50 мм от основания, на котором установлен аппарат. На задней стороне кожуха должно быть овальное отверстие для пароотводной трубки. На передней стенке кожуха должна быть ручка для регулирования положения колбы. При использовании электрического нагревателя (рисунок ) для обеспечения плавного нагрева применяется регулятор нагрева, обеспечивающий плавное регулирование напряжения.
Нагреватель и регулятор нагрева монтируют в нижней части кожуха. Часть кожуха, расположенная над прокладкой для колбы (), должна быть такой же, как при использовании газовой горелки. Однако нижняя часть может отсутствовать, а нагреватель, регулятор напряжения и верхняя часть кожуха поддерживаются любым способом.
5.1.4 Источник нагрева
5.1.4.1 Газовая горелка (рисунок ), конструкция которой должна обеспечивать достаточное количество тепла при перегонке нефтепродукта с заданной скоростью. Для регулирования нагрева можно применять чувствительный регулирующий клапан и регулятор газового давления.
5.1.4.2 Допускается использовать электронагреватель (рисунок ) взамен газовой горелки при условии, что он может обеспечивать проведение перегонки с заданной скоростью. Для этой цели подходят нагревательные устройства с малой тепловой мощностью от 0 до 1000 Вт.
5.1.5 Подставка для колбы
5.1.5.1 В аппарате типа 1 с газовой горелкой (рисунок ) может быть использована кольцевая подставка обычного лабораторного типа диаметром 100 мм или более; подставка крепится на стойке внутри кожуха или на платформе, регулируемой с внешней стороны кожуха.
Две твердые плитки, керамические или из другого жаропрочного материала, толщиной от 3 до 6 мм помещают на кольцо или платформу. Прокладка, помещенная на кольцо или платформу, имеет центральное отверстие диаметром от 76 до 100 мм и наружные линейные размеры несколько меньшие внутренних границ кожуха.
Размеры верхней прокладки для колбы должны быть меньше по сравнению с нижней. Центральное отверстие должно соответствовать размерам, указанным в таблице . Толщина по ободу центрального отверстия составляет от 3 до 6 мм. Эта прокладка может медленно перемещаться в соответствии с направлениями перемещений колбы для перегонки, теплообмен с колбой осуществляется только через это отверстие в прокладке.
5.1.5.2 В аппарате типа 2 с электрическим нагревателем (рисунок ) верхняя часть электронагревателя состоит из керамической плитки или плитки из другого жаропрочного материала с центральным отверстием, соответствующим размерам, указанным в таблице . Толщина по ободу центрального отверстия составляет от 3 до 6 мм, диаметр отверстия 50 мм. Нагревательное устройство может перемещаться таким образом, чтобы теплообмен с колбой осуществлялся только через отверстие в прокладке колбы.
5.1.6.1 Цилиндр мерный с носиком и оплавленными краями вместимостью 100 см3 и ценой деления 1 см3. Форма основания цилиндра может быть любой, но она должна обеспечивать устойчивость пустого цилиндра, установленного на поверхности при угле наклона к горизонтальной линии 15°.
Конструкционные особенности и допуски для мерного цилиндра показаны на рисунке . Допускается использовать приемник Крау при условии, что размеры по вертикали и длина шкалы соответствуют указанным на рисунке .
5.1.6.2 Цилиндр мерный с носиком и оплавленными краями вместимостью 10 см3 с ценой деления 0,1 см3.
Цилиндр мерный вместимостью 10 и 100 см3 по ГОСТ 1770.
5.1.7 Баня охлаждающая для цилиндра
Баня охлаждающая () представляет собой высокий химический сосуд из прозрачного стекла или пластмассы. Высота бани должна быть такой, чтобы можно было погрузить мерный цилиндр в охлаждающую жидкость до отметки 100 см3.
5.1.8.1 Термометр стеклянный ртутный, наполненный азотом, с градуировкой на столбике, покрытый эмалью с обратной стороны и отвечающий требованиям, указанным в таблице .
Термометры подвергают искусственному старению путем соответствующей термической обработки перед градуировкой для обеспечения стабильности значения нуля. Термообработка должна быть такой, чтобы после проведения описанной ниже процедуры максимальная погрешность находилась в указанных пределах.
Рисунок 4 — Мерный цилиндр вместимостью 100 см3, с ценой деления 1 см3, допуск ±1,0 см3
Таблица 2 — Технические характеристики термометров ASTM
|
Значение для термометра |
||
|
низкотемпературного 7С (5С)1) |
высокотемпературного 8С (6С)1) |
|
|
1. Диапазон, °С |
-2 +300 |
-2 +400 |
|
2. Цена деления, °С |
1 |
|
|
3. Глубина погружения, мм |
Полная |
|
|
4. Общая длина, мм |
381 — 391 |
|
|
5. Диаметр столбика, мм |
6 — 7 |
|
|
6. Форма резервуара для ртутного шарика |
Цилиндрическая |
|
|
7. Длина резервуара для ртутного шарика, мм |
10 — 15 |
|
|
8. Диаметр резервуара для ртутного шарика, мм |
5 — 6 |
|
|
9. Расстояние от дна шарика до отметки 0 °С, мм |
100 — 110 |
25 — 45 |
|
10. Расстояние от дна шарика до штриха 300 °С, мм |
333 — 354 |
— |
|
11. Расстояние от дна шарика до отметки 400 °С, мм |
— |
333 — 354 |
|
12. Длинные метки через каждые, °С |
5 |
|
|
13. Цифры поставлены через каждые, °С |
10 |
|
|
14. Максимальная погрешность шкалы, °С |
0,5 до 300 |
1 до 370 |
|
15. Максимальная ширина штриха (метки), мм |
0,23 |
|
|
16. Расширительная камера2) |
См. примечание |
— |
|
17. Стабильность при нагреве |
См. примечание |
|
|
1) При определенных условиях испытания температура ртутного шарика может быть на 28 °С выше температуры, показываемой термометром, при температуре 371 °С температура ртутного шарика приближается к критической температуре стекла. Следовательно, нежелательно применять термометр при температуре выше 371 °С без последующей проверки точки замерзания. 2) Расширительная камера необходима для уменьшения давления газа, чтобы избежать разрушения шарика при более высоких температурах. Она не служит для восстановления разорванного столба ртути. Не следует нагревать термометр выше максимального значения шкалы |
||
Нагревают термометр до температуры, соответствующей его самой высокой температуре (отметке), и выдерживают при этой температуре в течение 5 мин. Охлаждают термометр либо в естественных условиях, либо постепенно в испытуемой бане до температуры на 20 °С выше температуры окружающей среды или до 50 °С (в зависимости от того, какая температура ниже), а затем определяют погрешность при выбранной эталонной температуре (точке). При естественном охлаждении на воздухе погрешность определяют в течение 1 ч. Еще раз нагревают термометр до температуры, соответствующей самой высокой отметке по шкале, и выдерживают его при этой температуре в течение 24 ч, охлаждают до одной из указанных температур при скорости, приведенной в первой части испытания, и повторно определяют погрешность.
В таблице приведены технические характеристики термометров ASTM 7C (-2 + 300) °С и ASTM 8C (-2 + 400) °С.
5.1.8.2 Термометр стеклянный ртутный по ГОСТ 400 типа ТИН 4-1 и ТИН 4-2.
5.1.9 Вещества обезвоживающие: натрий сернокислый безводный (сульфат натрия) по ГОСТ 4166, натрий хлористый по ГОСТ 4233 или любые другие обезвоживающие реагенты.
5.1.10 Бумага фильтровальная по ГОСТ 12026.
5.1.11 Секундомер не ниже 2-го класса точности.
5.1.12 Барометр.
5.2 Отбор проб
Отбор проб — по ГОСТ 2517.
5.2.1 При испытании нефтепродукта 1-й группы с давлением паров по Рейду порядка 65,5 кПа или выше склянку с пробой охлаждают до температуры от 13 до 18 °С.
Пробу отбирают в предварительно охлажденную склянку, если это возможно, погружением склянки в нефтепродукт, при этом первую налитую порцию выливают.
Если погружение склянки невозможно, пробу отбирают в предварительно охлажденную склянку таким образом, чтобы свести к минимуму перемешивание.
Немедленно закрывают склянку плотно прилегающей пробкой, помещают ее в ледяную баню или холодильник и хранят до начала испытания при температуре не выше 15 °С.
Нефтепродукты 2, 3 и 4-й групп испытывают без предварительного охлаждения.
5.2.2 Пробы продуктов, в которых явно присутствует вода, для испытаний не пригодны. Если проба обводнена и предполагаемая температура кипения ниже 66 °С, для проведения испытания следует взять другую пробу, в которой отсутствует взвешенная вода.
Если предполагаемая температура начала кипения равна или выше 66 °С, пробу встряхивают с безводным сульфатом натрия или другим соответствующим осушителем и после отстаивания отделяют пробу от осушителя путем декантации.
5.3 Подготовка аппаратуры
5.3.1 В соответствии с таблицей и выбирают термометр, который необходим для испытания образца.
Температуру пробы нефтепродукта, колбы, термометра, мерного цилиндра, прокладки для колбы и кожуха доводят до температуры, необходимой для начала испытания и приведенной в таблице .
5.3.2 Заполняют охлаждающую баню холодильника, например, колотым льдом, водой, льдом с солью и водой или раствором этиленгликоля так, чтобы вся трубка холодильника находилась в охлаждающей жидкости.
При использовании колотого льда добавляют достаточное количество воды для того, чтобы покрыть всю трубку холодильника.
Для сохранения необходимой температуры в бане холодильника при необходимости применяют циркуляцию, перемешивание или продувку воздухом.
Аналогичные меры следует предусмотреть для поддержания температуры охлаждающей бани для мерного цилиндра (см. таблицу ).
5.3.3 Остатки жидкости удаляют из трубки холодильника, протирая ее куском мягкой ткани без ворса, прикрепленной к жгуту или медной проволоке.
5.3.4 Отбирают 100 см3 пробы мерным цилиндром и переносят по возможности полностью в колбу для перегонки, соблюдая все меры предосторожности так, чтобы ни одна капля жидкости не попала в пароотводную трубку.
5.3.5 Вставляют термометр через отверстие плотно пригнанной пробки в горловину колбы так, чтобы ртутный шарик термометра располагался по центру горловины колбы и нижний конец капилляра находился на одном уровне с самой высокой точкой нижней внутренней стенки пароотводной трубки (см. рисунок ).
Рисунок 5 — Положение термометра в перегонной колбе
5.3.6 Колбу с пробой устанавливают на подставку и с помощью пробки, через которую проходит пароотводная трубка, плотно соединяют ее с трубкой холодильника; закрепляют колбу в вертикальном положении так, чтобы пароотводная трубка входила в трубку холодильника на расстояние от 25 мм до 50 мм.
5.3.7 Мерный цилиндр, которым отмеряли пробу для испытания, помещают без высушивания в баню для цилиндра под нижний конец трубки холодильника с таким расчетом, чтобы конец трубки холодильника находился в центре цилиндра и входил в него на расстояние не более 25 мм, но не ниже отметки 100 см3. Плотно закрывают цилиндр куском фильтровальной бумаги или другого аналогичного материала, подобранного так, чтобы он плотно прилегал к трубке холодильника.
Если температура воздуха, окружающего цилиндр, не отвечает требованиям таблицы , используют охлаждающую баню (), а цилиндр погружают так, чтобы жидкость покрывала отметку 100 см3.
5.3.8 Записывают барометрическое давление и проводят перегонку в соответствии с .
5.4 Проведение испытания
5.4.1 Нагревают колбу для перегонки с ее содержимым.
Регулируют нагрев так, чтобы период времени между началом нагрева и температурой начала кипения соответствовал указанному в таблице .
5.4.2 После того, как отмечена температура начала кипения, цилиндр ставят так, чтобы кончик холодильника соприкасался с его внутренней стенкой, а конденсат стекал по стенке. Продолжают регулировать нагрев с таким расчетом, чтобы скорость перегонки от 5 %-ного отгона до получения 95 см3 отгона в мерный цилиндр была постоянной для всех групп (см. таблицу ). Если перегонка не удовлетворяет требованиям, приведенным в таблице , то ее следует повторить.
5.4.3 От начала кипения до конца испытания записывают все необходимые данные для расчета. Результаты испытания записывают в соответствии с .
Эти данные включают показания термометра при указанном проценте отгона или процент отгона при заданном показании термометра, или то и другое. Объемы продукта в мерном цилиндре измеряют с погрешностью не более 0,5 см3, а все показания термометра — с погрешностью не более 0,5 °С до 300 °С и не более 1 °С до 370 °С.
5.4.4 При наблюдаемом начале разложения продукта, если при перегонке температура поднимается до 370 °С, прекращают нагревание и продолжают испытание в соответствии с .
В остальных случаях руководствуются требованиями .
5.4.5 Регулируют нагрев так, чтобы время от образования 95 см3 отгона до температуры конца кипения соответствовало требованиям, указанным в таблице . Если это условие не выполнено, то испытание повторяют, изменяя условия регулирования нагрева.
5.4.6 Отмечают температуру конца кипения (температуру вскипания) или температуру конца перегонки (температуру выпаривания). При необходимости записывают оба значения и прекращают нагревание. Если по достижении температуры конца кипения (температуры выкипания) не вся жидкость испарилась со дна колбы, объем этой жидкости принимают за остаток ().
Тщательно измеряют этот объем, записывают его значение с точностью до 0,5 см3 как процент отгона (выхода).
Допускается измерять объем охлажденного остатка, содержащегося в колбе, сливая его в цилиндр вместимостью 10 см3, за общий восстановленный процент принимают сумму значений установленного объема и объема конденсата.
5.4.9 Процент потерь равен разности 100 и общего восстановленного процента.
5.5 Обработка результатов
Если в нормативной документации не указаны особые данные, записывают температуру начала кипения, конца кипения (температуру выкипания), или температуру конца перегонки (температуру выпаривания), или оба значения показания термометра при 5- и 95 %-ном отгонах и при кратном 10 %-ном отгоне (объеме отогнанного продукта) от 10 до 90 % включительно.
5.5.2 Записывают значения всех объемов в процентах с погрешностью не более 0,5, показания термометра с погрешностью не более 0,5 °С до 300 °С и не более 1 °С до 370 °С и барометрическое давление с погрешностью не более 0,05 кПа (0,5 мбар) (0,38 мм рт. ст.).
5.5.3 При испытании авиационных турбинных топлив или аналогичных продуктов часть шкалы термометра может быть закрыта пробкой. Для получения необходимых данных следует провести перегонку новой порции продукта в соответствии с условиями, установленными для группы 3 (таблица ) и с применением термометра ТИН 4-2 (или ASTM 7C). В этих случаях в отчете об испытаниях необходимо указать замененные данные.
Если по соглашению сторон эти данные не записывают, это должно быть указано в протоколе испытания.
5.5.4 Если данные должны быть основаны на показаниях термометра, скорректированного по барометрическому давлению 101,3∙103 Па (1013 мбар) (760 мм рт. ст.), применяют поправку С на барометрическое давление к каждому показанию термометра по формуле () или используют данные таблицы .
После внесения поправок и округления каждого результата до 0,5 °С во всех дальнейших расчетах и записи результатов следует использовать скорректированные показания термометра.
Поправку С прибавляют алгебраически к отмеченному показанию термометра (см. таблицу ).
С = 0,00009 (101,3∙103 — Рb)∙(273 + t0), (1)
где Рb — барометрическое давление, преобладающее во время испытания, Па;
t0 — наблюдаемые показания термометра, °С.
Таблица 3 — Приближенные скорректированные показания термометра
в °С
|
Поправка1) на разность давлений на каждые |
||
|
103 Па |
10 мм рт. ст. (10 мбар) |
|
|
От 10 до 30 |
0,26 |
0,35 |
|
Св. 30 » 50 |
0,29 |
0,38 |
|
» 50 » 70 |
0,30 |
0,40 |
|
» 70 » 90 |
0,32 |
0,42 |
|
» 90 »110 |
0,34 |
0,45 |
|
» 110 » 130 |
0,35 |
0,47 |
|
» 130 » 150 |
0,38 |
0,50 |
|
» 150 » 170 |
0,39 |
0,52 |
|
» 170 » 190 |
0,41 |
0,54 |
|
» 190 » 210 |
0,43 |
0,57 |
|
» 210 » 230 |
0,44 |
0,59 |
|
» 230 до 250 |
0,46 |
0,62 |
|
» 250 » 270 |
0,48 |
0,64 |
|
» 270 » 290 |
0,50 |
0,66 |
|
» 290 » 310 |
0,52 |
0,69 |
|
» 310 » 330 |
0,53 |
0,71 |
|
» 330 » 350 |
0,56 |
0,74 |
|
» 350 » 370 |
0,57 |
0,76 |
|
» 370 » 390 |
0,59 |
0,78 |
|
» 390 » 410 |
0,60 |
0,81 |
|
1) Прибавить, если барометрическое давление ниже 101,3∙103 Па (1013 мбар) (760 мм рт. ст.), вычесть, если барометрическое давление выше 101,3∙103 Па (1013 мбар) (760 мм рт. ст.). |
||
Показания термометра, используемые в классификации или спецификации на продукт (или в том и другом случае), должны быть основаны на барометрическом давлении 101,3 кПа (1013 мбар) (760 мм рт. ст.). При сравнении данных испытания или оценки их соответствия техническим условиям отмеченные показания термометра должны быть скорректированы на давление 101,3 кПа (1013 мбар) (760 мм рт. ст.).
Если результаты испытания не нужны для сравнения с другими данными, скорректированными на 101,3 кПа (1013 мбар) (760 мм рт. ст.) или если испытание проводилось для проверки соответствия техническим условиям, которыми не предусматривается корректировка данных на 101,3 кПа (1013 мбар), использование барометрических поправок не обязательно. Это должно быть указано при записи данных испытания.
Потери и остаток вычисляют в соответствии с и , в процентах.
5.5.6 При испытании бензинов или других продуктов, классифицированных по группе 1 таблицы , объем выпаривания нормируется в том случае, если потери составляют 2 % и более, в отчет записывают показания термометра и процент выпаривания () и производят расчет по и . В остальных случаях за результаты испытания принимают показания термометра и соответствующие им проценты испарения или отгона. В каждом отчете следует указать используемую систему построения отчета.
Обработка результатов по объему выпаривания (с учетом потерь) должна быть указана при записи данных.
5.5.8 При записи результатов испытания по показаниям термометра при указанном проценте выпаривания применяют один из двух методов, приведенных в и , и указывают в отчете, какой из двух методов (графический или расчетный) был использован.
Для построения графика на миллиметровую бумагу по оси ординат наносят все показания термометра по с поправкой на барометрическое давление, если это необходимо, а по оси абсцисс — соответствующие проценты отгона.
Наносят начальную температуру кипения при нулевом проценте отгона. Строят кривую, соединяющую эти точки. Из каждого установленного процента выпаривания вычитают потери при перегонке с целью вычисления соответствующего процента отгона и определяют по графику показания термометра, соответствующие этому проценту отгона (см. ).
Значения, полученные методом графической интерполяции, зависят от точности построения кривых.
Примечание — Пример, иллюстрирующий графический метод, приведен в приложении .
Для получения соответствующего процента отгона вычитают потери при перегонке из каждого установленного процента испарения. Каждое требуемое показание термометра t, °С, рассчитывают по формуле
, (2)
где V — объем отгона, соответствующий заданному объему выпаривания, минус потери, %;
Vn — объем отгона, равный заданному объему выпаривания, %;
Vn-1 — предыдущий по отношению к Vn объем отгона, если после начала кипения первым отмечается 5 %-ный отгон, то Vn-1 = 0, %;
tn — температура, соответствующая объему отгона Vn, °C;
tn-1 — температура, соответствующая объему отгона Vn-1, °С.
Значения, полученные расчетным методом, зависят от степени отклонений кривой перегонки от прямой линии.
Расстояния между последовательными точками, наносимыми на любой стадии испытания, должны быть не более чем указано в .
Не допускается проводить расчет методом экстраполяции.
Пример, иллюстрирующий расчетный метод, приведен в приложении .
5.5.9 Если спецификация включает максимальный процент потерь или минимальный процент отгона, или то и другое, то фактически потери должны быть скорректированы на 101,3 кПа (1013 мбар) (760 мм рт. ст.) атмосферного давления в соответствии с приведенным уравнением. Соответствующий скорректированный процент отгона определяют как сумму процента отгона и значения, на которое скорректированные потери меньше фактических потерь.
Скорректированные потери VK вычисляют по формуле
VK = AL + В, (3)
где L — потери при испытании, %;
А и В — константы, которые зависят от барометрического давления. Значения этих констант при различных давлениях приведены в таблице .
Все скорректированные данные должны быть соответствующим образом включены в отчет с целью определения соответствия спецификации.
Таблица 4 — Константы А и В, используемые при получении скорректированной величины потерь при перегонке
|
А |
В |
|||
|
103 Па |
мбар |
мм рт. ст. |
||
|
74,7 |
747 |
560 |
0,231 |
0,384 |
|
76,0 |
760 |
570 |
0,240 |
0,380 |
|
77,3 |
777 |
580 |
0,250 |
0,375 |
|
78,7 |
787 |
590 |
0,261 |
0,369 |
|
80,0 |
800 |
600 |
0,273 |
0,363 |
|
81,3 |
813 |
610 |
0,286 |
0,357 |
|
82,6 |
826 |
620 |
0,300 |
0,350 |
|
84,0 |
840 |
630 |
0,316 |
0,342 |
|
85,3 |
853 |
640 |
0,333 |
0,333 |
|
86,6 |
866 |
650 |
0,353 |
0,323 |
|
88,0 |
880 |
660 |
0,375 |
0,312 |
|
89,3 |
893 |
670 |
0,400 |
0,300 |
|
90,6 |
906 |
680 |
0,428 |
0,286 |
|
92,0 |
920 |
690 |
0,461 |
0,269 |
|
93,3 |
933 |
700 |
0,500 |
0,250 |
|
94,6 |
946 |
710 |
0,545 |
0,227 |
|
96,0 |
960 |
720 |
0,600 |
0,200 |
|
97,3 |
973 |
730 |
0,667 |
0,166 |
|
98,6 |
986 |
740 |
0,750 |
0,125 |
|
100,0 |
1000 |
750 |
0,857 |
0,071 |
|
101,3 |
1013 |
760 |
1,000 |
0,000 |
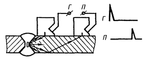
5.6 Точность метода, определенная статистическим исследованием результатов межлабораторных испытаний.
5.6.1 Сходимость
Два результата определений, полученные последовательно одним исполнителем, признаются достоверными (с 95 %-ной доверительной вероятностью), если расхождение между ними не превышает значения, определенного по номограмме (см. рисунок ).
5.6.2 Воспроизводимость
Два результата испытания, полученные в двух разных лабораториях, признаются достоверными (с 95 %-ной доверительной вероятностью), если расхождение между ними не превышает значения, определенного по номограмме (см. рисунок ).
5.6.3 Скорость изменения показания термометра в градусах Цельсия на процент испарения или процент отгона (см. примечание) в любой точке между температурами начала кипения и конца кипения или температурами начала кипения и полного выкипания, принимают за среднюю скорость между двумя точками, равноотстоящими ниже или выше определяемой точки. Рассматриваемый интервал не должен превышать 10 %-ного испарения или отгона в любом случае и не должен превышать 5 %, если определяемая точка не входит в диапазон отгона или выпаривания 10 — 90 %. Для температуры начала кипения и конца кипения или температуры полного выкипания скорость изменения показаний термометра принимают за среднюю скорость между крайними точками (начало и конец кипения). Значение не должно превышать 5 % испарения или отгона.
Примечание — Скорость изменения показаний термометра С, °С/%, вычисляют по формуле
, (4)
где ∆t = t4 — t3 — повышение температуры в рассматриваемом интервале, °С;
V3 — минимальный объем отгона или выпаривания в начале рассматриваемого интервала перегонки, %;
V4 — максимальный объем отгона или выпаривания в конце рассматриваемого интервала перегонки, %;
t3 — температура, при которой достигается минимальный объем отгона V3, °C;
t4 — температура, при которой достигается максимальный объем отгона V4, °C.
5.6.4 Чтобы облегчить проведение горизонтальной линии через график на требуемом уровне любым удобным способом, на рисунке левая и правая шкалы, характеризующие скорость изменения показаний термометра, идентичны. Отмечают точку пересечения этой линии с соответствующей шкалой. Участок, на котором происходит пересечение этой линии с вертикальными линиями, указывает на шкалы, соответствующие сходимости и воспроизводимости результатов.
t1 — температура начала кипения, °С; t2 — температура конца кипения или температура полного выкипания нефтепродукта, °С; t — температура при заданном проценте испарения или отгона, °С; V — процент испарения или отгона при заданной температуре
Рисунок 6 — Точность метода
Перегонка выполнена правильно, если результаты двух испытаний не превышают значений, полученных с помощью номограммы.
6. Метод Б
6.1 Аппаратура
Аппарат для разгонки нефтепродуктов [] или четырехгнездный, или шестигнездный аппарат, все детали которого, за исключением ванны холодильника, должны соответствовать нормативно-технической документации, или другие типы аппаратов, обеспечивающие получение результатов в соответствии с точностью метода (6.4).
Колба круглодонная для разгонки по ГОСТ 25336, типа КРН, вместимостью 100 и 250 см3 для разгонки нефти и темных нефтепродуктов.
Термометр типа ТН-7 [].
Цилиндры по ГОСТ 1770, исполнений 1 и 3, вместимостью 10 и 100 см3.
Секундомер не ниже 2-го класса точности или песочные часы на 1, 3, 5, 10 и 15 мин.
Горелки газовые с регулятором или электронагреватели с плавным регулированием мощности.
Барометр.
6.2 Подготовка к испытанию
6.2.1 Отбор проб — по ГОСТ 2517.
6.2.2 Подготовка пробы
6.2.2.1 Перед перегонкой нефтепродукты обезвоживают. При большом содержании воды нефтепродукт отстаивают и сливают, затем обезвоживают.
6.2.2.2 Обводненную нефть или темный нефтепродукт смешивают с деэмульгатором в герметично закрытом сосуде и нагревают до 40 — 60 °С. Выдерживают при этой температуре 1,5 — 2,0 ч и охлаждают до 20 °С, не открывая сосуда, чтобы избежать потерь легких фракций. При перегонке допускается воды в нефти не более 0,1 — 0,2 %, определенной в соответствии с ГОСТ 2471.
6.2.3 Подготовка аппаратуры
6.2.3.1 Для удаления жидкости, оставшейся от предыдущей перегонки, трубку холодильника протирают внутри мягкой тканью, прикрепленной к медной или алюминиевой проволоке.
6.2.3.2 Колбу промывают легким бензином и просушивают воздухом. По мере накопления в колбе коксового остатка его отмывают хромовой смесью или раствором щелочи либо прожигают в муфельной печи.
6.2.3.3 Сухим, чистым цилиндром отмеряют 100 см3 испытуемого нефтепродукта и осторожно переливают его в колбу так, чтобы жидкость не попала в отводную трубку колбы. Объем нефти и темных нефтепродуктов в цилиндре отсчитывают по верхнему мениску. При наливе в колбу нефтепродукт должен иметь температуру (20 ± 3) °С. Для парафинистых нефтей и жидких парафинов температура при наливе в колбу должна быть (33 ± 3) °С.
6.2.3.4 В горловину колбы с продуктом вставляют термометр на плотно пригнанной пробке так, чтобы ось термометра совпадала с осью шейки колбы, а верх ртутного шарика находился на уровне нижнего края отводной трубки в месте ее припая.
6.2.3.5 Колбы с жидким парафином и нефтью ставят на прокладку с внутренним фасонным отверстием 40/50 мм. Отводную трубку колбы соединяют с верхним концом трубки холодильника при помощи плотно пригнанной пробки так, чтобы отводная трубка входила в трубку холодильника на 25 — 40 мм и не касалась стенок последней. Соединения на корковых пробках заливают коллодием. Затем ставят верхний кожух на огнестойкую асбестовую прокладку, закрывая колбу.
6.2.3.6 При перегонке нефти и темных нефтепродуктов под трубку холодильника ставят чистый сухой цилиндр так, чтобы трубка холодильника входила в цилиндр не менее чем на 25 мм, но не ниже метки 100 см3 и не касалась его стенок. На время перегонки отверстие цилиндра закрывают ватой или листом фильтровальной бумаги.
6.2.4 Режим охлаждения
6.2.4.1 При перегонке темных нефтепродуктов, полученных из парафинистых нефтей и имеющих температуру застывания выше минус 5 °С, а также жидкого парафина температура воды в ванне холодильника в начале перегонки должна быть (50 ± 2) °С, а к концу перегонки может подниматься до 60 — 70 °С за счет теплообмена.
6.2.4.2 При перегонке нефти в начале температура воды в холодильнике должна быть 0 — 5 °С. Перегонку ведут без подачи проточной воды в холодильник.
При перегонке парафинистых нефтей при достижении 250 °С температуру воды в холодильнике доводят до 50 °С, добавляя в нее горячую воду.
6.3 Проведение испытания
6.3.1 Записывают барометрическое давление и равномерно нагревают колбу так, чтобы до падения первой капли конденсата с конца трубки холодильника в соответствующий цилиндр прошло:
5 — 10 мин — при перегонке нефти;
10 — 15 мин — при перегонке жидких парафинов и темных, нефтепродуктов.
При работе на многогнездном аппарате нагревают колбы поочередно, чтобы между моментами падения первых капель из двух различных трубок проходило не менее 2 мин.
6.3.2 Отмечают температуру, показываемую термометром в момент падения первой капли конденсата с конца трубки холодильника в мерный цилиндр, записывают как температуру начала перегонки (начала кипения).
6.3.3 Затем мерный цилиндр устанавливают так, чтобы конденсат стекал по стенке цилиндра. Далее перегонку ведут с равномерной скоростью 2 — 5 см3 в 1 мин, что соответствует примерно 20 — 25 каплям за 10 с (количество капель за 10 с, соответствующее скорости перегонки 2 — 5 см3 в 1 мин, уточняется для каждой трубки холодильника отдельно). Для проверки скорости перегонки по количеству капель цилиндр отставляют на короткий промежуток времени от конца трубки холодильника.
Начальную перегонку темных нефтепродуктов ведут так, чтобы скорость отгона первых 8 — 10 см3 была 2 — 3 см3 в 1 мин. Далее перегонку ведут со скоростью 4 — 5 см3 в 1 мин.
При перегонке нефти скорость отгона вначале должна быть 2 — 5 см3 в минуту, а затем 2 — 2,5 см3 в 1 мин (одна капля в 1 с).
6.3.4 В процессе перегонки производят записи в соответствии с нормативной документацией на испытуемый нефтепродукт. Эти данные включают показания термометра при указанном проценте отгона или процент отгона при заданном показании термометра.
Показания термометра записывают с учетом поправок на погрешность термометра, указанных в приложенном к нему свидетельстве, и на барометрическое давление по .
Объем конденсата в цилиндре отсчитывают так же, как указано в .
6.3.5 После достижения конечной температуры, установленной в нормативной документации на испытуемый нефтепродукт, нагрев колбы прекращают, дают стечь конденсату в течение 5 мин и записывают объем жидкости в цилиндре.
6.3.6 Если в нормативной документации на испытуемый нефтепродукт нормируется температура конца кипения, колбу нагревают до тех пор, пока ртутный столбик термометра не остановится на некоторой высоте, а после этого начинает спускаться. Максимальную температуру, показываемую при этом термометром, записывают как температуру конца кипения. При появлении белых паров анализ считается недействительным. Для таких продуктов за температуру конца кипения принимают температуру, при которой произошла остановка ртутного столбика термометра и еще не появились белые пары. После этого нагрев колбы прекращают, дают стечь конденсату в течение 5 мин и записывают объем жидкости в цилиндре.
6.3.7 Перегонку нефти ведут до 300 °С. При этом отмечают температуру начала кипения и объемы конденсатов при 100, 120, 150, 160 °С и далее через каждые 20 °С до 300 °С.
6.3.8 Все отсчеты при перегонке ведут с погрешностью не более 0,5 см3 и 1 °С.
6.3.9 После прекращения нагрева колбу охлаждают в течение 5 мин, снимают термометр, отсоединяют колбу от трубки холодильника и осторожно выливают горячий остаток из колбы в измерительный цилиндр вместимостью 10 см3. Цилиндр с остатком охлаждают до (20 + 3) °С и записывают объем остатка с погрешностью не более 0,1 см3.
6.3.10 Разность 100 см3 и суммы объемов конденсата и остатка записывают как процент потерь при перегонке.
6.3.11 При перегонке нефти остаток не измеряют.
6.3.12 При перегонке неизвестного по фракционному составу нефтепродукта записывают температуру начала перегонки (начала кипения) и температуру, соответствующую отгонам 10; 20; 30; 40; 50; 60; 70; 80; 90 и 97 %.
После приближенного установления марки испытуемого нефтепродукта проводят повторную перегонку по точкам, нормируемым в нормативной документации для этой марки.
За результат испытания принимают среднее арифметическое результатов двух последовательных определений.
6.4 Точность метода
6.4.1 Сходимость
Два результата определений, полученные последовательно одним лаборантом, признаются достоверными (с 95 %-ной доверительной вероятностью), если расхождения между ними не превышают:
2 °С — для температуры начала кипения, температур 10-, 50-, 90 %-ного отгона;
3 °С — для температур 96 — 98 %-ного отгона и температуры конца кипения.
6.4.2 Воспроизводимость
Два результата испытаний, полученные в двух разных лабораториях, признаются достоверными (с 95 %-ной доверительной вероятностью), если расхождения между ними не превышают:
7 °С — для температуры начала кипения;
6 °С — для температуры 10 %-ного отгона;
3 °С — для температуры 50 %-ного отгона;
7 °С — для температуры 90 %-ного отгона;
10 °С — для температуры 96 — 98 %-ного отгона и температуры конца кипения.
6.4.3 Расхождения между двумя последовательными определениями фракционного состава при измерении объемов конденсата не должны превышать 1 см3, для остатка — 0,2 см3.
6.4.4 Поправка на барометрическое давление
6.4.4.1 При барометрическом давлении во время перегонки выше 102,4∙103 Па (770 мм рт. ст.) вводят в показанную термометром температуру (t0) поправку (С) на барометрическое давление по формуле ().
В таблице приведены приближенные поправки.
Таблица 5
°С
|
Поправки на 10 мм рт. ст. |
|
|
11 — 20 |
0,35 |
|
21 — 30 |
0,36 |
|
31 — 40 |
0,37 |
|
41 — 50 |
0,38 |
|
51 — 60 |
0,39 |
|
61 — 70 |
0,41 |
|
71 — 80 |
0,42 |
|
81 — 90 |
0,43 |
|
91 — 100 |
0,44 |
|
101 — 110 |
0,45 |
|
111 — 120 |
0,47 |
|
121 — 130 |
0,48 |
|
131 — 140 |
0,49 |
|
141 — 150 |
0,50 |
|
151 — 160 |
0,51 |
|
161 — 170 |
0,53 |
|
171 — 180 |
0,54 |
|
181 — 190 |
0,55 |
|
191 — 200 |
0,56 |
|
201 — 210 |
0,57 |
|
211 — 220 |
0,59 |
|
221 — 230 |
0,60 |
|
231 — 240 |
0,61 |
|
241 — 250 |
0,62 |
|
251 — 260 |
0,63 |
|
261 — 270 |
0,65 |
|
271 — 280 |
0,66 |
|
281 — 290 |
0,67 |
|
291 — 300 |
0,68 |
|
301 — 310 |
0,69 |
|
311 — 320 |
0,71 |
|
321 — 330 |
0,72 |
|
331 — 340 |
0,73 |
|
341 — 350 |
0,74 |
|
351 — 360 |
0,75 |
Примечания
1. Поправки прибавляют при барометрическом давлении ниже 100,0∙103 Па (750 мм рт. ст.) и вычитают при барометрическом давлении выше 102,4∙103 Па (770 мм рт. ст.). В пределах барометрического давления от 100,0∙103 Па (750 мм рт. ст.) до 102,4∙103 Па (770 мм рт. ст.) поправки не вносят (при наблюдении заданной температуры поправки вносят заранее с обратным знаком).
2. Поправка (°С) на 1,33∙103 Па (10 мм рт. ст.) разности между 101,3∙103 Па (760 мм рт. ст.) и фактическим давлением Па (мм рт. ст.):
3 °С — для температуры 50 %-ного отгона;
7 °С — для температуры 90 %-ного отгона;
10 °С — для температуры 96 — 98 %-ного отгона и температуры конца кипения.
ПРИЛОЖЕНИЕ А
(обязательное)
Определение фракционного состава при помощи автоматического аппарата
А.1 Назначение и область применения (см. раздел настоящего стандарта)
А.2 Сущность метода
100 см3 образца перегоняют в автоматическом аппарате для перегонки в определенных условиях, соответствующих его природе (таблица ). Автоматический аппарат дублирует условия перегонки, указанные в ручном методе.
Таблица А.1 — Условия испытаний (условия испытаний в основном те же, что и приведенные в таблице )
|
Значения для групп |
|||||
|
1 |
2 |
3 |
4 |
||
|
1. Характеристика образца |
|
||||
|
1.1 Давление пара, кПа |
³ 65,5 |
< 65,5 |
|||
|
1.2 Температура начала кипения1), °С |
— |
£ 100 |
> 100 |
||
|
1.3 Конечная точка2), °С |
£ 250 |
> 250 |
|||
|
2. Подготовка аппаратуры |
|
||||
|
2.1 Выбор температурного диапазона, °С |
0 — 300 |
0 — 400 |
|||
|
2.2 Внутренний диаметр отверстия прокладки для колбы, мм |
37,5 или 50 |
50 |
|||
|
3. Условия испытания |
|
||||
|
3.1 Температура колбы и термопары термометра сопротивления, °С |
13 — 18 |
£ температуры окружающей среды |
|||
|
3.2 Температура прокладки для колбы и кожуха, °С |
£ температуры окружающей среды |
— |
|||
|
3.3 Температура приемника и 100 см3 пробы, °С |
13 — 18 |
От 13 до температуры окружающей среды |
|||
|
3.4 Колба, см3 (см. ) |
125 |
||||
|
4. Условия проведения испытания |
|
||||
|
4.1 Температура охлаждающей бани2), °С |
0 — 1 |
0 — 4 |
0 — 601) |
||
|
4.2 Температура среды, окружающей приемник, °С |
13 — 18 |
В пределах температуры пробы для перегонки ±3 °С |
|||
|
4.3 Время от момента нагревания до температуры начала кипения2), мин |
5 — 10 |
5 — 15 |
|||
|
4.4 Время от начала кипения до 5 %-ного отгона, с |
60 — 75 |
— |
|||
|
4.5 Стандартная средняя скорость конденсации от 5 %-ного отгона до образования 5 см3 остатка в колбе2), см3/мин |
4 — 5 |
||||
|
4.6 Время от образования 5 см3 до конечной точки, мин |
3 — 5 |
£ 5 |
|||
|
1) Как указано в таблице . 2) Эти параметры установлены по контролю программ |
|||||
Условия выбираются из программы контроля, прилагаемой к аппарату. Аппарат регистрирует показания температуры, соответствующие проценту отгона конденсата в виде плавной кривой.
Используя построенную кривую, получают значения температуры, скорректированные на барометрическое давление или процент отгона, или на то и другое.
А.3 Определения — см. .
А.4 Аппаратура
А.4.1 Аппарат для автоматической перегонки, способный контролировать испытание в соответствии с условиями, указанными в таблице . Выбранная программа может включать использование детектора конца перегонки и системы охлаждения (если необходимо) в зависимости от природы образца.
Технические требования к прибору указаны в инструкции изготовителя.
Примечание — Аппарат для автоматической перегонки дает или температуру конца перегонки, или температуру выкипания. Если необходимо зафиксировать температуру конца перегонки, аппарат снабжают оптическим детектором температуры конца перегонки и используют чистые оптические колбы. Хорошие результаты дает визуальное определение в чистых колбах для перегонки.
А.4.2 Колба вместимостью 125 см3 (рисунок ).
Примечание — При определении температуры конца перегонки целесообразно применять колбы с дном и стенками одинаковой толщины.
А.4.3 Холодильник и охлаждающая баня ().
А.4.4 Металлический экран или кожух для колбы.
А.4.4.1 Комплект колбы и нагревателя должен быть смонтирован в кожухе, который защищает их от сквозняков. Пригоден металлический кожух с открытым верхом и двойными стенками.
А.4.4.2 Дно кожуха должно иметь такую форму, чтобы выплеснувшийся образец мог стекать в приемник. Верх отверстия для стока должен быть закрыт закрепленной проволочной сеткой, чтобы предотвратить поступление горящего образца в систему стока.
А.4.4.3 Система регулирования высоты нагревателя должна обеспечивать правильное центрирование колбы с входом холодильника. Для удобства в эксплуатации регулировочный шпиндель системы должен проходить сквозь стенки кожуха.
А.4.5 Источник нагрева
Электронагреватель, который обеспечивает нагрев от холодного состояния до падения первой капли за установленный период времени и проведение перегонки с заданной скоростью. Для этой цели подходит электронагреватель мощностью от 0 до 1000 Вт.
А.4.6 Подставка для колбы
А.4.6.1 Верхняя часть электронагревателя состоит из керамической прокладки или другого жаропрочного материала с центральным отверстием установленного размера. Толщина по ободу отверстия от 3 до 7 мм.
Нагреватель должен иметь удобное устройство для установки прокладки на основании.
А.4.6.2 Нагревательное устройство должно перемещаться таким образом, чтобы конвективный теплообмен с колбой осуществлялся только через отверстие прокладки для колбы.
А.4.7 Приемник вместимостью 100 см3 с ценой деления 1 см3. Соответствующие цилиндры поставляются изготовителями.
А.4.8 Самописец для регистрации диаграмм в соответствии с таблицей .
А.4.9 Датчики температуры
Следует применять платиновые термометры сопротивления или термопары с характеристиками скорости нарастания температуры, аналогичными характеристикам стеклянных ртутных термометров. Система измерения температуры должна быть сконструирована таким образом, чтобы показания температуры в соответствующих интервалах включали те же самые погрешности на выступающий столбик ртути, как в термометрах IP5C и 6С, ASTM 7Г, 7С, 8Г, 8С. Термопары следует калибровать не реже одного раза в месяц.
А.4.10 Стандартизация
Аппаратуру следует стандартизовать по аппарату для ручной дистилляции.
А.5 Отбор проб — по .
А.6 Подготовка аппаратуры
Прибор готовят в соответствии с инструкциями изготовителя. Термопару или платиновый термометр сопротивления и температурные пределы калибруют.
А.6.1 Термопару калибруют потенциометрическим способом.
А.6.2 Для платинового термометра сопротивления используют стандартный магазин сопротивления.
Показание индикатора температуры следует проверять при перегонке чистого толуола (температура кипения (110,6 ± 0,3) С при 101,3 кПа).
А.7 Подготовка аппаратуры
А.7.1 Доводят относительные температуры колбы, термопары термометра сопротивления, приемника, прокладки для колбы и среды вокруг приемника до температур, необходимых для начала испытаний, и устанавливают прибор в соответствии с инструкциями изготовителя.
А.7.2 Заполняют охлаждающую баню холодильника с таким расчетом, чтобы покрыть всю трубку холодильника невоспламеняющимся охладителем, пригодным для поддержания температур, указанных в таблице , например колотым льдом, водой, раствором этиленгликоля. Допускается механическое охлаждение.
При использовании колотого льда добавляют достаточное количество воды для того, чтобы была покрыта вся трубка холодильника.
А.7.3 Удаляют остаточную жидкость в трубке холодильника, протирая ее кусочком мягкой ткани без ворса, прикрепленной к жгуту.
А.7.4 Доводят температуру пробы до пределов, указанных в таблице . Отмеряют 100 см3 пробы в мерный цилиндр и переносят ее в колбу для дистилляции, принимая меры к тому, чтобы жидкость не попала в пароотводную трубку.
А.7.5 Вставляют термопару/термометр сопротивления с пробкой из полихлоропрена, силиконовой резины, корки или аналогичного материала плотно в горловину колбы так, чтобы термопара/термометр сопротивления находились точно на уровне пароотводной трубки (см. инструкции изготовителя).
А.7.6 Колбу с пробой устанавливают на прокладку и с помощью пробки (из полихлоропрена, силиконовой резины, корки и аналогичного соответствующего материала), через которую проходит пароотводная трубка, плотно соединяют ее с трубкой холодильника. Закрепляют колбу в вертикальном положении так, чтобы пароотводная трубка входила в трубку холодильника на расстояние от 25 до 50 мм.
А.7.7 Приемный цилиндр помещают в отделение для приемника, чтобы нижний конец холодильной трубки находился в центре приемника и входил в него на расстояние не менее 25 мм, но не ниже отметки 100 см3.
А.7.8 Записывают барометрическое давление и сразу проводят перегонку.
А.8 Проведение испытания
А.8.1 Устанавливают регуляторы прибора в позиции, соответствующие образцу и условиям испытания для данной группы (см. примечание к ). Нажимают кнопку начала испытания.
А.8.2 Прибор автоматически регистрирует температуру начала кипения, температуру выкипания и записывает кривую разгонки в координатах температуры испарения — процент отгона. Прибор контролирует промежуток времени между началом испытания и температурой начала кипения, установленную скорость перегонки и окончательное регулирование нагрева. После завершения перегонки прибор автоматически выключается.
А.8.3 После охлаждения колбы сливают охлажденную жидкость, оставшуюся в колбе, в маленький мерный цилиндр с ценой деления 0,1 см3 и отмечают объем. Прибавляют отмеченный объем к проценту отгона, чтобы получить общий процент отгона.
А.8.4 Вычитают общий процент отгона из 100, чтобы получить нескорректированный процент потерь.
А.9 Обработка результатов
А.9.1 По каждому испытанию вычисляют и записывают все данные, требуемые техническими условиями, или значения, обычно устанавливаемые при испытании пробы.
А.9.2 Заполняют диаграммную карту на самописце, записывают все проценты отгона с точностью до 0,5 %, все показания температуры с точностью до 0,5 °С и барометрическое давление с точностью до 0,1 кПа (1 мбар). Если используется печатающее устройство, проценты отгона выражают в миллиметрах, а температуру с точностью до 0,5 °С.
А.9.3 Если в отчете записывают температуру, скорректированную на барометрическое давление 101,3 кПа (1013 мбар) (см. последний абзац настоящего пункта), поправку следует применять к каждому показанию температуры при помощи формулы () Сиднея-Янга, как приведено ниже, или используя данные таблицы .
После внесения поправок и округления каждого результата с точностью до 0,5 °С во всех дальнейших расчетах и составлении отчета следует применять скорректированные показания температуры.
Поправку С0 прибавляют алгебраически к отмеченному показанию температуры t0 (см. таблицу ).
С0 = 0,00009 (101,3 — Р0) (273 + t0), (A.1)
где Р0 — барометрическое давление, кПа, преобладающее во время испытания;
t0 — отмеченное показание температуры, °С.
Показания температуры должны быть скорректированы на давление 101,3 кПа (1013 мбар), за исключением случаев, когда в характеристике продукта, технических условиях или соглашении между покупателем и продавцом указано, что поправки не нужны или поправку следует сделать на другое давление. При составлении отчета следует указать отмеченное давление и внесение поправок.
А.9.4 После внесения поправок на барометрическое давление в показания термометра, если это требуется, нет необходимости производить дальнейшие вычисления для записи температуры начала кипения, температуры конца перегонки, конечной точки (температуры выкипания), температуры разложения, процента отгона, общего процента отгона и всех пар соответствующих значений, включающих процент отгона и показания термометра. Процент потерь и процент остатка вычисляют в соответствии с разделом .
А.9.5 Желательно, чтобы запись данных основывалась на соотношении показаний термометра и процента выпаривания при анализе проб бензина или другого продукта группы 1 по таблице , или в том случае, если процент потерь больше 2,0. В противном случае запись данных основывается на соотношении показаний термометра и процента выпаривания или отгона.
В каждом отчете должно быть четко указано, на чем основана запись данных.
А.9.6 Для составления отчета по проценту выпаривания при определенных показаниях термометра прибавляют процент потерь к каждому получаемому проценту отгона при установленном показании термометра и записывают эти результаты как скорректированный процент выпаривания.
А.9.7 Для внесения в отчет показаний термометра при указанном проценте выпаривания применяют графический и расчетный методы и указывают в отчете, какой из методов был применен.
а) Графический метод
Из каждого установленного процента выпаривания вычитают потери при перегонке с целью вычисления соответствующего процента отгона и определяют по кривой перегонки показание термометра, соответствующее этому проценту отгона.
б) Расчетный метод
Для получения соответствующего процента отгона вычитают потери при перегонке из каждого установленного процента испарения. Используя кривую перегонки, полученную с помощью автоматического прибора, или кривую зависимости процента отгона от нескорректированной температуры, вычисляют требуемое показание термометра Т в °С при установленном проценте отгона R по формуле ().
где ТH — показание температуры, соответствующее проценту отгона RH, °C;
TL — показание температуры, соответствующее проценту отгона RL, °C;
R — процент отгона, соответствующий установленному проценту выпаривания;
RH — процент отгона, близкий и выше R, при котором отмечалось показание температуры ТH;
RL — процент отгона, близкий и ниже R, при котором отмечалось показание температуры TL.
Примечания
1. Значения, полученные расчетным методом, зависят от степени отклонения кривой перегонки от прямой линии.
По расчетному методу процентные интервалы между последовательными точками данных температур должны быть не более, чем указано для точек температур начала кипения, температуры выкипания, температуры конца перегонки, 5 % и 95 % отгона и при каждом кратном 10 %-ном отгоне от 10 до 90 % включительно.
2. Пример, иллюстрирующий расчетный и графический методы, приведен в приложении .
А.9.8 Если показания температуры скорректированы на давление 101,3 кПа (1013 мбар), то фактические потери должны быть скорректированы на давление 1013 мбар в соответствии с нижеприведенным уравнением (). Соответствующий скорректированный процент отгона рассчитывается на основе процента отгона, превышающего фактический на то же значение, на которое скорректированы потери меньших фактических потерь.
При составлении отчета следует отметить применение поправок.
Скорректированные потери = AL + В, (А.3)
где L — процент потерь, рассчитанный на основе данных испытания;
А и В — числовые константы, зависящие от преобладающего барометрического давления. Значения этих констант приведены в таблице .
А.10 Точность
Точность метода приведена в таблице .
Таблица А.2
|
Сходимость, °С |
Воспроизводимость, °С |
|
|
1. Отгон: |
|
|
|
20 — 70 % |
1,2 + 1,38S |
2,9 + 3,94S |
|
10 — 80 % |
1,2 + 1,38S |
3,0 + 2,63S |
|
5, 90 и 95 % |
1,1 + 1,08S |
2,0 + 2,49S |
|
2% |
3,5 |
2,6 + 1,87S |
|
2. Температура: |
|
|
|
начало кипения конец кипения |
3,5 3,5 |
8,5 10,5 |
|
Примечание — S — среднее значение уклона кривой перегонки в (°С) на процент отгона. |
||
Значения точности для типичных значений уклона приведены в таблице .
Таблица А.3 — Точность для типичных значений уклона
|
Уклон, °С |
Сходимость, °С |
Воспроизводимость, °С |
|
|
1. Отгон: |
|
|
|
|
20 — 70 % |
0,5 |
1,5 |
4,5 |
|
1,0 |
2,5 |
6,5 |
|
|
1,5 |
3,0 |
8,5 |
|
|
2,0 |
4,0 |
10,6 |
|
|
2,5 |
4,5 |
12,5 |
|
|
10 — 80 % |
0,5 |
1,5 |
4,0 |
|
1,0 |
2,5 |
5,5 |
|
|
1,5 |
3,0 |
7,0 |
|
|
2,0 |
4,0 |
8,0 |
|
|
2,5 |
4,5 |
9,5 |
|
|
1,0 |
2,0 |
4,5 |
|
|
5, 90 и 95 % |
2,0 |
3,0 |
7,0 |
|
3,0 |
4,0 |
9,5 |
|
|
4,0 |
5,0 |
12,0 |
|
|
2 % |
2,0 |
3,5 |
6,0 |
|
3,0 |
3,5 |
8,0 |
|
|
4,0 |
3,5 |
10,0 |
|
|
5,0 |
3,5 |
12,0 |
|
|
2. Температура: |
|
|
|
|
начало кипения |
|
3,5 |
8,5 |
|
конец кипения |
|
3,5 |
10,5 |
ПРИЛОЖЕНИЕ Б
(справочное)
Пример определения температуры при заданном объеме выпаривания ().
Б.1 Допустим, что при перегонке получены следующие результаты:
Температура начала кипения, °С — 36,5
5 % отгона получено при температуре, °С — 45,5
10 % » » » » — 54
20 % » » » » — 65,5
30 % » » » » — 77
40 % » » » » — 89,5
50 % » » » » — 101,5
60 % » » » » — 115
70 % » » » » — 131
80 % » » » » — 149
90 % » » » » — 171
95 % » » » » — 186,5
Температура конца кипения или выпаривания, °С — 209
Получено отгона, % — 97,5
Остаток в колбе, % — 1,0
Потери при перегонке, % — 1,5
Б.2 Для применения графического метода наносят на график данные , как описано в (рисунок ).
Для определения температур при заданных объемах выпаривания записывают заданные объемы выпаривания и соответствующие объемы отгона (равные заданному объему выпаривания минус потери при перегонке) и по графику (рисунок ) находят температуры, соответствующие высчитанным объемам отгона (таблица ).
Рисунок Б.1 — Кривая перегонки
Таблица Б.1
|
Расчетный объем отгона, % |
Найденная по графику температура, °С |
|
|
5 |
3,5 |
43 |
|
50 |
48,5 |
100 |
|
90 |
88,5 |
167 |
Б.3 При применении расчетного метода подставляют данные в общую формулу, приведенную в , следующим образом:
Б.3.1 Температура при 5 %-ном испарении (3,5 % отгона), °С,
![]()
Б.3.2 Температура при 50 %-ном испарении (48,5 % отгона), °С,
![]()
Б.3.3 Температура при 90 %-ном испарении (88,5 % отгона), °С,
![]()
ПРИЛОЖЕНИЕ В
(справочное)
Сравнение результатов автоматической и ручной перегонки (таблицы — ).
Все показания термометра скорректированы на давление 101,3 кПа (1013 мбар). В таблицах и цифры слева представляют результаты, полученные при испытании вручную, справа — при использовании автоматического прибора.
Таблица В.1 — Разница температур испытания вручную и с автоматическим прибором
Бензин: 26 лабораторий — 14 образцов
|
Образец |
Температура начала кипения, °С |
Температура при отгоне, °С |
Температура конца кипения, °С |
Образец |
||||||||||
|
5 % |
10 % |
20 % |
30 % |
40 % |
50 % |
60 % |
70 % |
80 % |
90 % |
95 % |
||||
|
1 |
+1,1 |
+1,9 |
+2,2 |
+1,6 |
+1,4 |
+0,7 |
+0,8 |
+0,7 |
+0,7 |
+0,1 |
+0,4 |
+0,7 |
-0,4 |
1 |
|
2 |
(+0,9) |
(+0,0) |
+0,8 |
+0,5 |
+0,4 |
+0,6 |
+0,2 |
+0,1 |
+0,1 |
+0,4 |
(+4,7) |
(+1,3) |
(-1,2) |
2 |
|
3 |
+0,7 |
+1,4 |
+1,6 |
+1,0 |
+0,8 |
+0,6 |
+0,3 |
+0,1 |
+0,2 |
+0,9 |
+0,5 |
+0,1 |
-0,8 |
3 |
|
4 |
+0,3 |
+0,6 |
+0,8 |
+0,8 |
+0,3 |
+0,7 |
+0,6 |
+0,8 |
+1,1 |
+1,2 |
+0,8 |
+0,5 |
-0,9 |
4 |
|
5 |
+0,5 |
+1,3 |
+1,3 |
+1,3 |
+1,2 |
+1,0 |
+0,9 |
+0,6 |
+0,8 |
+1,0 |
+0,4 |
+0,4 |
-0,9 |
5 |
|
6 |
+1,2 |
+1,2 |
+1,6 |
+1,2 |
+1,2 |
+1,1 |
+0,8 |
+1,1 |
+1,2 |
+0,2 |
-0,1 |
+0,2 |
-0,3 |
6 |
|
7 |
+0,3 |
+0,8 |
+0,8 |
+0,7 |
+0,8 |
+0,8 |
+1,0 |
+1,5 |
+1,6 |
+1,6 |
+1,5 |
+1,7 |
-0,7 |
7 |
|
8 |
+0,3 |
+0,5 |
+0,7 |
+0,6 |
+0,7 |
+1,2 |
+1,2 |
+1,1 |
+1,3 |
+1,9 |
+1,1 |
+1,2 |
-0,8 |
8 |
|
9 |
+1,7 |
+2,0 |
+1,8 |
+1,5 |
+1,5 |
+1,5 |
+1,2 |
+0,9 |
+1,3 |
+0,6 |
-0,4 |
+0,4 |
-1,2 |
9 |
|
10 |
+1,5 |
+1,5 |
+1,2 |
+0,7 |
+0,4 |
+0,6 |
+0,9 |
+1,0 |
+1,4 |
+1,9 |
+0,9 |
+0,1 |
-2,1 |
10 |
|
11 |
+0,9 |
+1,1 |
+1,2 |
+0,8 |
+0,7 |
+0,6 |
+1,1 |
+1,0 |
+0,4 |
+0,5 |
-0,4 |
+0,1 |
-0,8 |
11 |
|
12 |
+1,0 |
(+2,4) |
+2,3 |
+1,2 |
+1,2 |
+1,2 |
+1,2 |
+0,9 |
+1,1 |
+0,2 |
-0,7 |
(-0,8) |
-0,9 |
12 |
|
13 |
+0,3 |
+0,3 |
+0,4 |
+0,3 |
+0,2 |
+0,9 |
+1,4 |
+1,0 |
+0,1 |
+1,1 |
+1,2 |
+1,0 |
-1,2 |
13 |
|
14 |
+0,5 |
+0,4 |
+0,7 |
+0,5 |
+0,8 |
+1,1 |
+1,7 |
+1,7 |
+1,0 |
+0,8 |
+0,3 |
0,0 |
-0,8 |
14 |
|
Примечания 1. Образцы 13 и 14 — нефтяные гидроксилсодержащие соединения. 2. Значения в скобках не включены в анализ точности. |
||||||||||||||
Таблица В.2 — Керосин: 4 лаборатории — 8 испытаний вручную; 3 лаборатории — 6 испытаний с автоматическим прибором
|
Температура, °С |
||||||||||
|
Начало кипения |
10 %-ный отгон |
50 %-ный отгон |
90 %-ный отгон |
Конец кипения |
||||||
|
Максимальное |
176,5 |
174,5 |
193,5 |
193 |
215,5 |
215,5 |
248 |
248,5 |
268 |
268,5 |
|
Минимальное |
171,5 |
172 |
191 |
190,5 |
213,5 |
214 |
245,5 |
246,5 |
264 |
265 |
|
Среднее |
174,5 |
173,5 |
191 |
|
214,5 |
214,5 |
246 |
247 |
265,5 |
266,5 |
Таблица В.3 — Дизельное топливо:
5 лабораторий — 10 испытаний вручную и с автоматическим прибором
|
Температура, °С |
||||||||||
|
Начало кипения |
10 %-ный отгон |
50 %-ный отгон |
90 %-ный отгон |
Конец кипения |
||||||
|
Максимальное |
190,5 |
189 |
215 |
218 |
268,5 |
269 |
322 |
323 |
341,5 |
343 |
|
Минимальное |
179,5 |
179,5 |
208,5 |
208,5 |
264 |
264 |
318 |
316 |
337 |
338,5 |
|
Среднее |
185,5 |
184,5 |
213 |
214 |
266 |
266 |
319,5 |
318,5 |
340 |
340,5 |
ПРИЛОЖЕНИЕ
(справочное)
Библиография
[1] Е1-83 Спецификация термометров ASTM
[2] ТУ 38.110266-85 Аппарат для разгонки нефтепродуктов. Технические условия
[3] ТУ 92.887019-90 Термометры стеклянные для испытания нефтепродуктов. Технические условия
Ключевые слова: нефтепродукты, фракционный состав, давление насыщенных паров, перегонка, температура начала кипения, температура конца кипения, термометр, колба.






