ГОСУДАРСТВЕННЫЙ СТАНДАРТ СОЮЗА ССР
|
КОКСЫ НЕФТЯНЫЕ МАЛОСЕРНИСТЫЕ Технические условия Low-sulphur petroleum cokes. Specifications |
ГОСТ
|
Дата введения 01.01.79
Настоящий стандарт распространяется на малосернистые нефтяные коксы, получаемые при коксовании остаточных прямогонных, крекинговых, пиролизных продуктов переработки нефти и экстрактов масляного производства в кубах и на установках замедленного коксования и предназначенные для применения в электродной, алюминиевой, абразивной и других отраслях промышленности.
СОДЕРЖАНИЕ
|
|
1. МАРКИ
1.1. В зависимости от сырья и технологии изготовления марки малосернистого нефтяного кокса приведены в табл. 1а.
Таблица 1а
|
Марка кокса |
Технология изготовления |
Область применения |
|
кнпс-см |
Коксование в кубах смолы пиролиза |
Производство углеродных конструкционных материалов специального назначения |
|
КНПС-КМ |
То же |
Производство углеродных конструкционных материалов |
|
кнг |
Коксование в кубах прямогонных, крекинговых и пиролизных остатков |
Производство графитированной продукции |
|
КЗГ |
Замедленное коксование (кокс с размером кусков свыше 8 до 250 мм) |
То же |
|
КЗА |
То же |
Алюминиевая промышленность |
|
КНА |
Коксование в кубах прямогонных и крекинговых остатков |
Тоже |
|
кзо |
Замедленное коксование (коксовая мелочь с размером кусков до 8 мм) |
Производство абразивов и другой продукции |
Соответствие обозначений марок кокса, указанных в таблице и ранее применяемых, приведено в приложении.
(Измененная редакция, Изм. № 5).
2. ТЕХНИЧЕСКИЕ ТРЕБОВАНИЯ
2.1. Малосернистые нефтяные коксы должны изготовляться в соответствии с требованиями настоящего стандарта по технологическому регламенту, утвержденному в установленном порядке.
(Измененная редакция, Изм. № 3).
2.2. По физико-химическим показателям малосернистые нефтяные коксы должны соответствовать нормам и требованиям, указанным в табл. 1.
Таблица 1
|
Наименование показателя |
Норма для марки |
Метод испытания |
|||||||
|
КНПС-СМ высший сорт ОКП 02 5821 0111 |
кнпс-км первый сорт ОКП 02 5821 0112 |
КНГ ОКП 02 5821 0115 |
кзг ОКП 02 5821 0132 |
КЗА высший сорт ОКП 02 5821 0141 |
КЗА первый сорт ОКП 02 5821 0142 |
КНА ОКП 02 5821 0121 |
кзо ОКП 02 5821 0171 |
||
|
Специальный |
Электродный |
Коксовая мелочь |
|||||||
|
1. Массовая доля общей влаги, %, не более |
3,0 |
3,0 |
3,0 |
3,0 |
3,0 |
3,0 |
3,0 |
3,0 |
По ГОСТ 27588-91 |
|
2. Массовая доля летучих веществ, %, не более |
6,0 |
6,0 |
8,0 |
9,0 |
7,0 |
9,0 |
8,0 |
11,5 |
По |
|
3. Зольность, %, не более |
0,15 |
0,30 |
0,50 |
0,60 |
0,40 |
0,60 |
0,50 |
0,80 |
По ГОСТ 22692-77 |
|
4. Массовая доля серы, %, не более |
0,20 |
0,40 |
1,00 |
1,00 |
1,20 |
1,50 |
1,00 |
1,50 |
По ГОСТ 1437-75 или ГОСТ 8606-94 |
|
5. Массовая доля мелочи, %, не более: |
|
|
|
|
|
|
|
|
По |
|
куски размером меньше 25 мм |
4,0 |
4,0 |
— |
— |
— |
— |
— |
— |
|
|
куски размером меньше 8 мм |
— |
— |
10,0 |
10,0 |
8,0 |
10,0 |
10,0 |
— |
|
|
6. Действительная плотность после прокаливания при 1300 ºС в течение 5 ч, г/см3 |
2,04-2,08 |
2,04-2,08 |
2,08-2,13 |
2,08-2,13 |
2,10-2,13 |
2,08-2,13 |
2,08-2,13 |
|
По |
|
7. Истираемость, %, не более |
9,0 |
11,0 |
— |
— |
— |
— |
— |
— |
По |
|
8. Массовая доля, %, не более: |
|
|
|
|
|
|
|
|
|
|
кремния |
— |
— |
— |
— |
0,04 |
0,08 |
0,04 |
— |
По |
|
железа |
— |
— |
— |
— |
0,05 |
0,08 |
0,05 |
— |
|
|
ванадия |
— |
— |
— |
— |
0,01 |
0,015 |
0,012 |
— |
|
|
9. Оценка микроструктуры, балл, не менее |
Не нормируется |
Не нормируется |
— |
— |
— |
— |
— |
— |
По ГОСТ 26132-84 |
Примечания:
1. Показатель 9 не нормируется до 01.01.96. Определение обязательно. Определяется периодически не реже одного раза в неделю для кокса марки КНПС-СМ и не реже одного раза в месяц для кокса марки КНПС-КМ.
2. Для кокса марки КЗА первого сорта из парафинистых нефтей допускается массовая доля летучих веществ не более 9,5% и массовая доля ванадия не более 0,020%.
3. Допускается выработка Комсомольским НПЗ кубового кокса, соответствующего требованиям марки КЗА, без ограничения верхнего размера кусков.
4. Допускается массовая доля общей влаги до 10,0 %.
5. Для специального кокса марки КНПС-СМ показатель 4 определяется по ГОСТ 8606-72.
6. Для АО «ЛУКойл-Волгограднефтепереработка» допускается выработка кокса марки КНПС-КМ с массовой долей серы не более 0,6 % по согласованию с потребителем.
(Измененная редакция, Изм. № 5)
(Измененная редакция, Изм. № 6)
3. ПРАВИЛА ПРИЕМКИ
3.1. Малосернистые нефтяные коксы принимают партиям. Партией считают любое количество кокса, однородного по показателям качества и оформленного одним документом о качестве.
3.2. Объем выборок кокса — по ГОСТ 16799-79.
3.3. Показатели 6 и 8 таблицы для кокса марок КЗА и КНА определяются периодически: по п. 6 — не реже одного раза в месяц, по п. 8 — не реже одного раза в квартал.
При неудовлетворительных результатах периодических испытаний хотя бы по одному показателю проверке подвергают каждую партию кокса до получения положительных результатов испытания не менее чем для трех партий подряд.
3.2; 3.3. (Измененная редакция, Изм. № 3).
3.4. При получении предварительных результатов испытаний хотя бы по одному из показателей по нему проводят повторные испытания пробы из той же выборки.
Результаты повторных испытаний распространяются на всю партию.
(Измененная редакция, Изм. № 3).
3.5. Для кокса марок КНПС-СМ и КНПС-КМ Московского опытно-промышленного завода «Нефтепродукт» и ПО «Горькнефтеоргсинтез» норма по показателю «массовая доля мелочи (куски размером меньше 25 мм)» обеспечивается технологией производства и не определяется.
(Измененная редакция, Изм. № 5).
3.6. Массу кокса при массовой доле общей влаги более 3 % вычисляют по формуле
![]()
где m — масса кокса, т;
m1 — масса кокса при фактической влажности, т;
W1 — массовая доля общей влаги (фактическая), %;
W2 — массовая доля общей влаги согласно п. 1 , %.
(Введен дополнительно, Изм. № 3).
4. МЕТОДЫ ИСПЫТАНИЙ
4.1. Пробы нефтяных коксов отбирают и готовят по ГОСТ 16799-79. Допускается отбирать пробу с транспортера, подающего кокс в полувагоны.
(Измененная редакция, Изм. № 3).
4.2, 4.2.1. (Исключены, Изм. № 1).
4.3. Определение массовой доли мелочи
4.3.1. Аппаратура, оборудование
Сита с сеткой № 8 или 25 по ГОСТ 3306-88, или грохот вибрационный ГВ-06 с сеткой № 8 или 25 и размером просеивающей поверхности 1,2×0,5 м или вибросито с поддоном и набором сит из сеток № 8, 25 и 70, установленных одно над другим, и просеивающей поверхностью размером 0,32×0,32 м.
Весы технические с погрешностью взвешивания не более 0,1 кг.
Секундомер механический.
Противень из некорродируемого материала размером не менее 1,5×1,5 м с бортиками высотой не менее 0,15 м.
Крестовина для сокращения и усреднения пробы.
Инвентарь вспомогательный: лопаты, ведра, банки и др.
Шкаф сушильный, обеспечивающий нагрев до 180 °С.
4.3.2. Проведение испытания
Пробу кокса в количестве не менее 30 кг взвешивают с погрешностью не более 0,1 кг, помещают на противень и вручную отбирают крупные куски размером ориентировочно более 70 мм. Оставшееся количество кокса на противне рассеивают ручным или механическим способом. Толщина слоя кокса, подаваемого каждый раз на сито, не должна превышать полуторного размера наибольшего куска рассеиваемого кокса. Рассев каждой порции кокса, подаваемой на сито, должен проводиться до видимого прекращения выделения мелочи, но не более 3 мин.
При использовании ручного метода рассева допускается квартование. Для этой цели после отбора крупных кусков, последующего перемешивания и разравнивания слоя кокса на противне его делят крестовиной на четыре части и рассеву подвергают кокс только из двух противоположных частей.
Просеянный кокс с размером кусков менее 8 или 25 мм (в зависимости от марки кокса) взвешивают с погрешностью не более 0,1 кг.
Если массовая доля общей влаги превышает 3%, то кокс подсушивают при комнатной температуре или в сушильном шкафу при температуре не выше 180 °С. Момент прекращения подсушки определяют визуально при видимом разделении кусков кокса различной величины. Проба кокса, подсушенная в сушильном шкафу, перед рассевом должна быть охлаждена в течение 30 мин, а затем взвешена. Определение процента мелочи относят к подсушенной массе кокса.
(Измененная редакция, Изм. № 3).
4.3.3. Обработка результатов
Массовую долю мелочи (X) в процентах вычисляют по формуле
![]()
где m — масса пробы кокса, взятого для рассева (включая и отобранные вручную крупные куски), кг;
m1 — масса мелочи, полученной после рассева, кг (при квартовании m1 удваивается).
За результат испытания принимают среднее арифметическое двух параллельных определений, допускаемые расхождения между которыми не должны превышать 0,4 % при массовой доле мелочи до 4 % и 0,8 % при массовой доле мелочи свыше 4 %.
Результаты испытаний вычисляют с погрешностью не более 0,1 %.
4.4. Определение действительной плотности
4.4.1. Аппаратура, реактивы
Печь камерная типа КС 400/10, электрическая с карбидокремниевыми или другими нагревателями, обеспечивающими нагрев до (1300±25) °С.
Допускается применять другие печи, обеспечивающие нагрев до (1300±25) °С.
Нагревательные печи должны обеспечивать нагрев до (1300±25) °С не менее чем за 2 ч.
Весы лабораторные общего назначения по ГОСТ 24104-88, 2-го класса точности с наибольшим пределом взвешивания 200 г или другие с аналогичными метрологическими характеристиками.
Пикнометры вместимостью 25 см3 с горловиной диаметром 4 мм.
Термостат водяной с терморегулятором, поддерживающий температуру 20,0 °С с погрешностью не более 0,1 °С. Допускается применять водяную баню с температурой (20,0±0,1) °С.
Термометр жидкостной стеклянный по ГОСТ 28498-90 или любой другой с ценой деления не более 0,1 °С.
Шкаф сушильный лабораторный.
Баня песчаная или водяная.
Сито с сеткой № 01 по ГОСТ 6613-86.
Ступка фарфоровая с пестиком по ГОСТ 9147-80 или агатовая, или механическая (большая модернизированная — СМБМ), или виброизмельчитель типа 75 ТДР.
Тигель фарфоровый высокий № 4 или № 5 с крышкой по ГОСТ 9147-80. Допускается применять тигли из корунда или тигли, изготовленные из фарфоровой трубки, которую с одного конца замазывают огнеупорной замазкой любого состава, а с другого закрывают крышкой, изготовленной из той же замазки. Объем тиглей не менее 50 см3.
Воронка стеклянная или металлическая с оттянутым концом.
Пипетка 8-2-0,1 по ГОСТ 29169-91 или любая другая аналогичного типа.
Колба Кн-1-500-29/32 ТС или Кн-1-750-34/35 ТС по ГОСТ 25336-82.
Спирт этиловый технический по ГОСТ 17299-78, марки А, или по ГОСТ 18300-87.
Вода дистиллированная по ГОСТ 6709-72.
(Измененная редакция, Изм. № 3, 4, 5).
4.4.2. Подготовка к испытанию
4.4.2.1. Прокаливание кокса
Пробу кокса размером кусков 0-3 мм, подготовленную по ГОСТ 16799-79, насыпают в фарфоровый тигель до верха и плотно закрывают крышкой. Тигель помещают в печь, нагревают печь до температуры (1300±25) °С и прокаливают при этой температуре в течение 5 ч. Затем печь отключают и охлаждают до температуры 200-250 °С пробы кокса снимают верхний слой высотой 1,0-1,5 см и отбрасывают. Оставшуюся часть кокса размельчают ручным или механическим способом и просеивают через сито.
(Измененная редакция, Изм. № 1).
4.4.2.2. Определение водного числа пикнометра
Перед определением водного числа пикнометры должны быть тщательно промыты хромовой смесью, дистиллированной водой и высушены.
Тщательно вымытый и высушенный пикнометр взвешивают с погрешностью не более 0,0002 г, заполняют свежепрокипяченной дистиллированной водой почти до метки на горлышке, закрывают притертой пробкой и помещают в термостат, где выдерживают 20-30 мин при температуре (20±0,1) °С.
После выдержки в термостате уровень воды в пикнометре доводят до метки, доливая воду пипеткой из запасного пикнометра, выдержанного в термостате, или отбирая избыточную воду с помощью тонких жгутиков фильтровальной бумаги, внутреннюю поверхность пикнометра над водой протирают фильтровальной бумагой.
Пикнометр вынимают из термостата, быстро вытирают полотенцем, не дотрагиваясь до пикнометра руками, и взвешивают.
Заполняют пикнометр водой несколько раз до получения совпадающих значений массы с погрешностью не более 0,001 г.
«Водное число» (объем пикнометра при установленной температуре) V в см3 вычисляют по формуле
![]()
где m1 — масса пикнометра с водой, г;
m — масса пикнометра, г;
0,9982 — плотность воды при температуре 20 ºС, г/см3.
Определение проводят не реже одного раза в квартал.
(Измененная редакция, Изм. № 1, 3).
4.4.2.3. Определение плотности спирта (проводят для каждой партии спирта).
Определение плотности спирта аналогично определению «водного числа» пикнометра. Перед определением спирт кипятят.
Плотность спирта (ρсп) в г/см3 вычисляют по формуле с точностью до четвертого десятичного знака
где m2 — масса пикнометра со спиртом, г;
m — масса пикнометра, г;
V— «водное число», см3.
(Измененная редакция, Изм. № 3).
4.4.3. Проведение испытания
Навеску массой 2-3 г прокаленного и просеянного через сито кокса переносят через воронку с оттянутым концом во взвешенный пикнометр и взвешивают с погрешностью не более 0,0002 г.
В пикнометр с коксом наливают на 1/3 объема спирт и кипятят на песчаной или водяной бане в течение 3 мин так, чтобы не было выбросов спирта и кокса. Одновременно на песчаной бане кипятят спирт в отдельной колбе. Затем пикнометр охлаждают на воздухе, доливают из колбы спирт почти до метки, закрывают притертой пробкой, термостатируют при температуре (20±0,1) °С в течение 20-30 мин и дальнейшие операции проводят как при определении «водного числа» пикнометра.
(Измененная редакция, Изм. № 1).
4.4.4. Обработка результатов
Действительную плотность кокса (ρк) в г/см3 вычисляют по формуле

где m — масса навески кокса, г;
ρсп — плотность спирта при 20 °С, рассчитанная как среднеарифметическое значение 2-3 определений, г/см3;
V — «водное число» пикнометра, см3;
m1 — масса пикнометра со спиртом и навеской кокса, г;
m2 — масса пикнометра с навеской кокса, г.
За результат испытания принимают среднее арифметическое двух параллельных определений
(Измененная редакция, Изм. № 6)
4.4.5. Точность метода
4.4.5.1. Сходимость
Два результата определения, полученные одним исполнителем, признаются достоверными (с 95%-иой доверительной вероятностью), если расхождение между ними не превышает 0,01 г/см3.
4.4.5.2. Воспроизводимость
Два результата испытаний, полученные в двух разных лабораториях, признаются достоверными (с 95%-ной доверительной вероятностью), если расхождение; между ними не превышает 0,03 г/см3
Пункты 4.4.5 — 4.4.5.2 (Введены дополнительно Изм. № 6)
4.5.1. Аппаратура, материалы
Барабан металлический с внутренним диаметром (500,00±0,80) мм, шириной (210-0,29) мм, с дверцей для загрузки и выгрузки кокса, с щелью шириной (4,00±0,15) мм, образованной металлическими трубками (стержнями) в количестве 81 шт. шащели (20-0,14) мм; барабан приводится во вращение электромотором: частота вращения барабана (0,366±0,016) с-1.
При эксплуатации барабана контролируемым параметром является ширина щели. При этом допускается ширина щели (
) мм, а также до 10% щелей размером (4,0+0,5) мм и до 10 % — (4,0-0,5) мм.
Крестовина для сокращения и усреднения пробы.
Весы технические с погрешностью взвешивания не более 0,01 кг.
Противень из некорродируемого материала размером не менее 1×1 м.
Инвентарь вспомогательный: лопатки, совки, ведра и др.
(Измененная редакция, Изм. № 1, 2).
4.5.2. Проведение испытания
Пробу кокса с размером кусков 50-100 мм массой не менее 32 кг тщательно перемешивают, доводят квартованием приблизительно до 16 кг, снова квартуют и каждую четвертую часть взвешивают с погрешностью не более 0,01 кг (при массовой доле общей влаги более 3 % пробу кокса перед взвешиванием подсушивают при комнатной температуре не менее 4 ч или в сушильном шкафу при температуре (110±10) °С в течение 60 мин). Каждую пробу поочередно загружают в барабан, который вращают в течение 2 мин (44 оборота), выгружают из барабана и взвешивают с погрешностью не более 0,01 кг.
Истираемость кокса (И) в процентах вычисляют по формуле
![]()
где m — масса кокса, загруженного в барабан, кг;
m1 — масса кокса после испытания, кг.
За результат испытания принимают среднее арифметическое трех наиболее близких определений, допускаемые расхождения между которыми не должны превышать 10 % от среднего результата.
(Измененная редакция, Изм. № 3).
4.6. Определение массовой доли кремния, ванадия и железа
4.6.1. Аппаратура, реактивы
Фотоэлектроколориметр ФЭК-56Н или ФЭК-60, или типа КФК, КФО или другие с аналогичными техническими и метрологическими характеристиками.
Печь муфельная электрическая, обеспечивающая нагрев до 1000 ºС.
Фильтры беззольные «синяя лента».
Тигель платиновый № 7 (диаметр 32 мм, вместимость 25 см3).
Щипцы с платиновыми наконечниками.
Колбы мерные исполнения 1 или 2 вместимостью 100, 200, 250, 500 и 1000 см3 по ГОСТ 1770-74.
Бюретки, пипетки по ГОСТ 29169-91 и ГОСТ 29252-91:
пипетки исполнения 4, 5, 6, 7 вместимостью 1, 2, 5, 10, 25 см3;
пипетка исполнения 2 вместимостью 50 см3;
бюретка исполнения 1 вместимостью 10 см3.
Посуда и оборудование лабораторные стеклянные по ГОСТ 25336-82:
воронка В-56-80 ХС или В-75-80 ХС;
колба Кн-1-250 или Кн-2-250;
стакан В-1-100 ТС и В-1-250 ТС;
эксикатор исполнения 2 с осушающим веществом.
Кислота серная по ГОСТ 4204-77, х. ч. или ч. д. а., растворы концентрации с (1/2 H2SO4) = 1 моль/дм3 (1 н.) и с (1/2 H2SO4) = 9 моль/дм3 (9 н.).
Натрий углекислый безводный по ГОСТ 83-79, х. ч. или ч. д. а., раствор с массовой долей 1 %.
Аммоний молибденовокислый по ГОСТ 3765-78, х. ч. или ч. д. а., свежеприготовленный раствор с массовой долей 10 %, приготовленный по ГОСТ 4517-87.
Кислота аскорбиновая, свежеприготовленный раствор с массовой долей 1%.
Фенолфталеин по нормативной документации, спиртовой раствор с массовой долей 1 %.
Кремния двуокись, ос. ч.
Кислота соляная по ГОСТ 3118-77, х. ч. или ч. д. а., раствор 1:1, раствор концентрации с (НСl) = 6 моль/дм3 (6 н.).
Натрия гидроокись по ГОСТ 4328-77, х. ч. или ч. д. а., раствор с массовой долей 5 %.
Кислота ортофосфорная по ГОСТ 6552-80, х. ч. или ч. д. а. раствор 1:2.
Натрий вольфрамовокислый по ГОСТ 18289-78, ч. д. а., раствор с массовой долей 10 %.
Ванадия пятиокись, х. ч.
Водорода перекись по ГОСТ 10929-76, х. ч. или ч. д. а., раствор с массовой долей 3 %.
Аммиак по ГОСТ 3760-79, ч. д. а., раствор с массовой долей 25 %.
Аммоний сернокислый по ГОСТ 3769-78, х. ч. или ч. д. а.
Кислота сульфосалициловая по ГОСТ 4478-78, ч. д. а., раствор с массовой долей 20 %.
Железо металлическое восстановленное, ч.
Вода дистиллированная по ГОСТ 6709-72.
Кислород по ГОСТ 5583-78 технический, первый сорт.
(Измененная редакция, Изм. № 5).
4.6.2. Подготовка к анализу
Пробу кокса, отобранную и подготовленную по ГОСТ 16799-79 (фракция 0,25 мм), массой не менее 100 г высыпают на лист бумаги, тщательно перемешивают, из разных мест берут навеску массой 5 г, помещают в сухой чистый платиновый тигель и озоляют при (850±20) °С. С целью ускорения озоления пробы кокса допускается подача кислорода или воздуха в рабочее пространство муфельной печи.
При массовой доле ванадия менее 0,01 % массу навески увеличивают до 10 г.
Массовую долю элементов определяют параллельно из двух навесок кокса.
После озоления тигель вынимают из муфеля, охлаждают, к остатку прибавляют 2 г безводного углекислого натрия, тщательно перемешивают платиновой или стеклянной палочкой и сверху засыпают еще 1 г углекислого натрия. Тигель помещают в муфельную печь с температурой (900±25) ºС и сплавляют содержимое до получения однородного плава в течение 10-15 мин. Затем тигель вынимают из муфеля и охлаждают на воздухе.
Тигель с плавом помещают в термостойкий стакан вместимостью 250 см3 и заливают 70-80 см3 горячей дистиллированной воды. Стакан закрывают часовым стеклом и помещают на электрическую плитку для растворения плава. При этом соли кремния и ванадия переходят в раствор, а в осадке остаются соли железа. Стакан снимают с плитки, тигель вынимают щипцами и тщательно обмывают горячей дистиллированной водой, собирая промывную воду в стакан. Содержимое стакана фильтруют, осадок на фильтре 6-8 раз промывают горячим раствором углекислого натрия. Фильтрат переносят в мерную колбу вместимостью 250 см3, охлаждают, доводят холодной дистиллированной водой до метки и тщательно перемешивают (раствор 1). Из раствора 1 определяют кремний и ванадий.
Фильтр с осадком помещают в тот же термостойкий стакан и заливают раствором соляной кислоты 1:1 в количестве 20 см3.
После растворения плава в воде на стенках платинового тигля остается кольцеобразный налет коричневого цвета. Его смывают раствором соляной кислоты 1:1 с помощью стеклянной палочки, обернутой кусочком беззольного фильтра, и переносят в стакан с осадком. Платиновый тигель обмывают 2-3 раза дистиллированной водой над стаканом с осадком. Если осадок растворяется плохо, то стакан помещают на электрическую плитку и нагревают 15-20 мин до просветления.
После охлаждения раствор фильтруют в мерную колбу вместимостью 250 см3, фильтр промывают 2-3 раза дистиллированной водой. Объем фильтрата доводят дистиллированной водой до метки (раствор 2). Из раствора 2 определяют железо.
(Измененная редакция, Изм. № 1, 3, 5).
4.6.3. Проведение анализа
4.6.3.1. Определение массовой доли кремния
Для построения градуировочного графика готовят эталонный раствор кремния. Навеску двуокиси кремния массой 0,0214 г, взвешенную с погрешностью не более 0,0002 г, предварительно прокаленную в течение 2 ч при 500 °С, смешивают в платиновом тигле с 2 г безводного углекислого натрия, сверху насыпают еще 1 г углекислого натрия и сплавляют в муфельной печи при (900±25) °С до получения однородного плава. Тигель вынимают из муфельной печи, охлаждают, помещают в термостойкий стакан вместимостью 250 см3, заливают 70-80 см3 горячей дистиллированной воды и помещают на электрическую плитку до полного растворения плава. Тигель вынимают из стакана, обмывают горячей дистиллированной водой.
Содержимое стакана переносят в мерную колбу вместимостью 1000 мл, охлаждают, доводят дистиллированной водой до метки, после чего переливают в полиэтиленовый сосуд.
1 см3 раствора содержит 0,01 мг кремния.
Из этого раствора в колбы вместимостью 100 см3 с помощью пипеток наливают 1, 2, 3, 5, 7, 10 см3 раствора, обмывают горлышко и стенки колб небольшим количеством дистиллированной воды, нейтрализуют по фенолфталеину раствором серной кислоты концентрации с (H2SO4) =1 моль/дм3 (1 н.), доводят дистиллированной водой до объема 20 см3 и приливают 5 см3 раствора серной кислоты концентрации с (H2SO4) =1 моль/дм3 (1 н.). Далее в каждую колбу приливают по каплям 10 см3 свежеприготовленного раствора молибденовокислого аммония. Раствор тщательно перемешивают, выдерживают 10 мин, а затем небольшими порциями приливают 25 см3 раствора серной кислоты концентрации с (H2SO4) = 9 моль/дм3 (9 н.) и 10 см3 раствора аскорбиновой кислоты, доводят дистиллированной водой до метки и еще раз тщательно перемешивают. Через 10 мин измеряют оптическую плотность раствора на фотоэлектроколориметре, применяя светофильтр, работающий в области длин волн (600±10 — 700±5) нм, и кювету с толщиной колориметрируемого слоя 50 мм, по отношению к контрольному раствору. Контрольный раствор готовят так же, как эталонный, но без навески двуокиси кремния. Для построения каждой точки графика вычисляют среднее значение оптической плотности трех параллельных определений.
Для построения графика на оси абсцисс откладывают значения концентрации растворов кремния в граммах на 100 см3, а по оси ординат — соответствующие значения оптической плотности.
Градуировочный график должен иметь вид прямой линии. Градуировочный график проверяют один раз в три месяца.
Аликвотную часть исследуемого раствора 1 (подбирают так, чтобы оптическая плотность была в пределах 0,1-0,7) переносят в мерную колбу вместимостью 100 см3, нейтрализуют по фенолфталеину раствором серной кислоты концентрации с (H2SO4) = 1 моль/дм3 (1 н.) и доводят дистиллированной водой до объема 20 см3.
Далее прибавляют 5 см3 раствора серной кислоты концентрации с (H2SO4) = 1 моль/дм3 (1 н.), затем по каплям 10 см3 свежеприготовленного раствора молибденовокислого аммония и тщательно перемешивают. Через 10 мин небольшими порциями приливают 25 см3 раствора серной кислоты концентрации с (H2SO4) = 9 моль/дм3 (9 н.) и 10 см3 раствора аскорбиновой кислоты, доводят дистиллированной водой до метки, еще раз тщательно перемешивают и спустя 10 мин измеряют оптическую плотность раствора на фотоэлектроколориметре, применяя красный светофильтр (длина волны 650-700 нм), и кювету с толщиной колориметрируемого слоя 50 мм, по отношению к контрольному раствору. Контрольный раствор готовят так же, как и исследуемый, с той же аликвотной частью, но без золы анализируемого кокса.
Концентрацию исследуемого раствора определяют по градуировочному графику.
(Измененная редакция, Изм. № 3, 5).
4.6.3.2. Определение массовой доли ванадия
Для построения градуировочного графика готовят эталонный раствор ванадия. Навеску пятиокиси ванадия 0,1785 г, взвешенную с погрешностью не более 0,0002 г, предварительно прокаленную в течение 2 ч при 400-500 °С, растворяют в термостойком стакане в 10 см3 раствора гидроокиси натрия при нагревании. После охлаждения раствор нейтрализуют по фенолфталеину раствором соляной кислоты и дают небольшой избыток ее до слабого пожелтения раствора. Раствор переносят в мерную колбу вместимостью 500 см3, доводят дистиллированной водой до метки и тщательно перемешивают. Отбирают пипеткой 50 см3 этого раствора, переносят в мерную колбу вместимостью 200 см3 и доводят дистиллированной водой до метки.
1 см3 раствора содержит 0,05 мг ванадия.
Из этого раствора в колбы вместимостью 100 см3 с помощью пипеток наливают 1, 2, 3, 5, 7, 10 см3 раствора, содержащего известные количества ванадия, доводят дистиллированной водой до объема 40-45 см3.
Далее в каждую из колб приливают по 2 см3 раствора ортофосфорной кислоты, тщательно перемешивают, прибавляют по 1 см3 раствора вольфрамовокислого натрия, снова тщательно перемешивают и добавляют дистиллированную воду до метки. Через 10 мин измеряют оптическую плотность раствора на фотоэлектроколориметре, применяя синий светофильтр (длина волны 400-430 нм) и кювету с толщиной колориметрируемого слоя 50 мм, по отношению к контрольному раствору. Контрольный раствор готовят так же, как эталонный, но без навески пятиокиси ванадия. Для построения каждой точки графика вычисляют среднее значение оптической плотности трех параллельных определений.
Для построения графика на оси абсцисс откладывают значения концентрации растворов ванадия в граммах на 100 см3, а по оси ординат — соответствующие значения оптической плотности. Градуировочный график должен иметь вид прямой линии.
Аликвотную часть раствора 1 переносят в мерную колбу вместимостью 100 см3, приливают 2-3 капли фенолфталеина, нейтрализуют раствором соляной кислоты до исчезновения малинового окрашивания и дают избыток ее 2-3 капли. Приливают 2 см3 раствора ортофосфорной кислоты, тщательно перемешивают, затем прибавляют 1 см3 вольфрамовокислого натрия, снова тщательно перемешивают и доводят дистиллированной водой до метки.
Примечание. При помутнении окрашенного раствора необходимо отделить основную массу кремниевой кислоты до измерения оптической плотности. Для этого повторно отбирают аликвотную часть раствора 1 в термостойкий стакан вместимостью 100 см3, нейтрализуют по фенолфталеину раствором соляной кислоты, отфильтровывают в мерную колбу вместимостью 100 см3. Тщательно обмывают стакан и осадок на фильтре водой, собирая промывные воды, в ту же колбу. Далее приливают перекись водорода и ведут определение, как описано выше.
Через 10 мин измеряют оптическую плотность раствора на фотоэлектроколориметре, применяя синий светофильтр (длина волны 400-430 нм) и кювету с толщиной колориметрируемого слоя 50 мм, по отношению к контрольному раствору. Контрольный раствор готовят так же, как исследуемый, с той же аликвотной частью, но без золы анализируемого кокса.
Концентрацию исследуемого раствора определяют по градуировочному графику.
(Измененная редакция, Изм. № 3).
4.6.3.3. Определение массовой доли железа
Для построения градуировочного графика готовят эталонный раствор железа. Навеску металлического (восстановленного) железа массой 0,05 г, взвешенную с погрешностью не более 0,0002 г, переносят в коническую колбу вместимостью 250 см3 и растворяют в 25 см3 раствора соляной кислоты 1:1 при неоднократном нагревании, доводят каждый раз раствор до кипения, после чего снимают с плитки и охлаждают. После охлаждения его переносят в мерную колбу вместимостью 500 см3 и доводят дистиллированной водой до метки.
1 см3 раствора содержит 0,1 мг железа.
В мерные колбы вместимостью 100 см3 с помощью пипеток наливают 1, 2, 3, 5, 7 и 10 см3 раствора, содержащего известные количества железа, и доводят дистиллированной водой до объема 20-25 см3.
Далее в каждую колбу добавляют 1 г сернокислого аммония, 15 см3 раствора сульфосалициловой кислоты, а затем приливают раствор аммиака до появления устойчивого желтого окрашивания и дают избыток 1 см3. Раствор охлаждают, доводят дистиллированной водой до метки и тщательно перемешивают. Через 10 мин измеряют оптическую плотность раствора на фотоэлектроколориметре, применяя синий светофильтр (длина волны 400-430 нм) и кювету с толщиной колориметрируемого слоя 50 мм, по отношению к контрольному раствору. Контрольный раствор готовят так же, как эталонный, но без навески железа. Для построения каждой точки графика вычисляют среднее значение оптической плотности трех параллельных определений.
Для построения графика на оси абсцисс откладывают значения концентрации растворов железа в граммах на 100 см3, а по оси ординат — соответствующие значения оптической плотности. Градуировочный график должен иметь вид прямой линии.
Аликвотную часть раствора 2 переносят в мерную колбу вместимостью 100 см3, добавляют 1 г сернокислого аммония, приливают 15 см3 раствора сульфосалициловой кислоты, а затем приливают аммиак до появления устойчивого желтого окрашивания и дают избыток 1-2 см3. Раствор охлаждают, разбавляют дистиллированной водой до метки и тщательно перемешивают. Через 10 мин измеряют оптическую плотность раствора на фотоэлектроколориметре, применяя синий светофильтр (длина волны 400-430 нм) и кювету с толщиной колориметрируемого слоя 50 мм, по отношению к контрольному раствору. Контрольный раствор готовят так же, как и исследуемый, с той же аликвотной частью, но без золы анализируемого кокса.
Концентрацию исследуемого раствора определяют по градуировочному графику.
(Измененная редакция, Изм. № 3).
4.6.4. Обработка результатов
Массовую долю кремния, ванадия, железа (X) в процентах вычисляют по формуле
![]()
где m1 — количество определяемого элемента по градуировочному графику, г;
V — объем раствора 1 или 2, см3;
V1 — объем аликвотной части раствора 1 или 2, взятых для колориметрирования, см3;
m — масса навески кокса, г.
За результат анализа принимают среднее арифметическое двух параллельных определений, абсолютное расхождение между которыми не должно превышать значений, указанных в табл. 2.
Таблица 2
|
Определяемый элемент |
Массовая доля элемента, % |
Абсолютное расхождение, % |
|
Кремний |
От 0,01 до 0,10 |
0,005 |
|
Св. 0,10 » 1,00 |
0,030 |
|
|
Ванадий |
От 0,001 до 0,010 |
0,0008 |
|
Св. 0,010 » 0,100 |
0,0010 |
|
|
Железо |
Менее 0,01 |
0,002 |
|
От 0,01 до 0,10 |
0,006 |
|
|
Св. 0,10 » 1,00 |
0,020 |
(Измененная редакция, Изм. № 3).
4.7. (Исключен, Изм. № 5).
4.8. Для определения показателей по ГОСТ 6382-90, ГОСТ 22692-77, ГОСТ 1437-75, ГОСТ 8606-94, ГОСТ 27588-88 отбор и подготовка проб кокса — по ГОСТ 16799-79.
(Введен дополнительно, Изм. № 3).
4.9. Определение массовой доли летучих веществ
4.9.1. Аппаратура, материалы
Печь муфельная электрическая с естественной вентиляцией и автоматическим терморегулятором, поддерживающим постоянную температуру (850±10) °С. Муфельная печь должна обеспечивать повторный подъем указанной температуры не более чем на 3 мин после введения в нее холодных тиглей и выполнена так, чтобы можно было определить зону постоянной температуры.
Термопара и потенциометр по ГОСТ 9245-79. Горячий спай термопары должен находиться в середине зоны постоянной температуры (850±10) °С на расстоянии от 10 до 20 мм от пода печи.
Тигли фарфоровые № 3 высокие по ГОСТ 9147-80 с плотно подогнанными крышками. Тигли и крышки должны быть пронумерованы, прокалены до постоянной массы и храниться в эксикаторе с осушающим веществом. Перед взятием навески кокса масса тигля должна быть проверена.
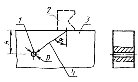
Подставка из жароупорной проволоки или листовой жаростойкой стали (см. чертеж) или любой другой конструкции. Размеры подставки должны обеспечивать возможность размещения тиглей в зоне постоянной температуры печи на расстоянии между подом печи и дном тигля от 10 до 20 мм.
Эксикатор по ГОСТ 25336-82 и ГОСТ 23932-90 с осушающим веществом. Осушающее вещество должно периодически обновляться.
Весы лабораторные общего назначения по ГОСТ 24104-88 2-го класса точности с наибольшим пределом взвешивания 200 г или другие с аналогичными метрологическими характеристиками.
Секундомер по ТУ 25-1819.0021-90 и ТУ 25-1894.003-90.
Щипцы тигельные.
Шпатель и ложечка.
Пластинка металлическая или асбест.
4.9.2. Проведение испытания
Аналитическую пробу кокса тщательно перемешивают шпателем или ложечкой и на разной глубине из двух-трех мест набирают навеску кокса массой (1±0,01) г в предварительно прокаленные и взвешенные тигли и взвешивают. Легким постукиванием выравнивают слой кокса и закрывают тигли крышками.
Подставка для тиглей

Тигли устанавливают на подставку, быстро помещают в зону постоянной температуры печи, предварительно нагретой до (850±10) °С, и закрывают дверцу.
Температура, понизившаяся при установке тиглей в печь, должна снова повыситься до (850±10) °С не более чем за 3 мин. В противном случае испытание повторяют.
Тигли с навесками кокса выдерживают в печи в течение 7 мин с момента их установки. По истечении 7 мин тигли вынимают щипцами, ставят на металлическую пластинку или лист асбеста, охлаждают на воздухе не менее 5 мин, затем переносят в эксикатор, охлаждают до комнатной температуры и взвешивают.
Массовую долю летучих веществ по. каждой аналитической пробе определяют параллельно в двух навесках.
При каждом определении массовой доли летучих веществ одновременно определяют массовую долю влаги в аналитической пробе по ГОСТ 27589-91.
4.9.3. Обработка результатов
Массовую долю летучих веществ (Vа) в процентах вычисляют по формуле
![]()
где m2 — масса тигля с крышкой и навеской кокса до испытания, г;
m3 — масса тигля с крышкой и навеской кокса после испытания, г;
m1 — масса тигля с крышкой, г;
Wa — массовая доля влаги в испытуемой аналитической пробе кокса, %.
Результаты определения вычисляют до второго десятичного знака и округляют до первого десятичного знака.
За результат испытания принимают среднее арифметическое результатов двух параллельных определений, если расхождение между ними не превышает допускаемые в п. 4.9.4.
Если расхождение между результатами двух параллельных определений выше допускаемых, то проводят третье определение и за окончательный результат принимают среднее арифметическое результатов двух наиболее близких определений в пределах допускаемых расхождений.
Если результат третьего определения находится в пределах допускаемых расхождений по отношению к результатам каждого из двух предыдущих определений, за окончательный результат принимают среднее арифметическое результатов трех определений.
4.9.4. Точность метода
Сходимость
Два результата определения, полученные одним исполнителем, признаются достоверными (с 95 %-ной доверительной вероятностью), если расхождение между ними не превышает 0,3 %.
Воспроизводимость
Два результата испытаний, полученные в двух разных лабораториях, признаются достоверными (с 95 %-ной доверительной вероятностью), если расхождение между ними не превышает 0,5 %.
4.9 — 4.9.4. (Введены дополнительно, Изм. № 5).
5. УПАКОВКА, МАРКИРОВКА, ТРАНСПОРТИРОВАНИЕ И ХРАНЕНИЕ
5.1. Упаковка, маркировка, транспортирование и хранение нефтяных коксов — по ГОСТ 1510-84.
5.2. (Исключен, Изм. № 3).
6. ГАРАНТИИ ИЗГОТОВИТЕЛЯ
6.1. Изготовитель гарантирует соответствие качества нефтяных коксов требованиям настоящего стандарта при соблюдении условий транспортирования и хранения.
(Измененная редакция, Изм. № 3).
6.2. Гарантийный срок хранения нефтяных коксов — пять лет со дня изготовления.
(Измененная редакция, Изм. № 2).
7. ТРЕБОВАНИЯ БЕЗОПАСНОСТИ
7.1. Нефтяной кокс является твердым горючим веществом. Пыль нефтяного кокса по опасности воспламенения и взрыва в помещениях относятся к IV классу группы Б. Пыль нефтяного кокса может тлеть, самовозгораться и самовоспламеняться. Температура тления при самовозгорании пыли с размером частиц 50-100 мкм 205-235 ºС, температура самовоспламенения 535-625 °С. Пыль с размером частиц 50-160 мкм не взрывоопасна: нижний предел воспламенения аэровзвеси отсутствует до 500 г/м3.
7.2. По степени воздействия на организм человека пыль нефтяного кокса относится к 4 классу опасности. Предельно допустимая концентрация пыли нефтяного кокса в воздухе рабочей зоны производственных помещений 6 мг/м3. В случае аварийного запыления воздуха для защиты органов дыхания применяются противопылевые респираторы типа «Лепесток» или ПРБ-5.
Запыленность воздуха определяют весовым методом с помощью автоматического эжекторного аспиратора АЭРА.
Уборку пыли нефтяного кокса в производственных помещениях производят влажным способом.
7.3. При загорании нефтяного кокса тушить пенной струей или водой от лафетных стволов; при загорании небольших количеств кокса тушить песком, водой, кошмой, пенным огнетушителем.
7.4. Места образования коксовой пыли в производственных помещениях должны быть снабжены местной вытяжной вентиляцией.
7.5. При производстве, погрузке, выгрузке и отборе проб нефтяного кокса следует применять индивидуальные средства защиты согласно типовым отраслевым нормам, утвержденным в установленном порядке.
(Измененная редакция, Изм. № 3).
ПРИЛОЖЕНИЕ
Справочное
ТАБЛИЦА СООТВЕТСТВИЯ ОБОЗНАЧЕНИЯ МАРОК НЕФТЯНОГО МАЛОСЕРНИСТОГО КОКСА
|
Ранее применявшееся обозначение |
Новое обозначение |
|
КНПС-СМ, высший сорт |
КНПС-СМ, высший сорт |
|
КНПС-КМ, первый сорт |
КНПС-КМ, первый сорт |
|
КНПЭ, высший сорт |
— |
|
КНПЭ, первый сорт |
— |
|
КНКЭ, высший сорт |
— |
|
КНКЭ, первый сорт |
— |
|
— |
кнг |
|
КЗА, высший сорт |
КЗА, высший сорт |
|
КЗГ, КЗА первый сорт |
КЗГ, КЗА первый сорт |
|
КЗО |
КЗО |
|
КНА |
КНА |
(Измененная редакция, Изм. № 5).
ИНФОРМАЦИОННЫЕ ДАННЫЕ
1. РАЗРАБОТАН И ВНЕСЕН Министерством химической и нефтеперерабатывающей промышленности СССР
РАЗРАБОТЧИКИ
Б.М. Ежов, С.М. Слуцкая, Б.М. Вольф, Н.Т. Походенко, А.П. Христофорова, М.В. Кретинин, Л.С. Бобрик, С.А. Зайцева, Г.С. Дегтярев, Э.М. Бабенко, В.А. Шапошникова, М.А. Захарьева, В.К. Макарова, Р.X. Садыков, И.И. Шерышева, М.М. Ахметов, Н.И. Смирнова, В.В. Борзилова
2. УТВЕРЖДЕН И ВВЕДЕН В ДЕЙСТВИЕ Постановлением Государственного комитета стандартов Совета Министров СССР от 05.01.78 №:20
3. Срок проверки — 1993 г.
4. Изменение № 5 принято Межгосударственным Советом по стандартизации, метрологии и сертификации (протокол № 7 от 26.04.95)
За принятие проголосовали:
|
Наименование государства |
Наименование национального органа стандартизации |
|
Российская Федерация |
Госстандарт России |
|
Республика Таджикистан |
Таджикский государственный центр по стандартизации, метрологии и сертификации |
|
Республика Узбекистан |
Узгосстандарт |
|
Украина |
Госстандарт Украины |
4. ВЗАМЕН ГОСТ 3278-62 и ГОСТ 15833-70
5. ССЫЛОЧНЫЕ НОРМАТИВНО-ТЕХНИЧЕСКИЕ ДОКУМЕНТЫ
|
Обозначение НТД, на который дана ссылка |
Номер пункта |
Обозначение НТД, на который дана ссылка |
Номер пункта |
|
ГОСТ 83-79 |
4.6.1 |
ГОСТ 8606-94 |
2.2, 4.8 |
|
ГОСТ 1437-75 |
2.2, 4.8 |
ГОСТ 9147-80 |
4.4.1, 4.9.1 |
|
ГОСТ 1510-84 |
5.1 |
ГОСТ 9245-79 |
4.9.1 |
|
ГОСТ 1770-74 |
4.6.1 |
ГОСТ 10929-76 |
4.6.1 |
|
ГОСТ 3118-77 |
4.6.1 |
ГОСТ 16799-79 |
3.2, 4.1, 4.4.2.1. 4.6.2, 4.8 , |
|
ГОСТ 3306-88 |
4.3.1 |
||
|
ГОСТ 3760-79 |
4.6.1 |
ГОСТ 17299-78 |
4.4.1 |
|
ГОСТ 3765-78 |
4.6.1 |
ГОСТ 18289-78 |
4.6.1 |
|
ГОСТ 3769-78 |
4.6.1 |
ГОСТ 18300-87 |
4.4.1 |
|
ГОСТ 4204-77 |
4.6.1 |
ГОСТ 22692-77 |
2.2, 4.8 |
|
ГОСТ 4328-77 |
4.6.1 |
ГОСТ 24104-88 |
4.4.1, 4.9.1 |
|
ГОСТ 4478-78 |
4.6.1 |
ГОСТ 23932-90 |
4.9.1 |
|
ГОСТ 4517-87 |
4.6.1 |
ГОСТ 25336-82 |
4.4.1, 4.6.1 |
|
ГОСТ 5583-78 |
4.6.1 |
ГОСТ 26132-84 |
2.2, 4.7 |
|
ГОСТ 6382-90 |
2.2, 4.8 |
ГОСТ 27588-88 |
2.2, 4.8 |
|
ГОСТ 6552-80 |
4.6.1 |
ГОСТ 27589-91 |
4.9.2 |
|
ГОСТ 6613-86 |
4.4.1 |
ГОСТ 28498-90 |
4.4.1 |
|
ГОСТ 6709-72 |
4.4.1, 4.6.1 |
ГОСТ 29169-91 |
4.4.1, 4.6.1 |
|
|
|
ГОСТ 29252-91 |
4.6.1 |
6. Ограничение срока действия снято по решению Межгосударственного Совета по стандартизации, метрологии и сертификации (ИУС 5-6-93)
7. ПЕРЕИЗДАНИЕ с Изменениями № 1, 2, 3, 4, 5, утвержденными в декабре 1982 г., ноябре 1985 г., марте 1988 г., июне 1990 г. и апреле 1995 г. (ИУС 4-83, 2-86, 7-88, 10-90, 11-95)