
ГОСУДАРСТВЕННЫЙ СТАНДАРТ СОЮЗА ССР
ЭЛЕКТРОВОДОНАГРЕВАТЕЛИ
БЫТОВЫЕ
ОБЩИЕ ТЕХНИЧЕСКИЕ УСЛОВИЯ
ГОСТ 23110-84
(СТ СЭВ 3692-82)
Е
ГОСУДАРСТВЕННЫЙ КОМИТЕТ СССР ПО СТАНДАРТАМ
Москва
ГОСУДАРСТВЕННЫЙ СТАНДАРТ СОЮЗА ССР
|
ЭЛЕКТРОВОДОНАГРЕВАТЕЛИ БЫТОВЫЕ Общие технические условия Household electric water heaters. |
ГОСТ (CT СЭВ 3692-82) |
Срок действия с 01.07.85
до 01.01.94
Настоящий стандарт распространяется на аккумуляционные электроводонагреватели (далее — электроводонагреватели) бытового назначения климатического исполнения УХЛ категории 3, 4, 5 по ГОСТ 15150-69, предназначенные для нагревания воды ниже точки кипения, изготовляемые для нужд народного хозяйства и экспорта.
Стандарт не распространяется на проточные электроводонагреватели.
Термины, применяемые в настоящем стандарте, и их пояснения — по ГОСТ 27570.18-89, ГОСТ 28361-89 и приложению .
Требования настоящего стандарта являются обязательными, кроме пп. , .
(Измененная редакция, Изм. № 1, 2, 3).
1. КЛАССИФИКАЦИЯ
Классификация электроводонагревателей — по ГОСТ 27570.18-89 со следующими буквенными обозначениями электроводонагревателей:
Д — закрытые;
К — питаемые от отдельного резервуара или со встроенным резервуаром;
Н — со свободным сливом;
О — вентилируемые;
А — с термоизоляцией для длительного сохранения нагретой воды;
Б — без термоизоляции для кратковременного хранения нагретой воды.
(Измененная редакция, Изм. № 2).
2. ОСНОВНЫЕ ПАРАМЕТРЫ И РАЗМЕРЫ
Таблица 1
|
Вместимость, дм3 |
Номинальная мощность, кВт |
Время первого нагрева воды, ч, не более |
Время повторного нагрева воды, ч, не более |
Постоянные суточные потери, кВт×ч, не более |
Температура воды, °С |
||
|
наибольшая |
контрольная при измерении времени нагрева и теплопотерь |
||||||
|
ЭВБО |
5 |
1,25 1,6 |
0,35 |
— |
— |
85 |
65 |
|
10 |
1,0 1,25 1,6 |
0,95 |
|||||
|
15 |
1,25 1,6 |
1,35 |
|||||
|
ЭВАН |
5 |
1,25 1,6 |
— |
0,3 |
0,4 |
85 |
65 |
|
10 |
1,25 1,6 |
0,9 |
1,0 |
||||
|
25 |
1,25 1,6 |
2,0 |
1,6 |
||||
|
50 |
1,25 1,6 |
3,4 |
2,0 |
||||
|
80 |
1,25 1,6 |
4,7 |
2,1 |
||||
|
100 |
1,25 1,6 |
6,0 |
2,3 |
||||
|
120 |
1,25 1,6 |
7,4 |
2,6 |
||||
|
150 |
1,25 1,6 |
9,0 |
3,0 |
||||
|
200 |
1,6 4,0 |
10,4 |
4,0 |
||||
|
ЭВАД |
50 |
1,25 1,6 |
— |
3,1 |
2,0 |
77 |
65 |
|
80 |
1,25 1,6 |
4,7 |
2,1 |
||||
|
100 |
1,25 1,6 |
6,0 |
2,3 |
||||
|
120 |
1,25 1,6 |
7,4 |
2,6 |
||||
|
150 |
1,25 1,6 |
9,0 |
3,0 |
||||
|
200 |
1,6 4,0 |
10,4 |
4,0 |
||||
|
300 |
2,0 4,0 |
9,7 |
5,0 |
||||
|
400 |
3,0 4,0 |
9,0 |
6,0 |
||||
|
ЭВАК |
100 |
1,25 1,6 |
— |
6,0 |
2,3 |
85 |
65 |
|
200 |
1,6 4,0 |
10,4 |
4,0 |
||||
|
400 |
3,0 4,0 |
9,0 |
6,0 |
||||
(Измененная редакция, Изм. № 2).
Рекомендации по выбору основных геометрических размеров электроводонагревателей приведены в приложении .
2.2. Электроводонагреватели следует изготовлять на номинальное напряжение 127 или 220 В однофазного переменного тока частотой 50 Гц.
Пример условного обозначения электроводонагревателя с термоизоляцией закрытого вместимостью 100 дм3, номинальной мощностью 1,25 кВт:
ЭВАД-100/1,25 ГОСТ 23110-84
(Измененная редакция, Изм. № 2).
3. ТЕХНИЧЕСКИЕ ТРЕБОВАНИЯ
Электроводонагреватели, предназначенные для экспорта, должны соответствовать договору между предприятием и внешнеэкономической организацией.
Требования безопасности — по ГОСТ 27570.18-89.
По степени защиты от влаги электроводонагреватели должны быть каплезащищенного исполнения.
По типу защиты от поражения электрическим током электроводонагреватели должны быть I или II класса по ГОСТ 27570.0-87.
3.1 — 3.3. (Измененная редакция, Изм. № 2).
3.4. Периодические колебания температуры (дифференциал терморегулятора) должны быть не более 10 °С.
3.5 — 3.10. (Исключены, Изм. № 2).
3.11. Электроводонагреватели следует заполнять водопроводной водой по ГОСТ 2874-82.
3.12. Вместимость электроводонагревателей не должна отличаться от номинальной более чем на ± 5 % — для электроводонагревателей вместимостью свыше 15 дм3 и более чем на ± 1 % — для электроводонагревателей вместимостью до 15 дм3 включительно.
Примечание. Требование относится ко всем типам электроводонагревателей, кроме ЭВБО.
3.14. Коэффициент перемешивания должен быть не более 25 %.
(Измененная редакция, Изм. № 2).
3.16. (Исключен, Изм. № 2).
3.18. Электроводонагреватели должны быть снабжены термовыключателями без самовозврата. Температура срабатывания термовыключателей должна быть:
для электроводонагревателей, имеющих пластмассовый корпус или пластмассовую теплоизоляцию — 99 °С с точностью минус 10 %;
для остальных электроводонагревателей температуру выбирают из ряда 99, 130, 140 °С с точностью минус 10 %.
(Измененная редакция, Изм. № 2).
3.19. (Исключен, Изм. № 2).
Для электроводонагревателей, предназначенных для экспорта, марка шнура и тип вилки должны соответствовать указанным в договоре между предприятием и внешнеэкономической организацией.
3.21. Номинальные значения климатических факторов — по ГОСТ 15150-69 и ГОСТ 15543-70, механических — по ГОСТ 17516-72, группа М23.
(Измененная редакция, Изм. № 2).
3.22. (Исключен, Изм. № 2).
3.23. Для электроводонагревателей устанавливают следующие показатели надежности:
установленная безотказная наработка Ту — не менее 1250 ч;
средняя наработка на отказ То — не менее 3000 ч;
установленный срок службы Тсл.у — не менее 7 лет;
среднее время восстановления — не более 2 ч.
(Измененная редакция, Изм. № 2).
3.24. (Исключен, Изм. № 2).
3.25. Удельная масса электроводонагревателей в кг/дм3 должна быть не более:
для электроводонагревателей с термоизоляцией
1,0 — вместимостью до 80 дм3;
0,6 — вместимостью 80 — 100 дм3;
0,45 — вместимостью 120 — 200 дм3;
0,40 — вместимостью 300 дм3;
0,35 — вместимостью 400 дм3;
для электроводонагревателей без термоизоляции — 0,55.
3.26-3.28. (Исключены, Изм. № 2).
4. КОМПЛЕКТНОСТЬ
4.1. В комплект поставки электроводонагревателей должны входить:
электроводонагреватель;
крепежные детали;
обратный клапан для всех типов, кроме ЭВБО;
смеситель;
двухполюсная розетка с защитным контактом только для типов ЭВБО и ЭВАН вместимостью до 25 л;
руководство по эксплуатации — по ГОСТ 26119-84.
5. ПРАВИЛА ПРИЕМКИ
5.1. Электроводонагреватели должны подвергаться приемочным, квалификационным, приемо-сдаточным, периодическим, типовым испытаниям по ГОСТ 16504-81 и испытаниям на надежность.
5.2. Приемочным испытаниям подвергают электроводонагреватели на соответствие всем требованиям настоящего стандарта.
Выборка должна комплектоваться методом отбора с применением случайных чисел по ГОСТ 18321-73.
5.2, 5.3. (Измененная редакция, Изм. № 2).
Таблица 2
|
Методы испытаний |
|
|
Внешний осмотр |
По ГОСТ 14087-88 |
|
Испытание электрической прочности изоляции в холодном состоянии без увлажнения |
По ГОСТ 14087-88 |
|
Испытание на герметичность баков |
По ГОСТ 27570.18-89 |
|
Испытание на функционирование |
По ГОСТ 14087-88 |
5.6. Типовые испытания электроводонагревателей проводят при изменении конструкции, технологии изготовления или материалов. Программа испытаний зависит от характера изменений.
5.7. Проверку качества электроводонагревателей получателем (конечным получателем) допускается проводить выборочно, при этом число электроводонагревателей должно составлять 3 % от партии, но не менее 3 шт. Партией считается число электроводонагревателей одного типа, поступивших по одному документу. Их проверяют по программе приемо-сдаточных испытаний, за исключением испытаний электрической прочности изоляции и герметичности баков. При получении неудовлетворительных результатов проводят повторные испытания на удвоенном числе образцов. Результаты повторных испытаний считаются окончательными и распространяются на всю партию.
Таблица 3
|
Обозначение стандарта или номер пункта настоящего стандарта |
||
|
технических требований |
методов испытаний |
|
|
1. Испытание на механическую прочность при транспортировании |
|
ГОСТ 23216-78 |
|
2. Испытание на воздействие механических факторов внешней среды |
|
ГОСТ 17516-72 |
|
3. Внешний осмотр |
|
ГОСТ 14087-88 |
|
4. Проверка защиты от поражения электрическим током |
|
ГОСТ 27570.18-89 |
|
5. Проверка потребляемой мощности и тока |
|
ГОСТ 27570.18-89 |
|
6. Испытание на нагрев |
|
ГОСТ 27570.18-89 |
|
7. Проверка работы в условиях перегрузки приборов с нагревательными элементами |
|
ГОСТ 27570.18-89 |
|
8. Проверка электрической прочности изоляции и тока утечки при рабочей температуре |
|
ГОСТ 27570.18-89 |
|
9. Подавление теле- и радиопомех |
|
ГОСТ 27570.0-87 |
|
10. Проверка настройки терморегулятора |
|
ГОСТ 28361-89 |
|
11. Определение фактической вместимости рабочего резервуара |
|
ГОСТ 28361-89 |
|
12. Определение постоянных суточных тепловых потерь |
|
ГОСТ 28361-89 |
|
13. Определение объема нагретой воды |
|
ГОСТ 28361-89 |
|
14. Определение времени повторного нагрева воды |
|
ГОСТ 28361-89 |
|
15. Определение времени первого нагрева воды (для электроводонагревателей без термоизоляции) |
|
|
|
16. Определение коэффициента перемешивания |
|
ГОСТ 28361-89 |
|
17. Определение погрешности шкалы терморегулятора |
|
ГОСТ 28361-89 |
|
18. Определение периодических колебаний температуры (дифференциал) |
|
ГОСТ 28361-89 |
|
19. Испытания на влагостойкость |
|
ГОСТ 27570.18-89 |
|
20. Проверка сопротивления изоляции и электрической прочности |
|
ГОСТ 27570.0-87 |
|
21. Проверка защиты от перегрузки |
|
ГОСТ 27570.0-87 |
|
22. Испытание на износостойкость |
|
ГОСТ 27570.18-89 |
|
23. Испытание при ненормальной работе |
|
ГОСТ 27570.18-89 |
|
24. Испытание на устойчивость и механическую опасность |
|
ГОСТ 27570.18-89 |
|
25. Проверка механической прочности |
|
ГОСТ 27570.0-87 |
|
26. Проверка конструкции |
, |
ГОСТ 27570.18-89 |
|
27. Проверка внутренней проводки |
|
ГОСТ 27570.18-89 |
|
28. Проверка комплектующих изделий |
|
ГОСТ 27570.18-89 |
|
29. Проверка присоединения к источнику питания и внешние гибкие кабели и шнуры |
|
ГОСТ 27570.18-89 |
|
30. Проверка зажимов для внешних проводов |
|
ГОСТ 27570.0-87 |
|
31. Проверка заземления |
|
ГОСТ 27570.18-89 |
|
32. Проверка винтов и соединений |
|
ГОСТ 27570.0-87 |
|
33. Проверка путей утечки, воздушных зазоров и расстояний по изоляции |
|
ГОСТ 27570.18-89 |
|
34. Испытание на теплостойкость, огнестойкость и стойкость к образованию токоведущих мостиков |
|
ГОСТ 27570.0-87 |
|
35. Проверка стойкости к коррозии |
|
ГОСТ 27570.0-87 |
|
36. Испытания на пожарную безопасность |
|
Приложения — настоящего стандарта |
Примечание. Испытания по пп. 1, 9, 34, 36 проводят при квалификационных и типовых испытаниях.
(Измененная редакция, Изм. № 2, 3).
Планирование испытаний на надежность — по ГОСТ 17446-86.
Установленную безотказную наработку контролируют при условии:
браковочный уровень безотказной работы Рb (1250) — не менее 0,9;
риск потребителя b = 0,2;
объем выборки N — не менее 15.
Контрольные испытания на среднюю наработку на отказ планируют при распределении наработок на отказ по экспоненциальному закону по следующим показателям:
приемочный уровень наработки на отказ Тa = 7500 ч;
браковочный уровень наработки на отказ Тb =3000 ч;
риск изготовителя a = 0,2;
риск потребителя b = 0,2;
время испытаний tи = 2200 ч;
объем выборки Nпр — не менее 11 образцов;
предельное число отказов rпр = 4.
Установленный срок службы Tсл.у контролируют при условии, что браковочный уровень вероятности безотказной работы Рb (3500) = 0,8; риск потребителя b = 0,2; среднегодовая наработка составляет 500 ч; объем выборки N — не менее 7 образцов. В течение времени испытания tи = 3500 ч не должно наступить предельное состояние ни одного образца.
Контроль среднего времени восстановления Тв проводят на трех образцах путем замены нагревательного элемента, регулирующего устройства и других заменяемых деталей.
(Измененная редакция, Изм. № 2).
6. МЕТОДЫ ИСПЫТАНИЙ
6.1. Общие условия испытаний электроводонагревателей — по ГОСТ 27570.18-89 и ГОСТ 28361-89.
(Измененная редакция, Изм. № 3).
6.1.1 — 6.13. (Исключены, Изм. № 3)
Перед испытанием электроводонагреватели подсоединяют к водопроводу и наполняют холодной водой. Для устранения остаточного тепла через электроводонагреватели пропускают холодную воду в течение 20 мин. Скорость заполнения водой при этом должна быть не менее 5 % номинальной вместимости за 1 мин. После такой подготовки измеряют температуру входящей холодной воды Qc в течение 10 мин, затем электроводонагреватели отключают от трубопроводов и арматуры.
При испытании электроводонагреватели, наполненные холодной водой, включают в электросеть и оставляют включенными до первого выключения терморегулятора.
При испытании измеряют:
время
, ч, до первого выключения терморегулятора;
температуру нагретой воды
, определяемую по пп. 10 и 14 ГОСТ 28361-89 после первого выключения терморегулятора.
Если разность QM —
> 10 °С, то испытание повторяют. В этом случае время измеряют до первого выключения терморегулятора, при котором QM —
£ 10 °С.
Время первого нагревания воды
, ч, при исходном холодном состоянии прибора определяют по формуле
.
Далее определяют температуру QW по ГОСТ 28361-89.
(Измененная редакция, Изм. № 2, 3).
6.15 — 6.18. (Исключены, Изм. № 3)
6.19 — 6.23. (Исключены, Изм. № 2).
6.24. Испытания на надежность электроводонагревателей проводят при напряжении 220 В ± 5 %.
Электроводонагреватели, заполненные водой до номинальной емкости, работают при наличии терморегуляторов на уставке 85 °С в непрерывном режиме. Испарение воды допускается не более 1/3 номинальной емкости, после чего электроводонагреватели вновь заполняют водой.
В процессе испытаний через каждые 600 ч необходимо проводить очистку нагревательного элемента от накипи.
Токи утечки измеряют каждые 250 ч наработки.
Критериями отказов следует считать:
выход из строя нагревательного элемента;
выход из строя регулирующих устройств;
увеличение токов утечки выше значений, указанных в ГОСТ 27570.0-87.
Критериями предельного состояния следует считать:
разрушение узлов и деталей корпуса, в результате чего электроводонагреватель становится электро- и пожароопасным.
(Измененная редакция, Изм. № 2).
6.25. (Исключен, Изм. № 2).
6.26. Массу электроводонагревателей (п. ) определяют взвешиванием вместе с соединительным шнуром с погрешностью взвешивания ± 0,1 кг.
7. МАРКИРОВКА, УПАКОВКА, ТРАНСПОРТИРОВАНИЕ И ХРАНЕНИЕ
7.1.1. Требования к маркировке, место и содержание маркировки — по ГОСТ 27570.18-89 со следующими дополнениями:
На электроводонагревателях должны быть нанесены:
государственный Знак качества, присвоенный в установленном порядке;
номинальная мощность;
слова: «заземление обязательно» (для электроводонагревателей I класса защиты).
На электроводонагреватели со свободным сливом должны быть нанесены маркировочные данные, содержащие запрещение о перекрывании излива: подвод и слив воды должны быть обозначены на неснимаемых деталях. При цветовой индикации подвод холодной воды обозначается синим цветом, слив нагретой — красным.
Электроводонагреватели, предназначенные для экспорта, маркируют в соответствии с требованиями договора между предприятием и внешнеэкономической организацией. При этом розничную цену, обозначение государственного стандарта, государственный Знак качества не проставляют.
(Измененная редакция, Изм. № 3).
7.1.1, 7.1.2. (Измененная редакция, Изм. № 2).
7.2. Упаковка
7.2.1. Консервация и упаковка электроводонагревателей должны соответствовать требованиям ГОСТ 23216-78 и ГОСТ 9.014-78 со следующими дополнениями. Электроводонагреватели должны быть обернуты в бумагу и упакованы в деревянную обрешетку по ГОСТ 12082-82 или упакованы в коробки из картона по ГОСТ 7933-75. Электроводонагреватели, предназначенные для экспорта, должны быть упакованы в коробки из картона по ГОСТ 7376-84.
7.2.2. На индивидуальной упаковке должны быть указаны:
тип и наименование электроводонагревателя;
номинальное напряжение, В;
наименование предприятия-изготовителя или его товарный знак;
год выпуска;
артикул, масса;
манипуляционные знаки по ГОСТ 14192-77;
обозначение государственного стандарта.
На индивидуальной упаковке электроводонагревателей, предназначенных для экспорта, если иное не указано в договоре между предприятием и внешнеэкономической организацией, должны быть указаны:
тип и наименование электроводонагревателей;
номинальное напряжение, В;
надпись «Сделано в СССР».
(Измененная редакция, Изм. № 2, 3).
7.3. Транспортирование
7.3.2. Транспортирование электроводонагревателей должно осуществляться всеми видами транспорта в крытых транспортных средствах в соответствии с правилами, действующими на данном виде транспорта.
При транспортировании должна быть исключена возможность перемещения электроводонагревателей внутри транспортных средств.
8. ГАРАНТИИ ИЗГОТОВИТЕЛЯ
8.1. Изготовитель гарантирует соответствие электроводонагревателей требованиям настоящего стандарта при соблюдении условий эксплуатации транспортирования и хранения.
8.2. Гарантийный срок эксплуатации до 01.01.91 — 2 года со дня продажи через розничную торговую сеть, для электроводонагревателей, предназначенных для внерыночного потребления, — со дня получения потребителем, а с 01.01.91 — 2,5 года для электроводонагревателей с термоизоляцией и 3 года для электроводонагревателей без термоизоляции.
(Измененная редакция, Изм. № 1, 2).
8.3. Гарантийный срок эксплуатации электроводонагревателей, предназначенных для экспорта, — 2,5 года со дня ввода их в эксплуатацию, но не более 3 лет со дня проследования через Государственную границу СССР.
ПРИЛОЖЕНИЕ 1
Справочное
ПОЯСНЕНИЕ ТЕРМИНОВ, ИСПОЛЬЗУЕМЫХ В НАСТОЯЩЕМ СТАНДАРТЕ
Время первого нагревания воды — время нагревания воды до первого выключения терморегулятора в приборе, не имеющем теплоизоляции.
Время повторного нагревания воды — время до первого выключения терморегулятора при нагревании воды в приборе, имеющем теплоизоляцию, после предварительного прогрева конструкции.
Температура запасенной воды — температура воды, находящейся в рабочем резервуаре электроводонагревателя, измеряемая без слива воды из резервуара с помощью термопар.
Температура нагретой воды — температура воды, сливаемой из рабочего резервуара электроводонагревателя вытеснением ее холодной водой, подаваемой в данную часть резервуара или без этого вытеснения (свободный слив).
Объем нагретой воды — количество воды, нагретой в контрольном режиме работы электроводонагревателя, равное номинальной вместимости электроводонагревателя, сливаемое вытеснением ее холодной водой, подаваемой в донную часть рабочего резервуара. Характеризует фактическую тепловую производительность электроводонагревателя.
Коэффициент перемешивания — отношение разности температур нагретой воды, сливаемой из рабочего резервуара, без вытеснения и с вытеснением холодной водой, подаваемой в его донную часть, к температуре нагретой воды, сливаемой из рабочего резервуара без вытеснения холодной водой. Характеризует фактическое уменьшение температуры нагретой воды в процессе эксплуатации электроводонагревателя по сравнению с ее значением в контрольном режиме работы.
(Новая редакция, Изм. № 3).
ПРИЛОЖЕНИЕ 2
Рекомендуемое
РЕКОМЕНДУЕМЫЕ СООТНОШЕНИЯ ДЛЯ ВЫБОРА ОСНОВНЫХ ГЕОМЕТРИЧЕСКИХ ПАРАМЕТРОВ КОНСТРУКЦИИ ЭЛЕКТРОВОДОНАГРЕВАТЕЛЕЙ С ТЕРМОИЗОЛЯЦИЕЙ
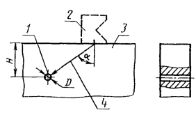
При конструировании электроводонагревателя рекомендуется выдержать следующие геометрические соотношения:
0,092 £ pS/P £ 0,13; (1)
; (2)
где V— вместимость рабочего бака, дм3;
S — толщина слоя теплоизоляции на вертикальном участке, мм;
H — высота теплоизоляционного слоя, мм;
P — наружный периметр теплоизоляционного слоя в горизонтальном сечении, мм.
Для цилиндрической конструкции электроводонагревателя P = pD. Тогда уравнения () и () примут вид
0,092 £ S/D £ 0,13; (4)
где D — наружный диаметр теплоизоляционного слоя, мм.
Конструирование электроводонагревателя следует начинать с определения диапазона изменения отношений pH/P по уравнению () или отношения H/D по уравнению () при заданном V.
Затем из диапазонов изменения pS/P и pH/P или S/D и H/D выбирают значения этих отношений и используют для определения Р и D формулы:
; (6)
. (7)
(Измененная редакция, Изм. № 3).
Имея значение Р, pS/P и pH/P или D, S/D и H/D определяют значение S и H. Это позволяет определить геометрические размеры рабочего бака и декоративного кожуха электроводонагревателей в соответствии с чертежом.

(Измененная редакция, Изм. № 2).
ПРИЛОЖЕНИЕ 3
Обязательное
ИСПЫТАНИЯ ЭЛЕКТРОВОДОНАГРЕВАТЕЛЕЙ НА ПОЖАРОБЕЗОПАСНОСТЬ
Испытаниям на пожаробезопасность подвергают пять электроводонагревателей с номинальной вместимостью до 25 дм3 и три электроводонагревателя с номинальной вместимостью свыше 25 дм3, прошедших приемо-сдаточные испытания и отобранные из той же партии, из которой отбирались образцы для квалификационных испытаний, в случае их положительного результата. Испытания проводят в двух режимах.
1. — Режим перенапряжения
Электроводонагреватели испытывают на нагрев по ГОСТ 27570.18-89 со следующими дополнениями: потребляемое напряжение равно 1,2 номинального; время испытаний — до установившегося режима.
После завершения испытаний проводят измерение температуры на деталях и частях из неметаллических и изоляционных материалов, на внутренней проводке, на изоляции соединительного шнура при выходе его из электроводонагревателя, на полу, стенах и потолке испытательного стенда, на корпусе электроводонагревателя. Ни одно из полученных значений не должно превышать критической температуры.
Критической температурой считают температуру размягчения изоляционных материалов, имеющих фазу размягчения, или теплостойкость для материалов, не имеющих фазы размягчения, если эти значения ниже 175 °С. Если критическая температура выше 175 °С, то критической температурой считают 175 °С.
Критическую температуру испытательного стенда и корпуса принимают равной 175 °С.
2. — Режим ухудшенного теплоотвода
Испытания в режиме ухудшенного теплоотвода проводят при ненормальной работе по ГОСТ 27570.18-89. Измерения температур проводят в тех же местах, что и в режиме 1, при достижении установившегося режима. Ни одно из полученных значений не должно превышать критической температуры.
Вероятность возникновения пожара (Qп) определяют по формуле
Qп = 1 — (1 — Qв.п.)(1 — Qу.т.)(1 — Qш),
где Qв.п — вероятность воспламенения электроводонагревателя в режиме перенапряжения;
Qу.т — вероятность воспламенения электроводонагревателя в режиме ухудшенного теплоотвода;
Qш — вероятность воспламенения шнура (выбирают из табл. приложения );
Qв.п
,
где п — число деталей из неметаллических и изоляционных материалов, внутренняя проводка, части испытательного стенда и корпус прибора;
Qiпер — вероятность достижения критической температуры на деталях из неметаллических и изоляционных материалов, на внутренней проводке, частях испытательного стенда и на корпусе прибора;
Qв.т — вероятность выхода из строя термовыключателя, равная 0,0076;
Qiпер = 1 — Qiпер,
где Qiпер — параметр, значение которого выбирают в зависимости от безразмерного параметра aiпер (см. табл. приложения )
,
где т — количество испытываемых приборов;
Тiк — критическая температура деталей, сделанных из неметаллических и изоляционных материалов, на внутренней проводке, частях испытательного стенда и на корпусе прибора;
Тiср.пер — средняя температура деталей, сделанных из неметаллических и изоляционных материалов, на внутренней проводке, частях испытательного стенда и на корпусе прибора;
siпер — среднее квадратическое отклонение в режиме перенапряжения.
Примечание. Если ai > 5, то Qi = 0. Если Тiср ³ Тiк, то Qi = 1.
,
где Tiпер — измеренное значение температуры деталей, сделанных из неметаллических и изоляционных материалов, на внутренней проводке, частях испытательного стенда и на корпусе прибора;
;
,
где Qiу.т — вероятность достижения критической температуры деталями из неметаллических и изоляционных материалов, на внутренней проводке, частях испытательного стенда и на корпусе прибора в режиме ухудшенного теплоотвода;
Qiy.т = l — Qiy.т,
где Qiy.т — параметр, значение которого выбирают в зависимости от безразмерного параметра aiу.т (см. табл. приложения ).
,
где Тiср.у.т — средняя температура в режиме ухудшенного теплоотвода;
siу.т — среднее квадратическое отклонение в режиме ухудшенного теплоотвода.
Расчет этих величин проводят так же, как и в режиме перенапряжения.
Электроводонагреватель считается выдержавшим испытание, если Qп £ 10-6.
ПРИЛОЖЕНИЕ 4
Справочное
ЗНАЧЕНИЕ ВЕРОЯТНОСТИ ВОСПЛАМЕНЯЮЩЕГО ИМПУЛЬСА В ШНУРЕ Qш´10-6
Таблица 4
|
Длина шнура, м |
Температура, °С |
||||||
|
40 |
50 |
60 |
70 |
80 |
90 |
||
|
Вероятность воспламеняющего импульса |
|||||||
|
0,5 — 1,0 |
0,5 |
0,018 |
0,037 |
0,074 |
0,141 |
0,295 |
1,1777 |
|
1 |
0,037 |
0,074 |
0,148 |
0,282 |
0,59 |
2,355 |
|
|
1,5 |
0,055 |
0,111 |
0,222 |
0,423 |
0,885 |
3,532 |
|
|
2 |
0,074 |
0,148 |
0,296 |
0,564 |
1,18 |
4,71 |
|
|
2,5 |
0,092 |
0,185 |
0,37 |
0,705 |
1,475 |
5,887 |
|
|
3 |
0,111 |
0,222 |
0,444 |
0,846 |
1,77 |
7,065 |
|
|
3,5 |
0,129 |
0,259 |
0,518 |
0,987 |
2,065 |
8,242 |
|
|
4 |
0,15 |
0,296 |
0,593 |
1,13 |
2,36 |
9,42 |
|
|
1,5 — 2,5 |
0,5 |
0,062 |
0,102 |
0,204 |
0,409 |
0,821 |
3,362 |
|
1,1 |
0,112 |
0,205 |
0,409 |
0,818 |
1,643 |
6,725 |
|
|
1,5 |
0,168 |
0,307 |
0,613 |
1,227 |
2,464 |
10,08 |
|
|
2 |
0,224 |
0,410 |
0,818 |
1,636 |
3,286 |
13,45 |
|
|
2,5 |
0,280 |
0,512 |
1,022 |
2,045 |
4,107 |
16,81 |
|
|
3 |
0,336 |
0,615 |
1,227 |
2,454 |
4,929 |
20,17 |
|
|
3,5 |
0,392 |
0,717 |
1,431 |
2,863 |
5,750 |
23,53 |
|
|
4 |
0,450 |
0,819 |
1,638 |
3,274 |
6,547 |
26,19 |
|
ПРИЛОЖЕНИЕ 5
Справочное
ЗНАЧЕНИЯ ФУНКЦИИ Qi = f(ai)
Таблица 5
|
ai |
Qi |
ai |
Qi |
ai |
Qi |
|
0,0 |
0,000 |
1,2 |
0,736 |
2,8 |
0,975 |
|
0,1 |
0,078 |
1,3 |
0,770 |
3,0 |
0,984 |
|
0,2 |
0,154 |
1,4 |
0,800 |
3,2 |
0,983 |
|
0,3 |
0,228 |
1,5 |
0,826 |
3,4 |
0,990 |
|
0,4 |
0,300 |
1,6 |
0,852 |
3,6 |
0,992 |
|
0,5 |
0,370 |
1,7 |
0,872 |
3,8 |
0,994 |
|
0,6 |
0,434 |
1,8 |
0,890 |
4,0 |
0,996 |
|
0,7 |
0,496 |
1,9 |
0,906 |
4,2 |
0,996 |
|
0,8 |
0,554 |
2,0 |
0,920 |
4,4 |
0,998 |
|
0,9 |
0,606 |
2,2 |
0,940 |
4,6 |
0,998 |
|
1,0 |
0,654 |
2,4 |
0,956 |
4,8 |
0,998 |
|
1,1 |
0,696 |
2,6 |
0,968 |
5,0 |
1,00 |
Приложения 3 — 5. (Введены дополнительно, Изм. № 2).
ИНФОРМАЦИОННЫЕ ДАННЫЕ
1. РАЗРАБОТАН И ВНЕСЕН Министерством электротехнической промышленности СССР
РАЗРАБОТЧИКИ
А.Н. Попов, В.А. Костылев, И.Ю. Долгов (руководитель темы), Л.И. Титова, В.М. Абакумов
2. УТВЕРЖДЕН И ВВЕДЕН В ДЕЙСТВИЕ Постановлением Государственного комитета СССР по стандартам от 26.07.84 № 2646
3. Срок первой проверки — 1989 г.
Периодичность проверки — 5 лет
4. ВЗАМЕН ГОСТ 23110-78
5. Стандарт полностью соответствует СТ СЭВ 3692-82.
6. ССЫЛОЧНЫЕ НОРМАТИВНО-ТЕХНИЧЕСКИЕ ДОКУМЕНТЫ
|
Обозначение НТД, на который дана ссылка |
Номер раздела, пункта, приложения |
|
ГОСТ 9.014-78 |
|
|
ГОСТ 12.1.044-84 |
|
|
ГОСТ 15.009-89 |
|
|
ГОСТ 2874-72 |
; |
|
ГОСТ 7933-75 |
|
|
ГОСТ 7376-84 |
|
|
ГОСТ 7399-88 |
|
|
ГОСТ 12082-82 |
|
|
ГОСТ 14087-88 |
; ; |
|
ГОСТ 14192-77 |
; |
|
ГОСТ 15150-69 |
; ; |
|
ГОСТ 15543-70 |
|
|
ГОСТ 16504-81 |
|
|
ГОСТ 17516-72 |
; |
|
ГОСТ 17446-86 |
|
|
ГОСТ 18321-73 |
|
|
ГОСТ 23216-78 |
; ; |
|
ГОСТ 26119-84 |
|
|
ГОСТ 27570.0-87 |
; ; |
|
ГОСТ 27570.18-89 |
; разд. ; ; ; ; ; ; приложение |
7. Срок действия продлен до 01.01.94 Постановлением Госстандарта СССР от 28.08.89 № 2651.
8. ПЕРЕИЗДАНИЕ (июль 1989 г.) с Изменениями № 1, 2, утвержденными в июне 1986 г. и августе 1989 г. (ИУС 9-86; 12-89).
СОДЕРЖАНИЕ
|
|

