
ГОСУДАРСТВЕННЫЙ СТАНДАРТ СОЮЗА ССР
ЭСТАКАДЫ ОДНОЯРУСНЫЕ
ПОД ТЕХНОЛОГИЧЕСКИЕ ТРУБОПРОВОДЫ
ТИПЫ И ОСНОВНЫЕ ПАРАМЕТРЫ
ГОСТ 23235-78
ГОСУДАРСТВЕННЫЙ КОМИТЕТ СССР
ПО ДЕЛАМ СТРОИТЕЛЬСТВА
Москва
РАЗРАБОТАН Государственным комитетом СССР по делам строительства
ИСПОЛНИТЕЛИ
А.М. Монин; Н.А. Ушаков, канд. техн. наук; Г.И. Бердичевский, д-р техн. наук (руководители темы); Л. В. Яковлев; Л.Д. Фомиль; М.Ю. Астряб, канд. техн. наук; М.М. Амочкина; В.А. Якушин, канд. техн. наук; Л.Н. Зикеев, канд. техн. наук
ВНЕСЕН Государственным комитетом СССР по делам строительства
Начальник отдела В.А. Алексеев
УТВЕРЖДЕН И ВВЕДЕН В ДЕЙСТВИЕ Постановлением Государственного комитета СССР по делам строительства от 28 июля 1978 г. № 148
ГОСУДАРСТВЕННЫЙ СТАНДАРТ СОЮЗА ССР
|
ЭСТАКАДЫ ОДНОЯРУСНЫЕ ПОД ТЕХНОЛОГИЧЕСКИЕ ТРУБОПРОВОДЫ Типы и основные параметры Single-stage trestle-work for technological pipelines. |
ГОСТ |
Постановлением Государственного комитета СССР по делам строительства от 28 июля 1978 г. № 148 срок введения установлен
с 01.07.1979 г.
Настоящий стандарт распространяется на железобетонные и стальные конструкции одноярусных эстакад под технологические трубопроводы, применяемые в районах с расчетной температурой воздуха до минус 40°С, нормативным скоростным напором ветра до 55 кгс/м2 и сейсмичностью до 8 баллов включительно.
Стандарт устанавливает типы одноярусных эстакад, их основные параметры и габаритные схемы.
Стандарт обязателен при разработке проектов технологических трубопроводов и стандартов на конструкции эстакад.
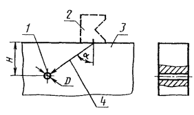
1. ПАРАМЕТРЫ
1.1. Вертикальные нагрузки на погонный метр эстакады приняты: 0,25; 0,5; 1,0; 1,5; 2,0; 3,0; 4,0 тс/м.
1.2. Длина траверс в эстакадах должна приниматься равной: 1,2; 1,8; 2,4; 3,0; 3,6; 4,2; 4,8; 6,0; 7,2; 7,8 м.
1.3. Высота эстакады принимается от планировочной отметки земли до верха траверсы и равна: 6,0; 6,6; 7,2; 8,4 м.
1.4. Шаг опор одноярусных эстакад должен приниматься равным 12 и 18 м. При проектировании эстакад под технологические трубопроводы допускается отступление от этих размеров в местах подходов опор к зданиям и сооружениям, а также в местах пересечения с автомобильными, железными дорогами и другими коммуникациями.
1.5. Шаг траверс должен приниматься 3,0; 4,0 или 6,0 м.
2. КОНСТРУКТИВНЫЕ ТРЕБОВАНИЯ
2.1. Типы, габаритные схемы и основные размеры конструкций, вертикальные нагрузки на погонный метр эстакад должны соответствовать указанным в и .
В приведены габаритные схемы стальных одноярусных эстакад, которые следует применять в строгом соответствии с требованиями технических правил по экономному расходованию основных строительных материалов, утвержденными Госстроем СССР.
2.2. Эстакада должна состоять из температурных блоков. Длина температурного блока определяется расчетом.
2.3. Для эстакад, выполняемых полностью из стальных конструкций, температурный блок должен компоноваться из промежуточных, концевых и одной анкерной опоры (промежуточной или концевой), на которую передаются все горизонтальные нагрузки, действующие вдоль оси трассы.
2.4. Для эстакад, выполняемых полностью из железобетонных конструкций или комбинированных конструкций (железобетонных опор и стальных пролетных строений), температурный блок должен компоноваться, как правило, из промежуточных и концевых опор. Горизонтальные нагрузки, действующие вдоль оси трассы, в этом случае воспринимаются всеми опорами температурного блока.
2.5. Ответвления трубопроводов в эстакадах следует располагать только в местах опор.
В эстакадах типов Iк, IIк, Iм, IIм ответвления трубопроводов допускается также располагать в местах узлов ферм пролетного строения.
2.6. В местах ответвлений трубопроводов конструкции эстакад должны быть дополнительно рассчитаны на горизонтальную сосредоточенную поперечную нагрузку от ответвлений трубопроводов.
2.7. Расположение промежуточных, концевых и анкерных опор ни трассе трубопроводов приведено в справочном приложении.
Таблица 1
|
Габаритная схема |
Нормативная вертикальная нагрузка на погонный метр эстакады, тс/м |
Основные размеры эстакады, м |
Примечания |
|||
|
длина траверсы b |
расстояние между стойками опоры с |
высота h |
||||
|
Iк |
|
0,25 |
1,2 |
— |
6,0 |
Конструкции стоек железобетонные, конструкции пролетного строения стальные при шаге опор 12 м и более |
|
6,6 |
||||||
|
1,8 |
7,2 |
|||||
|
8,4 |
||||||
|
IIк |
|
0,5 |
1,9 |
— |
6,0 |
Конструкции стоек железобетонные, конструкции пролетного строения стальные при шаге опор 12 м и более |
|
1,8 |
6,6 |
|||||
|
7,2 |
||||||
|
2,4 |
8,4 |
|||||
|
IIIж |
|
1,0 |
3,0 |
— |
6,0 |
Конструкции эстакады железобетонные |
|
6,6 |
||||||
|
7,2 |
||||||
|
8,4 |
||||||
|
|
1,0 |
3,0 |
— |
6,0 |
Конструкции эстакады железобетонные с применением центрифугированных стоек |
|
|
6,6 |
||||||
|
7,2 |
||||||
|
8,4 |
||||||
|
IIIк |
|
1,0 |
3,0 |
— |
6,0 |
Конструкции стоек железобетонные центрифугированные, конструкции пролетного строения стальные при шаге опор 18 мм и более |
|
6,6 |
||||||
|
7,2 |
||||||
|
8,4 |
||||||
|
|
1,0 |
3,0 |
— |
6,0 |
Конструкции стоек железобетонные, конструкции пролетного строения стальные при шаге опор 18 м и более |
|
|
6,6 |
||||||
|
7,2 |
||||||
|
8,4 |
||||||
|
IVж |
|
1,5 |
3,6 |
— |
6,0 |
Конструкции эстакады железобетонные с применением центрифугированных стоек |
|
6,6 |
||||||
|
4,2 |
7,2 |
|||||
|
8,4 |
||||||
|
|
1,5 |
3,6 |
— |
6,0 |
Конструкции эстакады железобетонные |
|
|
6,6 |
||||||
|
4,2 |
7,2 |
|||||
|
8,4 |
||||||
|
IV к |
|
1,5 |
3,6 |
— |
6,0 |
Конструкции стоек железобетонные, конструкции пролетного строения стальные при шаге опор 18 м и более |
|
6,6 |
||||||
|
4,2 |
7,2 |
|||||
|
8,4 |
||||||
|
|
1,5 |
3,6 |
— |
6,0 |
Конструкции стоек железобетонные центрифугированные. Конструкции пролетного строения стальные при шаге опор 18 м и более |
|
|
6,6 |
||||||
|
4,2 |
7,2 |
|||||
|
8,4 |
||||||
|
Vж |
|
2,0 |
4,8 |
— |
6,0 |
Конструкции эстакад железобетонные |
|
6,6 |
||||||
|
7,2 |
||||||
|
8,4 |
||||||
|
|
2,0 |
4,8 |
— |
6,0 |
Конструкции эстакад железобетонные применением центрифугированных стоек |
|
|
6,6 |
||||||
|
7,2 |
||||||
|
8,4 |
||||||
|
Vк |
|
2,0 |
4,8 |
— |
6,0 |
Конструкции стоек железобетонные центрифугированные. Конструкции пролетного строения стальные при шаге опор 18 м и более |
|
6,6 |
||||||
|
7,2 |
||||||
|
8,4 |
||||||
|
|
2,0 |
4,8 |
— |
6,0 |
Конструкции стоек железобетонные, конструкции пролетного строения стальные при шаге опор 18 мм более |
|
|
6,6 |
||||||
|
7,2 |
||||||
|
8,4 |
||||||
|
VIж |
|
2,0 |
6,0 |
3,6 |
6,0 |
Конструкции эстакад железобетонные |
|
6,6 |
||||||
|
7,8 |
4,8 |
7,2 |
||||
|
8,4 |
||||||
|
VII ж |
|
3,0 (в том числе на пролетное строение 2,0) |
4,8 |
3,6 |
6,0 |
Конструкции эстакад железобетонные |
|
6,6 |
||||||
|
6,0 |
4,8 |
7,2 |
||||
|
7,8 |
8,4 |
|||||
|
VIIIж |
|
4,0 (в том числе, на пролетное строение 2,0) |
7,8 |
4,8 |
6,0 |
Конструкции эстакад железобетонные |
|
6,6 |
||||||
|
7,2 |
||||||
|
8,4 |
||||||
Таблица 2
|
Габаритная схема |
Нормативная вертикальная нагрузка на погонный метр эстакады, тс/м |
Основные размеры эстакады, м |
Примечания |
||||
|
длина траверсы b |
расстояние между стойками опоры с |
высота h |
|||||
|
Iм |
|
0,25 |
1,2 |
1,2 |
6,0 |
Конструкции эстакад стальные |
|
|
6,6 |
|||||||
|
1,8 |
7,2 |
||||||
|
8,4 |
|||||||
|
IIм |
|
0,5 |
1,2 |
1,2 |
6,0 |
Конструкции эстакад стальные |
|
|
1,8 |
6,6 |
||||||
|
7,2 |
|||||||
|
2,4 |
8,4 |
||||||
|
IIIм |
|
1,0 |
3,0 |
1,8 |
6,0 |
Конструкции эстакад стальные |
|
|
6,6 |
|||||||
|
7,2 |
|||||||
|
8,4 |
|||||||
|
IIIк |
|
1,0 |
3,0 |
— |
6,0 |
Конструкции стоек железобетонные, конструкции пролетного строения стальные при шаге опор 12 м и более |
|
|
6,6 |
|||||||
|
7,2 |
|||||||
|
8,4 |
|||||||
|
IIIк |
|
1,0 |
3,0 |
— |
6,0 |
Конструкции стоек железобетонные центрифугированные. Конструкции пролетного строения стальные при шаге опор 12 м и более |
|
|
6,6 |
|||||||
|
7,2 |
|||||||
|
8,4 |
|||||||
|
IVм |
|
1,5 |
3,6 |
2,4 |
6,0 |
Конструкции эстакад стальные |
|
|
6,6 |
|||||||
|
4,2 |
7,2 |
||||||
|
8,4 |
|||||||
|
IVк |
|
1,5 |
3,6 |
— |
6,0 |
Конструкции стоек железобетонные, конструкции пролетного строения стальные при шаге опор 12 м и более |
|
|
6,6 |
|||||||
|
4,2 |
7,2 |
||||||
|
8,4 |
|||||||
|
|
1,5 |
3,6 |
— |
6,0 |
Конструкции стоек железобетонные центрифугированные. Конструкции пролетного строения стальные при шаге опор 12 м и более |
||
|
6,6 |
|||||||
|
4,2 |
7,2 |
||||||
|
8,4 |
|||||||
|
Vм |
|
2,0 |
4,8 |
2,4 |
6,0 |
Конструкции эстакад стальные |
|
|
6,6 |
|||||||
|
7,2 |
|||||||
|
8,4 |
|||||||
|
Vк |
|
2,0 |
4,8 |
— |
6,0 |
Конструкции стоек железобетонные центрифугированные пролетного строения стальные при шаге опор 12 м и более |
|
|
6,6 |
|||||||
|
7,2 |
|||||||
|
8,4 |
|||||||
|
|
2,0 |
4,8 |
— |
6,0 |
Конструкции стоек железобетонные, конструкции пролетного строения стальные при шаге опор 12 м и более |
||
|
6,6 |
|||||||
|
7,2 |
|||||||
|
8,4 |
|||||||
|
VIIм |
|
3,0 (в том числе на пролетные строения 2,0) |
4,8 |
3,6 |
6,0 |
Конструкции эстакад стальные |
|
|
6,6 |
|||||||
|
6,0 |
7,2 |
||||||
|
8,4 |
|||||||
|
VIIIм |
|
4,0 (в том числе на пролетные строения 2,0) |
7,2 |
3,6 |
6,0 |
Конструкции эстакад стальные |
|
|
6,6 |
|||||||
|
7,2 |
|||||||
|
8,4 |
|||||||
Примечание. В условном обозначении типа эстакады буквы означают: ж — железобетонные конструкции; к — комбинированные конструкции; м — стальные конструкции.
ПРИЛОЖЕНИЕ
Справочное
ПРИМЕР КОМПОНОВКИ ТЕМПЕРАТУРНОГО БЛОКА ОДНОЯРУСНЫХ ЭСТАКАД

1 — промежуточная опора; 2 — концевая опора эстакады; 3 — концевая опора температурного блока; 4 — балка пролетного строения; 5 — рядовые траверсы в пролете; 6 — рядовые траверсы на опоре; 7 — усиленные траверсы; 8 — стальное ограждение ходового мостика; 9 — стальной ходовой мостик.

1 — промежуточная опора; 2 — концевая опора эстакады; 3 — концевая опора температурного блока; 4 — анкерная опора; 5 — ферма пролетного строения; 6 — траверса.
СОДЕРЖАНИЕ





























