ГОСТ 23734-98
МЕЖГОСУДАРСТВЕННЫЙ СТАНДАРТ
ТРАКТОРЫ ПРОМЫШЛЕННЫЕ
Методы испытаний
МЕЖГОСУДАРСТВЕННЫЙ СОВЕТ
ПО СТАНДАРТИЗАЦИИ, МЕТРОЛОГИИ И СЕРТИФИКАЦИИ
Минск
Предисловие
1 РАЗРАБОТАН Межгосударственным техническим комитетом по стандартизации МТК 275 «Тракторы»
ВНЕСЕН Техническим секретариатом Межгосударственного Совета по стандартизации, метрологии и сертификации
2 ПРИНЯТ Межгосударственным Советом по стандартизации, метрологии и сертификации (протокол № 14-98 от 12 ноября 1998 г.)
За принятие проголосовали:
|
Наименование государства |
Наименование национального органа по стандартизации |
|
Азербайджанская Республика |
Азгосстандарт |
|
Республика Беларусь |
Госстандарт Беларуси |
|
Республика Казахстан |
Госстандарт Республики Казахстан |
|
Киргизская Республика |
Киргизстандарт |
|
Республика Молдова |
Молдовастандарт |
|
Российская Федерация |
Госстандарт России |
|
Республика Таджикистан |
Таджикгосстандарт |
|
Туркменистан |
Главная государственная инспекция Туркменистана |
|
Республика Узбекистан |
Узгосстандарт |
|
Украина |
Госстандарт Украины |
3 Постановлением Государственного комитета Российской Федерации по стандартизации и метрологии от 19 мая 1999 г. № 167 межгосударственный стандарт ГОСТ 23734-98 введен в действие непосредственно в качестве государственного стандарта Российской Федерации с 1 июля 2000 г.
4 ВЗАМЕН ГОСТ 23734-79
СОДЕРЖАНИЕ
|
|
ГОСТ 23734-98
МЕЖГОСУДАРСТВЕННЫЙ СТАНДАРТ
ТРАКТОРЫ ПРОМЫШЛЕННЫЕ
Методы испытаний
Industrial tractors and bulldozers.
Test methods
Дата введения 2000-07-01
1 Область применения
Настоящий стандарт распространяется на промышленные тракторы и промышленные модификации сельскохозяйственных тракторов, предназначенных для агрегатирования технологическим оборудованием (далее — тракторы), а также на тракторы, агрегатированные оборудованием для землеройных работ (бульдозеры; бульдозеры-рыхлители) (далее — бульдозеры).
2 Нормативные ссылки
В настоящем стандарте использованы ссылки на следующие стандарты:
ГОСТ 8.513-84 Государственная система обеспечения единства измерений. Поверка средств измерений. Организация и порядок проведения
ГОСТ 12.2.122-88 Система стандартов безопасности труда. Тракторы промышленные. Методы контроля безопасности
ГОСТ 17.2.2.02-98 Охрана природы. Атмосфера. Нормы и методы определения дымности отработавших газов дизелей, тракторов и самоходных сельскохозяйственных машин
ГОСТ 17.2.2.05-97 Охрана природы. Атмосфера. Нормы и методы определения выбросов вредных веществ с отработавшими газами дизелей, тракторов и самоходных сельскохозяйственных машин
ГОСТ 27.410-87 Надежность в технике. Методы контроля показателей надежности и планы контрольных испытаний на надежность
ГОСТ 15150-69 Машины, приборы и другие технические изделия. Исполнения для различных климатических районов. Категории, условия эксплуатации, хранения и транспортирования в части воздействия климатических факторов внешней среды
ГОСТ 17108-86 Гидропривод объемный и смазочные системы. Методы измерения параметров
ГОСТ 18509-88 Дизели тракторные и комбайновые. Методы стендовых испытаний
ГОСТ 20000-88 Дизели тракторные и комбайновые. Общие технические условия
ГОСТ 20915-75 Сельскохозяйственная техника. Методы определения условий испытаний
ГОСТ 25836-83 Тракторы. Виды и программы испытаний
ГОСТ 27247-87 Машины землеройные. Метод определения тяговой характеристики
ГОСТ 27248-87 Машины землеройные. Метод определения положения центра тяжести
ГОСТ 27251-87 Машины землеройные. Метод испытаний по определению времени перемещения рабочих органов
ГОСТ 27254-87 Машины землеройные. Система рулевого управления колесных машин
ГОСТ 27256-87 Машины землеройные. Методы определения размеров машин с рабочим оборудованием
ГОСТ 27257-87 Машины землеройные. Методы определения параметров поворота колесных машин
ГОСТ 27434-87 Тракторы промышленные. Общие технические условия
ГОСТ 27534-87 Акустика. Измерение воздушного шума, создаваемого землеройными машинами на рабочем месте оператора. Испытания в стационарном режиме
ГОСТ 27922-88 Машины землеройные. Методы измерения масс машин в целом, рабочего оборудования и составных частей
ГОСТ 27927-88 Машины землеройные. Определение скорости движения
ГОСТ 28632-90 Машины землеройные. Определения и условные обозначения размерных характеристик. Часть 2. Рабочее оборудование
ГОСТ 28633-90 Машины землеройные. Определения и условные обозначения размерных характеристик. Часть 1. Базовая машина
ГОСТ 28769-90 Машины землеройные. Требования к эффективности и методы испытаний тормозных систем колесных машин
ГОСТ 29292-92 Машины землеройные. Бортовые звуковые сигнализаторы переднего и заднего хода. Методы акустических испытаний
3 Общие требования
3.1 Эксплуатацию тракторов и бульдозеров при испытаниях, их обкатку, в том числе дизеля, следует проводить в соответствии с требованиями эксплуатационной документации на тракторы и машины конкретных моделей.
3.2 Топливо, смазочные масла и рабочие специальные жидкости, используемые при испытаниях, должны иметь паспорта, сертификаты или результаты химического анализа.
3.3 Испытания, за исключением случаев, особо указанных в настоящем стандарте, следует проводить при нормальных значениях климатических факторов внешней среды по ГОСТ 15150.
3.4 Методы определения условий испытаний — по ГОСТ 20915.
3.5 Применяемые средства измерения должны быть поверены в соответствии с ГОСТ 8.513, а испытательное оборудование и полигоны должны быть аттестованы в установленном порядке.
3.6 Погрешности средств измерения не должны превышать значений, приведенных в приложении .
3.7 Виды и программы испытаний — по ГОСТ 25836.
4 Определение размерных характеристик и вместимостей
4.1 Размерные характеристики и вместимости следует определять непосредственным измерением или расчетом на основании измерений.
4.2 Определение установленных ГОСТ 28632 и ГОСТ 28633 размерных характеристик трактора и бульдозера следует проводить в соответствии с ГОСТ 27256, при этом масса груза на сиденье должна быть равна (75±3) кг.
4.3 Методы определения параметров поворота колесного трактора — по ГОСТ 27257.
4.4 Радиус поворота гусеничного трактора и бульдозера следует определять на глинистой укатанной горизонтальной площадке с плотностью, соответствующей 5-12 ударам плотномера ДорНИИ. При этом высота неровностей в пределах габаритов трактора и машины не должна быть более 20 мм, а угол уклона площадки не должен быть более 2°. Наименьший радиус поворота гусеничного трактора и бульдозера, расстояние от центра поворота до осевой линии забегающей гусеницы следует определять по следу забегающей гусеницы в соответствии с приложением при движении на минимальной скорости и при положении органов управления, обеспечивающих наиболее крутой поворот.
5 Определение масс, координат центра масс и давления на грунт
5.1 Методы измерения масс тракторов и землеройных машин — по ГОСТ 27922.
Массу бульдозера допускается определять сложением масс трактора, навесного оборудования и составных частей.
5.2 Метод определения положения центра масс тракторов и бульдозера — по ГОСТ 27248. При этом линию контакта с опорной поверхностью для бульдозера определяют по опорным точкам рабочего оборудования. В случае невозможности определения линии контакта, например для однозубого рыхлителя, допускается применять расчетный метод. Допускается использование специального стенда.
Топливный бак трактора и бульдозера при испытаниях должен быть заправлен полностью.
5.3 Давление движителей на грунт следует определять по приложению .
6 Определение показателей работы двигателя при его торможении через вал отбора мощности
6.1 Показатели работы установленного на тракторе или бульдозере двигателя при определении максимальной мощности на валу отбора мощности (ВОМ) (в зависимости от частоты вращения, при частичных нагрузках, при частоте вращения хвостовика ВОМ, регламентируемой для работы с агрегатируемыми машинами и орудиями) следует определять методом торможения хвостовика ВОМ на неподвижном тракторе.
6.2 Температуру топлива следует измерять на входе в фильтр грубой очистки на дизеле, при отсутствии фильтра грубой очистки топлива — на входе в топливоподкачивающий насос.
Атмосферное давление, температуру и влажность окружающей среды следует измерять впереди на расстоянии 2,0-2,5 м от трактора и на высоте 1,5-2,0 м — от поверхности площадки.
Допускается определять показатели окружающей среды на отдельно стоящей метеоплощадке, если высота ее над уровнем моря не отличается от положения испытываемого трактора более чем на 2 м.
6.3 Механизмы и оборудование, не передающие мощность нагружающему устройству, и оборудование, не предназначенное для обеспечения работы дизеля (насосы гидросистем, генераторы, компрессор тормозной системы, вентиляторы охлаждения масла, гидротрансмиссии и др.), должны быть отключены или работать в режиме холостого хода, если их отключение не предусмотрено конструкцией.
6.4 Температура охлаждающей жидкости и масла во время испытаний должна соответствовать указанной в инструкции по эксплуатации трактора.
6.5 Измерения следует проводить при установившемся режиме работы. При этом крутящий момент и частота вращения двигателя должны быть постоянными в течение 1 мин, а температура охлаждающей жидкости (для дизеля с воздушным охлаждением — температура в контрольной точке, указанной изготовителем) не должна колебаться более чем на 3 °С.
6.6 Испытания по определению максимальной мощности на ВОМ при частоте вращения, регламентированной предприятием — изготовителем трактора, проводят в течение не менее 0,5 ч при положении регулятора частоты вращения, соответствующем полной подаче топлива. Измерения следует проводить не менее пяти раз через равные промежутки времени. Испытания следует повторить, если мощность, полученная хотя бы при одном измерении, отличается от ее среднего арифметического значения более чем на 2 %.
6.7 Испытания по определению показателей на ВОМ в зависимости от частоты вращения следует проводить не менее чем на пяти режимах при положении регулятора частоты вращения, соответствующем полной подаче топлива. Частота вращения последовательно уменьшается от n³1,05nн.э до n£0,85nн (nн.э — номинальная частота вращения, nн — частота вращения при максимальном крутящем моменте).
6.8 Испытания по определению показателей на ВОМ при нижеперечисленных нагрузках проводят при работе дизеля в диапазоне изменения частоты вращения под воздействием регулятора, при положении органов управления, соответствующем полной подаче топлива, в следующей последовательности значений моментов на хвостовике ВОМ:
а) по технической документации предприятия-изготовителя, а при отсутствии ее — 85 % крутящего момента при максимальной мощности;
б) без нагрузки допускается не отсоединять нагружающие устройства, если момент сопротивления его при выключенной нагрузке не превышает 5 % по подпункту а;
в) 50 % значения, указанного в подпункте а;
г) при максимальной мощности;
д) 25 % значения, указанного в подпункте а;
е) 75 % значения, указанного в подпункте а.
Продолжительность работы дизеля на каждом режиме — 20 мин. Допускается в случаях, предусмотренных программой испытаний, изменять порядок нагружения, начиная от режима холостого хода до частоты вращения, соответствующей полной подаче топлива.
6.9 Испытания по определению показателей работы при частоте вращения хвостовика ВОМ, регламентированной для работы с агрегатируемыми машинами и орудиями, проводят в течение не менее 0,5 ч при положении регулятора частоты вращения, соответствующем полной подаче топлива. Измерения следует проводить через равные промежутки времени. При этом интервалы измерения должны быть не менее 5 мин.
Испытания следует повторить, если мощность, полученная хотя бы при одном измерении, отличается от ее среднего арифметического значения более чем на 2 %.
6.10 Показатели испытаний двигателя через ВОМ следует определять в соответствии с приложением . Оформление результатов испытаний — по приложению .
6.11 Если ВОМ не предназначен для передачи максимальной мощности двигателя, то испытания по 4.6-4.10 следует заменить испытаниями при значениях мощности на ВОМ и частоты вращения, установленных эксплуатационной документацией предприятия-изготовителя на трактор.
6.12 В случае, если составные части трансмиссии и оборудование, кроме установленного непосредственно на двигателе, не отключаются и работают в режиме холостого хода, то в результаты испытаний при определении показателей двигателя следует вносить поправки на потребляемую мощность. Значение поправок — по техническим условиям на конкретную модель трактора.
6.13 Определение показателей и характеристик двигателя, обработка результатов испытаний, приведение их к стандартным условиям — по ГОСТ 18509.
При температуре окружающего воздуха ниже 0 °С, парциальное давление насыщенного водяного пара следует принимать равным нулю.
7 Определение показателей системы «двигатель — гидротрансформатор»
7.1 Показатели внешней характеристики системы «двигатель — гидротрансформатор» следует определять методом торможения выходного вала гидротрансформатора на неподвижном тракторе посредством тормоза, оснащенного динамометрическим и (или) весовым устройством.
7.2 Условия проведения испытаний и подсоединения к тормозу должны соответствовать приведенным в разд. .
7.3 Испытания необходимо проводить при последовательном снижении частоты вращения выходного вала гидротрансформатора (iгтр) в интервале от частоты вращения холостого хода до частоты вращения, определяемой кинематическим передаточным отношением iгтр£0,4.
При испытаниях следует измерять частоту вращения ведущего вала n1, ведомого вала п2, нагрузочный момент М2, давление рабочей жидкости на входе и выходе Р1 и Р2 и ее температуру t2 на выходе гидротрансформатора.
7.4 На основании измерений следует построить кривую зависимости выходной мощности Nгтр, нагрузочного момента М2 и частоты вращения ведущего вала n1 от частоты вращения ведомого вала п2. Показатели, не вошедшие в графическое изображение, следует дать в виде таблицы или вывода.
8 Определение пусковых качеств двигателя
8.1 Определение пусковых качеств двигателя, установленного на тракторе или бульдозере, проводят при температурах и в условиях, установленных ГОСТ 20000, ГОСТ 27434 и (или) нормативно-технической документацией на трактор, бульдозер и двигатель конкретной модели.
8.2 Перед началом определения пусковых качеств трактор и бульдозер должны быть выдержаны при заданной температуре окружающего воздуха не менее 18 ч.
8.3 Испытания следует проводить методом прокручивания коленчатого вала двигателя. Пуск считается произведенным, если после отключения устройства двигатель самостоятельно работает не менее 0,5 ч.
8.4 Предпусковой разогрев двигателя осуществляется устройствами, предусмотренными эксплуатационной документацией на трактор или бульдозер.
8.5 Оценка пусковых характеристик дизеля — по ГОСТ 18509.
9 Определение показателей работы гидропривода навесных орудий
9.1 Показатели работы гидравлического привода следует определять методами, установленными ГОСТ 17108, ГОСТ 27251 и настоящим стандартом.
9.2 Температура рабочей жидкости на входе в отводящую гидролинию должна быть 50-85°С.
9.3 Испытания гидропривода следует проводить при постепенном нагружении отвала бульдозера тарированными грузами. Подъем отвала осуществляют из положения, при котором режущая его кромка опирается на площадку, до максимальной высоты подъема.
При этом измеряют давление на выходе из насоса, максимальную высоту подъема режущей кромки отвала и время подъема отвала. Нагружение тарированными грузами проводят до срабатывания предохранительного клапана гидропривода или начала отрыва движителей трактора от опорной поверхности площадки. Определение времени опускания отвала следует проводить в ненагруженном состоянии.
За время опускания принимают минимальное время, полученное для «плавающего» или «принудительного» режима опускания. Время подъема и опускания отвала определяют как среднее арифметическое трех измерений.
Для бульдозера, оборудованного системой автоматической стабилизации положения отвала, дополнительно должно быть измерено время установки отвала в положение, заданное на пульте управления.
Обработка результатов испытаний — по приложению .
10 Определение тяговых и скоростных показателей
10.1 Тяговые показатели трактора и бульдозера определяют при комплектностях, соответствующих массе по приложению .
В случае, если масса трактора и бульдозера отличаются от эксплуатационной массы, максимальные тяговые усилия определяют методом пересчета по приложению .
Перед испытаниями трактор и бульдозер должны пройти обкатку в течение не менее 200 ч.
10.2 Испытательная площадка, подготовка к испытаниям, проведение испытаний и оформление протокола испытаний — по ГОСТ 27247.
10.3 Тракторы и бульдозеры, имеющие трансмиссии с блокируемым гидротрансформатором, испытывают как с блокированным, так и с работающим гидротрансформатором.
10.4 Испытания по определению тяговых показателей на каждой передаче следует проводить при положении регулятора частоты вращения, соответствующем полной подаче топлива.
Нагрузку следует изменять от минимального до максимального значения, пока частота вращения коленчатого вала двигателя не достигнет значения, соответствующего максимальному крутящему моменту, либо до буксования движителей, которое следует брать равным 15 % для колесных, 20 % — для гусеничных тракторов и 7 % — для бульдозеров.
Допускается проведение испытаний бесступенчатым нагружением трактора с определением тягового усилия по приложению .
10.5 Определение скоростей движения трактора и бульдозера — по ГОСТ 27927.
Допускается определять скорости движения по передачам расчетными методами.
11 Определение показателей работы на транспортном режиме
11.1 Показатели определяют на тракторах и бульдозере при комплектациях по приложению .
Загрузка прицепа (при его наличии) и требования к испытательному участку должны быть приведены в программе-методике испытаний.
11.2 Испытания по определению максимальной скорости движения при транспортном режиме следует проводить по ГОСТ 27927 на наивысшей передаче и при положении органа управления регулятором частоты вращения, соответствующем полной подаче топлива. Комплектация трактора и землеройной машины — по приложению . Износ протектора шин или грунтозацепов гусениц — по ГОСТ 27247.
11.3 Испытания по определению минимального расхода топлива следует проводить на испытательном участке длиной не менее 1 км на каждой из транспортных передач в режиме наибольшей топливной экономичности по тяговой характеристике.
11.4 Запас хода, среднюю техническую скорость движения, расход топлива и масла следует определять на длине гона, при котором расходуется полный объем топливного бака.
12 Определение проходимости
12.1 Испытания на проходимость трактора и бульдозера проводят методом преодоления склона, брода, а также в условиях, соответствующих приложению , на низшей передаче с нагрузкой на крюке, установленной в технических условиях на конкретную модель трактора, и (или) без нее.
12.2 Испытания на склоне следует проводить при подъеме, спуске и движении с правым и левым креном. При этом трактор или бульдозер устанавливают на склоне с заданным углом с работающим двигателем и в течение 5 мин выдерживают на тормозах. Допускается определять работоспособность трактора и бульдозера на стенде с изменяющимся углом наклона.
12.3 При испытании трактора и бульдозера на проходимость при преодолении склона определяют их работоспособность. При этом трактор устанавливают на склоне с заданным углом с работающим двигателем и в течение 5 мин выдерживают на тормозах.
Допускается определять работоспособность трактора и бульдозера на стенде с изменяющимся углом наклона.
При проведении испытаний на работоспособность фиксируют показания приборов, регистрирующих давление и температуру масла в двигателе и температуру воды, а на машине проверяют работоспособность навесных орудий.
Трактор считается работоспособным при заданном угле склона, если показания приборов не ниже установленных эксплуатационной документацией, а бульдозер считается работоспособным, если у него сохраняется также работоспособность навесных орудий.
12.4 Трактор и бульдозер при преодолении брода должны двигаться на низшей передаче при положении регулятора частоты вращения двигателя, соответствующем полной подаче топлива.
Водоем, служащий для испытания по преодолению брода, должен иметь песчаное дно или дно, не уступающее по плотности песку, плавные входы и выходы, не превышающие угол наклона 15°. Длина водоема должна быть не менее двух длин трактора. Глубина погружения — по ГОСТ 27434. Оценка герметичности — по наличию воды в агрегатах и узлах.
13 Определение показателей надежности
13.1 Показатели надежности определяют по ГОСТ 27.410 и ГОСТ 27434.
14 Определение технической производительности
14.1 Под технической производительностью понимают объем разработанного бульдозером грунта за 1 ч чистого времени его работы без учета нетехнологических простоев. Техническую производительность П в метрах кубических в час рассчитывают по формуле
![]()
где Vгр — объем разработанного грунта, м3;
Т — время работы без нетехнологических простоев, с.
14.2 Техническую производительность следует определять на ровном горизонтальном участке с уклоном не более 2 %.
Комплектность бульдозера — по приложению .
14.3 Техническую производительность бульдозера определяют при разработке траншей или блоков и укладке грунта в кавальеры.
Размеры траншей, блоков и кавальеров должны быть установлены в программе-методике испытаний.
14.4 Техническую производительность бульдозера-рыхлителя в агрегате с трактором класса до 15 определяют при рыхлении немерзлых и разборных скальных грунтов категории 3, в агрегате с трактором класса 15 и выше — при рыхлении немерзлых грунтов и разборно-скальных грунтов категории 4 и мерзлых грунтов категорий 3М-4М.
14.5 Разрыхленный грунт следует убирать с площадки последующим бульдозированием с выкладкой породы в кавальер. Продолжительность работы при бульдозировании — до полной зачистки взрыхленного слоя.
15 Определение эксплуатационных показателей
15.1 Эксплуатационные показатели:
производительность за 1 ч эксплуатационного и сменного времени;
наработка по видам работ;
удельный расход топлива;
определение надежности трактора и бульдозерно-рыхлительного оборудования (по разделу ).
Эксплуатационные показатели определяют при проведении эксплуатационных испытаний.
15.2 Определение производительности за 1 ч эксплуатационного и сменного времени следует проводить по контрольным сменам на типовых работах в условиях, принятых у потребителей. При этом машина должна отработать две смены. При отклонении результатов более чем на 10 % агрегат должен отработать дополнительно третью контрольную смену.
В контрольные смены следует проводить хронометраж времени основной работы, транспортных переездов, времени на подготовку машины к работе, на ежесменное техническое обслуживание, времени на проведение периодического технического обслуживания, времени на устранение отказов.
15.3 Сменное время работы бульдозера должно включать время, затрачиваемое на основную работу, транспортные переезды, время на подготовку машины к работе, ежесменное техническое обслуживание и устранение отказов.
Производительность за 1 ч сменного времени Псм в метрах кубических в час рассчитывают по формуле
![]()
где Vгр — объем выполняемых работ, м3;
Тсм — сменная продолжительность работ, ч.
15.4 Эксплуатационное время работы бульдозера должно включать в себя сменное время работы плюс время на проведение периодического технического обслуживания и время на устранение отказов.
Производительность за 1 ч эксплуатационного времени Пэ в метрах кубических в час рассчитывают по формуле
![]()
где Тэ — эксплуатационное время работы, ч.
15.5 Часовой расход топлива Gт в килограммах в час в конкретную смену рассчитывают по формуле
![]()
где Go — общий расход топлива при разработке грунта, кг.
15.6 Удельный расход топлива на единицу разработанного грунта g в килограммах на метр кубический в конкретную смену рассчитывают по формуле
![]()
16 Методы контроля требований безопасности, эргономики и охраны окружающей среды
16.1 Методы контроля требований безопасности и эргономики — по ГОСТ 12.2.122.
16.2 Проверка эффективности тормозных систем колесных машин — по ГОСТ 28769.
16.3 Испытания рулевого управления колесных машин — по ГОСТ 27254.
16.4 Испытания по измерению шума на рабочем месте оператора в стационарном режиме — по ГОСТ 27534.
16.5 Метод акустических испытаний звуковых сигнализаторов — по ГОСТ 29292.
16.6 Метод измерения дымности отработавших газов двигателя — по ГОСТ 17.2.2.02.
16.7 Метод измерения выбросов вредных веществ с отработавшими газами двигателя — по ГОСТ 17.2.2.05.
ПРИЛОЖЕНИЕ А
(обязательное)
Погрешности средств измерений
Таблица А.1
|
Измеряемый параметр |
Обозначение |
Погрешность измерения параметра |
|
|
абсолютная |
относительная, % |
||
|
При определении массы, размеров, вместимостей |
|||
|
Линейный размер, мм |
— |
±2 |
±1,0 |
|
Определение вместимости емкостей |
— |
— |
±1,0 |
|
Угловые размеры |
a |
±1° |
— |
|
Масса трактора, кг |
тТ |
±20 |
±0,5 |
|
Масса до 1000 кг составных частей трактора, кг |
т |
— |
±2,0 |
|
При испытании двигателя через вал отбора мощности |
|||
|
Момент на хвостовике ВОМ, Н×м |
МВОМ |
— |
±0,5 |
|
Частота вращения хвостовика ВОМ, об/мин |
nВОМ |
— |
±0,5 |
|
Частота вращения коленчатого вала дизеля, об/мин |
nдв |
— |
±0,5 |
|
Расход топлива (часовой), кг×ч |
GT |
— |
±0,5 |
|
Барометрическое давление, кПа |
Pокр |
±0,2 |
— |
|
Температура окружающего воздуха по сухому и влажному термометрам |
— |
±1,0 |
— |
|
Давление масла в точке, указанной в технической документации предприятия — изготовителя дизеля, МПа |
Рм |
±0,02 |
— |
|
Температура топлива на входе в фильтр грубой очистки топлива, установленный на дизеле (при отсутствии фильтра грубой очистки топлива на дизеле — на входе в топливоподкачивающий насос), °С |
ТT |
±1 |
— |
|
Температура воздуха перед входом в воздухоочиститель на расстоянии не более 0,1 м от входа, °С |
tокр |
±1 |
— |
|
Температура охлаждающей жидкости на выходе из дизеля, °С |
tж |
±3 |
— |
|
Температура масла в поддоне или перед масляным радиатором, °С |
tм |
±3 |
— |
|
При определении показателей работы гидропривода |
|||
|
Давление у выходов гидролинии (подводящей и отводящей), Па |
Pп; Pо |
— |
±2 |
|
Частота вращения выходного вала двигателя, об/мин |
nдв |
— |
±0,5 |
|
Масса топлива, израсходованного на опыт, кг |
mт |
±0,02 |
— |
|
Температура охлаждающей жидкости в двигателе, °С |
tж |
±3 |
— |
|
Температура масла в двигателе, °С |
tм |
±3 |
— |
|
Температура топлива, °С |
tт |
±2 |
— |
|
Температура рабочей жидкости гидропривода, °С |
tр.ж |
±2 |
— |
|
Показания мокрого термометра, °С |
t |
±0,5 |
— |
|
Показания сухого термометра, °С |
tсух |
±0,5 |
— |
|
Атмосферное давление, кПа |
Pатм |
±0,2 |
— |
|
Продолжительность опыта, с |
t |
±0,2 |
— |
|
При определении тяговых и скоростных показателей |
|||
|
Тяговое усилие на крюке, Н |
Pкр |
— |
±1,0 |
|
Продолжительность опыта, с |
t |
±0,2 |
±2,0 |
|
Путь, пройденный трактором, м |
S |
±0,2 |
— |
|
Масса топлива, израсходованного за опыт, кг (объем, дм3) |
mт (Vт) |
— |
±2,0 |
|
Расход топлива, кг/ч (дм3/ч) Барометрическое давление, кПа |
Gт (Q) Pатм |
— ±0,2 |
±2,0 — |
|
Давление в шинах, кПа |
Pш |
— |
±3,0 |
|
Температура жидкостей, °С |
tж |
±2 |
— |
|
Температура по влажному и сухому термометрам, °С |
tмок; tсух |
±1,0 |
— |
|
Плотность грунта, удар |
r |
±1,0 |
— |
|
Масса сосуда с влажным сухим грунтом или без него, г |
— |
— |
±1,0 |
|
Высота грунтозацепов или глубина рисунка протектора, мм |
— |
±1,0 |
— |
|
Число оборотов двигателя (колеса, гусеницы) за опыт |
no |
±0,5 |
— |
|
Частота вращения коленчатого вала двигателя или выходного вала бесступенчато-регулируемой трансмиссии, об/с |
nдв; nв.в |
— |
±0,5 |
|
При испытаниях по определению производительности |
|||
|
Время работы общее, время остановок и движения по циклам, с |
tобщ; tост |
±0,2 |
— |
|
Длина рабочего и холостого ходов, м |
Sр.х; Sх.х |
±0,5 |
— |
|
Глубина траншеи (блока), высота кавальера, м |
hт; hк |
±0,05 |
— |
|
Линейные размеры траншеи (блока), отвала, размеры призмы, м |
Bтр; aтр и т.д. |
±0,05 |
— |
|
Масса топлива, кг |
т |
±0,02 |
— |
ПРИЛОЖЕНИЕ Б
(рекомендуемое)
Определение радиуса поворота гусеничного трактора и бульдозера

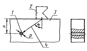
D — диаметр окружности поворота; а — половина ширины гусеницы;
— наименьший радиус поворота трактора
Рисунок Б.1 — Схема определения радиуса поворота
ПРИЛОЖЕНИЕ В
(обязательное)
Определение давления на грунт
Давление на грунт q в килопаскалях рассчитывают по формуле
![]()
где mдв — масса, создающая нагрузку движителя на грунт, кг;
F — для колесного трактора — площадь контура в квадратных метрах по отпечатку колеса на площадке; для гусеничного трактора — произведение
lус×bг,
где bг — наибольшая ширина трака гусеницы;
lус — условная длина опорной поверхности гусеницы, м, равная:
lус = l1 + l2 + l3,
где l1 — проекция на опорную площадку межцентрового расстояния между ведущим колесом (или задним направляющим колесом в зависимости от конструкции) и задним опорным катком (при наклоне ветви гусеницы между ними к опорной площадке более 2° l1 принимают равной нулю), м;
l2 — проекция на опорную площадку межцентрового расстояния между крайними опорными катками, м;
l3 — проекция на опорную площадку межцентрового расстояния между направляющим колесом и передним опорным катком (при наклоне ветви гусеницы между ними к опорной площадке более 5° l3 принимают равной нулю), м.
ПРИЛОЖЕНИЕ Г
(справочное)
Расчет показателей по результатам испытаний через ВОМ
Расчет проводят по формулам, приведенным ниже.
Мощность на BOM NВОМ в киловаттах рассчитывают по формуле
NВОМ = 1047×10-4×МВОМ×nВОМ,
где Мвом — крутящий момент, измеренный на хвостовике ВОМ, Н×м;
nВОМ — частота вращения хвостовика ВОМ, об/мин.
Расход топлива QT в килограммах в час рассчитывают по формуле
![]()
где тT — масса топлива, кг;
toп — продолжительность опыта, ч.
Удельный расход топлива gВОМ в граммах на киловатт-час рассчитывают по формуле
![]()
Частоту вращения вала двигателя п в оборотах в минуту рассчитывают по формуле
![]()
где i — передаточное число от вала двигателя к хвостовику ВОМ.
Крутящий момент на валу двигателя Мк в ньютонах на метр рассчитывают по формуле
![]()
где МBOM — крутящий момент на валу отбора мощности;
hBOM — КПД передачи от двигателя к хвостовику ВОМ с учетом потерь на работающие без нагрузки механизмы и оборудование, установленные на двигателе, и потерь при передаче мощности от двигателя к тормозному устройству.
Значение передаточного числа и КПД передачи — по нормативно-технической документации на конкретный трактор или по данным испытаний.
ПРИЛОЖЕНИЕ Д
(справочное)
Оформление результатов при испытаниях через ВОМ
Результаты испытаний представляют в виде таблицы, как указано ниже, и (или) в виде графиков. При этом масштабы графиков должны быть выбраны таким образом, чтобы погрешность отсчета по графикам не превышала половины допускаемых погрешностей средств измерений при определении соответствующих параметров.
Таблица Д.1
|
Частота вращения, об/мин |
Крутящий момент, Н×м |
Мощность двигателя, кВт |
Расход топлива |
Давление масла, кПа |
Примечание |
||
|
вала тормоза |
вала двигателя |
за 1 ч, кг/ч |
удельный, г/кВт |
||||
|
|
|
|
|
|
|
|
|
|
Дата и место испытаний ____________________________________________________ Тип тормозного устройства ___________________________________________________ Максимальная частота вращения холостого хода двигателя __________________об/мин Крутящий момент при максимальной мощности ______________________________Н×м Максимальный крутящий момент __________________________________________Н×м Атмосферные условия (средние за время испытаний): Температура окружающего воздуха __________________________________________°С Температура воздуха, поступающего в воздухоочиститель,_______________________°С Барометрическое давление _______________________________________________МПа Относительная влажность воздуха ___________________________________________% Температура топлива на входе в фильтр грубой очистки ________________________°С Температура топлива при температуре окружающего воздуха 20 °С _______________°С Максимальная температура охлаждающей жидкости (только для двигателя жидкостного охлаждения) _______________________________°С |
ПРИЛОЖЕНИЕ Ж
(рекомендуемое)
Обработка результатов испытаний по определению показателей гидропривода
Ж.1 Показатели гидропривода рассчитывают по формулам, приведенным ниже.
Скорость перемещения рабочего органа np.о в метрах в секунду и штоков гидроцилиндров (nшт.) в метрах в секунду рассчитывают по формулам:
![]()
где H, h — значения перемещения рабочего органа и штока соответственно, м;
t — время перемещения, с.
Мощность, затрачиваемую на подъем отвала с грузом, Nот в киловаттах, рассчитывают по формуле
Nот = mн×g×np.о,
где mн — масса груза, приведенная к кромке ножа отвала, кг;
g — ускорение свободного падения, м/ч2.
Мощность на выходе насоса (без учета механических потерь) Nн в киловаттах рассчитывают по формуле
Nот = 0,20×Рн×nшт×Fшт,
где Fшт — площадь штока, м2;
Рн — давление насоса, МПа.
Коэффициент полезного действия гидропривода (hгп) рассчитывают по формуле
![]()
Ж.2 По результатам измерений и расчетов строят зависимости показателей работы гидропривода от нагрузки, приложенной к отвалу бульдозера.
Ж.3 Протоколы испытаний по определению времени перемещения рабочих органов — по ГОСТ 27251.
ПРИЛОЖЕНИЕ И
(обязательное)
Определение тяговых усилий
И.1 Тяговое усилие максимальное
в ньютонах рассчитывают по формулам:
— при ограничении по сцеплению
![]()
— при ограничении по двигателю
![]()
где Pкр — тяговое усилие на крюке, Н;
т — масса трактора или землеройной машины при комплектации, представленной на испытания, кг;
тэ — эксплуатационная масса трактора или землеройной машины, кг;
g — ускорение свободного падения, м/ч2.
И.2 Эксплуатационная масса трактора:
— для тракторов класса до 15 включительно — сумма конструкционной массы, массы гидросистемы, массы полностью заправленных систем смазки, охлаждения и топливного бака, массы гидроцилиндров управления навесными орудиями, массы ЗИП и водителя;
— для тракторов класса 25 и выше — сумма конструкционной массы, массы гидросистемы, массы полностью заправленных систем смазки, охлаждения и топливного бака, массы ЗИП и водителя, а также массы устройства защиты оператора от падающих предметов и при опрокидывании трактора, дополнительного и вспомогательного оборудования.
Эксплуатационная масса бульдозера — сумма эксплуатационной массы трактора, массы дополнительного и вспомогательного оборудования и массы навесного (рабочего) оборудования.
И.3 Определение тяговых усилий при бесступенчатом нагружении (замедлении). Тяговое усилие на крюке (Ркр) в ньютонах рассчитывают по формуле
Ркр = Ркр.т — mпр×a,
где Ркр.т — тяговое усилие, измеренное на тензозвене при испытаниях, Н;
mпр — масса трактора или бульдозера, полученная приведением (расчетным или экспериментальным) всех движущихся масс к поступательно движущимся частям трактора или бульдозера, кг;
а — замедление, м/с.
ПРИЛОЖЕНИЕ К
(обязательное)
Условия испытаний на проходимость
Таблица К.1
|
Условия испытаний |
Характеристика фона, на котором проводят испытания |
||
|
ограниченной проходимости |
повышенной проходимости |
высокой проходимости |
|
|
Грунтовая дорога: глубина размокшего грунта, см |
До 5 |
10-15 |
20-25 |
|
Заболоченный луг: несущая способность, кг/см2 |
— |
0,9-1,1 |
0,5-0,7 |
|
Пашня боронованная: глубина вспашки, см |
15-20 |
20-25 |
25-30 |
|
влажность, % |
20-30 |
50-60 |
до 70 |
|
Снежная целина (плотность снега 0,2 — 0,4 г/см3): глубина снежного покрова, см |
20-25 |
30-40 |
50-60 |
|
Песок |
Сухой, уплотненный или влажный |
Сухой, разрыхленный на глубину: |
|
|
30-40 см |
40-50 см |
||
|
Лед гладкий: глубина, см, не менее |
5 |
||
|
Примечание — Проходимость определяют при длине гона, числе и времени остановок, соответствующих технической документации, утвержденной в установленном порядке. |
|||
Ключевые слова: трактор промышленный, бульдозер, методы испытаний, мощность, производительность, проходимость, надежность