МЕЖГОСУДАРСТВЕННЫЙ СТАНДАРТ
|
МАТЕРИАЛЫ КЕРАМИЧЕСКИЕ ЭЛЕКТРОТЕХНИЧЕСКИЕ Методы испытаний Ceramic electrotechnical materials. Methods of testing |
ГОСТ Взамен |
Постановлением Государственного комитета СССР по стандартам от 15 октября 1980 г. № 5071 дата введения установлена
01.01.82
Ограничение срока действия снято по протоколу № 4-93 Межгосударственного совета по стандартизации, метрологии и сертификации (ИУС 4-94)
Издание с Изменениями № 1, 2, 3, 4, утвержденными в апреле 1983 г., марте 1984 г., октябре 1986 г., июне 1989 г. (ИУС 8-83, 7-84, 1-87, 10-89).
Настоящий стандарт распространяется на керамические электротехнические материалы, предназначенные для изготовления изоляторов, работающих при постоянном и переменном напряжении частотой до 100 Гц, и устанавливает методы испытаний керамических электротехнических материалов.
Стандарт полностью соответствует СТ СЭВ 1129-78 , СТ СЭВ 1130-78 , СТ СЭВ 1648-79, СТ СЭВ 1649-79, СТ СЭВ 3568-82, СТ СЭВ 4106-83, СТ СЭВ 4107-83, СТ СЭВ 4110-83 — СТ СЭВ 4114-83, СТ СЭВ 5269-85.
Стандарт полностью соответствует международному стандарту МЭК 672.2-80.
(Измененная редакция, Изм. № 1 — 4).
1. МЕТОДЫ ОТБОРА ОБРАЗЦОВ
1.1. Определения характеристик керамических электротехнических материалов должны проводиться на образцах, изготовленных по одинаковой технологии в течение одного технологического цикла и имеющих идентичный химический состав. Форма, размеры и число образцов для каждого испытания должны соответствовать указанным в табл. 1.
Таблица 1
Размеры в миллиметрах
|
Форма и размер образца |
Испытание |
Число образцов, шт., не менее |
Пункт настоящего стандарта |
|
1. Куски керамического материала с неглазурованной поверхностью не менее 75 % от общей поверхности |
Испытание на отсутствие открытой пористости |
3 |
|
|
2. Куски керамического материала общей массой от 20 до 80 г, неглазурованные |
Определение кажущейся плотности, открытой (кажущейся) пористости |
|
|
|
3. Измельченный материал общей массой от 30 до 40 г |
Измерение плотности |
3 |
|
|
4.
Покрытие поверхности Г — глазурь |
Определение предела прочности при растяжении |
6 |
|
|
* Размер для справок. |
|
|
|
|
5. |
|
|
|
|
Вариант I
|
Определение прочности на изгиб |
10 |
|
|
Определение стойкости к термоударам |
5 |
|
|
|
Определение ударной прочности |
5 |
|
|
|
Вариант II
|
|
|
|
|
Определение модуля упругости статическим методом |
3 |
|
|
|
Вариант III и IV
|
|
|
|
|
6. |
|
|
|
|
Вариант I
|
Определение стойкости к термоударам |
5 |
|
|
Определение предела прочности при сжатии |
5 |
|
|
|
Определение предела прочности при сжатии |
5 |
|
|
|
7. |
|
|
|
|
Вариант I
|
Определение среднего коэффициента термического линейного расширения |
3 |
|
|
8. |
|
|
|
|
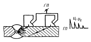
1 — электродные покрытия |
Определение электрической прочности |
5 |
|
|
9.
1 — измерительный электрод; 2 — охранный электрод; 3 — высоковольтный электрод |
Определение диэлектрической проницаемости и тангенса угла диэлектрических потерь |
3 |
|
|
Определение электрического сопротивления при постоянном напряжении |
3 |
|
|
|
10. |
|
|
|
|
|
Определение модуля упругости ультразвуковым методом |
3 |
|
|
11.
|
Определение средней удельной теплоемкости, теплопроводности, средней температуропроводности |
3 |
, ,
|
(Измененная редакция, Изм. № 2, 3).
1.2. Неуказанные в предельные отклонения номинальных размеров образцов, изготовленных методами пластической технологии, изостатическим прессованием, литьем, должны соответствовать I классу точности ГОСТ 13872-68, изготовленных методом прессования — II классу точности ГОСТ 13872-68.
1.4. Образцы не должны иметь видимых невооруженным глазом царапин, сколов, пузырей, выплавок, выгорок, короблений, инородных включений и других дефектов. Изогнутость образцов не должна превышать 1 % длины.
(Измененная редакция, Изм. № 1).
1.5. Испытания проводят при номинальных значениях факторов внешней среды по ГОСТ 15150-69 после того, как испытуемые образцы примут температуру помещения, в котором проводят испытания.
1.6. Для определения коэффициента термического линейного расширения керамических материалов с открытой пористостью образцы должны быть нормализованы при температуре (120 ± 5) °C в течение 2 ч, затем кондиционированы в эксикаторе с осушителем до температуры окружающей среды.
(Измененная редакция, Изм. № 2).
Нормализацию образцов следует проводить при температуре (120 ± 2) °C и относительной влажности не более 20 % в течение 2 ч с последующим кондиционированием в эксикаторе при температуре (25 ± 10) °C в течение не менее 6 ч.
1.8. Измерение геометрических размеров критических сечений образцов проводят до испытания.
Для механических испытаний размеры образцов, определяющие площадь поперечного сечения, измеряют в средней части с погрешностью не более 0,1 мм.
При определении диаметра образца проводят два измерения во взаимно-перпендикулярном направлении.
1.9. Для определения коэффициента термического линейного расширения длину образцов, соответствующую применяемому дилатометру, измеряют с погрешностью не более 0,1 мм.
1.10. Измерение толщины образцов для электрических испытаний проводят с погрешностью не более 1 % по ГОСТ 6433.2-71 — ГОСТ 6433.4-71.
1.9, 1.10. (Измененная редакция, Изм. № 4).
1.11. Для определения средней удельной теплоемкости образцы предварительно высушивают до постоянной массы при температуре от 105 °C до 120 °C.
1.12. Для определения средней температуропроводности образцы предварительно высушивают при температуре от 105 °C до 120 °C в течение от 1 до 2 ч. Измеряют толщину образцов не менее чем в трех местах с погрешностью не более 0,01 мм. За толщину образца принимают среднеарифметическое значение трех измерений.
1.11, 1.12. (Введены дополнительно, Изм. № 3).
2. МЕТОДЫ ИСПЫТАНИЙ
2.1. Испытание на отсутствие открытой пористости
(Измененная редакция, Изм. № 4).
2.1.1. Подготовка к испытанию
2.1.1.1. Для определения открытой пористости применяют свежерасколотые куски образцов керамических материалов, отобранных в соответствии с .
2.1.2. Аппаратура и материалы
2.1.2.1. Для испытания применяют:
— установку, состоящую из сосуда высокого давления, соединенного с устройством, с помощью которого можно создавать и поддерживать нужное давление во время испытания;
— манометр по ГОСТ 2405-88;
— раствор фуксина с массовой долей 1 % в этиловом спирте по ГОСТ 17299-78.
2.1.3. Проведение испытания
2.1.3.1. Образцы помещают в сосуд высокого давления, полностью погружают в раствор фуксина и выдерживают под давлением не менее 15 МПа в течение такого периода времени, чтобы произведение давления (в мегапаскалях), при котором проводят испытание, на время проведения испытания было не менее 180 МПа · ч.
После окончания испытания куски вынимают из раствора, промывают водой, высушивают и разбивают. Открытая пористость отсутствует, если на новых поверхностях излома не обнаружены следы проникновения красителя.
Проникновение раствора красителя в небольшие трещины, образовавшиеся во время подготовки образца, не принимают во внимание.
2.1.4. Обработка результатов
Результаты испытания оформляют протоколом по форме, приведенной в .
2.1.1 — 2.1.4 (Введены дополнительно, Изм. № 4).
2.2. Определение кажущейся плотности, открытой (кажущейся) пористости
2.2.1. Подготовка к испытанию
2.2.1.1. Для определения кажущейся плотности опытными образцами служат свежерасколотые куски образцов керамических материалов или изделий с чистой и неразрушающей поверхностью общей массой от 50 до 80 г. Для образцов малого объема допускается проводить испытания на трех образцах общей массой не менее 20 г. Крошку и пыль, которые могут отделиться во время последующих операций, удаляют осторожно кистью под струей воды.
2.2.2.1. Для проведения испытания применяют:
— лабораторные весы по ГОСТ 24104-88* с наибольшим пределом взвешивания 0,5 или 1 кг, 2-го класса точности, с приспособлением для гидростатического взвешивания. Допускается применение весов других конструкций с приспособлением для гидростатического взвешивания;
* С 1 июля 2002 г. введен в действие ГОСТ 24104-2001 (здесь и далее).
— сушильный шкаф, обеспечивающий температуру нагрева 110 °C — 120 °C;
— эксикатор по ГОСТ 25336-82 или специальный эксикатор большого размера;
— плитку электрическую по ГОСТ 14919-83;
— воду дистиллированную по ГОСТ 6709-72;
— керосин осветительный по нормативно-технической документации (НТД).
2.2.3. Проведение испытаний
2.2.3.1. Определение кажущейся плотности и открытой (кажущейся) пористости проводят способом гидростатического взвешивания испытуемых образцов, предварительно насыщенных жидкостью.
Для насыщения образцов жидкостью применяют вакуумный способ по ГОСТ 2409-95 или способ кипячения. Рекомендуется преимущественное применение вакуумного способа.
Образцы, взаимодействующие с водой, насыщают керосином только вакуумным способом.
Определение объема образцов проводят гидростатическим взвешиванием их в той жидкости, которой они насыщены.
Для насыщения способом кипячения образцы высушивают в сушильном шкафу при температуре (115 ± 5) °C до достижения постоянной массы. Перед взвешиванием образцы кондиционируют в эксикаторе до температуры окружающей среды.
Подготовленные для испытания образцы помещают в сосуд с дистиллированной водой на решетчатую или дырчатую подставку, установленную на расстоянии 1 см от днища сосуда. Уровень воды в сосуде должен быть выше верхней поверхности образцов. Воду в сосуде с образцами кипятят не менее 30 мин. Затем кипячение прекращают, и сосуд оставляют остывать до комнатной температуры.
Гидростатическое взвешивание образцов после кипячения производят в дистиллированной воде. Уровень воды в сосуде при взвешивании должен быть постоянным. Образцы по одному вынимают из воды и вытирают слегка влажной, хорошо отжатой тканью. Влагу из отверстий и углублений удаляют слегка влажной кисточкой, после чего вновь взвешивают. Взвешивание производят с погрешностью до 0,01 г. Взвешивание образца на воздухе и в жидкости следует производить на одних и тех же весах и одними разновесами.
2.2.4. Обработка результатов
2.2.4.1. Кажущуюся плотность (ρк), г·см-3, и открытую (кажущуюся) пористость (П0), %, вычисляют по формулам:
![]()
![]()
где mс — масса сухого испытуемого образца при взвешивании в воздухе, г;
mв — масса гирь, уравновешивающих массу испытуемого образца, погруженного в жидкость, г;
mн — масса насыщенного жидкостью испытуемого образца при взвешивании в воздухе, г;
ρж — плотность жидкости, применяемой для насыщения и гидростатического взвешивания, при температуре испытания, г·см-3 (для воды ρж принимают 1 г · см-3).
За результат принимают выборочное среднее значение не менее трех определений с округлением до 0,01 г · см-3.
Результаты испытаний оформляют протоколом по , в котором, кроме того, указывают способ насыщения образцов и жидкость, применявшуюся при насыщении.
(Измененная редакция, Изм. № 3).
2.3. Измерение плотности
Определение плотности проводят жидкостным пикнометром.
(Измененная редакция, Изм. № 4).
2.3.1. Подготовка к испытанию
2.3.1.1. Для проведения испытаний отбирают среднюю пробу материала массой около 200 г, измельчают во фрикционной установке и просеивают через сито 0063 по ГОСТ 6613-86.
2.3.2. Аппаратура и материалы
2.3.2.1. Для проведения испытаний применяют:
— лабораторные весы 2-го класса точности ГОСТ 24104-88;
— фрикционную установку с рабочими поверхностями из агата;
— термостат (сушильный шкаф) рабочей температурой (120 ± 5) °C;
— эксикатор по ГОСТ 25336-82;
— сито 0063 по ГОСТ 6613-86;
— пикнометры вместимостью от 25 до 50 см3 с пробками, имеющие капилляры и верхние торцы сошлифованные в плоскость;
— воду дистиллированную по ГОСТ 6709-72, свежекипяченую и охлажденную до комнатной температуры;
— ксилол по ГОСТ 9949-76;
— вакуумирующую установку (черт. 1а).

1 — осушительная колонка; 2 — вентиль, соединяющий установку с атмосферой; 3 — предохранительная проволочная сетка; 4 — вакуумная камера; 5 — манометр; 6 — затвор насосного трубопровода
Черт. 1а
2.3.3. Проведение испытания
2.3.3.1. Для определения массы пикнометра, наполненного жидкостью, сухие пикнометры взвешивают, наполняют жидкостью так, чтобы после закрытия пробками часть жидкости из каждого пикнометра вытеснялась через капилляр и образовывала выпуклый мениск. Под пробкой не должно быть воздушных пузырей.
Наполненные жидкостью пикнометры выдерживают при постоянной температуре (20 ± 1) °C в термостате не менее 1 ч. В случае испарения жидкости в капилляр пробки пикнометра добавляют жидкость с помощью пипетки до образования мениска.
Вынимают пикнометры из термостата, закрывают пробкой, вытирают насухо с наружной стороны и взвешивают на аналитических весах с погрешностью не более 0,1 мг.
2.3.3.2. Для определения плотности пробу материала, подготовленную по , высушивают в термостате при температуре (120 ± 5) °C не менее 3 ч и охлаждают в эксикаторе.
Затем взвешивают три чистых высушенных пикнометра, помещают в них навески высушенной пробы материала с таким расчетом, чтобы они занимали около 1/5 части объема каждого пикнометра, и взвешивают.
Пробу материала заливают жидкостью таким образом, чтобы она была полностью погружена в наименьшем объеме жидкости.
Содержимое пикнометров перемешивают круговыми движениями.
Пикнометры помещают в вакуумную камеру и вакуумируют при давлении не более 500 Па. Вакуумирование проводят до полного удаления всех воздушных пузырьков из жидкости с последующей выдержкой при этом же давлении не менее 30 мин. После окончания вакуумирования пикнометры дополняют жидкостью до образования мениска, выдерживают при постоянной температуре окружающей среды и взвешивают.
Примечания:
1. Давление, время и скорость вакуумирования допускается изменять в соответствии с характером используемой жидкости и свойствами исследуемого материала так, чтобы во время вакуумирования не происходило разбрызгивания материала из пикнометра.
2. Допускается удаление воздуха из пикнометров кипячением в течение 2 ч в водяной бане. При этом пикнометры должны быть погружены в воду на 3/4 высоты.
2.3.4. Обработка результатов
2.3.4.1. Плотность материала (g), г · см-3, вычисляют по формуле
![]()
где
— плотность применяемой жидкости при температуре измерения, г · см-3;
m1 — масса пустого сухого пикнометра, г;
m2 — масса пикнометра с образцом, г;
m3 — масса пикнометра, наполненного жидкостью, г;
m4 — масса пикнометра с навеской и жидкостью, г.
Значения плотности вычисляют с точностью до третьего десятичного знака. За результат испытаний принимают среднеарифметическое трех определений. Результат округляют с точностью до второго десятичного знака.
Результаты испытаний оформляют протоколом по форме, приведенной в .
2.3.5. Допускается плотность определять газовым сравнительным пикнометром ().
2.3.1 — 2.3.5. (Введены дополнительно, Изм. № 4).
2.4. Определение предела прочности при растяжении
2.4.1. Подготовка к испытанию
2.4.1.1. Для определения предела прочности при растяжении должны применяться образцы, форма и размеры которых указаны в п. 4. .
2.4.2. Аппаратура и материалы
2.4.2.1. При проведении испытания используют:
— разрывную машину по ГОСТ 28840-90;
— захват (2 шт.), указанный на ;
— штангенциркуль ШЦ-1 по ГОСТ 166-89;
— эластичную прокладку из свинца.
2.4.3. Проведение испытания
2.4.3.1. Образец закрепляют в захватах, указанных на . Между образцами и захватом вставляют эластичные прокладки, например из листового свинца толщиной не менее 2 мм.
К испытуемому образцу прикладывают растягивающую нагрузку, возрастающую постоянно и равномерно с такой скоростью, чтобы время с момента приложения нагрузки до разрушения образца находилось в пределах 20 — 40 с.
Направление приложения нагрузки должно совпадать с продольной осью образца. Разрушающее усилие измеряют с погрешностью до 1 %.
(Измененная редакция, Изм. № 1).
2.4.4. Обработка результатов
2.4.4.1. Предел прочности при растяжении (sρ), МПа, для каждого испытуемого образца вычисляют по формуле
![]()
где F — разрушающее усилие, Н;
S — площадь поперечного сечения образца, мм2.
За результат испытаний принимают выборочное среднее значение не менее шести испытаний с округлением до 0,1 МПа.
Обработку результатов производят по .
Захват для проведения испытания по определению предела прочности при растяжении
Черт. 1
Результаты испытаний оформляют протоколом по .
2.5. Определение прочности на изгиб
2.5.1. Подготовка к испытанию
2.5.1.1. Для определения прочности на изгиб применяют образцы, форма которых приведена в п. 5 .
Вариант исполнения образцов выбирают в зависимости от применяемой технологии изготовления:
— вариант I — для образцов, изготовленных способом вытяжки и литья; стрелка указывает направление приложения нагрузки;
— вариант II — для образцов, изготовленных методом прессования; стрелка указывает направление прессования и приложения нагрузки;
— вариант III — для образцов, изготовленных методом прессования или вырезаемых из изделий; стрелка указывает направление прессования и приложения нагрузки;
— вариант IV — для образцов, изготовленных по технологии, не позволяющей оформлять образцы из испытуемого керамического материала по вариантам I — III; стрелка указывает направление прессования и приложения нагрузки.
Размеры образцов должны соответствовать указанным в табл. 1а.
Таблица 1а
Размеры в миллиметрах
|
Номер варианта исполнения по п. 5 |
L, не менее |
d |
b |
h |
R |
||||
|
Номин. |
Пред. откл. |
Номин. |
Пред. откл. |
Номин. |
Пред. откл. |
Номин. |
Пред. откл. |
||
|
I |
120 |
10 |
±1 |
— |
— |
— |
— |
— |
— |
|
II |
— |
— |
8,0 |
±1 |
10,0 |
±1,0 |
5 |
+2 -1 |
|
|
III |
10,0 |
— |
— |
||||||
|
IV |
35 |
4,5 |
±0,5 |
4,5 |
±0,5 |
||||
2.5.2. Аппаратура и материалы
2.5.2.1. Для проведения испытаний применяют:
— испытательную машину с приспособлением для испытания на изгиб, измеряющую усилие разрушения испытуемого образца с погрешностью до 1 % по ГОСТ 28840-90;
— опоры для проведения испытания прочности на изгиб;
— штангенциркуль ШЦ-1 по ГОСТ 166-89;
— радиусный шаблон для измерения образцов по варианту II с погрешностью не более 0,1 мм.
2.5.3. Проведение испытания
2.5.3.1. Испытание проводят при температуре (25 ± 10) °C. Размеры поперечного сечения образца измеряют с погрешностью, не превышающей 0,02 мм. Для определения диаметра образцов, испытываемых по варианту I, проводят два измерения во взаимно перпендикулярных направлениях и определяют среднее значение.
Радиус R испытуемого образца по варианту II измеряют при помощи радиусного шаблона. Испытуемый образец, изготовленный по вариантам I, II или III, устанавливают на стальные опоры с радиусом закругления 5 мм, изготовленные по варианту IV с радиусом закругления 2 мм.
Расстояние между опорами l должно быть:
100 мм — для образцов, изготовленных по вариантам I — III;
25 мм — для образцов, изготовленных по варианту IV.
Нагрузку прикладывают посередине между опорами через центральную призму с радиусом закругления 5 мм.
Для испытания образцов с прямоугольным сечением используют подвижные опоры, закрепленные шарнирно относительно продольной оси образца. Скорость возрастания нагрузки должна составлять 10 — 50 Н/с; время от момента приложения нагрузки до разрушения образца должно находиться в пределах 20 — 40 с.
2.5.4. Обработка результатов
2.5.4.1. Предел прочности на изгиб (sи), МПа, следует вычислять для каждого испытуемого образца с погрешностью не более 0,1 МПа;
— для образцов, изготовленных по варианту I
![]()
— для образцов, изготовленных по варианту II
![]()
— для образцов, изготовленных по вариантам III и IV
![]()
где F — разрушающая нагрузка, Н;
k — поправочный коэффициент по табл. 1б.
Поправочный коэффициент
для испытуемых образцов, изготовленных по варианту II, приведен в табл. 1б.
Таблица 1б
|
|
Коэффициент k при |
||||||||||
|
0,30 |
0,35 |
0,40 |
0,45 |
0,50 |
0,55 |
0,60 |
0,65 |
0,70 |
0,75 |
0,80 |
|
|
0,60 |
0,728 |
0,775 |
0,807 |
0,831 |
0,850 |
0,865 |
0,878 |
0,888 |
0,897 |
0,905 |
0,913 |
|
0,65 |
— |
0,788 |
0,831 |
0,862 |
0,886 |
0,905 |
0,922 |
0,935 |
0,947 |
0,960 |
0,968 |
|
0,70 |
— |
0,798 |
0,852 |
0,890 |
0,920 |
0,944 |
0,964 |
0,981 |
0,995 |
1,008 |
1,016 |
|
0,75 |
— |
— |
0,865 |
0,912 |
0,948 |
0,977 |
1,001 |
1,021 |
1,038 |
1,052 |
1,060 |
|
0,80 |
— |
— |
0,871 |
0,927 |
0,969 |
1,003 |
1,032 |
1,056 |
1,076 |
1,091 |
1,101 |
|
0,85 |
— |
— |
— |
0,935 |
0,985 |
1,024 |
1,057 |
1,085 |
1,109 |
1,126 |
1,140 |
|
0,90 |
— |
— |
— |
0,938 |
0,994 |
1,040 |
1,078 |
1,110 |
1,137 |
1,158 |
1,177 |
|
0,95 |
— |
— |
— |
— |
0,999 |
1,050 |
1,093 |
1,129 |
1,161 |
1,187 |
1,211 |
|
1,00 |
— |
— |
— |
— |
1,000 |
1,056 |
1,104 |
1,144 |
1,180 |
1,215 |
1,242 |
Примечание. Промежуточное значение находится методом интерполяции. Значение, приведенное в рамке, соответствует номинальным размерам.
(Измененная редакция, Изм. № 2).
2.6. Определение стойкости к термоударам
2.6.1. Подготовка к испытанию
2.6.1.1. Метод I
Для испытания стойкости к термоударам по снижению механической прочности на изгиб должны применяться образцы, указанные в п. 5 .
Отобранные для испытаний образцы материалов должны соответствовать .
Число образцов, необходимое для проведения испытаний, зависит от предполагаемой стойкости к термоударам и должно быть кратным пяти.
(Измененная редакция, Изм. № 2).
2.6.1.2. Метод II
Заключается в определении перепада температуры нагрева и охлаждения образцов, при котором на образцах появятся первые визуально заметные трещины.
Допускается применение визуального метода для материалов с кажущейся пористостью менее 5 %.
Форма и размер образцов — по п. 5 .
Допускается применение образцов, предназначенных для испытания прочности на сжатие по п. 6 .
(Измененная редакция, Изм. № 2, 3).
2.6.2. Аппаратура и материалы
2.6.2.1. Для определения стойкости к термоударам применяют:
— электропечь, обеспечивающую максимальную температуру испытания, с регулированием температуры в одной точке нагрева с погрешностью не более 2,5 %;
— сосуд вместимостью не менее 5 дм3 с потоком охлаждающей воды, обеспечивающий повышение температуры воды после погружения образцов в сосуд не более чем на 1 °C. Подача воды должна находиться вблизи дна сосуда, а отвод — у верхней кромки;
— проволочную сетку, которая должна размещаться на расстоянии не менее 20 мм от дна сосуда;
— ртутный термометр для отсчета температуры охлаждающей воды с погрешностью, не превышающей 1 °C;
— испытательную машину по ГОСТ 28840-90 (только для метода I);
— термостат рабочей температурой (120 ± 5) °C (только для метода II).
(Измененная редакция, Изм. № 2).
2.6.3. Проведение испытания
2.6.3.1. Метод I. Предел прочности на изгиб предварительно определяют не менее чем на пяти образцах, не подвергшихся термоудару по п. 5 . Следующую серию не менее чем из пяти образцов устанавливают в печь, предварительно нагретую до температуры на 100 K (°C) выше температуры охлаждающей воды (в случае группы 200 — на 80 K (°C), и выдерживают 30 мин. Затем образцы погружают на 5 мин в сосуд с водой, температура которой должна быть от 10 °C до 20 °C. Время переноса образцов из печи в воду должно быть не более 5 с. После этого образцы вынимают из воды, сушат в течение 2 ч при температуре (120 ± 5) °C, охлаждают на воздухе до температуры окружающей среды и определяют предел прочности на изгиб.
Последующие серии образцов (каждая серия состоит не менее чем из пяти образцов) нагревают, скачкообразно повышая разность температур на 50 K (°C) до перепада температур, при котором предел прочности на изгиб составит менее 2/3 предела прочности на изгиб образцов, не подвергшихся термоудару.
Если повышение перепада температур вызовет снижение предела прочности на изгиб более чем на 50 % прочности перед повышением перепада, следует провести дополнительное измерение прочности образцов, подвергшихся промежуточному перепаду температур.
2.6.3.2. Метод II. Образцы материала подвергают нагреву и охлаждению согласно п. 2.6.3.1. После охлаждения образцы вынимают из воды, подсушивают и проверяют наличие в них трещин. Для более точного обнаружения трещин образцы после подсушки прокрашивают в спиртовом растворе фуксина.
Образцы, не имеющие трещин, подвергают повторному циклу нагрева и охлаждения. При каждом новом цикле разность температур между нагревом и охлаждением увеличивают на 10 °C. Циклы продолжают до появления трещин не менее чем на двух образцах. Если стойкость к термоударам превышает 200 K (°C), разность температур между очередными циклами увеличивают на 25 K (°C).
В случае испытания образцов с предполагаемой стойкостью к термоударам более 200 K (°C) допускается начальный перепад температур более 100 K (°C).
2.6.3.1 — 2.6.3.2. (Измененная редакция, Изм. № 2).
2.6.4. Обработка результатов
2.6.4.1. Метод I. За значение стойкости к термоударам принимают разность температур (интерполяцией по графику зависимости предела прочности на изгиб от перепада температур нагрева и охлаждения), при которой предел прочности на изгиб составляет 2/3 предела прочности образцов, не подвергшихся термоудару, с округлением до 5 °C в сторону меньшего значения.
2.6.4.2. Метод II. За значение стойкости к термоударам принимают частное от деления суммы значений разрушающих перепадов температур отдельных образцов, отнесенной к числу образцов, с округлением до 5 °C в сторону меньшего значения.
Допускается стойкость к термоударам выражать в виде самой низкой разницы температур, при которой появились первые трещины на двух или более образцах.
Результаты испытаний оформляют протоколом по .
2.7. Определение среднего коэффициента температурного линейного расширения
2.7.1. Подготовка к испытанию
2.7.1.1. Для определения коэффициента термического линейного расширения применяют образцы, форма и размеры которых указаны в п. 7 .
Длину образцов измеряют по .
2.7.2. Аппаратура и материалы
2.7.2.1. Для определения коэффициента термического линейного расширения применяют дилатометр, который должен отвечать следующим требованиям:
— измерение изменений первоначальной длины образца должно проводиться с погрешностью до 0,005 % от начальной длины;
— нагревающее устройство должно обеспечивать возможность нагревания образцов до 1000 °C. Перепад температур по длине образца должен быть не более 5 °C;
— нагревающее устройство должно обеспечивать регулирование скорости подъема температуры;
— сила, прикладываемая к образцу в местах контакта, не должна превышать 2 Н.
Рекомендуется применять дифференциальный дилатометр, который исключает ошибки, вызываемые удлинением элементов для крепления образцов.
(Измененная редакция, Изм. № 2).
2.7.3. Проведение испытания
2.7.3.1. Метод заключается в измерении изменения длины образца при нагревании его в данном интервале температур.
Образец помещают в дилатометр и повышают температуру равномерно не более 5 °C · мин-1. Образец следует нагревать в атмосфере воздуха. В ходе повышения температуры регистрируют изменение длины образца при температурах 20, 100, 600, 1000 °C для определения среднего коэффициента температурного линейного расширения в интервалах температур от 20 °C до 100 °C, от 20 °C до 600 °C, а для высокотемпературных материалов — от 20 °C до 1000 °C, если в НТД средний коэффициент термического линейного расширения указан в интервале температур от 20 °C до 1000 °C. Допускается колебание начальной температуры отсчета ± 10 °C.
(Измененная редакция, Изм. № 2).
2.7.4. Обработка результатов
2.7.4.1. Средний коэффициент температурного линейного расширения подсчитывают в соответствии с инструкцией по обслуживанию применяемого дилатометра. В случае применения дифференциального дилатометра коэффициент температурного линейного расширения
, K-1, вычисляют по формуле
![]()
где Dl — изменение длины в данном интервале температур, мм;
l0 — начальная длина образца, мм;
Dt — разность конечной (t2) и начальной (t1) температур, K (°C);
— среднее значение коэффициента поправки прибора для заданного интервала температур (t2 — t1), K-1.
Дилатометр должен быть отградуирован с помощью эталонного образца с установленным коэффициентом температурного расширения. Номинальные длины эталонного и испытуемого образцов должны быть одинаковы и определяться дилатометрами с однотипными системами измерения.
Среднее значение коэффициента поправки прибора
в интервале температур (t2 — t1) рекомендуется определять по методике, изложенной в приложении 2. За результат определения принимают среднеарифметическое значение испытуемых образцов с округлением до 0,1 · 10-6 K-1. Результаты испытаний оформляют протоколом по , в котором дополнительно указывают тип применяемого дилатометра.
(Измененная редакция, Изм. № 2).
2.8. Определение электрической прочности
2.8.1. Подготовка к испытанию
2.8.1.1. Испытания проводят в электроизоляционной жидкости температурой от 15 °C до 35 °C. Температура должна быть измерена в непосредственной близости от места расположения образцов.
На краях электродов не должно быть пузырьков воздуха.
Для испытаний должны использоваться образцы в виде дисков с полусферическим верхним электродом в соответствии с п. 8 .
Размеры образцов должны выбираться в соответствии с табл. 1в.
Таблица 1в
В миллиметрах
|
d0 |
d1 |
b |
r |
||||
|
Номин. |
Пред. откл. |
Номин. |
Пред. откл. |
Номин. |
Пред. откл. |
Номин. |
Пред. откл. |
|
25 |
±1 |
20 |
±1 |
4 |
±1 |
5,0 |
±0,5 |
|
80 |
50 |
9 |
10,0 |
||||
(Измененная редакция, Изм. № 2).
2.8.2. Аппаратура и материалы
2.8.2.1. Для определения электрической прочности при переменном напряжении используют установку по ГОСТ 6433.3-71.
Погрешность измерения не должна превышать 3 % измеряемого значения. Толщина образца в самом тонком месте должна быть измерена с погрешностью не более 0,01 мм.
В качестве материала электродов могут использоваться коллоидный графит, серебряные покрытия, нанесенные методом вжигания, или серебро, медь, алюминий, нанесенные распылением металла в вакууме.
Должен обеспечиваться хороший контакт между электродами и испытуемым образцом.
Материалы электродов не должны вызывать изменения свойств образца.
Вспомогательные электроды должны быть изготовлены из латуни или нержавеющей стали и их размеры должны соответствовать указанным на черт. 1б и 1в.
(Измененная редакция, Изм. № 2, 4).
2.8.3. Проведение испытания
2.8.3.1. Определение электрической прочности проводят по ГОСТ 6433.3-71.
Напряжение, равное половине предполагаемого пробивного напряжения, повышают быстро; далее определение электрической прочности проводят при плавном подъеме напряжения с такой скоростью, чтобы пробой происходил в течение 10 — 20 с от начала подъема напряжения.
Для устранения поверхностных разрядов, возникающих при испытании образцов на воздухе, измерение электрической прочности следует проводить в электроизоляционной жидкости или трансформаторном масле. Удельное сопротивление электроизоляционной жидкости должно быть не менее 108 Ом · м, электрическая прочность трансформаторного масла — не ниже 35 кВ.

Черт. 1б

Черт. 1в
2.8.4. Обработка результатов
2.8.4.1. Электрическую прочность (Епр), кВ · мм-1, вычисляют по формуле
Eпр = k · Up
где Up — действующее значение пробивного напряжения образца, кВ;
k — поправочный коэффициент, мм-1.
Значения k для образцов различной толщины приведены в табл. 2.
Таблица 2
|
Наименьшая измеренная толщина испытуемого образца, мм |
Поправочный коэффициент k, мм-1 |
Наименьшая измеренная толщина испытуемого образца, мм |
Поправочный коэффициент k, мм-1 |
||
|
для радиуса полусферы 10 мм |
для радиуса полусферы 5 мм |
для радиуса полусферы 10 мм |
для радиуса полусферы 5 мм |
||
|
1,35 |
0,809 |
0,879 |
1,50 |
0,735 |
0,805 |
|
1,36 |
0,803 |
0,874 |
1,51 |
0,730 |
0,801 |
|
1,37 |
0,798 |
0,868 |
1,52 |
0,726 |
0,797 |
|
1,38 |
0,793 |
0,863 |
1,53 |
0,722 |
0,792 |
|
1,39 |
0,787 |
0,858 |
1,54 |
0,717 |
0,788 |
|
1,40 |
0,782 |
0,853 |
1,55 |
0,713 |
0,784 |
|
1,41 |
0,777 |
0,848 |
1,56 |
0,709 |
0,780 |
|
1,42 |
0,772 |
0,843 |
1,57 |
0,705 |
0,776 |
|
1,43 |
0,767 |
0,838 |
1,58 |
0,701 |
0,772 |
|
1,44 |
0,762 |
0,833 |
1,59 |
0,697 |
0,768 |
|
1,45 |
0,758 |
0,828 |
1,60 |
0,693 |
0,764 |
|
1,46 |
0,753 |
0,823 |
1,61 |
0,689 |
0,760 |
|
1,47 |
0,748 |
0,819 |
1,62 |
0,685 |
0,756 |
|
1,48 |
0,744 |
0,814 |
1,63 |
0,681 |
0,752 |
|
1,49 |
0,739 |
0,810 |
1,64 |
0,678 |
0,749 |
|
|
|
|
1,65 |
0,674 |
0,745 |
За результат испытаний принимают выборочное среднее значение не менее шести испытаний с округлением до 1 кВ · мм-1. Обработку результатов испытаний проводят по .
Результаты испытаний оформляют протоколом по , в котором, кроме того, указывают тип и размеры электродов.
Примечание. Результаты испытаний образцов различной толщины сравнивать нельзя.
(Измененная редакция, Изм. № 2).
2.9. Определение предела прочности при сжатии
2.9.1. Подготовка к испытанию
2.9.1.1. Форма и размеры испытуемых образцов должны соответствовать варианту I п. 6 ; для образцов из высокопрочных материалов допускаются форма и размеры, соответствующие варианту II.
2.9.2. Аппаратура и материалы
2.9.2.1. При проведении испытаний используют:
— машину для испытания на сжатие с максимальным усилием не менее 200 кН;
— штангенциркуль ШЦ-II по ГОСТ 166-89.
2.9.3. Проведение испытания
2.9.3.1. Метод заключается в определении усилия, под действием которого опытный образец разрушается.
Диаметр образца определяют с погрешностью до 0,1 мм в двух взаимно перпендикулярных направлениях, при этом для расчета поперечного сечения берут среднее значение диаметра. После накладывания эластичных прокладок толщиной от 0,2 до 0,5 мм на торцовые поверхности испытуемого образца его устанавливают на машине для испытания на сжатие по центру пуансона.
К испытуемому образцу прикладывают сжимающую нагрузку, возрастающую постоянно и равномерно с такой скоростью, чтобы время с момента приложения нагрузки до разрушения образца составляло от 20 до 40 с. Разрушающую силу измеряют с погрешностью до 1 %.
2.9.4. Обработка результатов
2.9.4.1. Предел прочности при сжатии (sсж), МПа, для каждого испытуемого образца вычисляют по формуле
![]()
где F — разрушающая сила, Н;
S — площадь поперечного сечения образца, мм2.
Результаты испытаний обрабатывают в соответствии с и оформляют протоколом согласно .
2.9. (Измененная редакция, Изм. № 2).
2.10. Определение диэлектрической проницаемости и тангенса угла диэлектрических потерь
2.10.1 Подготовка к испытанию
2.10.1.1. Для определения тангенса угла диэлектрических потерь применяют образцы, форма которых указана в п. 9 .
Размеры образцов и электродов выбирают из числа приведенных в табл. 3.
Таблица 3
В миллиметрах
|
d0 |
d1 |
d2, d3 |
b, не более |
g |
|||
|
Номин. |
Пред. откл. |
Номин. |
Пред. откл. |
Номин. |
Пред. откл. |
||
|
55 |
±2 |
25 |
±1 |
50 |
±1 |
2,5 |
От 1 до 2 |
|
80 |
50 |
75 |
4,0 |
||||
|
120 |
75 |
100 |
6,0 |
||||
Примечание. Для керамических материалов с относительной диэлектрической проницаемостью e ³ 80 применяют образцы диаметром d0 = 55 мм.
Нормализацию и кондиционирование образцов перед испытанием проводят по .
Для обеспечения плотного прилегания электродов образцы для испытаний необходимо шлифовать. Обработка образцов не должна изменять свойств материала.
Испытание образцов следует проводить при частоте от 48 до 62 Гц. В качестве материала электродов могут использоваться серебряные покрытия, нанесенные методом вжигания, или серебро, медь, алюминий, нанесенные распылением металла в вакууме, алюминиевая фольга, коллоидный графит.
(Измененная редакция, Изм. № 2).
2.10.2. При определении тангенса угла диэлектрических потерь используют аппаратуру и материалы по ГОСТ 6433.4-71.
2.10.3. Проведение испытания
2.10.3.1. Определение проводят по ГОСТ 6433.4-71.
Не позже, чем через 2 мин после окончания кондиционирования проводят измерение образцов.
2.10.4. Обработка результатов
2.10.4.1. Значения тангенса угла диэлектрических потерь и диэлектрической проницаемости вычисляют по ГОСТ 6433.4-71.
За результат испытаний принимают выборочное среднее значение не менее трех измерений.
Обработку результатов производят по .
Результаты испытаний оформляют протоколом по , в котором дополнительно указывают значения испытательных напряжения и частоты.
(Измененная редакция, Изм. № 2).
2.11. Определение электрического сопротивления при постоянном напряжении
2.11.1. Подготовка к испытанию
2.11.1.1. Электроды на образцах из плотного керамического материала наносят методом вжигания платиновой, серебряной пастами без охранного электрода (в отдельном случае используют прижимные электроды), если испытания образцов проводят в атмосфере воздуха. В случае испытания образцов в защитной (нейтральной) среде в качестве электродного материала могут быть использованы медь, латунь и никель, нанесенные распылением металла в вакууме или другим способом.
При этом минимальное расстояние от электродов до краев образца должно составлять не более 5 мм.
Для образцов из пористого керамического материала используют прижимные электроды из стали, стойкой к окислению при температуре до 600 °C, или серебряные покрытия. Поверхность электродов и испытуемых образцов должна быть полирована.
Испытанию при повышенных температурах подвергают не менее двух образцов.
(Измененная редакция, Изм. № 2).
2.11.2. Аппаратура и материалы
2.11.2.1. При определении удельного объемного сопротивления используют аппаратуру и материалы по ГОСТ 6433.2-71.
Для нагрева образцов используют электропечь, конструкция которой обеспечивает равномерное нагревание образцов.
Держатели образцов должны быть изготовлены из стали, стойкой к окислению при температуре до 600 °C. Поверхность цилиндрического держателя должна отстоять от края испытуемого образца не менее чем на 5 мм. Для контроля температуры используют два термопреобразователя по ГОСТ 6616-94: один контрольный — в камере печи, второй — на поверхности образца, который может быть вставлен непосредственно в отверстие зажимного электрода.
При определении удельного объемного сопротивления ведут запись температуры термопреобразователя, который установлен непосредственно на поверхности образца.
Изолированные измерительные вводы должны проходить в электрическую печь через высокоомные термостойкие изоляторы, расположенные в холодной зоне, защищенные от токов утечки, влияющих на результаты испытания.
(Измененная редакция, Изм. № 2).
2.11.3. Проведение испытания
2.11.3.1. Определение удельного объемного сопротивления проводят по ГОСТ 6433.2-71 при напряжении 100, 500 или 1000 В.
Метод заключается в измерении тока, протекающего по объему или по поверхности керамического образца заданной формы и размеров, с нанесенной системой электродов при постоянном напряжении установленного значения.
Отношение приложенного напряжения к величине тока, протекающего через образец, определяет объемное сопротивление, отношение приложенного напряжения к величине тока, протекающего по поверхности образца, — поверхностное сопротивление.
Для определения удельного объемного сопротивления при температуре от 200 °C до 600 °C используют образцы с наименьшими размерами из числа приведенных в .
(Измененная редакция, Изм. № 2).
2.11.4. Обработка результатов
2.11.4.1. Удельное объемное сопротивление (ρv), Ом · см, вычисляют по формуле
![]()
где Rv — измеренное сопротивление, Ом;
t — толщина образца, см;
d2 — диаметр измерительного электрода, см;
q — ширина охранного пояска, см.
За результат испытаний принимают выборочное среднее значение не менее трех потенцированных средних десятичных логарифмов результатов измерений.
Обработку результатов проводят по .
Результаты испытаний оформляют протоколом по .
2.12. Определение модуля упругости
2.12.1.1. Подготовка к испытанию
Для измерения стрелы прогиба образца, возникающего под действием приложенной нагрузки, с последующим расчетом модуля упругости по соответствующим формулам следует применять образцы, форма которых указана в п. 5 .
Размеры образцов выбирают по табл. 3а .
Таблица 3а
Размеры в миллиметрах
|
Вариант исполнения по п. 5 |
l |
L, не менее |
d |
b |
h |
R |
||||
|
Номин. |
Пред. откл. |
Номин. |
Пред. откл. |
Номин. |
Пред. откл. |
Номин. |
Пред. откл. |
|||
|
I |
400 |
420 |
16 |
±1 |
— |
— |
— |
— |
— |
— |
|
100 |
120 |
10 |
||||||||
|
II |
— |
— |
8,0 |
±1 |
10,0 |
±1 |
5 |
+2 -1 |
||
|
III |
10,0 |
— |
— |
|||||||
|
50 |
70 |
4,5 |
±0,5 |
4,5 |
±0,5 |
|||||
Варианту I должны соответствовать образцы, изготовленные методом вытяжки и литья, вариантам II, III — методом прессования.
Если технология изготовления не позволяет изготовить образцы длиной L, равной 120 мм, по вариантам I — III, то применяют образцы по варианту III длиной L, равной 70 мм.
Допускаемое отклонение размеров в поперечном сечении отдельного образца по всей его длине не должно превышать 0,1 мм.
2.12.1.2. Аппаратура и материалы
Для проведения испытания применяют:
— специальную испытательную машину для определения прогиба или универсальную испытательную машину с установкой для определения прогиба с приставкой, регистрирующей прогиб с погрешностью до 0,01 мм, — для образцов длиной L, равной 420 мм, изготовленных по варианту I, и с погрешностью до 0,001 мм — для остальных образцов.
Примечание. Разрешается применять опоры, которые можно повернуть вокруг оси, параллельной продольной оси образца;
— микрометр МК 25-1 по ГОСТ 6507-90;
— радиусные шаблоны — для испытания образцов овальной формы, изготовленных по варианту II.
2.12.1.3. Проведение испытания
Размеры поперечного сечения образца измеряют с погрешностью до 0,02 мм.
Образцы устанавливают на двух опорных призмах, нагрузку передают через центральную призму. Радиус призм для образцов, изготовленных по вариантам I — III, длиной L, равной 420 и 120 мм, должен составлять 5 мм. Для образцов, изготовленных по варианту III, длиной L, равной 70 мм, радиус опорных призм должен составлять от 1 до 2 мм, центральной призмы — от 2 до 5 мм.
Для прессованных образцов направление приложения нагрузки должно совпадать с направлением прессования. Значения прогиба и нагрузки регистрируют при нагрузках около 10, 40 и 70 % от ожидаемой прочности на изгиб.
Измерение нагрузки проводят с погрешностью до 1 %, измерение прогиба — с погрешностью, указанной в .
2.12.1.4. Обработка результатов
Модуль упругости (Е), МПа, вычисляют по формуле
![]()
где l — расстояние между опорными призмами, мм;
F — изгибающая сила, Н;
y — прогиб, мм;
— наклон прямой, Н · мм-1;
I — осевой момент инерции поперечного сечения образца, мм4.
Для определения угла наклона
строят графическую зависимость, где значение изгибающей силы откладывают на вертикальной, а прогиб у — на горизонтальной оси. По трем точкам строят прямую линию.
Примечание. Точку с координатами F = 0, у = 0 во внимание не принимают.
Определяют угол наклона
— этой прямой.
Момент инерции определяют по формулам:
— для образцов, изготовленных по варианту I:
![]()
— для образцов овальной формы, изготовленных по варианту II:
![]()
где K — поправочный коэффициент (см. табл. 3б);
— для образцов квадратной формы, изготовленных по варианту III:
![]()
Таблица 3б
|
|
Коэффициент K при |
||||||||
|
0,30 |
0,35 |
0,40 |
0,45 |
0,50 |
0,55 |
0,60 |
0,65 |
0,70 |
|
|
0,60 |
0,728 |
0,775 |
0,807 |
0,831 |
0,850 |
0,865 |
0,878 |
0,888 |
0,897 |
|
0,65 |
— |
0,788 |
0,831 |
0,862 |
0,886 |
0,905 |
0,922 |
0,935 |
0,947 |
|
0,70 |
— |
0,798 |
0,852 |
0,890 |
0,920 |
0,944 |
0,964 |
0,981 |
0,995 |
|
0,75 |
— |
— |
0,865 |
0,912 |
0,948 |
0,977 |
1,001 |
1,021 |
1,038 |
|
0,80 |
— |
— |
0,871 |
0,927 |
0,969 |
1,003 |
1,032 |
1,056 |
1,076 |
|
0,85 |
— |
— |
— |
0,935 |
0,985 |
1,024 |
1,057 |
1,085 |
1,109 |
|
0,90 |
— |
— |
— |
0,938 |
0,994 |
1,040 |
1,078 |
1,110 |
1,137 |
|
0,95 |
— |
— |
— |
— |
0,999 |
1,050 |
1,093 |
1,129 |
1,161 |
|
1,00 |
— |
— |
— |
— |
1,000 |
1,056 |
1,104 |
1,144 |
1,180 |
Примечание. Значение, приведенное в рамке, соответствует номинальному размеру (без допускаемых отклонений).
Результаты испытаний оформляют протоколом по форме, приведенной в , кроме того, указывают значение изгибающей силы и соответствующее значение стрелы прогиба, а также угол наклона прямой
.
За результат испытания принимают выборочное среднее значение не менее трех определений.
2.12.2.1. Подготовка к испытанию
Для измерения скорости распространения ультразвуковых волн и определения плотности материала с последующим расчетом модуля упругости применяют образцы, указанные в п. 10 и табл. 3в.
Таблица 3в
|
Размер образца, мм |
Диаметр головки искателя, мм |
Частота, МГц |
|
|
d |
l |
||
|
10 |
30 |
От 5 до 8 |
От 6 до 10 |
|
16 |
50 |
» 5 » 10 |
» 4 » 10 |
|
25 |
75 |
» 5 » 15 |
» 2 » 10 |
2.12.2.2. Аппаратура и материалы
Для проведения испытания применяют:
— ультразвуковой измерительный прибор с приспособлением для определения времени пробега с точностью до 0,05 мкс;
— штангенциркуль ШЦ-1 по ГОСТ 166-89;
— приборы для определения кажущейся плотности по .
2.12.2.3. Проведение испытания
Размеры образца определяют с погрешностью до 0,1 мм. На одной из торцевых поверхностей закрепляют датчик — приемник ультразвуковых импульсов. По принципу импульс — эхо определяют время пробега ультразвуковой волны между первым и вторым отраженными продольными сигналами и их время пробега между первым отраженным продольным сигналом и первым отраженным поперечным сигналом по черт. 2.
При измерении времени пробега применяют головки искателя диаметром и с интервалом частот, указанными в табл. 3в.
Кажущуюся плотность определяют по .
2.12.2.4. Обработка результатов
Скорость распространения (v1), м · с-1, ультразвуковых продольных волн определяют по формуле
![]()
где l — длина образца, м;
t1 — время пробега ультразвуковых волн между первым и вторым отраженными сигналами, с.
Скорость распространения (vt), м · с-1, ультразвуковых поперечных волн вычисляют по формуле

где Dt — время пробега ультразвуковой волны между первым отраженным продольным и первым отраженным поперечным сигналами, с;
d — диаметр образца, м.
Коэффициент Пуассона (µ) вычисляют по формуле


1 — зондирующий импульс; 2 — первый отраженный продольный сигнал; 3 — отраженный поперечный сигнал; 4 — второй отраженный продольный сигнал
Черт. 2
Модуль упругости (Е), Па, вычисляют по формуле
![]()
где v1 — скорость звука продольной волны, м · с-1;
ρ — кажущаяся плотность, кг · м-3;
µ — коэффициент Пуассона.
За результат испытания принимают выборочное среднее значение не менее трех определений. Определение модуля упругости считают правильным, если отклонение отдельных значений от выборочного среднего не превышает 10 %. Если отклонение более 10 %, то испытание повторяют на других образцах.
Результаты испытаний оформляют протоколом по форме, приведенной в , в котором, кроме того, указывают:
— датчик (наименование или рабочий диапазон частоты и диаметр головки датчика, а также прибор, на котором проводят испытание);
— время пробега t1 и Dt;
— скорость звука v1 и vt;
— коэффициент Пуассона µ;
— кажущуюся плотность ρ.
2.12.3. Приближенный метод
2.12.3.1. Подготовка к испытанию
Для определения модуля упругости приближенным методом применяют образцы, указанные в . Допускается применять образцы, размеры которых отличаются от указанных в .
Образцы должны иметь две плоскопараллельные поверхности: одну для присоединения датчика, другую для отражения сигналов.
2.12.3.2. Аппаратура и материалы
Для определения модуля упругости приближенным методом используют аппаратуру, указанную в .
2.12.3.3. Проведение испытания
Модуль упругости может быть определен приближенно ультразвуковым методом, когда измеряют только скорость распространения звука v1 продольных волн и кажущуюся плотность. При этом коэффициент Пуассона (µ) берут для того же материала из предыдущих измерений или используют принятые значения µ = 0,225.
Для больших образцов время пробега можно измерять с погрешностью до 1 %.
2.12.3.4. Обработка результатов
Результаты испытаний оформляют протоколом по форме, приведенной в , в котором, кроме того, указывают:
— датчик (наименование или рабочий диапазон частоты и диаметр головки датчика, а также прибор, на котором проводят испытание);
— время пробега t1;
— скорость звука v1;
— измеренное значение коэффициента Пуассона или принятое значение µ = 0,225;
— кажущуюся плотность ρ.
2.12.4. Допускается определять модуль упругости другими методами, указанными в .
2.12. (Введен дополнительно, Изм. № 1).
2.13. Определение ударной прочности
2.13.1. Подготовка к испытанию
2.13.1.1. Форма и размеры образцов должны соответствовать указанным в п. 5 и табл. 3г.
Таблица 3г
Размеры в миллиметрах
|
Вариант исполнения по п. 5 |
L |
d |
b |
h |
R |
|||||
|
Номин. |
Пред. откл. |
Номин. |
Пред. откл. |
Номин. |
Пред. откл. |
Номин. |
Пред. откл. |
Номин. |
Пред. откл. |
|
|
I |
120 |
±3 |
10 |
±1 |
— |
— |
— |
— |
— |
— |
|
II |
— |
— |
8,0 |
±1,0 |
10,0 |
±1,0 |
5 |
+2 -1 |
||
|
III |
±2 |
10,0 |
— |
— |
||||||
|
IV |
70 |
4,5 |
±0,5 |
4,5 |
±0,5 |
|||||
2.13.2. Аппаратура и материалы
2.13.2.1. Для проведения испытаний применяют:
— маятниковый копер с энергией удара до 1 кДж;
— микрометр по ГОСТ 6507-90.
2.13.3. Проведение испытаний
2.13.3.1. Метод основан на определении удельной энергии, затрачиваемой на разрушение образца при ударном изгибе. Размеры поперечного сечения образцов измеряют в средней части с погрешностью, не превышающей 0,02 мм. Для определения диаметра испытуемых образцов проводят два измерения во взаимно перпендикулярных направлениях и определяют среднее значение.
Испытуемый образец укладывают на опоры копра так, чтобы удар маятника приходился по середине образца.
Для образцов, изготовленных методом прессования, направление удара маятника должно совпадать с направлением прессования.
Расстояние между опорами l, мм, должно быть:
70 мм — для образцов, изготовленных по вариантам I — III п. 5 ;
40 мм — для образцов, изготовленных по варианту IV п. 5 .
Из верхнего положения боек маятника падает на испытуемый образец, разрушает его, а при дальнейшем отклонении увлекает с собой контрольную стрелку.
Энергию разрушения при ударе А, Дж, отсчитывают с погрешностью, не превышающей 5 · 10-3 Дж.
2.13.4. Обработка результатов
2.13.4.1. Ударную прочность (sy), кДж · м-2, вычисляют по формулам:
— для образцов, изготовленных по варианту I п. 5
![]()
— для образцов, изготовленных по варианту II п. 5
![]()
— для образцов, изготовленных по вариантам III и IV п. 5
![]()
где А — энергия разрушения при ударном изгибе, Дж;
d, b, h — геометрические размеры сечений, мм.
За окончательный результат принимают среднеарифметическое результатов пяти параллельных определений, округленное до 0,05 кДж · м-2 в сторону меньшего значения.
Обработку результатов испытаний и оформление протокола проводят в соответствии с п и .
2.13. (Введен дополнительно, Изм. № 2).
2.14. Определение средней удельной теплоемкости
2.14.1. Подготовка к испытанию
2.14.1.1. Форма образцов должна соответствовать указанной в п. 11 , а размеры должны составлять:
d = (15 ± 1) мм, b = (7 ± 1) мм;
d = (60 ± 1) мм, b = (10 ± 1) мм.
Допускается применение образцов произвольной формы с максимальным размером не более 60 мм. Масса образца должна составлять от 0,03 до 0,08 кг.
2.14.2. Аппаратура и материалы
2.14.2.1. Для определения удельной теплоемкости применяют:
— водяной калориметр вместимостью (1,5 ± 0,5) дм3 (черт. 3) с метастатическим термометром Бекмана, с ценой деления основной шкалы 0,01 °C;
— паровой термостат или сушильный шкаф для подогрева образцов до 100 °C с точностью до ± 1 °C (черт. 3);
— технические весы по ГОСТ 24104-88 с погрешностью взвешивания до 0,01 г;
— весы по ГОСТ 24104-88 для взвешивания калориметрического сосуда с водой с погрешностью взвешивания не более ± 1 г;
— лабораторный термометр с пределами измерения, включающими интервал температур от 18 °C до 40 °C, и ценой деления 0,5 °C.
2.14.3. Определение постоянной калориметра
Перед измерением удельной теплоемкости определяют постоянную калориметра следующим способом.
Чистый и высушенный сосуд калориметра взвешивают, наливают в него (0,75 ± 0,05) дм3 дистиллированной воды и опять взвешивают (для определения массы воды). Калориметр с водой следует довести до постоянной температуры (20 ± 2) °C.
Для стабилизации температуры калориметра используют изотермическую рубашку, указанную на черт. 3 . После измерения установившейся температуры воды и определения начального положения ртутного столба в термометре Бекмана в калориметр быстро вводят (0,25 ± 0,05) дм3 подогретой воды температурой в пределах от 30 °C до 40 °C. Температуру подогретой воды измеряют непосредственно перед ее вливанием. Воду в закрытом калориметре перемешивают и, наблюдая в термометре Бекмана ртутный столб, определяют его максимальное положение. Последовательно взвешивают калориметрический сосуд с водой.
Постоянную калориметра (W), Дж · K-1, вычисляют по формуле
![]()
где Cw — 4186,8 Дж кг-1 · K-1 — удельная теплоемкость воды
mк — масса сухого калориметрического сосуда, кг;
m1 — масса калориметрического сосуда с начальным количеством воды, кг;
m2 — масса калориметрического сосуда с конечным количеством воды (после введения подогретой воды), кг;
t1 — начальная температура воды, °C;
t2 — температура подогретой воды, °C;
Dt — разность между начальной температурой воды и конечной температурой, которая установилась после смешения холодной воды с подогретой (максимальная разность температур, измеренная термометром Бекмана), °C.
За результат определения постоянной калориметра принимают среднеарифметическое трех испытаний с округлением до 1 Дж · K-1.
2.14.3.1. Определение средней удельной теплоемкости от 20 °C до 100 °C.
Установка для определения средней удельной теплоемкости

1 — термометр электроконтактный; 2 — термостат; 3 — образец; 4 — диафрагма; 5 — водяной калориметр; 6 — изометрическая водяная рубашка; 7 — термометр Бекмана
Черт. 3
Чистый и высушенный сосуд калориметра взвешивают, наливают в него (1 ± 0,1) дм3 дистиллированной воды, вновь взвешивают. После достижения состояния теплового равновесия в калориметре вода должна быть нагрета до температуры (20 ± 2) °C. Температуру воды измеряют при помощи лабораторного термометра и определяют начальное показание термометра Бекмана.
Образец из испытуемого материала, предварительно взвешенный с погрешностью не более 0,01 г и выдержанный в термостате в течение 1 ч при температуре (100 ± 1) °C, сбрасывают в сосуд калориметра, в котором воду непрерывно перемешивают, через диафрагму (экран), синхронизированную с механизмом сброса, и после достижения конечной температуры производят отсчет разности температур (Dt) на термометре Бекмана.
2.14.4. Обработка результатов
2.14.4.1. Среднюю удельную теплоемкость (Сp), Дж · кг-1 · K-1, вычисляют по формуле
![]()
где Cp — 4186,8 Дж · кг-1 · K-1 — удельная теплоемкость воды;
W — постоянная калориметра, Дж · K-1;
т — масса испытуемого образца, кг;
та — масса калориметрического сосуда с водой, кг;
mк — масса сухого калориметрического сосуда, кг;
tp — температура, до которой был нагрет образец, °C;
tw — температура воды в калориметре непосредственно перед вводом образца, °C;
Dt — разность между начальной температурой воды и конечной температурой, которая установилась после ввода образца (максимальная разность температур, измеренная термометром Бекмана), °C.
За результат определения принимают среднее значение средней удельной теплоемкости испытуемых образцов с округлением до 1 Дж · кг-1 · K-1.
Результаты испытаний оформляют протоколом по форме, приведенной в .
2.15. Определение теплопроводности
2.15.1.1. Аппаратура и материалы
Для проведения испытания применяют произвольную аппаратуру, обеспечивающую измерение теплопроводности в интервале температур от 20 °C до 100 °C с погрешностью до 5 %.
2.15.1.2. Проведение испытания
Испытания проводят в диапазоне температур от 20 °C до 100 °C согласно указаниям для применяемой аппаратуры.
За результат принимают среднеарифметическое значение определений теплопроводности испытуемых образцов с округлением до 0,01 Вт · м-1 · K-1.
2.15.2. Расчетный метод
2.15.2.1. Подготовка к испытанию
Метод заключается в расчете теплопроводности по результатам измерений кажущейся плотности по ГОСТ 2409-95, средней удельной теплоемкости по и средней температуропроводности по .
Указанный метод применяют для керамических материалов со значением λ £ 5 Вт · м-1 · K-1, так как измерение средней температуропроводности по проводят только для этих материалов.
Форма образцов должна соответствовать указанной в п. 11 , а размеры должны составлять:
d = (15 ± 1) мм, b = (3 ± 1) мм;
d = (60 ± 1) мм, b = (10 ± 1) мм.
2.15.2.2. Аппаратура и материалы
Применяют следующую аппаратуру для измерения: кажущейся плотности — по ГОСТ 2409-95, средней удельной теплоемкости — по , средней температуропроводности — по .
2.15.2.3. Проведение испытаний
Испытания проводят, измеряя поочередно кажущуюся плотность по ГОСТ 2409-95, среднюю удельную теплоемкость по и среднюю температуропроводность по .
2.15.2.4. Обработка результатов
Теплопроводность (λ), Вт · м-1 · K-1, вычисляют по формуле
λ = ρк · Cp · a
где ρк — кажущаяся плотность, кг · м-3;
Сp — средняя удельная теплоемкость, Дж · кг-1 · K-1;
а — средняя температуропроводность, м2 · С-1.
Результаты вычисления теплопроводности округляют до 0,01 Вт · м-1 · K-1.
Результаты испытаний оформляют по форме, приведенной в .
2.15.3. Допускается определять теплопроводность методом, изложенным в .
В случае разногласий предпочтительнее результаты, полученные методом, изложенным в .
2.16. Определение средней температуропроводности
2.16.1.1. Подготовка к испытанию
На поверхность образца наносят небольшое количество дифениламина (C6H5)2NH. Метод заключается в измерении времени изменения температуры поверхности образца от (20 ± 1) °C до 54 °C (температура плавления дифениламина), отсчитывая время от момента помещения образца на поверхность сплава, нагретого до температуры 100 °C.
Метод применяют для всех керамических электротехнических материалов со значением λ £ 5 Вт · м-1 · K-1 по ГОСТ 20419-83, за исключением материала групп 600 и 700.
Форма образцов должна соответствовать указанной в п. 11 , а размеры должны составлять:
d = (50 ± 1) мм, b = (7 ± 1) мм;
d = (60 ± 1) мм, b = (10 ± 1) мм.
2.16.1.2. Аппаратура и материалы
Для определения средней температуропроводности применяют:
— нагревательную установку по черт. 4;
— ультратермостат, наполненный глицерином;
— секундомер;
— термостат для кондиционирования образцов при температуре (20 ± 0,5) °C и при относительной влажности (65 ± 5) %;
— толщиномер для измерения толщины образцов с ценой делений 0,01 мм;
— стандартные образцы с известной температуропроводностью для определения постоянной прибора.
2.16.1.3. Проведение испытания
Образцы с расположенными на них единичными кристаллами дифениламина (C6H5)2NH размером от 0,2 до 0,5 мм выдерживают в термостате при температуре (20±0,5) °C и относительной влажности воздуха (65 ±5) % в течение 2 ч.
Установку (черт. 4) нагревают при помощи глицерина, протекающего через ультратермостат так, чтобы сплав Вуда достиг постоянной температуры (100 ± 0,5) °C.
Перед определением очищают поверхность сплава от загрязнений, затем образец с дифениламином быстро вынимают из термостата, кладут на поверхность сплава и через увеличительное стекло наблюдают состояние дифениламина.
Установка для определения средней температуропроводности

1 — никелевая стенка; 2 — латунная стенка; 3 — свинцовое уплотнение; 4 — опоры; 5 — асбоцементное кольцо; 6 — сплав Вуда; 7 — ввод теплоносителя; 8 — вывод теплоносителя; 9 — осветитель; 10 — дифениламин; 11 — образец; 12 — увеличительное стекло; 13 — термометр
Черт. 4
Секундомером измеряют время (с погрешностью до 0,1 с) от момента установки образца до момента расплавления дифениламина.
Не допускается образование воздушных включений между поверхностью образца и сплавов.
2.16.1.4. Обработка результатов
Среднюю температуропроводность (a), м2 · с-1, в интервале температур от 20 °C до 100 °C вычисляют по формуле
![]()
где d — толщина образца, м;
t — время для расплавления дифениламина, с;
K — постоянная прибора, которая определяется экспериментальным путем для каждого прибора на основе измерения образцов с известной средней температуропроводностью.
За результат принимают среднеарифметическое значение определений температуропроводности испытуемых образцов с округлением до 0,1 · 10-6 м2 · с-1.
Результаты испытаний оформляют протоколом по форме, приведенной в .
2.16.2. Расчетный метод
2.16.2.1. Подготовка к испытанию
Метод заключается в расчете средней температуропроводности в интервале температур от 20 °C до 100 °C по результатам измерений кажущейся плотности по ГОСТ 2409-95, средней удельной теплоемкости по и теплопроводности по .
Для определения кажущейся плотности, средней удельной теплоемкости и теплопроводности применяют образцы по возможности одинаковые с указанными по , предназначенные для испытания теплопроводности.
2.16.2.2. Для измерения кажущейся плотности и средней удельной теплоемкости применяют аппаратуру по , для измерения теплопроводности — по .
2.16.2.3. Проведение испытания
Испытания проводят, измеряя поочередно кажущуюся плотность по ГОСТ 2409-95, среднюю удельную теплоемкость по , теплопроводность по .
2.16.2.4. Обработка результатов
Среднюю температуропроводность (a), м2 · с-1, вычисляют по формуле
![]()
где λ — теплопроводность, Вт · м-1 · K-1;
Сp — средняя удельная теплоемкость, Дж · кг-1 · K-1;
ρк — кажущаяся плотность, кг · м-3.
Результат вычисления температуропроводности округляют до 0,1 · 10-6 м2 · с-1.
Результаты испытаний оформляют протоколом по форме, приведенной в .
В случае разногласий предпочтительнее результаты, полученные измерительным методом.
2.14 — 2.16. (Введены дополнительно, Изм. № 3).
3. ОБРАБОТКА РЕЗУЛЬТАТОВ
3.1. Обработку результатов испытаний проводят, пользуясь критерием оценки анормальности результатов наблюдений при неизвестном генеральном среднеквадратическом отклонении (S) и неизвестном значении генерального среднего
.
Для упорядоченной выборки результатов наблюдений случайного значения подсчитывают выборочное среднеквадратическое отклонение по формулам:
![]()
![]()
Для принятия решения об исключении или оставлении в составе выборки находят отношение
![]()
или ![]()
Результаты сравнивают со значением h, взятым из табл. 4 .
Если Vn ³ h (V1 ³ h), то результат наблюдений должен быть исключен и выборочное среднее и выборочное среднеквадратическое отклонение подсчитаны заново.
Таблица 4
|
Число измеряемых образцов |
Значение h при вероятности a = 0,05 |
Число измеряемых образцов |
Значение h при вероятности a = 0,05 |
Число измеряемых образцов |
Значение h при вероятности a = 0,05 |
|
3 |
1,15 |
9 |
2,11 |
15 |
2,41 |
|
4 |
1,46 |
10 |
2,18 |
16 |
2,44 |
|
5 |
1,67 |
11 |
2,23 |
17 |
2,48 |
|
6 |
1,82 |
12 |
2,29 |
18 |
2,50 |
|
7 |
1,94 |
13 |
2,38 |
19 |
2,53 |
|
8 |
2,03 |
14 |
2,37 |
20 |
2,56 |
3.2. Результаты испытаний должны быть оформлены протоколом, в котором указывают:
— наименование материала;
— предприятие-изготовитель;
— вид испытания и метод испытания;
— дату и способ изготовления образца;
— состояние поверхности (глазурованная или неглазурованная);
— форму и размеры образцов;
— число образцов;
— результаты отдельных испытаний;
— среднее выборочное значение результатов испытаний;
— выборочное среднеквадратическое отклонение;
— место и дату проведения испытания;
— фамилию лица, проводившего испытания.
ПРИЛОЖЕНИЕ 1
Рекомендуемое
ВОЗМОЖНЫЕ МЕТОДЫ ОПРЕДЕЛЕНИЯ МОДУЛЯ УПРУГОСТИ
При определении модуля упругости допускается применять резонансно-частотный метод, а также другие методы, которые приняты в других отраслях промышленности.
Обязательным условием при использовании других методов является сравнение результатов применяемого метода с результатами определения модуля упругости согласно пп. и . Разница между результатами измерения не должна превышать 3 %.
Результаты измерения модуля упругости другими методами оформляют протоколом по , в котором, кроме того, указывают специфические данные этого метода. Протокол должен также содержать ссылку на проведенные сравнительные определения модуля упругости (номер и место нахождения протокола) и результаты сравнения — отклонения в процентах.
ПРИЛОЖЕНИЕ 1. (Введено дополнительно, Изм. № 1).
ПРИЛОЖЕНИЕ 2
Рекомендуемое
МЕТОДИКА ОПРЕДЕЛЕНИЯ СРЕДНЕГО ЗНАЧЕНИЯ КОЭФФИЦИЕНТА ПОПРАВКИ ПРИБОРА ДЛЯ ОПРЕДЕЛЕНИЯ СРЕДНЕГО КОЭФФИЦИЕНТА ТЕМПЕРАТУРНОГО ЛИНЕЙНОГО РАСШИРЕНИЯ
1. Эталонный образец
В качестве эталонного образца рекомендуется применять платиновый стержень чистотой не менее 99,9 % и длиной, зависящей от типа дилатометра.
Относительное линейное удлинение для платины и соответствующие значения коэффициента a в зависимости от интервала температур приведены в таблице.
|
Интервал температуры, °C |
Относительное удлинение платины, % |
Коэффициент температурного линейного расширения, 10-6, K-1 |
Интервал температуры, °C |
Относительное удлинение платины, % |
Коэффициент температурного линейного расширения, 10-6, K-1 |
|
От 25 до 100 |
0,0675 |
9,00 |
От 25 до 600 |
0,5554 |
9,66 |
|
» 25 » 200 |
0,1599 |
9,14 |
» 25 » 700 |
0,6610 |
9,79 |
|
» 25 » 300 |
0,2548 |
9,27 |
» 25 » 800 |
0,7693 |
9,93 |
|
» 25 » 400 |
0,3523 |
9,39 |
» 25 » 900 |
0,8803 |
10,06 |
|
» 25 » 500 |
0,4525 |
9,53 |
» 25 » 1000 |
0,9941 |
10,20 |
2. Измерение изменения длины эталонного образца
Эталонный образец нагревают до 800 °C (1000 °C) пять — десять раз.
При этом определяют для соответствующих интервалов температур коэффициент температурного линейного расширения платинового стержня.
3. Обработка результатов
3.1. Для интервалов температур определяют среднеарифметическое значение коэффициента
для платинового стержня и затем их отклонения от значений коэффициента
, приведенного в таблице, т.е. получают
.
Зависимость
от температуры изображают графически.
Определение
проводят при изменении или после ремонта измерительной системы дилатометра, но не реже двух раз в год.
3.2. При определении погрешности измерения при
определяют стандартное отклонение S и доверительный интервал при статической достоверности Р = 95 %. При вычислении среднего линейного коэффициента расширения испытуемых образцов () учитывают и погрешность измерения для
.
Минимальную погрешность (F) при каждом отдельном измерении вычисляют по формуле
![]()
где п — количество измерений определения платинового
стержня;
а — коэффициент, зависящий от выбранной статистической достоверности (для Р = 95 % а = 2,3).
ПРИЛОЖЕНИЕ 2. (Введено дополнительно, Изм. № 2).
ПРИЛОЖЕНИЕ 3
Рекомендуемое
МЕТОДИКА ОПРЕДЕЛЕНИЯ ТЕПЛОПРОВОДНОСТИ
1. Методика определения теплопроводности — по ГОСТ 23630.2-79.
2. Образцы для испытания должны быть в форме диска диаметром 15 — 0,1 мм и высотой от 0,5 до 5,0 мм без сколов и трещин. Торцевые поверхности образцов должны быть шлифованными. Для испытания берут не менее трех образцов.
3. Образцы взвешивают с погрешностью не более 0,01 г.
4. Определение погрешности
Погрешность определения теплопроводности (D) вычисляют по формуле
![]()
где Dс — систематическая составляющая погрешности;
— случайная составляющая погрешности.
Систематическую составляющую погрешности (Dс) вычисляют по формуле
![]()
где
— среднее значение теплопроводности образцовой меры, Вт · м-1 · K-1;
λ0 — удельная теплопроводность образцовой меры, Вт · м-1 · K-1.
Среднее значение теплопроводности (
) вычисляют как среднеарифметическое не менее чем пяти определений по формуле

где λi — измеренное в соответствии с настоящей методикой значение теплопроводности образцовой меры при каждой температуре, Вт · м-1 · K-1;
п — число измерений.
Случайную составляющую погрешности (
) вычисляют по формуле
![]()
где ta — коэффициент Стьюдента (для n = 5 a = 0,95 ta = 2,776);
s — среднеквадратическое отклонение, Вт · м-1 · K-1.
Среднее значение теплопроводности (
) вычисляют как среднеарифметическое не менее чем пяти определений по формуле

где λi — измеренное значение теплопроводности образца при каждой температуре, Вт · м-1 · K-1;
п — число измерений.
Среднеквадратическое отклонение (s), Вт · м-1 · K-1, вычисляют по формуле

где λi — измеренное значение теплопроводности образца при каждой температуре, Вт · м-1 · K-1;
п — число измерений.
Результаты испытаний оформляют протоколом по форме, приведенной в .
ПРИЛОЖЕНИЕ 3. (Введено дополнительно, Изм. № 3).
ПРИЛОЖЕНИЕ 4
Рекомендуемое
ОПРЕДЕЛЕНИЕ ПЛОТНОСТИ ГАЗОВЫМ СРАВНИТЕЛЬНЫМ ПИКНОМЕТРОМ. МЕТОД СРАВНИТЕЛЬНОГО АНАЛИЗА
1. Подготовка образца к испытаниям
1.1. Для проведения испытаний отбирают среднюю пробу материала массой около 200 г, измельчают во фрикционной установке и просеивают через сито 0063 по ГОСТ 6613-86.
2. Аппаратура и материалы
2.1. Для проведения испытаний применяют:
— газовый сравнительный пикнометр (черт. 5), который состоит из двух газонепроницаемых камер: измерительной и сравнительной, имеющих вид цилиндров, с поршнями. Составной частью измерительной камеры является сосуд, в который помещают навеску порошка. Сравнительная камера имеет упор, который точно фиксирует начальный и конечный объемы камер.

1 — упор; 2 — сравнительная камера; 3 — шкала; 4 — измерительная камера; 5 — сосуд с навеской; 6 — соединительный вентиль; 7 — вентиль для выпуска газа; 8 — дифференциальный манометр
Черт. 5
После помещения навески порошка в камеру и закрытия измерительной камеры давление в обеих камерах выравнивают за счет открытия соединительного вентиля, который затем закрывают. В обеих камерах одновременно газ сжимают до тех пор, пока объем сравнительной камеры не достигнет конечного устойчивого значения (а) шкалы.
Объем измерительной камеры устанавливают таким образом, чтобы разность давлений в обеих камерах была нулевой. Разность конечных объемов сравнительной и измерительной камер равна искомому объему образца;
— установку для работы в атмосфере инертного газа (соответствующий комплект вентилей и сосуд высокого давления с сухим газом, чаще всего гелием);
— аналитические весы;
— фрикционную установку с рабочими поверхностями из агата;
— сушильный шкаф рабочей температурой (120 ± 5) °С;
— эксикатор по ГОСТ 25336-82;
— сито 0063 по ГОСТ 6613-86;
— влагомер-психометр.
3. Проведение испытания
3.1. Пробу материала, подготовленную по , высушивают в термостате при температуре (120 ± 5) °С не менее 3 ч и охлаждают в эксикаторе.
3.2. Пустой чистый сухой сосуд взвешивают с погрешностью ± 0,1 мг, вводят в пикнометр и не менее двух раз контролируют нулевое положение поршней.
3.3. Сосуд вынимают из пикнометра, помещают в него навеску материала, подготовленную согласно , массой примерно 100 г и взвешивают сосуд с навеской с погрешностью ± 0,1 мг.
3.4. Измерения проводят при комнатной температуре по ГОСТ 6433.1-71, при этом температура охлажденной навески не должна отличаться от температуры прибора более чем на 2 °С.
Если в качестве среды измерения используют воздух, его относительная влажность должна быть не более 50 %, в противном случае пикнометр промывают сухим воздухом.
3.5. Сосуд с навеской помещают в измерительную камеру пикнометра и плотно ее закрывают. Если измерение проводят в инертной атмосфере, систему камер пикнометра промывают инертным газом.
3.6. Для выравнивания температуры сосуд с навеской выдерживают в камере не менее 1 мин, после чего замеряют объем.
3.7. Измерение объема для одной навески проводят два раза, при этом установленные объемы навески материала не должны отличаться более чем на 0,05 см3.
3.8. Испытания по п — 3.7 настоящего приложения проводят на двух навесках пробы материала, находящейся в эксикаторе.
4. Обработка результатов
4.1. Плотность материала (g), г · см-3, вычисляют по формуле
(1)
где m1 — масса пустого сосуда, г;
m2 — масса сосуда с навеской материала, г;
V — среднеарифметическое объемов, измеренных у одной навески материала, см3.
За результат испытаний принимают среднеарифметическое двух измерений.
4.2. Результаты испытаний оформляют протоколом по форме, приведенной в настоящего стандарта.
ПРИЛОЖЕНИЕ 4. (Введено дополнительно, Изм. № 4).
СОДЕРЖАНИЕ
|
|










