ГОСТ 24434-80 Панели слоистые с утеплителем из пенопластов для стен и покрытий зданий Пенопласты Метод определения усадки

Автор: | 17.02.2015

ГОСТ 24434-80

Группа Ж39


ГОСУДАРСТВЕННЫЙ СТАНДАРТ СОЮЗА ССР


ПАНЕЛИ СЛОИСТЫЕ С УТЕПЛИТЕЛЕМ ИЗ ПЕНОПЛАСТОВ

ДЛЯ СТЕН И ПОКРЫТИЙ ЗДАНИЙ

Пенопласты. Метод определения усадки

Laminated wall and roof panels with foam plastic thermal insulation.

Foam plastics. Method of determining shrinkage

Дата введения 1982-01-01


ВВЕДЕН  В ДЕЙСТВИЕ Постановлением Государственного комитета СССР по делам строительства от 25 сентября 1980 г. N 149

ПЕРЕИЗДАНИЕ.  Февраль 1988 г.

Настоящий  стандарт распространяется на слоистые панели с конструкционным утеплителем из заливочных пенопластов (с листами из металла, асбестоцемента, древесноволокнистых и древесностружечных плит, фанеры, стеклопластиков и др.) для стен и покрытий зданий и устанавливает метод определения технологической усадки утеплителя, появляющейся после формования пенопласта в полости панелей.

Сущность  метода заключается в определении разности размеров формы и отформованного в ней образца в течение заданного времени в направлении, перпендикулярном направлению вспенивания.

Применение  указанного метода должно предусматриваться стандартами и техническими условиями, устанавливающими технические требования к панелям с конструкционным утеплителем из пенопластов для стен и покрытий зданий.     

1. АППАРАТУРА

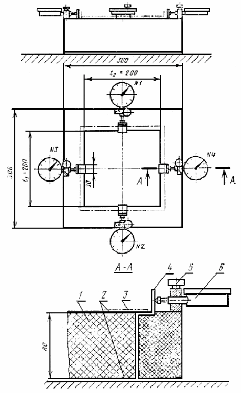
1.1.  Для определения технологической усадки применяют приспособление, указанное на чертеже, состоящее из формы и индикаторов.        

                

1 — образец; 2 — листы; 3 — ограничительная рамка; 4 — упорная пластина;

5 — кронштейн; 6 — индикатор

1.1.1.  Форма представляет собой ограничительную рамку с двумя съемными листами.

Ограничительная  рамка должна иметь в плане размеры (внутренние) 200х200 мм и высоту 80 мм. Предельные отклонения внутренних размеров ограничительной рамки должны быть не более ±0,5 мм.

Ограничительную  рамку изготавливают из древесины. Допускается изготовление ограничительной рамки из пластмассы по согласованию с базовой организацией по стандартизации слоистых панелей с утеплителем из пенопластов.

Материал  съемных листов должен соответствовать материалу листов обшивки, применяемой при изготовлении слоистых панелей.

1.1.2.  Для измерения внутренних размеров ограничительной рамки используют штангенциркуль по ГОСТ 166-80, обеспечивающий измерение с погрешностью 0,1 мм.

1.1.3.  Для измерения усадки пенопласта используют индикаторы часового типа по ГОСТ 577-68 с ценой деления 0,01 мм.    

           

2. МЕТОД ИЗГОТОВЛЕНИЯ ОБРАЗЦОВ И ПОДГОТОВКА К ИСПЫТАНИЮ

2.1.  Для изготовления образцов используют заливочную композицию, взятую непосредственно с поста заливки технологической линии по изготовлению панелей.

2.2.  Количество заливочной композиции для заливки в форму в граммах определяют по формуле

,

где 1,2 — коэффициент потери массы, учитывающий способ заливки, состав и вид заливочной композиции и др.;

—  объем формы, см;

       — плотность пенопласта, г/см.

2.3.  Режим изготовления образцов должен соответствовать технологическому регламенту на изготовление панелей, утвержденному в установленном порядке. При изготовлении образцов должно быть обеспечено восприятие избыточного давления, возникающего при вспенивании композиции.

2.4.  Число образцов для испытания следует принимать в соответствии со стандартами на панели, но не менее трех.

2.5.  Перед испытанием измеряют внутренние размеры рамки. Измерения производят во взаимно перпендикулярных направлениях в фиксированных точках, расположенных в центре каждой грани рамки.

2.6.  С внутренней стороны рамки устанавливают упорные пластины (см. чертеж), обеспечивающие контакт индикаторов с отформованным образцом.

2.7.  Для надежности соединения упорных пластин с образцом в процессе формования на нижнюю часть пластин (со стороны образца) предварительно наносят слой каучукового клея 88Н (адгезива).

2.8.  На внутренние поверхности рамки и листов наносят слой антиадгезионного состава по ГОСТ 6267-74 или ГОСТ 1033-79.     

3. ПРОВЕДЕНИЕ ИСПЫТАНИЯ

3.1.  Испытания проводят при температуре плюс (20±2)°С.

3.2.  Через 5 мин после завершения изготовления образца в соответствии с п.2.3 удаляют листы, устанавливают индикаторы так, чтобы их штоки упирались в верхние части упорных пластин (см. черт.), после чего снимают отсчеты по индикаторам. Измерение усадки производят один раз в сутки.

3.3.  Испытание считают законченным, если разница между двумя последующими отсчетами не превышает 3%.     

4. ОБРАБОТКА РЕЗУЛЬТАТОВ

4.1.  Величину усадки в процентах вычисляют по формуле

,


где , , , —  разности конечных (в конце испытания) и начальных отсчетов по четырем индикаторам, мм;

— внутренние размеры формы, мм, измеренные согласно п.2.5.

4.2.  За результат испытания принимают среднее арифметическое значение усадок всех испытанных образцов, вычисленное с точностью до 0,01%.

4.3.  Данные испытания записывают в протокол, в котором указывают:

дату  изготовления образцов;

режим  изготовления;

число  образцов, взятых для испытания;

состав  и вид заливочной композиции;

дату  испытания;

величину  усадки;

номер  партии панелей.

          

Текст документа сверен по:

официальное издание

М.: Издательство  стандартов, 1988

Предоставлено компанией .