
ГОСУДАРСТВЕННЫЙ СТАНДАРТ СОЮЗА ССР
СОЕДИНЕНИЯ ТРУБОПРОВОДОВ
МЕТОДЫ ИСПЫТАНИЙ НА ГЕРМЕТИЧНОСТЬ
ГОСТ 25136-82
ГОСУДАРСТВЕННЫЙ КОМИТЕТ СССР ПО СТАНДАРТАМ
Москва
ГОСУДАРСТВЕННЫЙ СТАНДАРТ СОЮЗА ССР
|
СОЕДИНЕНИЯ ТРУБОПРОВОДОВ Методы испытаний на герметичность Pipe-line connections. Leak tightness test methods |
ГОСТ 25136-82 |
Постановлением Государственного комитета СССР по стандартам от 15 февраля 1982 г. № 640 срок действия установлен
с 01.01.83
до 01.01.88
Стандарт устанавливает требования к основным методам испытаний на герметичность соединений трубопроводов.
Стандарт распространяется на разъемные соединения трубопроводов.
Требования к контролю сварных соединений трубопроводов — по ГОСТ 3242-79.
1. ОБЩИЕ ПОЛОЖЕНИЯ
1.1. Общие требования к методам испытаний на герметичность — по ГОСТ 24054-80. Для соединений трубопроводов применяют следующие основные методы испытаний на герметичность: гидростатический, манометрический, пузырьковый, масс-спектрометрический и галогенный.
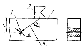
Для ориентировочной оценки границ применимости этих методов служат диапазоны пределов индикации, приведенные на чертеже.

Диапазоны пределов индикации потока, при натекании атмосферного воздуха через стык вакуумированного соединения для следующих методов испытаний на герметичность: 1 — пузырьковый; 2 — гидростатический без применения специальных индикаторов; 3 — гидростатический с применением специальных индикаторов; 4 — манометрический газовый; 5 — манометрический жидкостный; 6 — галогенный; 7 — масс-спектрометрический
2. ТРЕБОВАНИЯ К ОСНОВНЫМ МЕТОДАМ ИСПЫТАНИЙ
2.1. Гидростатический метод
2.1.1. Метод осуществляется компрессорным способом как с применением, так и без применения индикаторных масс, наносимых на контролируемую поверхность. Описание способа — по ГОСТ 24054-80.
2.1.2. При проведении испытаний перед повышением давления необходимо полностью удалить воздух из соединения. Если при испытаниях на гидропрочность соединение было заполнено холодной водой и на его стенках появилась роса, то испытания на герметичность следует проводить после ее высыхания.
2.1.3. Пробное давление Рпр при испытаниях определяют по формуле:
Pпр = k×Py,
где Py — условное давление (избыточное давление, которое может выдержать соединение при нормальной температуре рабочей среды в условиях эксплуатации);
k — коэффициент, зависящий от условного давления, определяется по таблице.
|
Ру, МПа |
k |
|
< 0,2 |
2 |
|
0,2-40 |
1,5 |
|
> 40 |
1,25 |
2.1.4. При испытаниях должно быть обеспечено постепенное и плавное повышение и снижение давления. Запрещается обстукивание соединения, находящегося под давлением. При обнаружении капель, пятен и (или) резкого падения давления испытания прекращают, соединения осматривают для установления причин дефекта.
2.1.5. Время испытания одного соединения гидростатическим методом не менее 3 мин.
2.2. Манометрический метод
2.2.1. Метод реализуется следующими способами: компрессионным, вакуумным, камерным, обдува и сравнения с потоком от калиброванной течи.
2.2.2. Описания компрессионного, вакуумного и камерного способов — ГОСТ 24054-80.
2.2.3. Испытания способом обдува проводят в следующем порядке:
вакуумируют внутреннюю полость соединения;
снимают показание манометра Рв;
обдувают стык соединения пробным газом, после чего вновь снимают показание манометра Рп, определяют изменение давления DРо по формуле
DРо = kпРп — Рв,
где kп — чувствительность манометра по отношению к пробному газу;
Рв — показание манометра, проградуированного по воздуху;
Рп — показание манометра, снятое после обдува пробным газом.
О негерметичности соединения судят по величине изменения давления DРо.
Примечание. Рекомендуется применять пробный газ, при котором удовлетворяется следующее неравенство
,
где Sв, Sп — быстрота действия насоса при откачке воздуха и пробного газа из соединения;
Qв, Qп — поток воздуха и пробного газа через стык соединения;
kв — чувствительность манометра по отношению к воздуху.
2.2.4. Испытания способом сравнения с потоком от калиброванной течи проводят в следующем порядке:
вакуумируют внутреннюю полость соединения до тех пор, пока давление в ней не достигнет фиксированной величины Pg;
подают на течь пробный газ и, меняя его давление, подбирают такой поток через течь, чтобы вакуумметр показывал ту же величину Pg;
по графику, прилагаемому к паспорту на калиброванную течь, определяют поток, соответствующий этому давлению;
о негерметичности судят по величине потока.
Рекомендуемая схема установки для испытаний приведена в справочном .
2.2.5. При испытаниях вакуумным способом необходимо установить по показаниям манометра момент времени t1, когда давление во внутренней полости соединения начнет меняться линейно, после чего через промежуток времени Dt произвести измерение давления во внутренней полости соединения. Поток через стык соединения рассчитывается по формуле
,
где P1 — давление внутри соединения в момент времени t1;
Р2 — давление внутри соединения в момент времени t1 + Dt;
V — объем внутренней полости соединения.
Примечание. В соединениях с большим газовыделением манометр целесообразно присоединять через охлаждаемую ловушку.
2.2.6. Допустимое падение давления при испытании компрессионным способом рекомендуется оценивать по формулам, приведенным в справочном .
Примечание. Если компрессионным способом испытывается трубопровод или участок трубопровода, где рабочей средой служит жидкость, то отношение давления газа к рабочему давлению жидкости не должно быть ниже 0,1.
2.2.7. Температурная погрешность s определения изменения давления внутри соединения или камеры оценивается по формуле
,
где Р — давление пробного газа;
Т — абсолютная температура газа;
DТ — изменение температуры за время замера.
2.3. Пузырьковый метод
2.3.1. Метод осуществляют следующими способами: компрессионным, вакуумным, обмыливанием.
Описание способов — по ГОСТ 24054-80.
2.3.2. Если в качестве индикаторной жидкости применяется вода, то для повышения ее прозрачности добавляют алюмо-аммониевые квасцы из расчета 500 г квасцов на 3 м3 воды, после чего раствор следует тщательно перемешать и выдержать в течение полутора суток.
2.3.3. При необходимости повышения чувствительности в индикаторную жидкость рекомендуется добавить поверхностно-активное вещество, не оказывающее вредного воздействия на материалы деталей соединений.
2.3.4. Продолжительность испытаний рекомендуется определять по формулам, приведенным в справочном .
2.4. Масс-спектрометрический метод
2.4.1. Метод осуществляется следующими способами: вакуумной камеры, опрессовки в камере, обдува, щупа, накопления, накопления при атмосферном давлении, селективного отбора пробного газа.
2.4.2. Описания способов вакуумной камеры, опрессовки в камере, обдува, щупа, накопления при атмосферном давлении — по ГОСТ 24054-80.
2.4.3. Способы вакуумной камеры и опрессовки в камере рекомендуется осуществлять на установках, схемы которых приведены в справочном .
2.4.4. Испытания способом накопления проводят в следующем порядке:
вакуумируют испытываемое соединение, подключают к нему цеолитовый насос и выдерживают соединение в течение определенного времени под вакуумом, после чего соединяют с течеискателем и замеряют фоновый поток пробного газа;
помещают соединение в камеру, заполняют ее пробным газом или смесью газов, содержащей пробный газ, и выдерживают в течение определенного времени, после чего соединяют с течеискателем и замеряют поток пробного газа;
о негерметичности судят по разности показаний течеискателя.
Рекомендуемая схема установки для испытаний приведена в справочном .
2.4.5. Испытания способом селективного отбора пробного газа проводят в следующем порядке:
подают в полость соединения пробный газ;
подключают камеру к течеискателю через селективно проницаемый по пробному газу элемент;
о негерметичности соединения судят по количеству продиффундировавшего через элемент пробного газа.
Рекомендуемая схема установки испытания приведена в справочном .
2.4.6. При испытаниях способом обдува скорость движения обдувателя по стыку соединения не должна быть выше 1,5 мм/с.
2.4.7. При испытаниях способом щупа скорость движения щупа по стыку соединения не должна выходить за пределы диапазона 2 … 5 мм/с, если пробным газом является гелий, и 0,5 … 2 мм/с, если пробным газом является аргон.
2.4.8. Порог чувствительности течеискательной аппаратуры — по ГОСТ 24054-80.
Примечание. Порог чувствительности установки, осуществляющей конкретный способ, может существенно отличаться от порога чувствительности аппаратуры. Так, при осуществлении способа накопления порог чувствительности установки на несколько порядков выше, чем у включенной в эту установку течеискательной аппаратуры, а при осуществлении способа щупа — на несколько порядков ниже.
2.4.9. Градуировку масс-спектрометрических течеискателей проводят с помощью диффузионной гелиевой течи типа «Гелит» в соответствии с описанием и инструкцией по эксплуатации, прилагаемым к каждому образцу течи. В результате градуировки определяют цену деления шкалы (S) выходного прибора течеискателя по формуле
,
где Q — поток гелия от течи «Гелит»;
a — установившийся отсчет течеискателя от течи «Гелит»;
aф — отсчет течеискателя, обусловленный фоновым гелием.
2.5. Галогенный метод
2.5.1. Метод осуществляется способами обдува и щупа.
2.5.2. Описание способов — по ГОСТ 24054-80.
2.5.3. Значения порога чувствительности течеискательной аппаратуры — по ГОСТ 24054-80.
2.5.4. Обдув стыка соединения рекомендуется начинать не чистым галогеносодержащим газом, а смесью его с воздухом.
2.5.5. Помещение, в котором производятся испытания галогенным методом, должно иметь приточно-вытяжную вентиляцию. Содержание галогенов в нем не должно превышать 10-4 %.
2.5.6. При испытаниях способом обдува применяются течеискатели с вакуумным датчиком, способом щупа — с атмосферным датчиком.
2.5.7. Градуировку течеискателей с вакуумным датчиком проводят одним из следующих способов:
по изменению парциального давления пробного газа, для чего во внутреннюю полость соединения через натекатель вводится пробный газ и связанное с этим изменение показаний течеискателя сравнивается с изменением давления, фиксируемого манометром;
по потоку пробного газа через тарированную диафрагму.
Примечание. Первый способ рекомендуется для соединений, откачиваемых для давлений менее 0,1 Па, второй — для давлений более 0,1 Па.
2.5.8. Градуировку течеискателей с атмосферным датчиком следует производить с помощью галогенной течи «Галот» в соответствии с описанием и инструкцией по эксплуатации, прилагаемым к каждому образцу течи. В результате градуировки определяется цена деления (Sf) шкалы выходного прибора течеискателя по формуле
,
где Qf — поток из галогенной течи;
af — сигнал течеискателя от этой течи.
Примечание. В связи с тем, что от длительно действующих порций галогенов датчик может потерять чувствительность, необходима периодическая проверка его начального тока. Для восстановления чувствительности датчика необходима его длительная тренировка при повышенном накале эмиттера и давлении чистого воздуха 10 Па.
ПРИЛОЖЕНИЕ 1
Справочное
РАСЧЕТНЫЕ ФОРМУЛЫ И НОМОГРАММЫ ДЛЯ ИСПЫТАНИЙ СОЕДИНЕНИЙ ТРУБОПРОВОДОВ НА ГЕРМЕТИЧНОСТЬ
1. Формулы для оценки допустимого давления при испытаниях компрессионным способом манометрического метода
где
;
.
На приведен график, позволяющий находить область применимости расчетных . На приведены номограммы, позволяющие графически определить допустимое падение давления сжатого воздуха.
Пример. Испытаниям на герметичность должен подвергаться участок трубопровода, включающий фланцевое соединение. Объем внутренней полости соединения V = 10-3 м3. Ранее соединение испытывалось компрессионным способом гидростатического метода. Порог чувствительности установки, реализующей этот способ, В = 10-4 Вт. Предполагается испытывать соединение путем опрессовки его сжатым воздухом. Пробное давление сжатого воздуха Р = 5×105 Па, температура Т = 293 К, динамический коэффициент вязкости воздуха h = hа = 1,9×10-5 Па×с, универсальная газовая постоянная R = 8314
, атмосферное давление Ра = 105 Па, продолжительность испытаний Dt = 0,5 ч (1800 с).
Вычисляем P1 и Р2
Па,
.
Так как Р = 5×105 Па > 3,6×105 Па, то расчет ведем по
Па.
Таким образом, соединение считается герметичным, если за время испытаний падение давления воздуха не превысит 4,3 × 103 Па (» 0,04 кгс/см2).
2. Формулы для оценки продолжительности испытаний пузырьковым методом
На приведены графики, позволяющие определять продолжительность испытаний одного соединения (при N = 1, r = 0,5 мм).
Пример. Участок трубопровода, содержащий фланцевое соединение, подлежит испытаниям на герметичность способом обмыливания. Порог чувствительности способа B = 10-6 Вт. Радиус пузырька, уверенно регистрируемого при контроле соединения, r = 0,5 мм (5×10-4 м). В трубопровод подается сжатый воздух под давлением Р = 2×105 Па.
Вычисляем Р1 и Р2
Па,
.
Так как 8,7×103 Па < Р = 2×105 Пa < 106 Па, то расчет ведем по
с.
Таким образом, продолжительность проверки одного соединения должна быть не меньше 30 с.
Перечень обозначений физических величии
|
Обозначение |
Наименование |
|
V |
Объем внутренней полости соединения |
|
Рa |
Атмосферное давление |
|
DР |
Изменение давления пробного газа за время замера |
|
В |
Поток атмосферного воздуха через стык вакуумированного изделия |
|
ma |
Молекулярная масса воздуха |
|
ha |
Динамический коэффициент вязкости воздуха |
|
R |
Универсальная газовая постоянная |
|
Т |
Абсолютная температура газа |
|
Dt |
Продолжительность испытаний |
|
P |
Давление пробного газа |
|
h |
Динамический коэффициент вязкости пробного газа |
|
m |
Молекулярная масса пробного газа |
|
r |
Радиус пузырька |
|
N |
Число пузырьков, регистрируемых за время замера |
Области применимости расчетных формул
Черт. 1
Номограмма для расчета по
Черт. 2
Номограмма для расчета по

Черт. 3
Номограмма для расчета по

Черт. 4
Зависимости продолжительности испытаний пузырьковым методом Dt от потока В и давления Р, рассчитанные по формулам: 4 (а); 5 (б); 6 (в) при N = 1 и r = 0,5 мм
Черт. 5
ПРИЛОЖЕНИЕ 2
Справочное
РЕКОМЕНДУЕМЫЕ СХЕМЫ УСТАНОВОК
Схема установки для испытаний на герметичность способом сравнения с потоком от калиброванной течи

Черт. 1
1, 10 — вакуум насосы; 3, 5, 7, 9, 11 — вентили; 2, 4 – вакуумметры; 6 — испытываемое соединение; 8 — калиброванная течь
Схема установки испытаний на герметичность способом вакуумной камеры масс-спектрометрического метода

Черт. 2
1 — масс-спектрометрический течеискатель; 2, 3, 5, 8, 10 — вентили; 4 — испытываемое соединение; 6 — вакуумная камера; 7, 11 — вакуумметры; 9, 12, 18 — вакуумные насосы
Схема для испытаний на герметичность способом опрессовки в камере масс-спектрометрического метода

Черт. 3
1 — масс-спектрометрический течеискатель; 2, 3, 6, 8, 10 — вентили; 5 — испытываемое соединение; 7, 11 — вакуумметры; 9, 12, 13 — вакуумные насосы
Схема установки для испытаний на герметичность способом накопления масс-спектрометрического метода

Черт. 4
1 — течеискатель; 2, 3, 6, 7, 8 и 12 клапаны; 4 — калиброванная течь; 5 — испытываемые соединения; 9 — цеолитовый насос; 10 — манометрический преобразователь; 11 — вакуумный насос
Схема установки для испытаний на герметичность способом селективного отбора пробного газа масс-спектрометрического метода

Черт. 5
1 — масс-спектрометрический течеискатель; 2 — селективно-проницаемый элемент; 3 — испытываемое соединение; 4 — испытательная камера; 5 – вентили
СОДЕРЖАНИЕ
|
|





