
ГОСУДАРСТВЕННЫЙ СТАНДАРТ СОЮЗА ССР
ПЛАСТМАССЫ
И ПЛЕНКИ ПОЛИМЕРНЫЕ
МЕТОДЫ ОПРЕДЕЛЕНИЯ ПОВЕРХНОСТНЫХ
ЗАРЯДОВ ЭЛЕКТРЕТОВ
ГОСТ 25209-82
ГОСУДАРСТВЕННЫЙ КОМИТЕТ СССР ПО СТАНДАРТАМ
Москва
РАЗРАБОТАН Министерством химической промышленности
ИСПОЛНИТЕЛИ
Г.И. Файдель, Г.А. Лущейкин, Е.Л. Татевосян, Е.Н. Дубровина
ВНЕСЕН Министерством химической промышленности
Зам. министра З.Н. Поляков
УТВЕРЖДЕН И ВВЕДЕН В ДЕЙСТВИЕ Постановлением Государственного Комитета СССР по стандартам от 8 апреля 1982 г. № 1471
ГОСУДАРСТВЕННЫЙ СТАНДАРТ СОЮЗА ССР
|
ПЛАСТМАССЫ И ПЛЕНКИ ПОЛИМЕРНЫЕ Методы определения поверхностных зарядов электретов Plastics and polymer films. Methods for the |
ГОСТ |
Постановлением Государственного комитета СССР по стандартам от 8 апреля 1982 г. № 1471 срок действия установлен
с 01.07. 1983 г.
до 01.07. 1988 г.
Несоблюдение стандарта преследуется по закону
Настоящий стандарт распространяется на пластмассы и полимерные пленки и устанавливает три метода определения поверхностных зарядов электретов:
подъемного электрода (I) — для определения поверхностной плотности зарядов и потенциала поверхности электрета;
компенсационный (II) — для определения потенциала поверхности и поверхностной плотности зарядов электретов полимерных пленок;
термостимулированной деполяризации (III) — для определения плотности остаточного заряда, времени релаксации.
1. ОТБОР ОБРАЗЦОВ
1.1. Для изготовления образцов электретов используют образцы пластмасс и полимерных пленок большего размера, чем предполагаемые образцы электретов.
1.2. Метод изготовления образцов из пластмасс и полимерных пленок, тип образцов электретов и размеры их должны быть указаны в нормативно-технической документации на конкретную продукцию в соответствии с табл. .
Таблица 1
|
Тип образца |
Размеры образцов электретов, мм |
Метод изготовления образцов из пластмасс и полимерных пленок |
|||
|
Диаметр |
Толщина |
||||
|
I |
1 |
50,0 ± 0,5 |
1,0 — 3,0 |
Литьем под давлением, прессованием, механической обработкой, заливкой и отверждением в форме |
|
|
2 |
25,0 ± 0,5 |
0,5 — 3,0 |
|||
|
3 |
25,0 ± 0,5 |
0,1 — 1,0 |
Вырезкой, вырубкой из пленок, нанесением с одной стороны образца электропроводящего покрытия, напылением металла в вакууме не менее 0,015 Па (10-4 мм рт. ст.), нанесением электропроводящих красок, клеев |
||
|
II |
4 |
25,0 ± 0,5 |
0,002 — 0,100 |
Вырезкой, вырубкой из пленок, нанесением с одной стороны образца электропроводящего покрытия, напылением металла в вакууме не менее 0,015 Па (10-4 мм рт. ст.), нанесением электропроводящих красок, клеев |
|
|
5 |
10,0 ± 0,5 |
0,002 — 0,100 |
|||
|
6 |
5,0 ± 0,2 |
0,002 — 0,050 |
|||
|
Диаметр электропроводящего покрытия должен быть равен диаметру электрода. При использовании установки с заземленным неподвижным электродом диаметр электропроводящего покрытия может быть больше диаметра вибрирующего электрода |
|||||
|
III |
1 |
50,0 ± 0,5 |
1,0 — 3,0 |
Литьем под давлением, прессованием, механической обработкой, заливкой и отверждением в форме, нанесением с обеих сторон образца электропроводящих покрытий, напылением металла в вакууме не менее 0,015 Па (10-4 мм рт. ст.), электропроводящих красок и клеев, наклеиванием или притиранием на вазелиновом масле алюминиевой фольги. Диаметр электропроводящего покрытия должен быть равен диаметру электрода |
|
|
7 |
29,0 ± 1,0 |
0,1 — 0,5 |
|||
|
8 |
29,0 ± 1,0 |
0,002 — 0,100 |
Вырезкой, вырубкой из пленок, нанесением с обеих сторон электропроводящего покрытия, напылением металла в вакууме не менее 0,015 Па (10-4 мм рт. ст.), электропроводящих красок, клеев. Диаметр электропроводящего покрытия должен быть равен диаметру электрода |
||
|
9 |
15,0 ± 0,5 |
0,002 — 0,100 |
|||
1.3. Образцы не должны иметь вздутий, трещин, сколов, раковин и других видимых дефектов.
1.4. Количество образцов для испытаний должно быть не менее трех, если в нормативно-технической документации на конкретную продукцию нет иных указаний.
1.5. Образцы электретов хранят в коробках, штативах, кассетах, при этом они не должны касаться заряженной стороной друг друга и других предметов. Образцы хранят по ГОСТ 6433.1-71 при температуре (15 — 35) °С и относительной влажности воздуха 45 — 75 % не менее 1 ч после электризации, если в нормативно-технической документации на конкретную продукцию нет иных указаний.
2. ПОДГОТОВКА К ИСПЫТАНИЮ
2.1. Перед испытанием образцы нормализуют и кондиционируют по ГОСТ 6433.1-71 при температуре (15 — 35) °С и относительной влажности воздуха 45 — 75 % не менее 24 ч, если в нормативно-технической документации на конкретную продукцию нет иных указаний.
2.2. Толщину образца измеряют по ГОСТ 6433.2-71 не менее чем в пяти точках по всей площади образца.
Погрешность измерения образцов должна быть при толщине:
менее 0,02 — не более 0,0002 мм;
более 0,02 — не более 0,0005 мм;
более 0,1 — не более 0,01 мм.
За результат принимают среднее арифметическое всех измерений.
2.3. Диаметр и толщину электрода для каждого типа образца в зависимости от метода определения выбирают по табл. .
Таблица 2
|
Тип образца |
Размеры электрода, мм |
||
|
Диаметр |
Толщина, не менее |
||
|
I |
1 |
50,0 ± 0,1 |
2,0 |
|
|
2,3 |
25,0 ± 0,1 |
|
|
II |
4 |
25,0 ± 0,1 |
5,0 — для неподвижного |
|
|
5 |
10,0 ± 0,1 |
1,0 — для вибрирующего |
|
|
6 |
5,0 ± 0,1 |
|
|
III |
1 |
40,0 ± 0,1 |
|
|
|
7,8 |
25,0 ± 0,1 |
1,5 |
|
|
9 |
10,0 ± 0,1 |
|
Электроды изготовляют из латуни, бронзы, меди, нержавеющей стали или из стали, покрытой хромом или никелем.
Рабочие поверхности электродов должны иметь шероховатость не более Ra 1,0 мкм по ГОСТ 2789-73.
Изолированный электрод должен находиться на диэлектрической подставке из фторопласта-4 по ГОСТ 10007-80, полистирола по ГОСТ 20282-74 или другого материала, обеспечивающего сопротивление изоляции не менее 1013 Ом.
3. МЕТОД ПОДЪЕМНОГО ЭЛЕКТРОДА
3.1. Сущность метода
Сущность метода заключается в измерении напряжения на конденсаторе, заряженном электрическим полем электрета.
3.2. Аппаратура, приборы
3.2.1. Установка, схема которой приведена на черт. , состоит из электродного устройства, обеспечивающего параллельное перемещение одного из электродов относительно другого вверх (вниз); верхний электрод поднимают до отсутствия изменения показаний вольтметра.
1 — нижний неподвижный электрод; 2 — образец электрета; 3 — верхний подвижной электрод; 4 — изолятор; 5 — шток; 6 — штатив; 7 — ручка для подъема электрода; 8 — переключатель; 9 — конденсатор; 10 — вольтметр-электрометр
Черт. 1
Допускаемое отклонение оси одного из электродов относительно оси другого не должно превышать 0,2 мм.
Размеры электродов должны соответствовать указанным в табл. ; изолированного измерительного электрода, соединенного с вольтметром и конденсатором короткими, гибкими экранированными проводами по ГОСТ 11326.0-78 с сопротивлением изоляции не менее 1013 Ом;
конденсатора с воздушной, слюдяной, полистирольной и фторопластовой (фторопласт-4) изоляцией, обеспечивающей сопротивление изоляции не менее 1013 Ом;
вольтметра-электрометра или электрометрического усилителя по ГОСТ 16185-82, обеспечивающего измерение напряжения на конденсаторе с погрешностью не более 5 % измеренной величины с входным сопротивлением более 1011 Ом при емкости более 104 пФ и более 1013 Ом при емкости более или равной 100 пФ.
3.2.2. Сопротивление изоляции измерительной цепи при разомкнутых электродах должно быть не менее 103 Ом.
Для проверки изоляции разъединяют электроды и рукой или от небольшой электрической батареи 1,5-4,5 В заряжают конденсатор, подавая напряжение на электроды. По показаниям вольтметра следят за скоростью падения напряжения, уменьшение которого не должно превышать 5 % от начального значения через 1 мин после заряжения.
Если емкость конденсатора менее 1000 пФ, то измеряют общую емкость «С» конденсатора, соединительных проводов, электродов с погрешностью не более 1 %.
3.2.3. Перечень используемых приборов приведен в рекомендуемом .
3.3. Проведение испытания
3.3.1. Испытания проводят в комнатных условиях по ГОСТ 6433.1-71.
Образец помещают на нижний электрод электродного устройства рабочей стороной кверху при поднятом верхнем электроде.
Верхний электрод опускают на образец, замыкают на землю и отключают от земли, после чего верхний электрод поднимают.
Показания на вольтметре отсчитывают в течение 15 с после подъема электрода. При использовании обеих сторон электрета сначала определение проводят на одной стороне, потом на противоположной.
3.4.1. Поверхностную плотность зарядов электрета (sэфф) в Кл/м2 вычисляют по формуле
,
где V — напряжение на конденсаторе, В;
С — емкость конденсатора, Ф;
S — площадь электрода, м2.
Результат округляют до трех значащих цифр.
Погрешность вычисленного значения должна быть не более 8 %.
3.4.2. Потенциал поверхности электрета (Vэ) в Вольтах вычисляют по формуле
,
где sэфф — поверхностная плотность зарядов, Кл/м2;
e0 — электрическая постоянная Ф/м, равная 8,85·10-12;
e — диэлектрическая проницаемость, определенная по ГОСТ 22372-77;
s — толщина образца, мм.
3.4.3. За результат определения принимают среднее арифметическое всех измерений, вычисленное до двух значащих цифр.
3.5. Результаты испытания оформляют протоколом, в котором указывают:
наименование и марку материала;
метод изготовления образцов электретов, их тип и количество;
маркировку стороны образца, на которой проводят измерения, в случае измерения поверхностной плотности зарядов с обеих сторон;
поверхностную плотность зарядов и потенциал поверхности электрета каждого образца и их среднее арифметическое значение;
дату определения;
обозначение настоящего стандарта.
4. МЕТОД КОМПЕНСАЦИОННЫЙ
4.1. Сущность метода
Сущность метода заключается в измерении напряжения, подаваемого на электроды для компенсации электрического поля, индуцируемого электретом в зазоре электрет — подвижный вибрирующий электрод.
4.2. Аппаратура, приборы
1 — изолятор; 2 — основание штатива; 3 — неподвижный электрод; 4 — электрет; 5 — корпус кассеты; 6 — стопорный винт; 7 — стойка штатива; 8 — пружина; 9 — катушка индуктивности; 10 — экран катушки индуктивности; 11 — генератор; 12 — осциллографический индикатор нуля; 13 — источник постоянного напряжения; 14 — вольтметр; 15 — переключатель полярности; 16 — вибрирующий электрод
Черт. 2
4.2.1. Установка, схема которой приведена на черт. , состоит из электродного устройства, включающего вибрирующий электрод, укрепленный на штативе напротив неподвижного электрода, и обеспечивающего параллельное перемещение одного из электродов вверх (вниз).
Для обеспечения вибрации подвижного электрода его укрепляют на пружине вблизи катушки индуктивности от реле, динамического громкоговорителя.
Наряду с заземлением подвижного электрода, как это указано на черт. , при испытании пленки со сплошным односторонним металлизированным покрытием допускается использовать схему с заземлением неподвижного электрода.
Размеры электродов должны соответствовать указанным в табл. ; генератора синусоидального напряжения звукового диапазона частот.
Входное напряжение, подаваемое на катушку индуктивности, обеспечивающее вибрацию подвижного электрода, должно быть такой величины, при которой на выходе из электродного устройства при отсутствии компенсирующего напряжения и потенциале поверхности электрета около 30 В на электродах возникает разность потенциалов около 0,1 мкВ;
источника постоянного напряжения любого типа, выходное напряжение которого должно плавно изменяться;
вольтметра, обеспечивающего измерение компенсирующего напряжения с погрешностью не более 0,1 %; могут быть использованы вольтметры, входящие в комплект источника постоянного напряжения;
индикатора осциллографического, обеспечивающего измерение переменного напряжения на выходе электродного устройства с чувствительностью, позволяющей определять потенциал поверхности электрета с погрешностью не более 0,1 %.
4.2.2. Перечень используемых приборов приведен в рекомендуемом .
4.3. Проведение испытания
Испытания проводят в комнатных условиях по ГОСТ 6433.1-71.
Образец электрета помещают между электродами так, чтобы сторона электрета с электропроводящим покрытием контактировала с неподвижным электродом. Вибрирующий электрод пододвигают на расстояние 0,2 — 1,0 мм к заряженной поверхности электрета.
Изменяя величину и полярность компенсирующего напряжения, добиваются нулевого показания на осциллографическом индикаторе. Записывают величину компенсирующего напряжения — потенциала поверхности электрета.
4.4. Обработка результатов
4.4.1. Поверхностную плотность зарядов электрета (sэфф) в Кл/м2 вычисляют по формуле
,
где e0, e, Vэ, s — по п. .
Погрешность вычисленного значения (Vэ) должна быть не более 0,2 %.
4.4.2. За результат определения принимают среднее арифметическое всех измерений, вычисленных до двух значащих цифр.
4.4.3. Результаты определений оформляют протоколом как указано в п. , при этом маркировку измеряемой стороны образца не проводят.
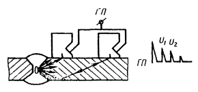
5. МЕТОД ТЕРМОСТИМУЛИРОВАННОЙ ДЕПОЛЯРИЗАЦИИ
(электретно-термический анализ)
5.1. Сущность метода
Сущность метода заключается в измерении тока термостимулированной деполяризации электрета при его нагревании с постоянной скоростью.
5.2. Аппаратура, приборы
5.2.1. Установка, схема которой приведена на черт. , состоит из двух электродов, укрепленных на штативе;
термокамеры, обеспечивающей равномерный нагрев в интервале температур (20 — 250) °С;
Изоляцию электродов от земли и корпуса термокамеры осуществляют с применением термостойких диэлектриков (фторопласт-4, керамика), обеспечивающих сопротивление изоляции не менее 1012 Ом при температуре окончания процесса термодеполяризации;
автоматического устройства для программируемого повышения температуры в термокамере со скоростью от 0,5 до 3,0 °С в 1 мин с погрешностью не более 10 % от заданной скорости;
измерителя тока, обеспечивающего измерение тока термостимулированной деполяризации с погрешностью не более 5 % от измеряемой величины 1·10-12 — 1·10-5 А.
Измеритель тока должен иметь выход на самопишущий прибор. Входное сопротивление его должно быть ниже сопротивления образца не менее чем в 20 раз во всем интервале температур;
самопишущего прибора, обеспечивающего запись во времени тока (с выхода измерителя тока) и напряжения термопреобразователя сопротивления (ЭДС термопары) в процессе измерения.
1 — корпус термокамеры; 2 — обогрев термокамеры; 3 — электроды; 4 — термопара; 5 — автоматический программатор температуры; 6 — двухкоординатный самопишущий прибор; 7 — измеритель тока; 8 — электрет
Черт. 3
Допускается использовать два самопишущих прибора, один для записи изменения тока, другой для записи изменения температуры во времени;
термопреобразователя сопротивления (далее термопара) по ГОСТ 6651-78 для измерения температуры во всем заданном интервале температур. Рабочий спай термопары монтируется в одном из электродов. Термопара должна быть изолирована электрически от земли и от электродов.
5.2.2. Перечень используемых приборов приведен в рекомендуемом .
5.3. Проведение испытания
Испытания проводят при комнатных условиях по ГОСТ 6433.1-71.
Образец электрета зажимают между электродами, которые помещают в термокамеру, обеспечивающую равномерный нагрев в интервале температур (20 — 250) °С. С помощью программирующего устройства задают нужную скорость повышения температуры.
Ток термостимулированной деполяризации измеряют во времени и записывают на самопишущем приборе в зависимости от температуры (ЭДС термопары). Получают термограмму зависимости тока термодеполяризации от температуры (черт. ).
Черт. 4
5.4. Обработка результатов
5.4.1. Площадь под кривой термограммы (S0) в мм2 вычисляют по черт. .
5.4.2. Остаточный заряд электрета (Qocт) в Кл вычисляют по формуле
,
где S0 — площадь под кривой термограммы, мм2;
М 1 — масштаб по оси абсцисс, К/мм;
М2 — масштаб по оси ординат, А/мм;
v — скорость повышения температуры, К/с.
Результат округляют до трех значащих цифр.
5.4.3. Плотность остаточного заряда электрета (sост) в Кл/м2 вычисляют по формуле
,
где Qост — остаточный заряд электрета, Кл;
S1 — площадь электрода, м2.
Результат округляют до трех значащих цифр. Погрешность вычисленного значения должна быть не более 6 %.
5.4.4. Заряд, оставшийся в момент достижения максимума тока, (Qм) в Кл вычисляют по формуле
,
где S2 — площадь под кривой термограммы в области температур выше температуры максимума, мм2;
M1, М2, v — по п. .
5.4.5. Время релаксации заряда (tм) в секундах при температуре максимума вычисляют по формуле
,
где Iм — максимальный ток, А;
Qм — по п. .
Результат округляют до трех значащих цифр.
5.4.6. Энергию активации релаксации заряда по максимуму тока (Wм) в Дж/моль вычисляют по формуле
,
где R = 8,31 — газовая постоянная, Дж/моль·К;
Тм — температура максимума тока, К;
tм, v — по п. и .
5.4.7. Энергию активации релаксации заряда по возрастанию тока (Wy) в Дж/моль вычисляют по формуле
,
где I1, I2 — ток деполяризации в области возрастания тока до достижения максимума при температурах Т1 и Т2, А;
Т1, Т2 — температура тока I1, I2 соответственно, К.
5.4.8. Минимальное время релаксации заряда в условиях эксплуатации (tэ) в с вычисляют по формуле
,
где Tэ — температура эксплуатации испытуемого материала, указанная в нормативно-технической документации, К;
W — минимальная энергия активации релаксации заряда из Wy и Wм, Дж/моль;
Т м, R — по п. и .
Результат округляют до трех значащих цифр. Погрешность вычисленного значения должна быть не более 20 %.
5.4.9. За результат t принимают среднее логарифмическое измерение на трех образцах, вычисленное до двух значащих цифр.
5.5. Результаты испытания оформляют протоколом, в котором указывают:
наименование и марку материала;
метод изготовления, тип и количество образцов электретов;
плотность остаточного заряда каждого образца электрета и их среднее арифметическое значение;
минимальное время релаксации заряда в условиях эксплуатации каждого образца электрета и их среднее логарифмическое;
дату испытания;
обозначение настоящего стандарта.
ПРИЛОЖЕНИЕ
Рекомендуемое
ПРИБОРЫ, ИСПОЛЬЗУЕМЫЕ ДЛЯ ОПРЕДЕЛЕНИЯ ПОВЕРХНОСТНЫХ ЗАРЯДОВ ЭЛЕКТРЕТОВ
1. Для метода подъемного электрода
Вольтметры-электрометры ЭД-05М, ВК 2-16, ИТН-7
Вольтметр статический С 95
2. Для метода компенсационного
Генератор ГЗ-33, ГЗ-34
Источник компенсирующего напряжения У1136
Индикатор нуля осциллографический С1-19Б
3. Для метода термостимулированной деполяризации
Измерители тока ВК 2-16, У1-6, У1-7, ЭД-05
Прибор самопишущий ПДС-021М, КСП-4, ПДП4-002, ЛКД4-003
Устройство программирующее БТП-78
Устройства электродные ЯД-2, ЯД-4
Термокамера ВТК-400
СОДЕРЖАНИЕ



