ГОСТ 25298-82
Группа Ж21
МЕЖГОСУДАРСТВЕННЫЙ СТАНДАРТ
УСТАНОВКИ КОМПАКТНЫЕ ДЛЯ ОЧИСТКИ БЫТОВЫХ
СТОЧНЫХ ВОД
Типы, основные параметры и размеры
Compact treatment plants for domestic sewage water.
Types, basic parameters and dimensions
МКС 91.140.80
ОКП 48 5910
Дата введения 1983-01-01
ИНФОРМАЦИОННЫЕ ДАННЫЕ
1. РАЗРАБОТАН И ВНЕСЕН Министерством жилищно-коммунального хозяйства РСФСР
2. УТВЕРЖДЕН И ВВЕДЕН В ДЕЙСТВИЕ Постановлением Государственного комитета СССР по делам строительства от 27.04.82 N 107
3. ВВЕДЕН ВПЕРВЫЕ
4. ССЫЛОЧНЫЕ НОРМАТИВНО-ТЕХНИЧЕСКИЕ ДОКУМЕНТЫ
|
|
|
| Обозначение НТД, на который дана ссылка
| Номер пункта
|
| ГОСТ 380-94
| 7
|
5. ИЗДАНИЕ с Изменением N 1, утвержденным в ноябре 1987 г. (ИУС 2-88)
1. Настоящий стандарт распространяется на компактные установки заводского изготовления, предназначенные для полной биологической очистки бытовых сточных вод, а также производственных сточных вод, близких по составу к бытовым, или их смесей.
При этом состав производственных сточных вод или их смесей с бытовыми должен удовлетворять требованиям, изложенным в строительных нормах и правилах по проектированию наружных сетей и сооружений канализации, утвержденных Госстроем СССР.
2. Установки подразделяют в зависимости от:
— технологического процесса — полное окисление, аэробная стабилизация активного ила;
— способа аэрации — мелко- или среднепузырчатая пневматическая, низконапорная, механическая, эжекционная.
3. Типы, основные параметры и размеры установок должны соответствовать указанным на черт.1-3 и в табл.1, 2. Отклонения от размеров не должны превышать ±20 мм.
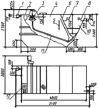
Установка КУ-12

1 — входной патрубок; 2 — лоток; 3 — аэратор; 4 — аэрационная зона; 5 — успокоительная перегородка; 6 — разделительная перегородка; 7 — скобы для погружных досок; 8 — сборные лотки с водосливами; 9 — отводной патрубок; 10 — отстойная зона; 11 — система возврата ила; 12 — решетка или решетка-дробилка
Черт.1
Установки КУТМ-30; КУТМ-60; КУТМ-120

1 — аэрационная система; 2 — подающий лоток; 3 — аэротенк; 4 — сборный лоток;
5 — эрлифт; 6 — отстойник; 7 — блок тонкослойного модуля
Черт.2
Примечание. На чертеже приведена пневматическая система аэрации.
Установка КУ-200

_________________
* Размеры для справок.
1 — аэротенк; 2 — аэрационная система; 3 — эрлифты; 4 — сборные лотки; 5 — отстойник; 6 — эрлифты плавающих веществ; 7 — аэробный стабилизатор; 8 — выпуск ила; 9 — опорожнение аэротенка; 10 — отвод очищенных вод
Черт.3
Примечание. На чертеже приведена пневматическая система аэрации.
Таблица 1
Типы, основные параметры и размеры
|
|
|
|
|
|
|
|
|
|
|
|
|
|
|
Тип
|
Произ- води- тель- ность, м
|
Метод очистки сточных вод
|
Макси- мальный расход сточ- ных вод, м
| Габаритные размеры, мм, не более
| Технологический объ- ем, м
| Число блоков тонко- слой- ных моду- лей
| Габариты блоков тонкослойных модулей, мм
| Металло- емкость, т, не более
| ||||
|
|
|
|
| высота
| длина
| ширина
| зоны аэра- ции
| зоны отс- таи- вания
| зоны аэроб- ной стаби- лиза- ции
|
|
| |
| 12
|
| 1,5
| 2750
| 5100
| 3060
| 12,0
| 3,0
| —
| —
| —
| 2,7
|
| 30
| То же
| 3,75
| 3950
| 2630
| 6330
| 29,0
| 2,5
| —
| 2
| 980х1150х2005
| 5,2
|
| 60
| "
| 7,50
| 3950
| 4630
| 6330
| 58,0
| 5,0
| —
| 4
| 980х1150х2005
| 7,5
|
| 120
| "
| 15,0
| 3950
| 8630
| 6330
| 116,0
| 10,0
| —
| 8
| 980х1150х2005
| 12,7
|
| 200
|
| 25,0
| 4200
| 13300
| 6880
| 90,0
| 35,0
| 45,0
| —
| —
| 18,2
|
Таблица 2
Основные параметры и размеры систем аэрации установок
|
|
|
|
|
|
|
|
|
|
| Тип
| Метод аэрации
| Расход воздуха, л/с
| Расход воды, л/с
| Потреб- ляемая мощность кВт, не более
| Механический аэратор
| |||
|
|
|
|
|
| диаметр, мм
| мощность электро- двигате- ля, кВт
| Число оборо- тов аэра- тора, об/мин
| Масса, кг
|
|
| —
| —
| 1,0
| 500
| 1,5
| 90
| —
|
|
| —
| —
| 1,2
| 500
| 1,5
| 150
| 220
|
| |
| 14,1
| —
| 1,5
| —
| —
| —
| —
|
| |
| 165
| —
| 2,8
| —
| —
| —
| —
|
| |
| —
| 8,5
| 1,5
| —
| —
| —
| —
|
|
| —
| —
| 2,4
| 600
| 3,0
| 90
| 300
|
| |
| 28,3
| —
| 2,0
| —
| —
| —
| —
|
| |
| 250
| —
| 3,8
| —
| —
| —
| —
|
| |
| —
| 17,0
| 3,0
| —
| —
| —
| —
|
|
| —
| —
| 3,6
| 800
| 4,5
| 90
| 500
|
| |
| 56,6
| —
| 4,0
| —
| —
| —
| —
|
| |
| 500
| —
| 6,9
| —
| —
| —
| —
|
| |
| —
| 34,0
| 6,0
| —
| —
| —
| —
|
|
| —
| —
| 4,4
| 1000
| 5,5
| 75
| 590
|
| |
| 98
| —
| 7,5
| —
| —
| —
| —
|
| |
| 850
| —
| 11,0
| —
| —
| —
| —
|
| |
| —
| 68,0
| 12,0
| —
| —
| —
| —
|
Зоны отстаивания могут располагаться с одной или двух сторон установки, а также в центральной ее части при соблюдении указанных размеров.
(Измененная редакция, Изм. N 1).
4. Установки должны изготавливаться в соответствии с требованиями настоящего стандарта и технических условий по рабочим чертежам, утвержденным в установленном порядке.
5. Все узлы установки и вспомогательное оборудование следует размещать в соответствии с проектом привязки установок.
6. Установки располагаются на открытом воздухе в районах с расчетной зимней температурой наружного воздуха не ниже минус 30 °С, в отапливаемых помещениях — в районах с более низкими температурами.
7. Для изготовления установок необходимо применять углеродистую сталь обыкновенного качества по ГОСТ 380.
8. Поставка установок заводами-изготовителями должна осуществляться в комплекте с аэрационными системами, включая воздуходувки (при пневматической аэрации), вентиляторы (при низконапорной аэрации), насосы и эжекторы (при эжекционной аэрации) или привод аэратора (при механической аэрации).
Допускается поставка установок в разобранном виде (в объемных элементах, панелях) с комплектацией всеми элементами внутреннего устройства.
(Измененная редакция, Изм. N 1).
9. Бытовые сточные воды или смесь бытовых и производственных сточных вод при поступлении на установки очистки не должны иметь:
—
выше 375 мг/л;
— содержание взвешенных веществ более 325 мг/л;
— температуру ниже 6 °С.
При больших значениях
следует пропорционально снижать производительность установок по сточным водам
.
10. Очищенные сточные воды должны иметь:
—
не выше 15 мг/л;
— содержание взвешенных веществ не более 20 мг/л.
11. Периодичность удаления избыточного активного ила в зависимости от действительного загрязнения сточных вод и климатических условий уточняется в процессе эксплуатации установки в соответствии с ее паспортом и инструкцией по эксплуатации.
Текст документа сверен по:
официальное издание
Водоочистка. Средства и методы: Cб. ГОСТов.-
М.: ИПК Издательство стандартов, 2003
Предоставлено компанией .