ГОСТ 25609-83 от 01-01-1984 г Материалы полимерные рулонные и плиточные для полов Метод определения показателя теплоус

Автор: | 17.02.2015

ГОСТ 25609-83

Группа Ж19


ГОСУДАРСТВЕННЫЙ СТАНДАРТ СОЮЗА ССР


Материалы полимерные рулонные и плиточные для полов

Метод определения показателя теплоусвоения

Soft and tile inaterials for floor covering.

Procedure for determining the heat absorption value


ОКП 57 7000                                         

     Дата введения 1984-01-01

РАЗРАБОТАН  Научно-исследовательским институтом строительной физики НИИСФ Госстроя СССР

Центральным  научно-исследовательским и проектно-экспериментальным институтом промышленных зданий и сооружений (ЦНИИПромзданий) Госстроя СССР

Государственным  комитетом по гражданскому строительству и архитектуре при Госстрое СССР

ИСПОЛНИТЕЛИ

В.Р.Хлевчук,  канд. техн. наук (руководитель темы); А.И.Фомичев, канд. техн. наук; А.И.Фарафонтов; Л.Л.Сафрончик; М.П.Кораблин

ВНЕСЕН  Научно-исследовательским институтом строительной физики (НИИСФ) Госстроя СССР

Директор  В.А.Дроздов

УТВЕРЖДЕН  И ВВЕДЕН В ДЕЙСТВИЕ Постановлением Государственного комитета СССР по делам строительства от 27 декабря 1982 г. N 305     

Настоящий  стандарт распространяется на все виды одно- и многослойных полимерных рулонных и плиточных материалов (далее — материалов), предназначенных для устройств полов в помещениях жилых и общественных зданий, и устанавливает метод определения показателя теплоусвоения поверхности пола из этих материалов в лабораторных условиях и в условиях их эксплуатации.

Сущность  метода заключается в определении плотности потока тепла, проходящего через образец материала в течение заданного времени при постоянной разности температур нагревателя и поверхности образца (пола).

Применение  указанного метода должно предусматриваться в стандартах или технических условиях, устанавливающих технические требования к полимерным материалам для полов.

1. Отбор образцов


1.1.  Порядок отбора образцов, подлежащих испытанию, и их число устанавливают стандартами или техническими условиями на конкретные материалы. Если этими документами не установлено число образцов, то определение показателя теплоусвоения проводят не менее чем на трех образцах.

1.2.  Образец должен иметь форму пластины размерами 1,01,0 м. При испытании плиточных материалов используют фрагмент покрытия пола размером 1,01,0 м, изготовленный из плиточных материалов.     

2. Аппаратура и материалы

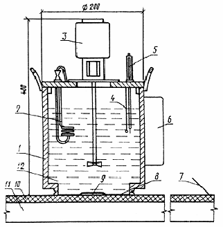
       2.1. Для определения показателя теплоусвоения применяют прибор, материалы, измерительную аппаратуру, указанные на чертеже.



1 — сосуд цилиндрической формы; 2 — электронагреватель трубчатый; 3 — электромешалка; 4, 7 — термопары;

 5 — электроконтактный термометр; 6 — блок управления; 8 — дно из полиэтиленовой или

поливинилхлоридной пленки; 9 — тепломер (измеритель теплового потока);

 10 — испытуемый образец;  11 — бетонная плита; 12 — дистиллированная вода

2.2.  Прибор состоит из: сосуда из органического стекла диаметром 200 мм с дном из полиэтиленовой или полиамидной пленки толщиной 0,1 мм; трубчатого электронагревателя (ТЭН) мощностью 500-2000 Вт; электромешалки (мощность электродвигателя 20-60 Вт, частота вращения 1300-2600 об/мин); электроконтактного термометра по ГОСТ 9871-75; терморегулятора; двух стандартных хромель-алюмелевых (ТХА) или хромель-копелевых (ТХК) термопар по ГОСТ 6616-74 (градуировка по ГОСТ 3044-77), соединенных последовательно так, чтобы образовать дифференциальную термопару (допускается применение нестандартных медь-константановых термопар при условии их индивидуальной градуировки в установленном порядке).

Измерителя  теплового потока (тепломера) ИТП-11 по ГОСТ 25380-82, толщиной не более 1,5 мм.

Для  термостатирования воды допускается использовать в качестве устройства серийный блок терморегулирования от жидкостного термостата СЖМЛ-19/2,5-И1.

2.2.1.  В сосуд заливают дистиллированную воду по ГОСТ 6709-72 (масса воды не менее 4 кг). Давление прибора с водой на испытываемый образец должно составлять (7,0±0,5) кПа [(0,07±0,005) кгс/см].

    

 

2.2.2.  Испытания образцов проводят на бетонной плите размерами 1,01,00,05 м, изготовленной из бетона плотностью ±100 кг/м в сухом состоянии. Бетон должен иметь влажность не более 2%. Отклонение поверхности плиты от плоскостности не должно превышать ±1 мм на участке длиной 200 мм по горизонтали.

  

   

2.2.3.  Теплоизоляционная подставка размерами 0,30,30,05 м из полистирольного пенопласта плотностью 40 кг/м по ГОСТ 15588-70.

  

   

2.2.4.  Измерительная аппаратура:

милливольтметр  класса точности 1,0 с пределами измерений 0-30-75 мВ или 0-20-100 мВ по ГОСТ 8711-78;

потенциометр  низкоомный класса точности 0,015 и верхним пределом измерений 20 мВ. Допускается использовать потенциометр класса точности 0,05 с пределами измерений 0-20-50 мВ по ГОСТ 9245-79;

лабораторный  термометр ТЛ от 0 до 55°С по ГОСТ 215-73;

секундомер  по ГОСТ 5072-79.

2.2.5.  Поверку работы прибора производят не реже одного раза в год на стандартном образце размерами 0,60,6 0,05 м из органического стекла по ГОСТ 17622-72, аттестованном в установленном порядке.

Допускаемое  расхождение между значениями показателя теплоусвоения, полученными на одном и том же образце с перерывом между испытаниями не менее 2 ч (без смещения термопары, тепломера и образца со своих мест), — не более 5%.     

3. Подготовка к испытаниям

3.1.  Испытания образцов следует проводить в помещении, изолированном от непосредственного воздействия солнечной радиации, с температурой воздуха (20±5)°С и относительной влажностью (60±10)% после предварительного выдерживания их в этих условиях не менее 3 ч. Образец располагают вне зоны действия нагревательных приборов.

3.2.  Образец материала укладывают на бетонную плиту, а в центре образца помещают тепломер, соединенный с милливольтметром.

3.3.  На расстоянии 40 см от центра образца на его поверхности (в любом месте) с помощью пластилина закрепляют одну из термопар дифференциальной термопары, присоединенной к потенциометру.

3.4.  На электроконтактном термометре устанавливают (задают) величину температуры, превышающую температуру поверхности образца на 15°С.

3.5.  Прибор устанавливают на теплоизоляционную подставку и прогревают до заданной температуры. Температуру воды в приборе определяют по контрольному термометру. Перепад температуры между поверхностью испытываемого образца и температурой воды в приборе контролируют потенциометром.

3.6.  Измерения следует начинать только после стабилизации теплового режима прибора, что определяется по неизменности в течение 10 мин показаний потенциометра.     

4. Проведение испытаний


4.1.  Для проведения измерений прибор переставляют с теплоизоляционной подставки на испытываемый образец с тепломером и одновременно включают секундомер. Показания милливольтметра снимают последовательно через 3, 15, 30, 60 с и затем через каждую минуту в течение 11 мин (всего фиксируется 15 значений).

4.2.  Испытание следующего образца на одной и той же плите производят не ранее чем через 2 ч после окончания предыдущего испытания.     

5. Обработка результатов

5.1.  Показатель теплоусвоения в Вт/(мK) [ккал/(м·ч·°С)] вычисляют по формуле

 

где  K — градуировочный коэффициент прибора, Вт/(мK · мВ) [ккал/(мчмВ)];


— показания милливольтметра, снятые последовательно в соответствии с п. 4.1,

мВ.

5.2.  Градуировочный коэффициент прибора K определяют из формулы по результатам измерений на стандартном образце (см. п. 2.1.6).

5.3.  Промежуточные вычисления производят с точностью до 0,001. Окончательный результат округляют до 0,02.

5.4.  За показатель теплоусвоения испытываемого материала принимают среднее арифметическое значение результатов испытания трех образцов.

5.5.  Результаты измерений записывают в протокол по форме, указанной в рекомендуемом приложении.

Приложение

Рекомендуемое


Протокол записи результатов измерений

Наименование  материала         .         .         .         .         .         .         .         .           .           .

Наименование  нормативно-технической документации        .         .         .           .            .

Изготовитель         .          .         .          .          .         .         .         .        .         .           .            .

Номер  партии       .          .         .          .          .         .         .         .        .         .           .            .

Число  образцов, взятых для испытаний       .         .         .         .        .         .           .           .

Градуировочный  коэффициент прибора K   .        .          .         .        .         .           .           .

       Вт/(мK · мВ).

Условия  испытаний:

температура          .           .           .             .              .             .            .            .           .          °С

влажность             .           .            .             .             .             .            .             .          .           %





Порядковый номер


Показания милливольтметра, мВ


измерения


I образец


II образец


III образец


  

  

  

  

  

  

  

  

Подпись  оператора     .         .        .        .         .          .          .         .          .         .

Дата  проведения измерений         .        .          .          .          .         .          .         .



Текст документа сверен по:

официальное издание

Госстрой СССР —      

М.: Издательство стандартов, 1983

Предоставлено компанией .