
ГОСУДАРСТВЕННЫЙ СТАНДАРТ СОЮЗА ССР
МАШИНЫ ЗЕМЛЕРОЙНЫЕ.
АВТОГРЕЙДЕРЫ
ТЕРМИНЫ, ОПРЕДЕЛЕНИЯ И ТЕХНИЧЕСКАЯ ХАРАКТЕРИСТИКА
ДЛЯ КОММЕРЧЕСКОЙ ДОКУМЕНТАЦИИ
ГОСТ 27535-87
(ИСО 7134-85)
ГОСУДАРСТВЕННЫЙ КОМИТЕТ СССР ПО СТАНДАРТАМ
Москва
ГОСУДАРСТВЕННЫЙ СТАНДАРТ СОЮЗА ССР
|
МАШИНЫ ЗЕМЛЕРОЙНЫЕ. АВТОГРЕЙДЕРЫ Термины, определения и техническая характеристика для коммерческой документации Earth-moving machinery. Graders. Terminology and commercial specifications |
ГОСТ (ИСО 7134-85) |
Дата введения 01.01.89
1. НАЗНАЧЕНИЕ
Настоящий стандарт устанавливает термины, определения и содержание технической характеристики для коммерческой документации по автогрейдерам и их рабочему оборудованию.
2. ОБЛАСТЬ ПРИМЕНЕНИЯ
Настоящий стандарт распространяется на автогрейдеры по п. .
3. ССЫЛКИ
Ссылочные документы приведены в обязательном .
4. ОБЩИЕ ОПРЕДЕЛЕНИЯ
4.2. Базовая машина — автогрейдер без рабочего оборудования, соответствующий технической документации изготовителя. Машина должна быть снабжена необходимыми местами крепления для установки дополнительного оборудования по п. .
4.3. Рабочее оборудование — комплект составных частей, монтируемых на базовую машину для обеспечения выполнения ее основной функции в соответствии с назначением.
4.4. Дополнительное оборудование — поставляемая по выбору заказчика сборочная единица из составных частей, которая может быть смонтирована на базовой машине для специального применения.
4.5. Составная часть — деталь или сборочная единица из деталей базовой машины, рабочего или дополнительного оборудования.
5. БАЗОВАЯ МАШИНА
5.1. Типы автогрейдеров
5.1.1. По числу колес ходовой части
5.1.1.1. Четырехколесные (см. черт. )
5.1.1.2. Шестиколесные (см. черт. )
5.1.2. По числу двигателей
5.1.2.1. Одномоторные (см. черт. )
5.1.2.2. Двухмоторные (см. черт. )
5.1.3. По расположению двигателя
5.1.3.1. С передним расположением двигателя (см. черт. )
5.1.3.2. С задним расположением двигателя (см. черт. )
5.1.4. По системе управления поворотом
5.1.4.1. С передними управляемыми колесами (см. черт. )
5.1.4.2. С передними и задними управляемыми колесами (см. черт. )
5.1.4.3. С передними управляемыми колесами и поворотной задней тележкой (см. черт. )
5.1.4.4. С передними управляемыми колесами и шарнирно-сочлененной рамой (см. черт. )
5.1.4.5. С шарнирно-сочлененной рамой, имеющей два вертикальных шарнира (см. черт. )
5.1.5. По системе привода хода
5.1.5.1. С двумя ведущими колесами (см. черт. )
5.1.5.2. С четырьмя ведущими колесами (см. черт. )
5.1.5.3. С шестью ведущими колесами (см. черт. )
Четырехколесный автогрейдер
Черт. 1
Шестиколесный автогрейдер
Черт. 2
Одномоторный автогрейдер
Черт. 3
Двухмоторный автогрейдер
Черт. 4
Автогрейдер с передним расположением двигателя
Черт. 5
Автогрейдер с задним расположением двигателя
Черт. 6
Автогрейдер с передними управляемыми колесами
1 — управляемые колеса
Черт. 7
Автогрейдер с передними и задними управляемыми колесами
1 — управляемые колеса
Черт. 8
Автогрейдер с передними управляемыми колесами и поворотной задней тележкой
1 — управляемые колеса; 2 — центр поворота
Черт. 9
Автогрейдер с передними управляемыми колесами и шарнирно-сочлененной рамой
1 — управляемые колеса; 2 — центр поворота
Черт. 10
Автогрейдер с шарнирно-сочлененной рамой, имеющей два вертикальных шарнира
1 — центр поворота
Черт. 11
Автогрейдер с двумя ведущими колесами
1 — ведущие колеса
Черт. 12
Автогрейдер с четырьмя ведущими колесами
1 — ведущие колеса
Черт. 13
Автогрейдер с шестью ведущими колесами
1 — ведущие колеса
Черт. 14
5.2. Размерные характеристики (см. черт. ).
Размеры базовой машины (автогрейдера)
_________
1 Колея W3 может быть разной для передних и задних колес.
Черт. 16
Определения размерных характеристик — по ИСО 6746/1.
Определения размерных характеристик, относящихся только к автогрейдерам, а также определения Н18, Н19, W9, W14, W15, А9, A11, A12 приведены в приложении .
Черт. 15а
5.3. Масса
5.3.1. Эксплуатационная масса — масса базовой машины с рабочим оборудованием, указанным изготовителем, с полностью заправленными топливным баком, гидросистемой, системами смазывания и охлаждения и с учетом массы оператора (75 кг).
5.3.2. Отгрузочная масса — масса базовой машины без оператора, с полностью заправленными гидросистемой, системами смазывания и охлаждения, с 10 %-й заправкой топливного бака и либо с рабочим оборудованием, кабиной, навесом, устройствами ROPS (устройство защиты при опрокидывании) или FOPS (устройство защиты от падающих предметов), либо без них по указанию изготовителя.
5.3.3. Масса кабины, навеса, устройств ROPS или FOPS — масса кабины, навеса, устройств ROPS или FOPS со всеми их составными частями и элементами крепления, к базовой машине.
5.4. Наименования составных частей (см. номера позиций на черт. а):
1 — отвал; 2 — нижний нож; 3 — боковой нож; 4 — кронштейн крепления отвала; 5 — кронштейн механизма установки угла резания; 5А — гидроцилиндр установки угла резания; 6 — поворотный круг; 7 — тяговая рама; 8 — тяга механизма подъема отвала; 8А — гидроцилиндр подъема отвала; 9 — механизм подъема отвала; 10 — реверсивный привод поворотного круга; 11 — тяга, механизма выноса тяговой рамы с отвалом; 11А — гидроцилиндр выноса тяговой рамы с отвалом; 12 — механизм выноса тяговой рамы с отвалом; 13 — основная рама; 14 — балансирная тележка с приводом ведущих колес; 15 — передний мост; 16 — гидроцилиндр наклона передних колес; 17 — поперечная тяга наклона колес; 18 — балансирный шкворень переднего моста; 19 — коробка механизма сервоуправления; 20 — ведущий передний мост (механический); 20А — объемный гидропривод передних колес; 21 — ведущий задний мост; 22 — навес с устройством ROPS; 23 — кабина с устройством ROPS; 24 — подмоторная рама; 25 — блокировка рычага подъема; 26 — рычаг подъема; 27 — гидроцилиндр выдвижения отвала; 28 — гидроцилиндр поворота задних управляемых колес; 29 — плита для крепления дополнительного оборудования.
6. ДОПОЛНИТЕЛЬНОЕ ОБОРУДОВАНИЕ
6.1. Определения
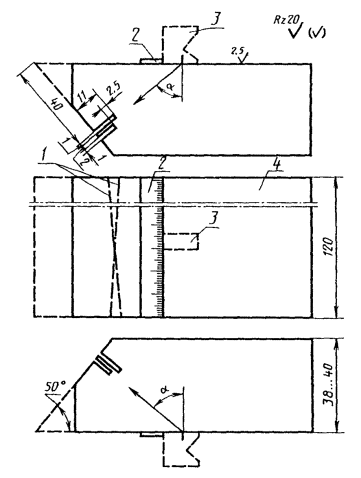
6.1.1. Кирковщик — механизм с зубьями для внедрения и рыхления на небольшую глубину таких материалов, как грунт, асфальтовые, гравийные и подобные дорожные покрытия. Кирковщик может быть установлен впереди передних колес автогрейдера или между передними и задними колесами (см. черт. ).
Размеры кирковщика

Черт. 16
6.12. Рыхлитель — дополнительное оборудование, состоящее из рамы, соединенной посредством кронштейнов крепления с задней частью базовой машины, и снабженное одним или несколькими зубьями (см. черт. ).
Размеры рыхлителя
Черт. 17
6.1.3. Плужный снегоочиститель — конструкция, размещенная впереди передних колес и предназначенная для сдвигания снега в поперечном направлении за счет вспахивающего действия отвала. Плуг может быть одноотвальным и двухотвальным (см. черт. ).
Размеры плужного снегоочистителя
Черт. 18
6.1.4. Передний отвал — отвал, обычно имеющий криволинейную поверхность, размещенный впереди передних колес и предназначенный для сгребания и толкания материала, обычно в направлении вперед (см. черт. ).
Размеры переднего отвала
Черт. 19
6.2. Размерные характеристики
6.2.1. Определения размерных характеристик — по ИСО 6746/2.
6.2.2. Определения размерных характеристик, относящихся только к дополнительному оборудованию автогрейдеров, приведены в приложении .
6.3. Наименование составных частей (см. номера позиций на черт. —).
6.3.1. Кирковщик

а) гидравлический
б) механический
1 — наконечник зуба; 2 — стойка зуба; 3 — рабочая балка; 4 — гидроцилиндр, 5 — тяга механизма подъема; 6 — рычаг механизма подъема; 7 — механизм регулирования угла наклона зубьев; 8 — брус
Черт. 20
Наименование составных частей рыхлителя — по ИСО 6747.
6.3.3. Плужный снегоочиститель

1 — отвал; 2 — нож, 3 — угловой нож, 4 — носок
Черт. 11
6.3.4. Передний отвал
1 — отвал, 2 — нож, 3 — угловой нож
Черт. 22
7. ЭКСПЛУАТАЦИОННАЯ ТЕРМИНОЛОГИЯ
7.1. Мощность нетто двигателя — по ИСО 1585.
7.3. Управляемость
7.3.1. Радиус поворота — по ГОСТ 27257-87.
7.4. Эффективность торможения — по ИСО 3450.
8. ТЕХНИЧЕСКАЯ ХАРАКТЕРИСТИКА ДЛЯ КОММЕРЧЕСКОЙ ДОКУМЕНТАЦИИ, ВЫРАЖЕННАЯ В ЕДИНИЦАХ СИ (ПРИМЕРЫ)
8.1. Двигатель (привести характеристики):
Изготовитель и модель
С воспламенением от сжатия или с искровым зажиганием
Тактность (двух- или четырехтактный)
С естественным всасыванием, механическим наддувом или газотурбонаддувом
Число цилиндров
Диаметр цилиндра
Ход поршня
Рабочий объем цилиндров
Система охлаждения (воздушное или водяное)
Вид топлива
Мощность-нетто на маховике …. при …. об/мин
Максимальный крутящий момент …. при …. об/мин
Тип стартера
Напряжение в системе электрооборудования ….. В
8.2. Трансмиссия (указатель тип)
Примеры:
С ручным переключением, со сцеплением на маховике
С сервопереключением, с гидротрансформатором или без него
Объемная гидропередача
Электрическая трансмиссия
Число скоростей переднего и заднего хода
Скорости движения передним и задним ходом
8.3. Мосты
8.3.1. Передний мост (указать тип)
Примеры:
Ведущий, с двухступенчатой механической передачей
Ведущий, с объемным гидроприводом колес
Неведущий
С наклоном колес
8.3.2. Задний мост (указать тип)
Примеры:
Двухколесный
Двухколесный с планетарными ступичными редукторами
Четырехколесная балансирная тележка (указать тип и передаточное число)
8.4. Рулевое управление (указать тип) — по ГОСТ 27254-87
Примеры:
С шарнирно-сочлененной рамой
С передними управляемыми колесами
Ручное
С силовым приводом
8.4.1. Эффективность:
Радиус поворота без наклона колес
Радиус поворота при максимальном угле складывания шарнирно-сочлененной рамы и максимальном наклоне колес
8.5. Тормоза
8.5.1. Рабочие тормоза
Примеры:
Тип (барабанные, дисковые, мокрые или сухие)
Система привода (механическая, пневматическая, гидравлическая, электрическая, комбинированная и т.д.)
8.5.2. Стояночный тормоз (указать тип)
8.5.3. Резервный тормоз (указать тип)
8.5.4. Эффективность торможения (указать) — по ИСО 3450
8.6. Шины:
Тип и размер
Норма слойности
Размер обода
8.7. Гидросистема
8.7.1. Рабочие насосы:
Тип
Подача насоса …. при давлении …, при номинальной частоте вращения двигателя … об/мин
Давление открывания главного предохранительного клапана
8.8. Заправочные емкости систем машины:
Топливный бак
Картер двигателя
Система охлаждения
Трансмиссия
Дифференциал
Балансирная тележка
Гидросистема
8.9. Эксплуатационная масса
8.10. Отгрузочная масса
8.11. Габаритные размеры автогрейдера (привести схемы)
ПРИЛОЖЕНИЕ А
РАЗМЕРНЫЕ ХАРАКТЕРИСТИКИ БАЗОВОЙ МАШИНЫ
Условные обозначения, термины и определения
|
Условное обозначение |
Термин |
Определение |
Схема |
|
Н18 |
Дорожные просветы под передним мостом |
Расстояние по координате Z между опорной плоскостью отсчета GRP и двумя точками моста: 1) нижней точкой переднего моста, лежащей в нулевой плоскости Y; 2) нижней точкой моста, удаленной вправо от нулевой плоскости Y на расстояние, равное 25 % передней колеи |
|
|
Н19 |
Высота отвала |
Расстояние по координате Z от нижнего края ножа до верхнего края отвала в средней его части |
|
|
H20 |
Высота подъема отвала |
Расстояние по вертикали от GRP до плоскости Z, проходящей через нижний край ножа, когда этот край находится в плоскости X. Если имеется возможность регулирования угла резания, его регулируют так, чтобы отвал был максимально поднят над землей |
|
|
W8 |
Длина отвала |
Габаритная длина между параллельными вертикальными плоскостями, проходящими через крайние точки отвала или ножей в зависимости от того, какое из этих расстояний больше |
|
|
W9 |
Вылет отвала |
Расстояние от плоскости Y, проходящей через внешнюю поверхность передней шины, до плоскости Y, проходящей через крайнюю внешнюю точку отвала, ножа или углового ножа, когда нижний край ножа находится на уровне GRP и лежит в плоскости X, без выдвижения отвала и наклона колес. Для машин, рулевая система которых допускает движение «крабом», изготовитель может указать дополнительно получаемый вылет |
|
|
W14 |
Вынос поворотного круга |
Расстояние по координате Y от нулевой плоскости Y до плоскости Y, проходящей через центр поворотного круга, когда круг вынесен влево или вправо от нулевой плоскости Y |
|
|
W15 |
Выдвижение отвала |
Смещение подвижного отвала от среднего по отношению к поворотному кругу положения вдоль линии, параллельной любому элементу, расположенному параллельно длине отвала |
|
|
L9 |
Колесная база балансира |
Расстояние по координате Х между плоскостями X, проходящими через оси переднего и заднего колес балансирной тележки |
|
|
L12 |
База отвала |
Расстояние по координате Х от плоскости X, проходящей через ось переднего колеса, до плоскости X, проходящей через передний край ножа, находящийся на GRP. Если имеется возможность регулирования угла резания, отвал устанавливают в среднее по этому углу положение |
|
|
А8 |
Угол поворота отвала |
Угол между вертикальной плоскостью, проходящей через нижний край ножа, и плоскостью Х |
|
|
А9 |
Угол срезаемого откоса |
Угол между GRP и плоскостью, образованной движением ножа в направлении хода автогрейдера |
|
|
А10 |
Угол резания |
Угол между GRP и плоскостью, проходящей через переднюю поверхность ножа или по касательной к передней поверхности у нижнего края криволинейного ножа, когда нижний край ножа находится на GRP |
|
|
А11 |
Диапазон регулирования угла резания |
Угол, полученный при вращении регулируемого отвала от одного крайнего по углу резания положения до другого |
|
|
А12 |
Угол наклона колеса |
Угол между вертикальной плоскостью и плоскостью, проходящей через поверхность обода колеса, установленного с наклоном |
|
ПРИЛОЖЕНИЕ В
РАЗМЕРНЫЕ ХАРАКТЕРИСТИКИ ДОПОЛНИТЕЛЬНОГО ОБОРУДОВАНИЯ
Условные обозначения, термины и определения
|
Условное обозначение |
Термин |
Определения |
Схема |
|
HH18 |
Максимальная высота плуга снегоочистителя |
Расстояние по координате Z от GRP до верхней точки плуга — у его заднего (внешнего) конца |
|
|
НН19 |
Высота передка плуг снегоочистителя |
Расстояние по координате Z от GRP до верхней точки плуга у переднего конца одноотвального плуга или у носка двухотвального плуга |
|
|
WW7 |
Ширина захвата |
Расстояние по координате Y между двумя плоскостями Y, проходящими через крайние внешние точки ножа или угловых ножей |
|
|
LL7 |
Передний свес |
Расстояние по координате Х между двумя плоскостями X, одна из которых проходит через оси передних колес, другая — через крайнюю переднюю точку оборудования, находящегося на GRP |
|
ПРИЛОЖЕНИЕ
Обязательное
ССЫЛОЧНЫЕ НОРМАТИВНО-ТЕХНИЧЕСКИЕ ДОКУМЕНТЫ
|
Раздел, подраздел, пункт, в котором приведена ссылка |
Обозначение соответствующего стандарта ИСО |
Обозначение отечественного нормативно-технического документа, на который дана ссылка |
|
|
ИСО 6165 |
— |
|
|
ИСО 6746/1 |
— |
|
|
ИСО 6746/2 |
— |
|
|
ИСО 6747 |
— |
|
|
ИСО 1585 |
— |
|
|
ИСО 6014 |
— |
|
|
ИСО 7457 |
ГОСТ (27257-87) |
|
, |
ИCO 3450 |
— |
|
|
ИСО 5010 |
ГОСТ 27254-87 |
ИНФОРМАЦИОННЫЕ ДАННЫЕ
1. ВНЕСЕН Министерством строительного, дорожного и коммунального машиностроения СССР
2. Постановлением Государственного комитета СССР по стандартам от 18.12.87 № 4696 введен в действие государственный стандарт СССР ГОСТ 27535-87, в качестве которого непосредственно применен международный стандарт ИСО 7134-86, с 01.01.89
3. ВВЕДЕН ВПЕРВЫЕ
СОДЕРЖАНИЕ
|
|






































