
ГОСУДАРСТВЕННЫЙ СТАНДАРТ СОЮЗА ССР
МАШИНЫ ЗЕМЛЕРОЙНЫЕ
ИНСТРУМЕНТ ДЛЯ ТЕХНИЧЕСКОГО ОБСЛУЖИВАНИЯ
ЧАСТЬ 2. РЕМОНТНЫЙ ИНСТРУМЕНТ. МЕХАНИЧЕСКИЕ СЪЕМНИКИ
ГОСТ 27718-88
(ИСО 4510/2-86)
ГОСУДАРСТВЕННЫЙ КОМИТЕТ СССР ПО СТАНДАРТАМ
Москва
ГОСУДАРСТВЕННЫЙ СТАНДАРТ СОЮЗА ССР
|
МАШИНЫ ЗЕМЛЕРОЙНЫЕ Инструмент для технического обслуживания. Earth-moving machinery. Service tools. Part 2. Common repair tools. Mechanical pullers and pushers |
ГОСТ (ИСО 4510/2-86) |
Дата введения 01.01.89
1. НАЗНАЧЕНИЕ И ОБЛАСТЬ ПРИМЕНЕНИЯ
Настоящий стандарт устанавливает в качестве руководства при проектировании машин типы, общие требования и основные номинальные размеры механических съемников, приспособлений и переходников, используемых при выполнении ремонтных работ.
Стандарт распространяется на механические съемники, приспособления и переходники, применяемые для демонтажа шестерен и подшипников землеройных машин по ИСО 6165.
Изготовители машин должны выбирать соответствующие конструкциям машин размеры, указанные на черт. —, а также указывать в соответствующих руководствах по ИСО 6750 инструменты, которые следует использовать при выполнении ремонтных работ.
2. ССЫЛКИ
Ссылочные документы приведены в .
3. ТИПЫ СЪЕМНИКОВ, ПРИСПОСОБЛЕНИЙ И ПЕРЕХОДНИКОВ
3.1. Съемники для шестерен и подшипников механические с наружным захватом (черт. ).
3.2. Съемники для шестерен и подшипников механические с резьбовым присоединением (черт. .).
3.3. Приспособления механические для демонтажа шестерен и подшипников (черт. а и 3б).
3.4. Переходник под съемник механический с наружной и внутренней резьбами (см. черт. и ).
1 — нажимной винт, 2 — захват, 3 — двухзахватная поперечина съемника, 4 — трехзахватная поперечина съемника; 5 — универсальная поперечина съемника, 6 — односторонний захват, 7 — двусторонний захват
Черт. 1
1 — нажимной винт, 2 — переходник
Черт. 2
Для внутреннего захвата
Для наружного захвата

1 — захват, 2 — дуговая кромка
Черт. 3
1 — наружная резьба
Черт. 4
4. ОБЩИЕ ТРЕБОВАНИЯ
4.1. Конструкцией съемников и (или) приспособлений должно быть обеспечено свободное движение при минимальном зазоре между деталями.
4.3. Конец нажимного винта должен быть заострен под углом 60° для приложения нагрузки в центре вала.
4.4. Концы захватов должны быть сконструированы так, чтобы предотвратить их соскальзывание при демонтаже шестерни или подшипника.
4.5. Съемные приспособления с наружным и внутренним захватами должны быть удобными для возможного использования со съемниками.
4.6. Переходники должны быть сконструированы для использования со съемниками с резьбовым присоединением.
5. РАЗМЕРЫ
Приводимые черт. , и иллюстрируют тины съемников и приспособлений и не определяют их конструкцию (форму, конфигурацию и т.д.).
5.1. Съемники с захватами (черт. )
Размеры, мм
|
Типы |
а |
b |
с |
d |
e |
f |
g |
|
1 |
80 max |
6,5 |
17,5 |
6,0 |
9,5 |
9,0 |
6,5 |
|
2 |
125 max |
9,5 |
24,0 |
8,0 |
7,5 |
26,0 |
11,5 |
|
3 |
280 max |
14,5 |
26,0 |
14,5 |
— |
— |
— |
|
4 |
От 40 до 150 |
3,5 |
29,0 |
6,5 |
— |
— |
— |
|
5 |
От 75 до 225 |
6,5 |
51,0 |
6,5 |
— |
— |
— |
5.2. Съемники с резьбовым приспособлением (черт. )
Размеры, мм
|
Типы |
a |
|
1 |
От 90 до 300 |
|
2 |
От 180 до 420 |
Черт. 6
5.3. Дуговая кромка приспособления к съемнику (черт. )
Размеры, мм
|
Типы |
а |
b |
с |
d |
|
1 |
От 5 до 50 |
2,0 |
3,0 |
4,5 |
|
2 |
От 10 до 110 |
5,0 |
9,0 |
7,5 |
|
3 |
От 15 до 135 |
6,5 |
13,0 |
11,0 |
|
4 |
От 15 до 205 |
7,5 |
18,5 |
12,0 |
|
5 |
От 20 до 340 |
9,5 |
20,0 |
23,0 |
Черт. 7
5.4. Наружная резьба переходника к съемнику (черт. )
1 — резьба а
Размеры, мм
|
Типы |
а |
|
1 |
М 12´1,5 |
|
2 |
М 12´1,75 |
|
3 |
M 14´l,5 |
|
4 |
М 14´2,0 |
|
5 |
М 16´1,5 |
|
6 |
М 16´2,0 |
|
7 |
М 18´2,5 |
|
8 |
М 20´2,5 |
Черт. 8
ПРИЛОЖЕНИЕ А
ПРИМЕРЫ ПРИМЕНЕНИЯ МЕХАНИЧЕСКИХ СЪЕМНИКОВ И ПРИСПОСОБЛЕНИЙ К НИМ
A.1. Съемник (черт. )
1 — нажимной винт; 2 — шестерня
Черт. 9
А.2. Съемник с резьбовым присоединением (черт. )
1— нажимной винт; 2 — переходник; 3 — съемник
Черт. 10
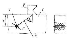
А.3. Съемник с приспособлением для внутреннего захвата (черт. ).
1 — нажимной винт; 2 — съемник; 3 — приспособление для внутреннего захвата; 4 — наружное кольцо подшипника; 5 — захват
Черт. 11
А.4. Съемник с приспособлением для наружного захвата (черт. )
1 — нажимной винт; 2 — съемник; 3 — приспособление для наружного захвата
Черт. 12
А.5. Съемное приспособление для внутреннего захвата с нажимным винтом (черт. )
1 — нажимной винт; 2 — съемное приспособление для внутреннего захвата; 3 — наружное кольцо подшипника
Черт. 13
ПРИЛОЖЕНИЕ
Обязательное
ССЫЛОЧНЫЕ НОРМАТИВНО-ТЕХНИЧЕСКИЕ ДОКУМЕНТЫ
|
Раздел, подраздел, пункт в котором приведена ссылка |
Обозначение соответствующего стандарта |
Обозначение отечественного нормативно-технического документа, на который дана ссылка |
|
|
ИСО 4510/1 |
— |
|
|
ИСО 6165 |
— |
|
|
ИСО 6750 |
— |
ИНФОРМАЦИОННЫЕ ДАННЫЕ
1. ВНЕСЕН Министерством строительного, дорожного и коммунального машиностроения СССР
2. Постановлением Государственного комитета СССР по стандартам от 25.05.88 № 1456 введен в действие государственный стандарт СССР ГОСТ 27718-88, в качестве которого применен международный стандарт ИСО 4510/2-86, с 01.01.89
СОДЕРЖАНИЕ












