ГОСТ 28715-90 Формы стальные для изготовления железобетонных изделий Проемообразователи и вкладыши Конструкция

Автор: | 17.02.2015

ГОСТ 28715-90

Группа Ж33

ГОСУДАРСТВЕННЫЙ СТАНДАРТ СОЮЗА ССР

 

    

ФОРМЫ СТАЛЬНЫЕ ДЛЯ ИЗГОТОВЛЕНИЯ ЖЕЛЕЗОБЕТОННЫХ ИЗДЕЛИЙ

ПРОЕМООБРАЗОВАТЕЛИ И ВКЛАДЫШИ

Конструкция

Steel moulds for reinforced concrete members.

Elements forming openings and recesses. Design

Дата введения 1991-01-01

ИНФОРМАЦИОННЫЕ ДАННЫЕ


1.  РАЗРАБОТАН и ВНЕСЕН Межотраслевым государственным объединением "Строммаш"

РАЗРАБОТЧИКИ  А.К.Шнейдер (руководитель темы); Ю.Д.Златоверов; В-П.П.Кириченко; Р.М.Колтовская; И.Н.Нагорняк


2.  УТВЕРЖДЕН и ВВЕДЕН В ДЕЙСТВИЕ Постановлением Государственного строительного комитета СССР от 12.10.90 N 85


3.  ВВЕДЕН ВПЕРВЫЕ


4.  ССЫЛОЧНЫЕ НОРМАТИВНО-ТЕХНИЧЕСКИЕ ДОКУМЕНТЫ


+——————————————————————+

¦Обозначение НТД, на который дана ссылка¦       Номер пункта       ¦

+——————————————————————+

ГОСТ 25781-83                            Вводная часть; 1

ГОСТ 25878-85                            7

ГОСТ 27204-87                            8; 10.3

———————————————————————


Настоящий  стандарт распространяется на сварные проемообразователи и вкладыши стальных форм для изготовления железобетонных изделий по ГОСТ 25781 и элементы их крепления к форме и устанавливает требования к конструкции основных стандартизируемых сборочных единиц и деталей.

Стандарт  не распространяется на проемообразователи и вкладыши, изготовляемые из стальных, чугунных и алюминиевых отливок и полимерных материалов, на устройства, образующие в изделии каналы для электропроводки, и элементы архитектурного назначения.


1.  Технические требования, требования безопасности, комплектности, правила приемки, методы контроля, упаковка и маркировка, транспортирование, хранение и гарантийный срок эксплуатации стандартизируемых элементов должны соответствовать ГОСТ 25781.


2.  Проемообразователи и вкладыши в зависимости от условий распалубки железобетонных изделий по своей конструкции и способу крепления к форме подразделяют на:

стационарные;

съемные.


2.1.  Стационарные проемообразователи и вкладыши — элементы, закрепленные на форме и не снимаемые с нее в пределах технологического цикла формования изделий.


2.2.  Съемные проемообразователи и вкладыши — элементы формы, извлекаемые из бетона до съема изделия или вместе с ним.


3.  Проемообразователи и вкладыши в зависимости от требований к переоснастке форм могут быть сменными.

Сменные  проемообразователи и вкладыши — элементы формы, заменяемые, перемещаемые или снимаемые при переоснастке формы.


4.  Проемообразователи и вкладыши изготовляют сварными из стального листа. Для повышения жесткости проемообразователей и вкладышей следует изготовлять их с каркасом из фасонного металлопроката или гнутого профиля. Формовочные поверхности проемообразователей изготовляют из листа толщиной не менее 8 мм, а вкладышей — из листа толщиной не менее 6 мм.

В  технически обоснованных случаях для изготовления вкладышей допускается применение листа толщиной не менее 4 мм.


5.  Формовочные поверхности проемообразователей и вкладышей должны иметь распалубочные (технологические) уклоны, обеспечивающие беспрепятственное извлечение их из изделия или съем изделия с них.


6.  Проемообразователи, образующие проемы с двусторонними уклонами по толщине изделия, делают разъемными: нижнюю часть — рамку — крепят к поддону, верхнюю — щит — снимают до извлечения изделия из формы.


7.  При установке в форме проемообразователей и вкладышей опирание их на настил поддона, отвечающего требованиям ГОСТ 25878, а также прилегание щитов к рамкам в разъемных проемообразователях должно производиться кромками, шероховатость поверхности которых не более Rа 20 мкм.

В  местах примыкания зазоры не должны превышать 2 мм. При этом общая длина местных зазоров не должна быть более одной трети длины примыкания.


8.  Проемообразователи или их верхние части (щиты), а также вкладыши, извлекаемые из бетона свежеотформованного изделия краном, должны иметь строповочные устройства.

Конструкция  строповочных устройств должна отвечать требованиям ГОСТ 27204.

В  технически обоснованных случаях допускается применение строповочных устройств другого типа.


9.  Для обеспечения точности установки в форме в проектном положении съемных проемообразователей, вкладышей или отдельных элементов (щитов) следует применять направляющие штыри. Плотность прилегания проемообразователей, вкладышей или их элементов к соответствующим опорным поверхностям должна обеспечиваться массой устанавливаемого проемообразователя, вкладыша или при помощи стягивающих устройств.


10.  Способы крепления в форме проемообразователей и вкладышей


10.1.  Несменяемые стационарные проемообразователи и вкладыши крепят посредством резьбовых соединений, элементы которых приваривают к настилу поддона с нижней стороны, или приваркой закрепляемого элемента непосредственно к формовочной поверхности настила поддона.

Стационарные  вкладыши крепят к бортам приваркой их непосредственно к формовочной поверхности борта.


10.2.  Сменные стационарные проемообразователи и вкладыши в форме крепят при помощи застопоряемых (шплинты, отгибные шайбы и др.) резьбовых соединений.


10.3.  Съемные вкладыши крепят к бортам, отвечающим требованиям ГОСТ 27204, при помощи фиксаторов.

Вкладыши,  образующие в изделии штрабы и устанавливаемые на противоположных бортах, фиксируют направляющими штырями.

Съемные  проемообразователи и вкладыши крепят к поддону в случае необходимости предотвращения их смещения в вертикальном направлении при формовании.


11.  Примеры конструкции проемообразователей и вкладышей различного назначения приведены в приложении 1.


Примеры  конструкции каркаса проемообразователей и вкладышей приведены в приложении 2.

Примеры  установки стационарных проемообразователей и вкладышей в форме приведены в приложении 3.

Конструкция  и размеры фиксаторов для крепления съемных проемообразователей и вкладышей и примеры их применения приведены в приложении 4.

Примеры  установки щита проемообразователя приведены в приложении 5.

В  технически обоснованных случаях допускается применение других способов и устройств крепления проемообразователей и вкладышей к поддону и бортам формы.



Приложение 1

Рекомендуемое


Примеры конструкций проемообразователей

и вкладышей

1.  Конструкция проемообразователей с двусторонними уклонами     



План формы


При формовании панели лицевой стороной вниз


      

При формовании панели лицевой стороной вверх


    

1 — проемообразователь оконного проема; 1.1 — щит; 1.2 — рамка;

 2 — проемообразователь оконного и дверного проемов;

3 — вкладыш, образующий штрабу


Черт.1

2.  Конструкция проемообразователей и вкладышей с односторонними уклонами


2.1.  Стационарный проемообразователь (вкладыш)


Черт.2

2.2.  Съемный проемообразователь (вкладыш)


Черт.3

3.  Конструкция вкладышей, образующих выемки (пазы, полки)


3.1.  При установке на поддоне


Черт.4

3.2.  При установке на борту

Черт.5


Приложение 2

Рекомендуемое

Конструкция каркаса проемообразователей и

вкладышей


1.  Для обеспечения геометрической точности формообразующих поверхностей проемообразователей и вкладышей, выполненных с каркасом, следует выполнять механическую обработку соответствующих поверхностей каркаса.


1.1.  Каркас из швеллера


              Вариант 1                                Вариант 2

Черт.6

1.2.  Каркас из уголка

Черт.7

1.3.  Каркас из гнутого профиля


              Вариант 1                                Вариант 2


Черт.8

Приложение 3

Рекомендуемое

Установка стационарных проемообразователей

и вкладышей в форме


1.  Стационарные несменяемые элементы


1.1.  Установка вкладыша на поддоне с приваркой по контуру снаружи

Черт.9

1.2.  Установка вкладыша на поддоне с фиксацией гайки сваркой



1 -шпилька; 2 -гайка


Черт.10

1.3.  Установка разъемного проемообразователя с приваркой рамки с внутренней стороны

     

Черт.11

 

                                

Черт.12

1.4.  Установка вкладыша с приваркой к формовочной поверхности борта

Черт.13

2.  Стационарные сменные элементы


2.1.  Установка вкладыша на поддоне на шпильках

1 -шпилька; 2 -платик; 3 -гайка; 4 -отгибная шайба


Черт.14

2.2.  Установка вкладыша на шпильках на поддоне с паровой полостью

1 — шпилька; 2 — направляющая; 3 — платик; 4 — гайка; 5 — отгибная шайба;

 6 — поддон; 7 — вкладыш


Черт.15

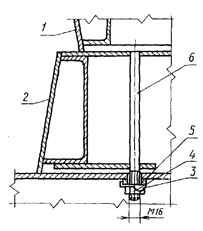
2.3.  Установка рамки разъемного проемообразователя на шпильках



1 -щит; 2 -рамка; 3 -отгибная шайба; 4 -гайка; 5 -платик; 6 -шпилька


Черт.16




  

1 -щит; 2 -рамка; 3 -отгибная шайба; 4 -гайка; 5 -платик; 6 -шпилька


Черт.17

2.4.  Установка рамки разъемного проемообразователя на болтах

    

1 -болт; 2 -гайка; 3 -шплинт


Черт.18

2.5.  Установка вкладыша на борту с креплением болтами



1 -болт; 2 -шайба отгибная; 3 -борт; 4 -вкладыш


Черт.19

2.6.  Установка вкладыша на борту с креплением на шпильках

1 -шпилька; 2 -гайка; 3 -отгибная шайба; 4 -борт; 5 вкладыш


Черт.20

Приложение 4

Рекомендуемое

Установка съемных проемообразователей и

вкладышей в форме


1.  Установка проемообразователей и вкладышей на поддоне

Конструкция  и размеры элементов крепления съемных проемообразователей и вкладышей приведены на черт.21-23.

Примеры  применения фиксаторов приведены на черт.24-26.


Фиксатор для съемных деталей


Черт.21

Направляющая

 


Черт.22

Платик

 


Черт.23

Примеры применения фиксаторов


Черт.24

Черт.25

Черт.26

2.  Крепление вкладышей к бортам фиксаторами

Конструкция  и размеры фиксаторов для съемных вкладышей приведены на черт.27 и в табл.1.

Примеры  установки фиксаторов приведены на черт.28 и в табл.2.



1 -фиксатор; 2 -труба; 3 -скоба


Черт.27

Таблица 1

                                                                  мм

+——————————————————————+

¦ L ¦  185 ¦  205  ¦  225  ¦  245  ¦  265  ¦  285  ¦  305  ¦  325  ¦

+—+——+——-+——-+——-+——-+——-+——-+——-¦

¦ l ¦  150 ¦  170  ¦  190  ¦  210  ¦  230  ¦  250  ¦  270  ¦  290  ¦

+——————————————————————+

Примеры установки фиксаторов

Для бортов без теплоизоляции




Для бортов с теплоизоляцией




Черт.28

Таблица 2

                                                                  мм

+——————————————————————+

¦ В ¦  До  ¦Св. 100¦Св. 120¦Св. 140¦Св. 165¦Св. 185¦Св. 205¦Св. 225¦

¦   ¦ 100  ¦до 120 ¦до 140 ¦до 165 ¦до 185 ¦до 205 ¦до 225 ¦до 245 ¦

+—+——+——-+——-+——-+——-+——-+——-+——-¦

¦ L ¦  150 ¦  170  ¦  190  ¦  210  ¦  230  ¦  250  ¦  270  ¦  290  ¦

+——————————————————————+


Приложение 5

Рекомендуемое

Установка щита проемообразователя


1.  Установка щита проемообразователя на штырях без применения стягивающих устройств

    

1 -щит; 2 -штырь; 3 -рамка


Черт.29

2.  Установка щита на штырях с креплением при помощи замка



        

1 -щит; 2 -рамка; 3 -замок; 4 -штырь; 5 -планка


Черт.30


Текст документа сверен по:

официальное издание

Госстрой СССР — М: Издательство

стандартов, 1991

Предоставлено компанией .