ГОСТ 30245-2003 Профили стальные гнутые замкнутые сварные квадратные и прямоугольные для строительных конструкций Технические условия

Автор: | 17.02.2015

ГОСТ 30245-2003

Группа В22

МЕЖГОСУДАРСТВЕННЫЙ СТАНДАРТ


ПРОФИЛИ СТАЛЬНЫЕ ГНУТЫЕ ЗАМКНУТЫЕ СВАРНЫЕ КВАДРАТНЫЕ

И ПРЯМОУГОЛЬНЫЕ ДЛЯ СТРОИТЕЛЬНЫХ КОНСТРУКЦИЙ

Технические условия

Steel bent closed welded square and rectangular section for building.

Specifications

МКС 77.140.70

ОКП 526000

Дата введения 2003-10-01


Предисловие

1  РАЗРАБОТАН Центральным научно-исследовательским и проектным институтом строительных металлоконструкций им. Н.П.Мельникова (ЗАО "ЦНИИПСК им.Мельникова")

2  ПРИНЯТ межгосударственной научно-технической комиссией по стандартизации, техническому нормированию и сертификации в строительстве (МНТКС) 22 октября 2003 г.

За  принятие проголосовали



Наименование государства


Наименование органа государственного управления строительством


Азербайджанская Республика


Госстрой Азербайджанской Республики


Республика Армения


Министерство градостроительства Республики Армения


Республика Беларусь


Минстройархитектуры Республики Беларусь


Республика Казахстан


Казстройкомитет Республики Казахстан


Российская Федерация


Госстрой России


Республика Таджикистан


Комархстрой Республики Таджикистан


Республика Узбекистан


Госкомархитектстрой Республики Узбекистан


Украина


Госстрой Украины


3  ВЗАМЕН ГОСТ 30245-94

4  ВВЕДЕН В ДЕЙСТВИЕ с 1 октября 2003 г. в качестве государственного стандарта Российской Федерации постановлением Госстроя России от 30 июня 2003 г. N 130

ВНЕСЕНА  поправка, опубликованная в "Информационном бюллетене о нормативной, методической и типовой проектной документации"  N 10, 2004 год  

Поправка  внесена изготовителем базы данных

       

     1 Область применения

Настоящий  стандарт распространяется на стальные гнутые замкнутые сварные квадратные и прямоугольные профили, предназначенные для строительных стальных конструкций.

Профили  изготовляют на специализированных станах путем формирования круглого трубчатого сечения с продольным сварным швом и последующим обжатием валками в квадратный или прямоугольный профиль.

Обязательные  требования качества продукции изложены в пунктах 3.3-3.6, 4.3-4.5, 4.7, 4.11, 4.12, 5.2, 5.4, 5.5, 5.8-5.10, 5.12.

     2 Нормативные ссылки

В  настоящем стандарте использованы ссылки на следующие стандарты:

ГОСТ  166-89 Штангенциркули. Технические условия

ГОСТ  427-75 Линейки измерительные металлические. Технические условия

       ГОСТ 1050-88 Прокат сортовой, калиброванный, со специальной отделкой поверхности из углеродистой качественной конструкционной стали. Общие технические условия

ГОСТ  3242-79 Соединения сварные. Методы контроля качества

ГОСТ  5264-80 Ручная дуговая сварка. Соединения сварные. Основные типы, конструктивные элементы и размеры

ГОСТ  5378-88 Угломеры с нониусом. Технические условия

ГОСТ  7502-98 Рулетки измерительные металлические. Технические условия

ГОСТ  7566-94 Металлопродукция. Приемка, маркировка, упаковка, транспортирование и хранение

ГОСТ  8713-79 Сварка под флюсом. Соединения сварные. Основные типы, конструктивные элементы и размеры

ГОСТ  14637-89 Прокат толстолистовой из углеродистой стали обыкновенного качества. Технические условия

ГОСТ  15150-69 Машины, приборы и другие технические изделия. Исполнения для различных климатических районов. Категории, условия эксплуатации, хранения и транспортирования в части воздействия климатических факторов внешней среды

ГОСТ  16523-97 Прокат тонколистовой из углеродистой стали качественной и обыкновенного качества общего назначения. Технические условия

ГОСТ  17066-94 Прокат тонколистовой из стали повышенной прочности. Технические условия

ГОСТ  19281-89 Прокат из стали повышенной прочности. Общие технические условия

ГОСТ  19903-74 Прокат листовой горячекатаный. Сортамент

ГОСТ  27772-88 Прокат для строительных стальных конструкций. Общие технические условия

     3 Сортамент

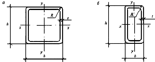
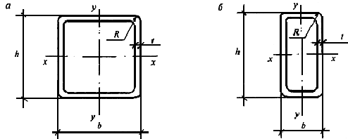
3.1  Поперечное сечение профилей должно соответствовать указанному на рисунке 1.

    — высота; — ширина; — толщина стенки; — радиус наружного закругления

     

Рисунок 1

3.2  Размеры профилей, площадь поперечного сечения, справочные величины для осей и масса для 1 м профиля должны соответствовать: для квадратных профилей — таблице 1; для прямоугольных профилей — таблице 2.

Таблица 1















Площадь поперечного сечения, А, см


Справочные величины для оси


Масса 1 м, кг


мм















, см


, см


, см











2,0


2,94


6,94


3,47


1,54


2,31








2,5


3,59


8,21


4,10


1,51


2,82


40


40


3,0


4,21


9,31


4,65


1,49


3,30








3,5


4,79


10,26


5,13


1,46


3,76








4,0


5,35


11,05


5,52


1,44


4,20








2,0


3,74


14,14


5,66


1,95


2,93








2,5


4,59


16,93


6,77


1,92


3,60








3,0


5,41


19,45


7,78


1,90


4,25








3,5


6,19


21,70


8,68


1,87


4,86


50


50


4,0


6,95


23,70


9,48


1,85


5,45








4,5


7,67


25,45


10,19


1,82


6,02








5,0


8,36


26,98


10,79


1,80


6,56








5,5


9,01


28,27


11,31


1,77


7,07








6,0


9,63


29,36


11,74


1,75


7,56








2,0


4,54


25,14


8,38


2,35


3,56








2,5


5,59


30,33


10,11


2,33


4,39








3,0


6,61


35,11


11,70


2,31


5,19








3,5


7,59


39,50


13,17


2,28


5,96


60


60


4,0


8,55


43,50


14,50


2,26


6,71








4,5


9,47


47,14


15,71


2,23


7,43








5,0


10,36


50,41


16,80


2,21


8,13








5,5


11,21


53,34


17,78


2,18


8,80








6,0


12,03


55,94


18,65


2,16


9,45








2,0


5,34


40,72


11,63


2,76


4,19








2,5


6,59


49,39


14,11


2,74


5,17








3,0


7,81


57,50


16,43


2,71


6,13








3,5


8,99


65,05


18,59


2,69


7,06








4,0


10,15


72,06


20,59


2,66


7,97


70


70


4,5


11,27


78,55


22,44


2,64


8,85








5,0


12,36


84,52


24,15


2,62


9,70








5,5


13,41


90,01


25,72


2,59


10,53








6,0


14,43


95,01


27,14


2,57


11,33








6,5


15,06


95,11


27,17


2,51


11,82








7,0


15,96


98,50


28,14


2,48


12,53








3,0


9,01


87,81


21,95


3,12


7,07








3,5


10,39


99,75


24,94


3,10


8,16








4,0


11,75


111,0


27,74


3,07


9,22








4,5


13,07


121,5


30,37


3,05


10,26


80


80


5,0


14,36


131,3


32,83


3,02


11,27








5,5


15,61


140,5


35,12


3,00


12,25








6,0


16,83


149,0


37,24


2,97


13,21








6,5


17,66


151,0


37,76


2,92


13,86








7,0


18,76


157,4


39,34


2,90


14,72








7,5


19,82


163,0


40,76


2,87


15,56








8,0


20,84


168,0


42,01


2,84


16,36








3,0


10,21


127,2


28,28


3,53


8,01








3,5


11,79


145,0


32,22


3,51


9,26








4,0


13,35


161,8


35,96


3,48


10,48








4,5


14,87


177,8


39,50


3,46


11,67


90


90


5,0


16,36


192,8


42,84


3,43


12,84








5,5


17,81


206,9


45,99


3,41


13,98








6,0


19,23


220,2


48,94


3,38


15,10








6,5


20,26


225,3


50,07


3,34


15,90








7,0


21,56


235,8


52,40


3,31


16,92








7,5


22,82


245,4


54,54


3,28


17,91








8,0


24,04


254,2


56,48


3,25


18,87








3,0


11,41


177,0


35,40


3,94


8,96








3,5


13,19


202,2


40,44


3,91


10,36








4,0


14,95


225,1


45,02


3,88


11,73








4,5


16,67


247,5


49,50


3,85


13,08


100


100


5,0


18,36


270,9


54,19


3,84


14,41








5,5


20,01


291,6


58,32


3,82


15,71








6,0


21,63


311,2


62,24


3,79


16,98








6,5


22,86


320,6


64,12


3,75


17,94








7,0


24,36


336,7


67,33


3,72


19,12








7,5


25,82


351,6


70,32


3,69


20,27








8,0


27,24


365,4


73,09


3,66


21,39








3,0


13,81


312,3


52,05


4,76


10,84








3,5


15,99


358,1


59,68


4,73


12,56








4,0


18,15


402,2


67,03


4,71


14,25


120


120


4,5


20,27


444,5


74,09


4,68


15,91








5,0


22,36


485,3


80,88


4,66


17,55








5,5


24,41


524,3


87,39


4,63


19,16








6,0


26,43


561,8


93,64


4,61


20,75








6,5


28,06


584,6


97,43


4,56


22,03








7,0


29,96


616,8


102,8


4,54


23,52








7,5


31,82


647,3


107,9


4,51


24,98








8,0


33,64


676,2


112,7


4,48


26,41








4,0


21,35


651,5


93,07


5,52


16,76








4,5


23,87


722,1


103,2


5,50


18,74








5,0


26,36


790,3


112,9


5,48


20,69








5,5


28,81


856,3


122,3


5,45


22,62


140


140


6,0


31,23


920,0


131,4


5,43


24,52








6,5


33,26


963,6


137,7


5,38


26,11








7,0


35,56


1020


145,7


5,36



27,91








7,5


37,82


1074


153,5


5,33



29,69








8,0


40,04


1126


160,8


5,30



31,43








4,0


22,95


807,7


107,7


5,93


18,01








4,5


25,67


896,1


119,5


5,91


20,15








5,0


28,36


981,8


130,9


5,88


22,26








5,5


31,01


1065


142,0


5,86


24,34


150


150


6,0


33,63


1145


152,7


5,84


26,40








6,5


35,86


1203


160,4


5,79


28,15








7,0


38,36


1275


170,0


5,77


30,11








7,5


40,82


1344


179,2


5,74


32,04








8,0


43,24


1411


188,1


5,71


33,95








4,0


24,55


987,0


123,4


6,34


19,27








4,5


27,47


1096


137,0


6,32


21,56








5,0


30,36


1202


150,3


6,29


23,83


160


160


5,5


33,21


1305


163,1


6,27


26,07








6,0


36,03


1405


175,6


6,24


28,29








6,5


38,46


1479


184,8


6,20


30,19








7,0


41,16


1569


196,1


6,17


32,31








7,5


43,82


1656


207,0


6,15


34,40








8,0


46,44


1740


217,5


6,12


36,46








5,0


34,36


1737


192,9


7,11


26,97








5,5


37,61


1888


209,8


7,09


29,52








6,0


40,83


2036


226,2


7,06


32,05








6,5


43,66


2150


238,9


7,02


34,27








7,0


46,76


2286


254,0


6,99


36,70


180


180


7,5


49,82


2417


268,6


6,97


39,11








8,0


52,84


2545


282,7


6,94


41,48








8,5


55,83


2668


296,5


6,91


43,83








9,0


58,78


2787


309,7


6,89


46,14








9,5


61,69


2903


322,6


6,86


48,43








10,0


64,57


3015


335,0


6,83


50,68








6,0


45,63


2832


283,2


7,88


35,82








6,5


48,86


3000


300,0


7,84


38,35








7,0


52,36


3193


319,3


7,81


41,10








7,5


55,82


3382


338,2


7,78


43,82








8,0


59,24


3565


356,5


7,76


46,51


200


200


8,5


62,63


3743


374,3


7,73


49,16








9,0


65,98


3917


391,7


7,70


51,79








9,5


69,29


4085


408,5


7,68


54,39








10,0


72,57


4249


424,9


7,65


56,96








10,5


74,86


4309


430,9


7,59


58,76








11,0


77,97


4454


445,4


7,56


61,20








11,5


81,03


4593


459,3


7,53


63,61








12,0


84,06


4727


472,7


7,50


65,99








6,0


57,63


5671


453,7


9,92


45,24








6,5


61,86


6036


482,9


9,88


48,56








7,0


66,36


6441


515,3


9,85


52,09








7,5


70,82


6838


547,1


9,83


55,59


250


250


8,0


75,24


7227


578,2


9,80


59,07








8,5


79,63


7608


608,7


9,77


62,51








9,0


83,98


7981


638,5


9,75


65,92








9,5


88,29


8346


667,7


9,72


69,31








10,0


92,57


8703


696,3


9,70


72,66








10,5


95,86


8900


712,0


9,64


75,25








11,0


99,97


9227


738,1


9,61


78,47








11,5


104,0


9545


763,6


9,58


81,67








12,0


108,1


9854


788,3


9,55


84,83








6,0


69,63


9963


664,2


11,96


54,66








6,5


74,86


10637


709,1


11,92


58,76








7,0


80,36


11370


758,0


11,89


63,08






7,5


85,82


12090


806,0


11,87


67,37








8,0


91,24


12798


853,2


11,84


71,63


300


300


8,5


96,63


13495


899,7


11,82


75,85








9,0


102,0


14180


945,3


11,79


80,05








9,5


107,3


14853


990,2


11,77


84,22








10,0


112,6


15515


1034


11,74


88,36






10,5


116,9


15947


1063


11,68


91,73








11,0


122,0


16564


1104


11,65


95,74








11,5


127,0


17168


1145


11,63


99,72








12,0


132,1


17761


1184


11,60


103,7


Таблица 2


















Площадь поперечного сечения А, см


Справочные значения величин для осей


Масса

1 м, кг


мм

















, см


, см


, см


, см


, см


, см











2,0


2,74


8,38


3,35


1,75


2,80


2,24


1,01


2,15








2,5


3,34


9,88


3,95


1,72


3,27


2,61


0,99


2,62


50


25


3,0


3,91


11,17


4,47


1,69


3,65


2,92


0,97


3,07








3,5


4,44


12,24


4,90


1,66


3,96


3,16


0,94


3,49








4,0


4,95


13,12


5,25


1,63


4,19


3,35


0,92


3,88








2,0


2,94


9,53


3,81


1,80


4,29


2,86


1,21


2,31








2,5


3,59


11,29


4,52


1,77


5,04


3,36


1,19


2,82


50


30


3,0


4,21


12,82


5,13


1,75


5,68


3,79


1,16


3,30








3,5


4,79


14,13


5,65


1,72


6,22


4,15


1,14


3,76








4,0


5,35


15,24


6,09


1,69


6,66


4,44


1,12


4,20








5,0


6,36


16,85


6,74


1,63


7,26


4,84


1,07


4,99








2,0


3,34


11,84


4,73


1,88


8,38


4,19


1,58


2,62








2,5


4,09


14,11


5,65


1,86


9,97


4,98


1,56


3,21








3,0


4,81


16,14


6,45


1,83


11,36


5,68


1,54


3,77


50


40


3,5


5,49


17,92


7,17


1,81


12,59


6,29


1,51


4,31








4,0


6,15


19,47


7,79


1,78


13,64


6,82


1,49


4,83








4,5


6,77


20,80


8,32


1,75


14,54


7,27


1,47


5,31








5,0


7,36


21,91


8,77


1,73


15,28


7,64


1,44


5,77








2,0


3,34


15,04


5,01


2,12


5,07


3,38


1,23


2,62








2,5


4,09


17,93


5,98


2,09


5,99


3,99


1,21


3,21








3,0


4,81


20,49


6,83


2,06


6,78


4,52


1,19


3,77








3,5


5,49


22,74


7,58


2,03


7,45


4,97


1,16


4,31


60


30


4,0


6,15


24,69


8,23


2,00


8,01


5,34


1,14


4,83








4,5


6,77


26,34


8,78


1,97


8,47


5,64


1,12


5,31








5,0


7,36


27,72


9,24


1,94


8,83


5,88


1,10


5,77








5,5


7,91


28,84


9,61


1,91


9,10


6,06


1,07


6,21








6,0


8,43


29,69


9,90


1,88


9,28


6,19


1,05


6,62








2,0


3,74


18,41


6,14


2,22


9,82


4,91


1,62


2,93








2,5


4,59


22,06


7,35


2,19


11,72


5,86


1,60


3,60








3,0


5,41


25,37


8,46


2,17


13,42


6,71


1,58


4,25


60


40


3,5


6,19


28,33


9,44


2,14


14,92


7,46


1,55


4,86








4,0


6,95


30,96


10,32


2,11


16,23


8,12


1,53


5,45








4,5


7,67


33,28


11,09


2,08


17,37


8,69


1,51


6,02








5,0


8,36


35,29


11,76


2,05


18,34


9,17


1,48


6,56








5,5


9,01


37,00


12,33


2,03


19,16


9,58


1,46


7,07








6,0


9,63


38,44


12,81


2,00


19,82


9,91


1,43


7,56








2,0


4,54


31,47


8,99


2,63


18,75


7,50


2,03


3,56








2,5


5,59


38,00


10,86


2,61


22,57


9,03


2,01


4,39








3,0


6,61


44,03


12,58


2,58


26,08


10,43


1,99


5,19


70


50


3,5


7,59


49,57


14,16


2,55


29,27


11,71


1,96


5,96








4,0


8,55


54,64


15,61


2,53


32,16


12,87


1,94


6,71








4,5


9,47


59,24


16,93


2,50


34,77


13,91


1,92


7,43








5,0


10,36


63,40


18,11


2,47


37,10


14,84


1,89


8,13








5,5


11,21


67,12


19,18


2,45


39,17


15,67


1,87


8,80








6,0


12,03


70,43


20,12


2,42


40,98


16,39


1,85


9,45








2,0


4,54


37,35


9,34


2,87


12,71


6,36


1,67


3,56








2,5


5,59


45,10


11,27


2,84


15,24


7,62


1,65


4,39








3,0


6,61


52,24


13,06


2,81


17,52


8,76


1,63


5,19






3,5


7,59


58,79


14,70


2,78


19,58


9,79


1,61


5,96


80


40


4,0


8,55


64,77


16,19


2,75


21,42


10,71


1,58


6,71








4,5


9,47


70,19


17,55


2,72


23,04


11,52


1,56


7,43






5,0


10,36


75,07


18,77


2,69


24,47


12,23


1,54


8,13








5,5


11,21


79,42


19,86


2,66


25,70


12,85


1,51


8,80








6,0


12,03


83,26


20,82


2,63


26,75


13,38


1,49


9,45








2,0


5,34


49,52


12,38


3,05


34,35


11,45


2,54


4,19








2,5


6,59


60,11


15,03


3,02


42,42


14,14


2,54


5,17








3,0


7,81


70,02


17,51


2,99


44,86


14,95


2,40


6,13








3,5


8,99


79,27


19,82


2,97


50,67


16,89


2,37


7,06








4,0


10,15


87,87


21,97


2,94


56,05


18,68


2,35


7,97


80


60


4,5


11,27


95,84


23,96


2,92


61,00


20,33


2,33


8,85








5,0


12,36


103,2


25,80


2,89


65,54


21,85


2,30


9,70








5,5


13,41


109,9


27,49


2,86


69,68


23,23


2,28


10,53








6,0


14,43


116,1


29,03


2,84


73,43


24,48


2,26


11,33








6,5


15,06


115,9


28,98


2,77


73,58


24,53


2,21


11,82








7,0


15,96


120,1


30,01


2,74


76,10


25,37


2,18


12,53








3,0


8,41


78,92


19,73


3,06


64,23


18,35


2,76


6,60








3,5


9,69


89,51


22,38


3,04


72,79


20,80


2,74


7,61








4,0


10,95


99,42


24,86


3,01


80,77


23,08


2,72


8,59








4,5


12,17


108,7


27,17


2,99


88,20


25,20


2,69


9,55


80


70


5,0


13,36


117,3


29,31


2,96


95,09


27,17


2,67


10,48








5,5


14,51


125,2


31,30


2,94


101,5


28,98


2,64


11,39








6,0


15,63


132,5


33,14


2,91


107,3


30,66


2,62


12,27








6,5


16,36


133,5


33,37


2,86


108,2


30,92


2,57


12,84








7,0


17,36


138,7


34,68


2,83


112,4


32,11


2,54


13,63








3,0


7,81


81,83


18,19


3,24


32,70


13,08


2,05


6,13








3,5


8,99


92,63


20,59


3,21


36,84


14,74


2,02


7,06








4,0


10,15


102,7


22,82


3,18


40,63


16,25


2,00


7,97








4,5


11,27


112,0


24,88


3,15


44,09


17,63


1,98


8,85


90


50


5,0


12,36


120,5


26,79


3,12


47,23


18,89


1,95


9,70








5,5


13,41


128,4


28,53


3,09


50,06


20,02


1,93


10,53








6,0


14,43


135,6


30,13


3,06


52,59


21,04


1,91


11,33








6,5


15,06


134,7


29,93


2,99


52,62


21,05


1,87


11,82








7,0


15,96


139,4


30,97


2,96


54,27


21,71


1,84


12,53








3,0


8,41


93,19


20,71


3,33


49,73


16,58


2,43


6,60








3,5


9,69


105,7


23,50


3,30


56,26


18,75


2,41


7,61








4,0


10,95


117,5


26,10


3,28


62,32


20,77


2,39


8,59








4,5


12,17


128,4


28,54


3,25


67,93


22,64


2,36


9,55


90


60


5,0


13,36


138,6


30,80


3,22


73,10


24,37


2,34


10,48








5,5


14,51


148,0


32,90


3,19


77,84


25,95


2,32


11,39








6,0


15,63


156,7


34,83


3,17


82,18


27,39


2,29


12,27








7,0


17,36


163,5


36,33


3,07


85,93


28,64


2,23


13,63








3,0


7,81


92,33


18,47


3,44


21,63


10,82


1,66


6,13








3,5


8,99


104,4


20,89


3,41


24,24


12,12


1,64


7,06








4,0


10,15


115,7


23,13


3,38


26,60


13,30


1,62


7,97


100


40


4,5


11,27


126,0


25,21


3,34


28,71


14,36


1,60


8,85








5,0


12,36


135,6


27,11


3,31


30,59


15,30


1,57


9,70








5,5


13,41


144,3


28,85


3,28


32,25


16,12


1,55


10,53








6,0


14,43


152,2


30,43


3,25


33,69


16,85


1,53


11,33








6,5


15,06


150,1


30,03


3,16


33,54


16,77


1,49


11,82








7,0


15,96


155,0


31,01


3,12


34,39


17,19


1,47


12,53








3,0


8,41


106,4


21,29


3,56


36,02


14,41


2,07


6,60








3,5


9,69


120,7


24,15


3,53


40,62


16,25


2,05


7,61








4,0


10,95


134,1


26,82


3,50


44,86


17,94


2,02


8,59








4,5


12,17


146,6


29,31


3,47


48,74


19,50


2,00


9,55


100


50


5,0


13,36


158,1


31,62


3,44


52,29


20,92


1,98


10,48








5,5


14,51


168,8


33,76


3,41


55,50


22,20


1,96


11,39








6,0


15,63


178,7


35,73


3,38


58,40


23,36


1,93


12,27








6,5


16,36


178,6


35,71


3,30


58,77


23,51


1,90


12,84








7,0


17,36


185,3


37,06


3,27


60,74


24,29


1,87


13,63








3,0


9,01


120,6


24,11


3,66


54,61


18,20


2,46


7,07








3,5


10,39


137,0


27,41


3,63


61,85


20,62


2,44


8,16








4,0


11,75


152,5


30,51


3,60


68,59


22,86


2,42


9,22






4,5


13,07


167,1


33,42


3,58


74,86


24,95


2,39


10,26


100


60


5,0


14,36


180,7


36,14


3,55


80,66


26,89


2,37


11,27








5,5


15,61


193,4


38,68


3,52


86,01


28,67


2,35


12,25








6,0


16,83


205,2


41,03


3,49


90,93


30,31


2,32


13,21






6,5


17,66


207,0


41,39


3,42


92,18


30,73


2,28


13,86








7,0


18,76


215,6


43,12


3,39


95,77


31,92


2,26


14,72








3,0


9,01


148,0


24,67


4,05


25,74


12,87


1,69


7,07








3,5


10,39


168,1


28,01


4,02


28,91


14,45


1,67


8,16








4,0


11,75


186,9


31,14


3,99


31,79


15,89


1,64


9,22


120


40


4,5


13,07


204,4


34,07


3,96


34,38


17,19


1,62


10,26








5,0


14,36


220,8


36,79


3,92


36,72


18,36


1,60


11,27








5,5


15,61


235,9


39,32


3,89


38,79


19,40


1,58


12,25








6,0


16,83


249,9


41,65


3,85


40,63


20,31


1,55


13,21








6,5


17,66


249,6


41,60


3,76


40,84


20,42


1,52


13,86








7,0


18,76


259,2


43,21


3,72


42,01


21,00


1,50


14,72








3,0


10,21


189,1


31,52


4,30


64,35


21,45


2,51


8,01








3,5


11,79


215,6


35,93


4,28


73,02


24,34


2,49


9,26








4,0


13,35


240,7


40,12


4,25


81,14


27,05


2,47


10,48








4,5


14,87


264,5


44,08


4,22


88,72


29,57


2,44


11,67


120


60


5,0


16,36


286,9


47,82


4,19


95,79


31,93


2,42


12,84








5,5


17,81


308,0


51,34


4,16


102,3


34,12


2,40


13,98








6,0


19,23


327,9


54,65


4,13


108,4


36,14


2,37


15,10








6,5


20,26


333,3


55,56


4,06


110,8


36,93


2,34


15,90








7,0


21,56


348,6


58,10


4,02


115,4


38,48


2,31


16,92








3,0


11,41


230,2


38,36


4,49


123,4


30,85


3,29


8,96








3,5


13,19


263,1


43,85


4,47


140,7


35,18


3,27


10,36








4,0


14,95


294,5


49,09


4,44


157,2


39,30


3,24


11,73


120


80


4,5


16,67


324,5


54,08


4,41


172,8


43,20


3,22


13,08








5,0


18,36


353,0


58,84


4,39


187,6


46,89


3,20


14,41








5,5


20,01


380,1


63,36


4,36


201,5


50,38


3,17


15,71








6,0


21,63


405,9


67,64


4,33


214,7


53,67


3,15


16,98








6,5


22,86


417,1


69,51


4,27


221,3


55,31


3,11


17,94








7,0


24,36


438,0


73,00


4,24


232,0


57,99


3,09


19,12








3,0


11,41


278,1


39,72


4,94


74,10


24,70


2,55


8,96








3,5


13,19


317,7


45,39


4,91


84,19


28,06


2,53


10,36








4,0


14,95


355,5


50,79


4,88


93,68


31,23


2,50


11,73


140


60


4,5


16,67


391,6


55,94


4,85


102,6


34,19


2,48


13,08








5,0


18,36


425,8


60,83


4,82


110,9


36,97


2,46


14,41








5,5


20,01


458,3


65,47


4,79


118,7


39,56


2,44


15,71








6,0


21,63


489,1


69,87


4,75


125,9


41,97


2,41


16,98








6,5


22,86


500,2


71,46


4,68


129,4


43,13


2,38


17,94








7,0


24,36


524,8


74,97


4,64


135,1


45,03


2,36


19,12








4,0


18,15


503,5


71,93


5,27


300,0


60,00


4,07


14,25








4,5


20,27


556,8


79,54


5,24


331,2


66,25


4,04


15,91


140


100


5,0


22,36


608,1


86,87


5,22


361,2


72,24


4,02


17,55








5,5


24,41


657,3


93,90


5,19


389,8


77,97


4,00


19,16








6,0


26,43


704,5


100,6


5,16


417,2


83,45


3,97


20,75








6,5


28,06


731,9


104,6


5,11


434,3


86,85


3,93


22,03








7,0


29,96


772,4


110,3


5,08


457,8


91,55


3,91


23,52








4,0


19,75


577,5


82,50


5,41


456,0


76,00


4,81


15,50








4,5


22,07


639,4


91,35


5,38


504,6


84,10


4,78


17,32








5,0


24,36


699,2


99,88


5,36


551,4


91,90


4,76


19,12








5,5


26,61


756,8


108,1


5,33


596,5


99,41


4,73


20,89


140


120


6,0


28,83


812,3


116,0


5,31


639,8


106,6


4,71


22,63








6,5


30,66


847,8


121,11


5,26


668,3


111,4


4,67


24,07








7,0


32,76


896,3


128,0


5,23


706,2


117,7


4,64


25,71








7,5


34,82


942,5


134,6


5,20


742,2


123,7


4,62


27,33








8,0


36,84


986,5


140,9


5,17


776,5


129,4


4,59


28,92








4,0


18,95


594,5


79,27


5,60


318,4


63,68


4,10


14,87








4,5


21,17


657,9


87,72


5,58


351,8


70,35


4,08


16,62


150


100


5,0


23,36


719,0


95,87


5,55


383,7


76,75


4,05


18,33








5,5


25,51


777,9


103,7


5,52


414,4


82,88


4,03


20,03








6,0


27,63


834,4


111,3


5,50


443,7


88,75


4,01


21,69








6,5


29,36


868,2


115,8


5,44


462,7


92,54


3,97


23,05








7,0


31,36


917,1


122,3


5,41


488,0


97,61


3,95


24,62








3,0


11,41


315,9


39,49


5,26


33,95


16,98


1,73


8,96








3,5


13,19


360,5


45,07


5,23


38,23


19,12


1,70


10,36








4,0


14,95


403,0


50,37


5,19


42,15


21,08


1,68


11,73








4,5


16,67


443,2


55,40


5,16


45,73


22,86


1,66


13,08


160


40


5,0


18,36


481,3


60,16


5,12


48,97


24,48


1,63


14,41








5,5


20,01


517,3


64,66


5,08


51,89


25,94


1,61


15,71








6,0


21,63


551,2


68,90


5,05


54,50


27,25


1,59


16,98








6,5


22,86


559,7


69,96


4,95


55,43


27,71


1,56


17,94








7,0


24,36


585,8


73,22


4,90


57,26


28,63


1,53


19,12








4,0


18,15


597,6


74,71


5,74


203,4


50,85


3,35


14,25








4,5


20,27


660,8


82,60


5,71


224,1


56,02


3,33


15,91








5,0


22,36


721,6


90,20


5,68


243,8


60,95


3,30


17,55


160


80


5,5


24,41


779,9


97,48


5,65


262,6


65,64


3,28


19,16








6,0


26,43


835,8


104,5


5,62


280,4


70,10


3,26


20,75








6,5


28,06


866,0


108,3


5,56


291,5


72,87


3,22


22,03








7,0


29,96


913,5


114,2


5,52


306,6


76,64


3,20


23,52








4,0


19,75


695,0


86,87


5,93


336,9


67,37


4,13


15,50








4,5


22,07


769,6


96,21


5,91


372,3


74,46


4,11


17,32








5,0


24,36


841,7


105,2


5,88


406,3


81,26


4,08


19,12








5,5


26,61


911,2


113,9


5,85


439,0


87,79


4,06


20,89


160


100


6,0


28,83


978,1


122,3


5,82


470,2


94,05


4,04


22,63








6,5


30,66


1019


127,4


5,77


491,1


98,22


4,00


24,07








7,0


32,76


1077


134,7


5,73


518,3


103,7


3,98


25,71








7,5


34,82


1133


141,6


5,70


544,1


108,8


3,95


27,33








8,0


36,84


1186


148,2


5,67


568,6


113,7


3,93


28,92








4,0


21,35


792,3


99,04


6,09


509,8


84,97


4,89


16,76








4,5


23,87


878,5


109,8


6,07


564,6


94,10


4,86


18,74








5,0


26,36


961,8


120,2


6,04


617,5


102,9


4,84


20,69








5,5


28,81


1042


130,3


6,02


668,6


111,4


4,82


22,62


160


120


6,0


31,23


1120


140,0


5,99


717,8


119,6


4,79


24,52








6,5


33,26


1172


146,5


5,94


752,0


125,3


4,76


26,11







7,0


35,56


1241


155,2



5,91


795,5


132,6


4,73


27,91







7,5


37,82


1307


163,4



5,88


837,2


139,5


4,70


29,69







8,0


40,04


1371


171,3



5,85


876,9


146,1


4,68


31,43








5,0


28,36


1082


135,2


6,18


881,4


125,9


5,58


22,26








5,5


31,01


1174


146,7


6,15


955,8


136,5


5,55


24,34








6,0


33,63


1263


157,8


6,13


1028


146,8


5,53


26,40








6,5


35,86


1325


165,7


6,08


1079


154,2


5,49


28,15


160


140


7,0


38,36


1405


175,6


6,05


1144


163,4


5,46


30,11








7,5


40,82


1482


185,2


6,02


1206


172,3


5,44


32,04








8,0


43,24


1555


194,4


6,00


1265


180,8


5,41


33,95








4,0


18,15


678,1


75,3


6,11


118,8


39,6


2,56


14,25








4,5


20,27


749,4


83,3


6,08


130,3


43,4


2,54


15,91








5,0


22,36


817,8


90,9


6,05


141,2


47,1


2,51


17,55








5,5


24,41


883,3


98,1


6,02


151,4


50,5


2,49


19,16


180


60


6,0


26,43


946,0


105,1


5,98


160,9


53,6


2,47


20,75








6,5


28,06


976,4


108,5


5,90


166,6


55,5


2,44


22,03








7,0


29,96


1029


114,3


5,86


174,4


58,1


2,41


23,52








7,5


31,82


1078


119,8


5,82


181,6


60,5


2,39


24,98








8,0


33,64


1125


125,0


5,78


188,2


62,7


2,37


26,41








4,0


19,75


802,0


89,12


6,37


226,5


56,62


3,39


15,50








4,5


22,07


888,0


98,67


6,34


249,7


62,44


3,36


17,32








5,0


24,36


970,9


107,9


6,31


271,9


67,99


3,34


19,12








5,5


26,61


1051


116,8


6,28


293,1


73,28


3,32


20,89


180


80


6,0


28,83


1128


125,3


6,25


313,3


78,31


3,30


22,63








6,5


30,66


1172


130,2


6,18


326,6


81,65


3,26


24,07








7,0


32,76


1238


137,6


6,15


343,9


85,97


3,24


25,71








7,5


34,82


1301


144,6


6,11


360,1


90,03


3,22


27,33








8,0


36,84


1361


151,3


6,08


375,4


93,85


3,19


28,92








4,0


21,35


926,0


102,9


6,59


373,7


74,74


4,18


16,76








4,5


23,87


1027


114,1


6,56


413,3


82,67


4,16


18,74








5,0


26,36


1124


124,9


6,53


451,4


90,29


4,14


20,69








5,5


28,81


1218


135,4


6,50


488,1


97,61


4,12


22,62


180


100


6,0


31,23


1309


145,5


6,47


523,3


104,7


4,09


24,52








6,5


33,26


1368


152,0


6,41


547,9


109,6


4,06


26,11








7,0


35,56


1448


160,9


6,38


578,8


115,8


4,03


27,91








7,5


37,82


1525


169,4


6,35


608,3


121,7


4,01


29,69








8,0


40,04


1598


177,6


6,32


636,3


127,3


3,99


31,43








4,0


24,55


1174


130,42


6,91


799,5


114,2


5,71


19,27








4,5


27,47


1304


144,87


6,89


887,3


126,8


5,68


21,56








5,0


30,36


1430


158,92


6,86


972,6


138,9


5,66


23,83


180


140


5,5


33,21


1553


172,58


6,84


1055


150,7


5,64


26,07








6,0


36,03


1673


185,85


6,81


1135


162,2


5,61


28,29








6,5


38,46


1759


195,45


6,76


1195


170,8


5,57


30,19








7,0


41,16


1867


207,43


6,73


1268


181,1


5,55


32,31








7,5


43,82


1971


218,99


6,71


1338


191,1


5,52


34,40








8,0


46,44


2071


230,15


6,68


1405


200,8


5,50


36,46








4,0


18,15


738,6


73,86


6,38


52,52


26,26


1,70


14,25








4,5


20,27


815,3


81,53


6,34


57,07


28,53


1,68


15,91


200


40


5,0


22,36


888,7


88,87


6,30


61,22


30,61


1,65


17,55








5,5


24,41


958,8


95,88


6,27


64,98


32,49


1,63


19,16








6,0


26,43


1026


102,6


6,23


68,37


34,19


1,61


20,75








6,5


28,06


1053


105,3


6,13


70,02


35,01


1,58


22,03








7,0


29,96


1107


110,7


6,08


72,50


36,25


1,56


23,52








4,0


21,35


1046


104,6


7,00


249,6


62,40


3,42


16,76








4,5


23,87


1159


115,9


6,97


275,4


68,85


3,40


18,74








5,0


26,36


1269


126,9


6,94


300,1


75,02


3,37


20,69








5,5


28,81


1375


137,5


6,91


323,6


80,91


3,35


22,62


200


80


6,0


31,23


1477


147,7


6,88


346,1


86,53


3,33


24,52








6,5


33,26


1539


153,9


6,80


361,7


90,43


3,30


26,11








7,0


35,56


1629


162,9


6,77


381,2


95,29


3,27


27,91








7,5


37,82


1714


171,4


6,73


399,6


99,89


3,25


29,69








8,0


40,04


1795


179,5


6,70


416,9


104,2


3,23


31,43








4,0


22,95


1200


120,0


7,23


410,6


82,12


4,23


18,01








4,5


25,67


1331


133,1


7,20


454,4


90,87


4,21


20,15








5,0


28,36


1459


145,9


7,17


496,6


99,31


4,18


22,26








5,5


31,01


1583


158,3


7,14


537,2


107,4


4,16


24,34


200


100


6,0


33,63


1703


170,3


7,12


576,3


115,3


4,14


26,40








6,5


35,86


1783


178,3


7,05


604,7


120,9


4,11


28,15








7,0


38,36


1889


188,9


7,02


639,4


127,9


4,08


30,11








7,5


40,82


1992


199,2


6,99


672,5


134,5


4,06


32,04








8,0


43,24


2090


209,0


6,95


704,0


140,8


4,03


33,95








4,0


24,55


1353


135,3


7,42


617,5


102,9


5,02


19,27








4,5


27,47


1503


150,3


7,40


684,7


114,1


4,99


21,56








5,0


30,36


1649


164,9


7,37


749,8


125,0


4,97


23,83








5,5


33,21


1791


179,1


7,34


812,8


135,5


4,95


26,07








6,0


36,03


1929


192,9


7,32


873,7


145,6


4,92


28,29


200


120


6,5


38,46


2026


202,6


7,26


919,5


153,2


4,89


30,19








7,0


41,16


2150


215,0


7,23


974,3


162,4


4,87


32,31








7,5


43,82


2270


227,0


7,20


1027


171,2


4,84


34,40








8,0


46,44


2385


238,5


7,17


1078


179,6


4,82


36,46








5,0


34,36


2029


202,9


7,69


1442


180,3


6,48


26,97








5,5


37,61


2207


220,7


7,66


1568


195,9


6,46


29,52








6,0


40,83


2380


238,0


7,64


1690


211,2


6,43


32,05








6,5


43,66


2513


251,3


7,59


1785


223,1


6,39


34,27


200


160


7,0


46,76


2672


267,2


7,56


1897


237,1


6,37


36,70








7,5


49,82


2826


282,6


7,53


2005


250,6


6,34


39,11








8,0


52,84


2975


297,5


7,50


2110


263,7


6,32


41,48








8,5


55,83


3120


312,0


7,48


2211


276,4


6,29


43,83








9,0


58,78


3260


326,0


7,45


2309


288,7


6,27


46,14








9,5


61,69


3395


339,5


7,42


2404


300,5


6,24


48,43








10,0


64,57


3527


352,7


7,39


2496


312,0


6,22


50,68








4,0


24,55


1519


138,1


7,87


447,4


89,49


4,27


19,27








4,5


27,47


1687


153,4


7,84


495,4


99,08


4,25


21,56








5,0


30,36


1851


168,3


7,81


541,7


108,34


4,22


23,83


220


100


5,5


33,21


2010


182,7


7,78


586,3


117,26


4,20


26,07








6,0


36,03


2164


196,7


7,75


629,3


125,86


4,18


28,29








6,5


38,46


2270


206,3


7,68


661,6


132,31


4,15


30,19








7,0


41,16


2408


218,9


7,65


699,9


139,99


4,12


32,31








7,5


43,82


2541


231,0


7,61


736,6


147,33


4,10


34,40








8,0


46,44


2669


242,7


7,58


771,7


154,34


4,08


36,46








5,0


34,36


2313


210,3


8,21


1155


165,0


5,80


26,97






5,5


37,61


2516


228,7


8,18


1254


179,2


5,77


29,52








6,0


40,83


2714


246,7


8,15


1351


193,0


5,75


32,05


220


140


6,5


43,66


2862


260,2


8,10


1427


203,7


5,72


34,27






7,0


46,76


3043


276,6


8,07


1515


216,5


5,69


36,70








7,5


49,82


3218


292,6


8,04


1601


228,7


5,67


39,11








8,0


52,84


3388


308,0


8,01


1683


240,5


5,64


41,48








5,0


34,36


2579


215,0


8,66


882,0


147,0


5,07


26,97








5,5


37,61


2805


233,8


8,64


957,0


159,5


5,04


29,52


240


120


6,0


40,83


3026


252,1


8,61


1030


171,6


5,02


32,05








6,5


43,66


3188


265,6


8,54


1087


181,2


4,99


34,27








7,0


46,76


3388


282,4


8,51


1153


192,2


4,97


36,70








7,5


49,82


3583


298,6


8,48


1217


202,8


4,94


39,11








8,0


52,84


3771


314,3


8,45


1278


213,1


4,92


41,48








6,0


45,63


3683


306,9


8,98


1974


246,8


6,58


35,82








6,5


48,86


3896


324,7


8,93


2091


261,4


6,54


38,35








7,0


52,36


4148


345,7


8,90


2224


278,1


6,52


41,10








7,5


55,82


4394


366,2


8,87


2354


294,2


6,49


43,82


240


160


8,0


59,24


4633


386,1


8,84


2480


309,9


6,47


46,51








8,5


62,63


4865


405,4


8,81


2602


325,2


6,45


49,16








9,0


65,98


5091


424,2


8,78


2720


340,0


6,42


51,79








9,5


69,29


5311


442,5


8,75


2835


354,3


6,40


54,39








10,0


72,57


5524


460,3


8,72


2946


368,2


6,37


56,96








10,5


74,86


5590


465,8


8,64


2990


373,8


6,32


58,76








11,0


77,97


5777


481,4


8,61


3088


386,1


6,29


61,20








11,5


81,03


5957


496,4


8,57


3183


397,8


6,27


63,61








12,0


84,06


6130


510,9


8,54


3273


409,2


6,24


65,99








6,0


45,63


3885


310,8


9,23


1768


235,7


6,22


35,82








6,5


48,86


4109


328,7


9,17


1872


249,6


6,19


38,35


250


150


7,0


52,36


4375


350,0


9,14


1991


265,4


6,17


41,10








7,5


55,82


4633


370,7


9,11


2106


280,8


6,14


43,82








8,0


59,24


4885


390,8


9,08


2217


295,7


6,12


46,51






6,0


44,43


3888


299,0


9,35


1326


204,0


5,46


34,88








6,5


47,56


4106


315,8


9,29


1403


215,8


5,43


37,33








7,0


50,96


4369


336,1


9,26


1490


229,2


5,41


40,00








7,5


54,32


4625


355,8


9,23


1574


242,2


5,38


42,64








8,0


57,64


4874


374,9


9,20


1656


254,8


5,36


45,25


260


130


8,5


60,93


5116


393,5


9,16


1735


266,9


5,34


47,83








9,0


64,18


5350


411,6


9,13


1811


278,6


5,31


50,38








9,5


67,39


5578


429,1


9,10


1885


290,0


5,29


52,90








10,0


70,57


5799


446,0


9,06


1956


300,9


5,26


55,39








10,5


72,76


5848


449,8


8,96


1982


305,0


5,22


57,12








11,0


75,77


6038


464,5


8,93


2044


314,5


5,19


59,48








11,5


78,73


6221


478,6


8,89


2103


323,6


5,17


61,81








12,0


81,66


6397


492,1


8,85


2160


332,3


5,14


64,10








6,0


45,63


4777


318,4


10,23


841,4


168,3


4,29


35,82








6,5


48,86


5038


335,9


10,15


888,9


177,8


4,27


38,35








7,0


52,36


5360


357,3


10,12


942,1


188,4


4,24


41,10


300


100


7,5


55,82


5673


378,2


10,08


993,3


198,7


4,22


43,82








8,0


59,24


5977


398,5


10,04


1043


208,5


4,20


46,51








8,5


62,63


6273


418,2


10,01


1090


218,0


4,17


49,16








9,0


65,98


6559


437,3


9,97


1135


227,0


4,15


51,79








9,5


69,29


6836


455,8


9,93


1179


235,7


4,12


54,39








10,0


72,57


7105


473,7


9,90


1220


244,0


4,10


56,96








6,0


57,63


7370


491,3


11,31


3961


396,1


8,29


45,24








6,5


61,86


7838


522,5


11,26


4217


421,7


8,26


48,56








7,0


66,36


8365


557,7


11,23


4497


449,7


8,23


52,09








7,5


70,82


8882


592,1


11,20


4771


477,1


8,21


55,59


300


200


8,0


75,24


9388


625,9


11,17


5039


503,9


8,18


59,07








8,5


79,63


9884


658,9


11,14


5302


530,2


8,16


62,51








9,0


83,98


10370


691,3


11,11


5558


555,8


8,14


65,92








9,5


88,29


10845


723,0


11,08


5809


580,9


8,11


69,31








10,0


92,57


11310


754,0


11,05


6054


605,4


8,09


72,66








10,5


95,86


11547


769,8


10,98


6195


619,5


8,04


75,25








11,0


99,97


11970


798,0


10,94


6418


641,8


8,01


78,47








11,5


104,0


12383


825,5


10,91


6636


663,6


7,99


81,67








12,0


108,1


12784


852,3


10,88


6847


684,7


7,96


84,83








6,0


57,63


8012


500,8


11,79


3308


367,5


7,58


45,24








6,5


61,86


8517


532,3


11,73


3520


391,1


7,54


48,56








7,0


66,36


9089


568,1


11,70


3752


416,9


7,52


52,09








7,5


70,82


9650


603,1


11,67


3979


442,2


7,50


55,59


320


180


8,0


75,24


10200


637,5


11,64


4201


466,8


7,47


59,07








8,5


79,63


10738


671,1


11,61


4418


490,9


7,45


62,51








9,0


83,98


11265


704,0


11,58


4630


514,4


7,42


65,92








9,5


88,29


11780


736,3


11,55


4836


537,4


7,40


69,31








10,0


92,57


12285


767,8


11,52


5038


559,7


7,38


72,66








10,5


95,86


12530


783,1


11,43


5155


572,7


7,33


75,25








11,0


99,97


12988


811,7


11,40


5338


593,1


7,31


78,47








11,5


104,0


13434


839,6


11,36


5517


613,0


7,28


81,67








12,0


108,1


13867


866,7


11,33


5690


632,2


7,26


84,83








6,0


69,63


12456


711,8


13,37


7457


596,6


10,35


54,66








6,5


74,86


13293


759,6


13,33


7963


637,0


10,31


58,76








7,0


80,36


14210


812,0


13,30


8508


680,6


10,29


63,08








7,5


85,82


15112


863,5


13,27


9044


723,5


10,27


67,37


350


250


8,0


91,24


15999


914,3


13,24


9570


765,6


10,24


71,63








8,5


96,63


16872


964,1


13,21


10087


807,0


10,22


75,85








9,0


102,0


17731


1013


13,19


10595


847,6


10,19


80,05








9,5


107,3


18575


1061


13,16


11094


887,5


10,17


84,22








10,0


112,6


19404


1109


13,13


11583


926,7


10,14


88,36








10,5


116,9


19923


1138


13,06


11912


952,9


10,10


91,73








11,0


122,0


20694


1183


13,03


12368


989,5


10,07


95,74








11,5


127,0


21451


1226


12,99


12815


1025


10,04


99,72








12,0


132,1


22191


1268


12,96


13253


1060


10,02


103,7








6,0


75,63


14232


813,2


13,72


11259


750,6


12,20


59,37








6,5


81,36


15210


869,2


13,67


12037


802,5


12,16


63,87








7,0


87,36


16269


929,6


13,65


12872


858,1


12,14


68,58








7,5


93,32


17312


989,2


13,62


13694


912,9


12,11


73,26






8,0


99,24


18339


1048


13,59


14504


966,9


12,09


77,91








8,5


105,1


19351


1106


13,57


15301


1020


12,06


82,53


350


300


9,0


111,0


20347


1163


13,54


16086


1072


12,04


87,12








9,5


116,8


21328


1219


13,51


16858


1124


12,01


91,68








10,0


122,6


22294


1274


13,49


17618


1175


11,99


96,21






10,5


127,4


22948


1311


13,42


18147


1210


11,94


99,98








11,0


133,0


23855


1363


13,39


18861


1257


11,91


104,4








11,5


138,5


24745


1414


13,36


19561


1304


11,88


108,7








12,0


144,1


25619


1464


13,34


20249


1350


11,86


113,1








6,0


69,63


13885


730,8


14,12


6011


546,4


9,29


54,66








6,5


74,86


14810


779,5


14,07


6418


583,4


9,26


58,76


380


220


7,0


80,36


15831


833,2


14,04


6854


623,1


9,24


63,08








7,5


85,82


16836


886,1


14,01


7282


662,0


9,21


67,37








8,0


91,24


17824


938,1


13,98


7703


700,3


9,19


71,63








10,0


112,6


23000


1150


14,29


7859


785,9


8,36


88,36








10,5


116,9


23577


1179


14,20


8080


808,0


8,32


91,73


400


200


11,0


122,0


24485


1224


14,17


8383


838,3


8,29


95,74








11,5


127,0


25374


1269


14,13


8679


867,9


8,27


99,72








12,0


132,1


26245


1312


14,10


8968


896,8


8,24


103,7




Примечания к таблицам 1 и 2

1 — момент инерции; — момент сопротивления; — радиус инерции.

2 Радиус наружного закругления угла при 6,0 мм; при 610  мм; при 10,0 мм.

3 Масса 1 м длины профиля определена по площади поперечного сечения при плотности стали 7,85 г/см.

4 По согласованию потребителя с изготовителем допускается изготовление профилей других размеров.


3.3  Предельные отклонения по толщине стенки профилей должны соответствовать предельным отклонениям по толщине исходной заготовки шириной 1250 мм нормальной точности прокатки Б по ГОСТ 19903. Предельные отклонения по толщине не распространяются на места изгиба.

3.4  Предельные отклонения по высоте и ширине профиля должны соответствовать, %:







при высоте (ширине) профиля до 100 мм


±1,0, но не менее ±0,5 мм;




  "         "             "                "       св. 100 мм


±0,8.


3.5  Допуски на радиусы наружного закругления должны соответствовать:






при 6,0 мм


— от 1,6 до 2,4;




при 6,0 10,0 мм


— от 2,0 до 3,0;




при 10,0 мм


— от 2,4 до 3,6.


3.6  В поперечном сечении профиля отклонения от угла 90° не должны превышать ± 1°30’.

3.7  Профили изготавливают длиной от 6,0 до 12,0 м, а по согласованию потребителя с изготовителем — длиной от 4,0 до 13,0 м:

—  немерной длины;

—  мерной длины;

—  кратной мерной длины.

3.8  Предельные отклонения по длине профилей мерной и кратной мерной длины не должны быть более +60,0 мм.

3.9  Пример условного обозначения гнутого сварного профиля высотой 180, шириной 100, толщиной стенки 5 мм из стали С245 по ГОСТ 27772:

          .

 4 Технические требования

4.1  Профили изготовляют в соответствии с требованиями настоящего стандарта по технологическому регламенту, утвержденному в установленном порядке.

4.2  Профили следует изготавливать из листового проката, поставляемого в рулонах по ГОСТ 19903, из стали:

—  углеродистой общего назначения и низколегированной толщиной 3 мм и более — по ГОСТ 27772;

—  углеродистой общего назначения толщиной 4 мм и более — по ГОСТ 14637; толщиной 3 мм — по ГОСТ 16523;

—  углеродистой качественной марок 10, 15 и 20 — по ГОСТ 1050;

—  низколегированной толщиной 4 мм и более — по ГОСТ 19281; толщиной 3 мм — по ГОСТ 17066.

Марку  стали и категорию поставки указывают в заказе на профили.

4.3  Местная кривизна профилей в горизонтальной и вертикальной плоскостях не должна превышать 1 мм на 1 м длины профиля.

Общая  кривизна не должна превышать произведения допускаемой местной кривизны (на 1 м длины) на длину профиля в метрах.

4.4  Скручивание профилей вокруг продольной оси не должно превышать величины 2,0 мм плюс 0,5 мм на каждый метр длины профиля.

4.5  Выпуклость и вогнутость стенок профилей не должны превышать 0,01 размера профиля.

4.6  Профили должны быть обрезаны под прямым углом. Отклонение от перпендикулярности плоскости реза к оси профиля не должно выводить профиль за номинальные размеры по длине.

Допускается  огневая обрезка торцов отдельных профилей в количестве не более 7% массы партии.

4.7  Трещины, закаты, глубокие риски и другие повреждения на поверхности профилей не допускаются. Незначительная шероховатость, забоины, вмятины, мелкие риски, тонкий слой окалины и отдельные волосовины не должны препятствовать выявлению поверхностных дефектов и выводить толщину стенки поперечного сечения профиля за пределы допускаемых отклонений.

4.8  Заусенцы на торцах профилей должны удаляться механическим способом по требованию заказчика.

4.9  Продольный сварной шов выполняют автоматической высокочастотной сваркой, и он должен располагаться на расстоянии от грани профиля не ближе 4.

    

 

       4.10 Грат с продольного шва снимают с наружной стороны профиля, при этом высота грата, выступающего над поверхностью профиля, не должна превышать:






— при толщине стенки профиля до 4 мм —


0,5 мм;




—   "         "             "              "       более 4 мм —


1,0 мм.


4.11  Непровары (несплавления) продольного шва не должны превышать 50 мм на 1 м длины профиля. Длина отдельного местного непровара не должна быть более 20 мм.

Дефектные  участки должны быть исправлены при помощи ручной или полуавтоматической сварки по ГОСТ 5264 и ГОСТ 8713 с применением сварочных и присадочных материалов, соответствующих механическим свойствам стали профиля. После исправления швы должны быть зачищены.

4.12  Временное сопротивление разрыву продольного сварного шва должно быть не менее 0,95 временного сопротивления разрыву основного металла.

4.13  Комплектность

4.13.1  В комплект поставки входят: профили, упакованные в пачки по типоразмерам и партиям, и документ о качестве.

4.13.2  Документ о качестве должен содержать следующие данные:

—  наименование предприятия-изготовителя или его товарный знак;

—  наименование потребителя;

—  обозначение профиля;

—  номер плавки, химический состав и механические свойства стали (по данным документа о качестве со штампом ОТК завода — поставщика листового проката в рулонах);

—  длину профиля;

—  количество пачек;

—  количество профилей;

—  номер заказа и штамп ОТК;

—  дату оформления документа о качестве.

4.14  Упаковка

4.14.1  Профили увязывают в пачки с учетом требований ГОСТ 7566.

       Профили в пачке должны быть плотно уложены и прочно обвязаны в поперечном направлении через каждые 2-3 м длины.

Профили  в пачке длиной до 6 м включительно должны быть обвязаны не менее чем в двух местах.

Профили  поставляют по теоретической массе.

Масса  пачки — не более 10 т.

4.14.2  Упаковка профилей в пачки должна обеспечивать возможность производить погрузочно-разгрузочные работы грузоподъемными механизмами без повреждения профилей и с соблюдением мер техники безопасности.

4.15  Маркировка

4.15.1  Маркировка профилей — по ГОСТ 7566.

4.15.2  Маркировка должна содержать:

—  наименование или товарный знак предприятия-изготовителя;

—  обозначение профиля;

—  номер плавки;

—  длину профиля;

—  количество профилей;

—  массу и номер пачки;

—  клеймо ОТК.

     5 Правила приемки и методы контроля

5.1  Профили принимают партиями. Партией считают профили одного профилеразмера и одной марки стали, сопровождаемые одним документом о качестве. Количество профилей в партии должно быть не более 200 шт.

5.2  При наличии автоматического контроля сварки продольного шва проверке внешнего вида подлежат 3% профилей от партии.

При  отсутствии автоматического контроля профили подвергают сплошному контролю по ГОСТ 3242.

5.3  При проверке качества поверхности профилей партию считают соответствующей требованиям настоящего стандарта, если масса профилей с неудовлетворительной поверхностью не превышает 3% массы партии.

       5.4 Участки профилей с поперечными швами должны быть вырезаны и отбракованы. Допускается заварка поперечных швов профиля полуавтоматической сваркой при условии обеспечения равнопрочности шва основному металлу. Стык должен быть отмечен несмываемой краской.

5.5  Размеры, имеющие предельные отклонения, должны быть проверены на профилях, отобранных через каждые 1000 м профилирования.

5.6  Если при проверке отобранных профилей окажется хотя бы один не соответствующий требованиям настоящего стандарта, следует отобрать удвоенное количество профилей от той же партии и произвести их повторную проверку.

При  неудовлетворительных результатах повторной проверки производят поштучный контроль.

5.7  Марка, химический состав и механические свойства материала профилей должны быть удостоверены документом о качестве предприятия — поставщика листового проката в рулонах.

5.8  Геометрические размеры проверяют при операционном контроле измерительной металлической линейкой по ГОСТ 427, штангенциркулем МЦ-3 по ГОСТ 166, радиусным шаблоном, угловым шаблоном, угломером по ГОСТ 5378. Длину профилей замеряют рулеткой РЗ-20 по ГОСТ 7502.

Геометрические  размеры сечения профиля проверяются на расстоянии не менее большего размера сечения от торца профиля.

Допускается  замена указанных мерительных инструментов другими, аналогичными по назначению, классом точности не ниже предусмотренных указанными стандартами.

5.9  Местную кривизну измеряют металлической линейкой по ГОСТ 427. Общую кривизну профиля измеряют при помощи струны, натянутой по концам профиля, и линейкой.

5.10  Скручивание и отклонение от перпендикулярности плоскости реза профилей определяют угломером по ГОСТ 5378.

5.11  Качество резки профилей проверяют внешним осмотром.

5.12  Сварные швы контролируют в соответствии с ГОСТ 3242 без испытаний на плотность.

5.13  Комплектность проверяют сравнением подготовленной к отправке партии профилей с наряд-заказом.

       5.14 Упаковку и маркировку профилей проверяют внешним осмотром на соответствие требованиям настоящего стандарта.

     6 Транспортирование и хранение

6.1  Профили перевозят транспортом всех видов в соответствии с правилами перевозки, действующими на данном виде транспорта.

6.2  Транспортирование профилей в части воздействия климатических факторов внешней среды — по условиям 7, хранение — по условиям 4 ГОСТ 15150.

     7 Гарантии изготовителя

7.1  Изготовитель гарантирует соответствие профилей требованиям настоящего стандарта при соблюдении потребителем условий транспортирования и хранения.

7.2  Гарантийный срок хранения профилей — 24 мес с момента отгрузки с завода-изготовителя.

Текст документа сверен по:

официальное издание

М.: ФГУП ЦПП, 2004

Предоставлено компанией .