ГОСТ 30630.1.2-99
МЕЖГОСУДАРСТВЕННЫЙ СТАНДАРТ
МЕТОДЫ ИСПЫТАНИЙ НА СТОЙКОСТЬ
К МЕХАНИЧЕСКИМ ВНЕШНИМ
ВОЗДЕЙСТВУЮЩИМ ФАКТОРАМ
МАШИН, ПРИБОРОВ И ДРУГИХ
ТЕХНИЧЕСКИХ ИЗДЕЛИЙ
Испытания на воздействие вибрации
МЕЖГОСУДАРСТВЕННЫЙ СОВЕТ
ПО СТАНДАРТИЗАЦИИ, МЕТРОЛОГИИ И СЕРТИФИКАЦИИ
Минск
Предисловие
1 РАЗРАБОТАН Техническим комитетом по стандартизации ТК 341 «Внешние воздействия»
ВНЕСЕН Госстандартом России
2 ПРИНЯТ Межгосударственным Советом по стандартизации, метрологии и сертификации (протокол № 15-99 от 28 мая 1999 г.)
За принятие проголосовали:
|
Наименование государства |
Наименование национального органа по стандартизации |
|
Азербайджанская Республика |
Азгосстандарт |
|
Республика Армения |
Армгосстандарт |
|
Республика Беларусь |
Госстандарт Беларуси |
|
Республика Казахстан |
Госстандарт Республики Казахстан |
|
Киргизская Республика |
Киргизстандарт |
|
Республика Молдова |
Молдовастандарт |
|
Российская Федерация |
Госстандарт России |
|
Республика Таджикистан |
Таджикгосстандарт |
|
Республика Узбекистан |
Узгосстандарт |
3 Настоящий стандарт соответствует (с дополнениями и уточнениями в соответствии с потребностями экономики страны) международным стандартам:
МЭК 60068-2-6: 1982 Испытания на воздействие внешних факторов. Часть 2. Испытания. Глава 6. Испытание Fc и руководство. Вибрация (синусоидальная).
МЭК 60068-2-64: 1994 Испытания на воздействие внешних факторов. Часть 2. Испытания. Глава 64. Испытание Fn и руководство. Широкополосная случайная вибрация (цифровое управление).
ИСО 10055: 1996 Вибрация. Требования к вибрационным испытаниям судового оборудования и узлов машин
4 Постановлением Государственного комитета Российской Федерации по стандартизации и метрологии от 13 апреля 2000 г. № 104-ст межгосударственный стандарт ГОСТ 30630.1.2-99 введен в действие непосредственно в качестве государственного стандарта Российской Федерации с 1 января 2001 г.
5 ВВЕДЕН ВПЕРВЫЕ
СОДЕРЖАНИЕ
|
|
Введение
Настоящий стандарт устанавливает методы испытаний на воздействие вибрации, применяемые для подтверждения требований к изделиям, а также для определения границ их виброустойчивости.
Настоящий стандарт является частью комплекса стандартов «Методы испытаний на стойкость к внешним воздействующим факторам машин, приборов и других технических изделий». Комплекс стандартов состоит из следующих частей:
Методы испытаний на стойкость к внешним воздействующим факторам машин, приборов и других технических изделий. Общие требования (ГОСТ 30630.0.0-99).
Методы испытаний на стойкость к механическим внешним воздействующим факторам машин, приборов и других технических изделий (группа стандартов ГОСТ 30630.11)).
Методы испытаний на стойкость к климатическим внешним воздействующим факторам машин, приборов и других технических изделий (группа стандартов ГОСТ 30630.21)).
Методы испытаний на стойкость к воздействию специальных сред машин, приборов и других технических изделий (группа стандартов ГОСТ 30630.3).
Группа ГОСТ 30630.1 состоит из следующих стандартов:
ГОСТ 30630.1.1-99 Методы испытаний на стойкость к механическим внешним воздействующим факторам машин, приборов и других технических изделий. Определение динамических характеристик конструкции.
ГОСТ 30630.1.2-99 Методы испытаний на стойкость к механическим внешним воздействующим факторам машин, приборов и других технических изделий. Испытания на воздействие вибрации.
ГОСТ Р 51371-992) Методы испытаний на стойкость к механическим внешним воздействующим факторам машин, приборов и других технических изделий. Испытания на воздействие ударов.
ГОСТ 30630.1.43) Методы испытаний на стойкость к механическим внешним воздействующим факторам машин, приборов и других технических изделий. Испытания на воздействие линейных ускорений.
ГОСТ 30630.1.53) Методы испытаний на стойкость к механическим внешним воздействующим факторам машин, приборов и других технических изделий. Испытания на воздействие акустического шума.
ГОСТ 30630.1.63) Методы испытаний на стойкость к механическим внешним воздействующим факторам машин, приборов и других технических изделий. Испытания на воздействие крутящего момента, растягивающей силы изгиба.
ГОСТ 30630.1.73) Методы испытаний на стойкость к механическим внешним воздействующим факторам машин, приборов и других технических изделий. Испытания на стойкость к воздействию падения, опрокидывания, свободного падения, качки и длительных наклонов.
ГОСТ Р 51499-992) Методы испытаний на стойкость к механическим внешним воздействующим факторам машин, приборов и других технических изделий. Испытания на воздействие вибрации с воспроизведением заданной акселерограммы процесса.
ГОСТ Р 51502-992) Методы испытаний на стойкость к механическим внешним воздействующим факторам машин, приборов и других технических изделий. Испытания на воздействие случайной широкополосной вибрации с использованием цифровой системы управления испытаниями.
ГОСТ 30630.1.103) Методы испытаний на стойкость к механическим внешним воздействующим факторам машин, приборов и других технических изделий. Испытания на воздействие ударов по оболочке изделия.
1) В стадии разработки.
2) Действует на территории Российской Федерации.
3) Намечен к разработке.
Нормирование методов испытаний на стойкость к внешним воздействующим факторам для всей группы технических изделий в международной стандартизации отсутствует: в ИСО таких стандартов нет, стандарты МЭК распространяются только на группу изделий, курируемых МЭК.
Настоящий стандарт соответствует стандартам МЭК серии 60068, указанным в предисловии. Однако при рассмотрении вопросов о его соответствии стандартам МЭК в части внешних воздействующих факторов должно быть учтено указанное ниже.
Стандарты МЭК, устанавливающие общие положения и методы испытаний изделий на стойкость (устойчивость, прочность), объединены Публикацией МЭК 60068 Испытание на воздействие внешних факторов, состоящей из трех частей:
60068-1 — общие положения и руководство;
60068-2 — испытания;
60068-3 — основополагающая информация.
Части 60068-2 и 60068-3, в свою очередь, состоят из ряда стандартов, нормирующих конкретные методы испытаний или (и) устанавливающих руководство по применению этих методов. Указанные стандарты МЭК содержат технически отработанные методы испытаний изделий на стойкость, однако обладают рядом недостатков, самый существенный из которых заключается в том, что методы (режимы испытаний) и условия (сроки эксплуатации изделий) не увязаны между собой.
Эти недостатки являются одной из причин того, что указанные стандарты МЭК пока не использованы многими техническими комитетами МЭК для введения в стандарты МЭК на группы изделий (например, стандарты МЭК серии 60068 практически не введены в стандарты МЭК на сильноточные и крупногабаритные изделия).
Таким образом, в настоящее время невозможно полное использование публикации МЭК по внешним воздействиям в качестве межгосударственных стандартов. Информационные данные о соответствии методов, установленных настоящим стандартом, методам, установленным МЭК серии 60068, приведены в приложении .
ГОСТ 30630.1.2-99
МЕЖГОСУДАРСТВЕННЫЙ СТАНДАРТ
МЕТОДЫ ИСПЫТАНИЙ НА СТОЙКОСТЬ К МЕХАНИЧЕСКИМ ВНЕШНИМ ВОЗДЕЙСТВУЮЩИМ ФАКТОРАМ МАШИН, ПРИБОРОВ И ДРУГИХ ТЕХНИЧЕСКИХ ИЗДЕЛИЙ
Испытания на воздействие вибрации
Mechanical environment stability test methods for machines, instruments and other industrial products. Tests for influences of vibration
Дата введения1)
для вновь разрабатываемых и модернизируемых изделий 2001-01-01
для разработанных до 2001-01-01 изделий 2004-01-01
1) Порядок введения стандарта в действие — в соответствии с приложением .
1 Область применения
Настоящий стандарт распространяется на машины, приборы и другие технические изделия всех видов (далее — изделия) и устанавливает методы их испытаний на воздействие вибрации, в частности для проверки соответствия изделий техническим требованиям, указанным в стандартах и технических условиях на изделия, в том числе в соответствии с ГОСТ 30631.
Стандарт применяют совместно с ГОСТ 30630.0.0.
Все требования настоящего стандарта являются обязательными (за исключением установленных как рекомендуемые или допустимые) как относящиеся к требованиям безопасности.
2 Нормативные ссылки
В настоящем стандарте использованы ссылки на следующие стандарты:
ГОСТ 15150-69 Машины, приборы и другие технические изделия. Исполнения для различных климатических районов. Категории, условия эксплуатации, хранения и транспортирования в части воздействия климатических факторов внешней среды
ГОСТ 24346-80 Вибрация. Термины и определения
ГОСТ 26883-86 Внешние воздействующие факторы. Термины и определения
ГОСТ 28220-89 (МЭК 68-2-34-73) Основные методы испытаний на воздействие внешних факторов. Часть 2. Испытания. Испытание Fd: Широкополосная случайная вибрация. Общие требования
ГОСТ 30630.0.0-99 Методы испытаний на стойкость к внешним воздействующим факторам машин, приборов и других технических изделий. Общие требования
ГОСТ 30630.1.1-99 Методы испытаний на стойкость к механическим внешним воздействующим факторам машин, приборов и других технических изделий. Определение динамических характеристик конструкции
ГОСТ 30631-99 Общие требования к машинам, приборам и другим техническим изделиям в части стойкости к механическим внешним воздействующим факторам при эксплуатации
3 Определения
В настоящем стандарте применяют термины с соответствующими определениями, относящиеся к областям:
— общих понятий внешних воздействующих факторов (далее — ВВФ) — по ГОСТ 15150 и ГОСТ 26883;
— требований к изделиям по механическим ВВФ — по ГОСТ 30631;
— испытаний на стойкость к ВВФ — по ГОСТ 30630.0.0;
— вибрации — по ГОСТ 24346.
4 Испытание на виброустойчивость (испытание 102)
4.1 Испытание проводят с целью:
— проверить способность изделий выполнять функции и сохранять значения параметров в пределах, указанных в стандартах и технических условиях (далее — стандартах и ТУ) на изделия и программах испытаний (далее — ПИ) в условиях воздействия вибрации в заданных режимах (методы 102-1, 102-2, 102-3);
— определения границ виброустойчивости (метод 102-4).
4.2 Испытание проводят одним из следующих методов:
102-1 — испытание на виброустойчивость при воздействии синусоидальной вибрации методом качающейся частоты;
102-2 — испытание на виброустойчивость при воздействии широкополосной случайной вибрации. Испытание указанным методом проводят, если это установлено в стандартах и ТУ на изделия. Рекомендуется применять этот метод для изделий, имеющих в заданных диапазонах частот не менее четырех резонансов;
102-3 — испытание на виброустойчивость при воздействии синусоидальной вибрации методом фиксированных частот во всем диапазоне частот требований1);
1) В диапазоне частот, соответствующем техническим требованиям к изделиям конкретной группы механического исполнения по ГОСТ 30631.
102-4 — испытание для определения границы виброустойчивости;
102-4.1 — испытание при воздействии синусоидальной вибрации;
102-4.2 — испытание при воздействии широкополосной случайной вибрации.
Определение резонансных или критических частот изделий проводят по ГОСТ 30630.1.1.
4.3 Метод 102-1 — испытание на виброустойчивость при воздействии синусоидальной вибрации методом качающейся частоты
Контрольную точку выбирают в соответствии с требованиями 5.9 ГОСТ 30630.0.0.
4.3.2 Испытание проводят с учетом требований разделов 4-6 ГОСТ 30630.0.0.
4.3.3 Визуальный осмотр и измерения параметров изделий проводят в соответствии с разделом 4 ГОСТ 30630.0.0. Начальную стабилизацию не проводят.
4.3.5 Крепление изделий осуществляют в соответствии с разделом 5 ГОСТ 30630.0.0.
4.3.6 Испытание проводят путем плавного изменения частоты в заданном диапазоне от низшей к высшей и обратно. Испытания изделий с линейными резонансными характеристиками проводят путем изменения частоты в одном направлении.
Значение скорости изменения частоты устанавливают равным одной-двум октавам в минуту. Если для контроля параметров изделий требуется большее время, чем обеспечиваемое при данной скорости изменения частоты, то допускается устанавливать скорость изменения частоты менее одной октавы в минуту.
При этом скорость изменения частоты должна быть максимальной, но достаточной для обеспечения контроля необходимых параметров.
Значение скорости изменения частоты в диапазоне частот 1-50 Гц допускается устанавливать равным 10 Гц/мин. В диапазоне частот ниже частоты перехода поддерживают постоянную амплитуду перемещения, а выше частоты перехода — постоянную амплитуду ускорения.
Рекомендуемая погрешность поддержания частоты перехода +2 Гц.
— амплитуда перемещения ±15 %;
— амплитуда ускорения ±15 %;
— частота вибрации1 ±0,5 Гц на частотах до 30 Гц;
1) При испытании методом фиксированных частот.
— продолжительность ±10 %;
— значение коэффициента нелинейных искажений по ускорению в диапазоне частот выше 20 Гц должно быть не более 25 %;
— значение амплитуды ускорения в направлении, перпендикулярном к основному направлению вибрации, измеренное в контрольной точке, должно быть не более 25 % значения амплитуды ускорения в основном направлении.
Примечания
1 Допускается значение коэффициента нелинейных искажений более 25 % в отдельных поддиапазонах частот, при этом частоты гармоник, создающие нелинейные искажения более 25 %, не должны приходиться на резонансную область частот изделия.
2 Допускается значение поперечных составляющих более 25 % в отдельных поддиапазонах частот, не приходящихся на резонансную область частот изделий.
4.3.8 В процессе испытаний контролируют параметры изделий.
Проверяемые параметры, их значения и методы проверки указывают в стандартах и ТУ на изделия и ПИ.
Для проверки виброустойчивости рекомендуется выбирать параметры, по изменению которых можно судить о виброустойчивости изделия в целом [например, для электрорадиоизделий (ЭРИ) — уровень виброшумов, искажение выходного сигнала или изменение его величины, целостность электрической цепи, нестабильность контактного сопротивления и т.д.].
При испытаниях для регистрации проверяемых параметров рекомендуется осуществлять запись их абсолютного значения или изменения по сравнению с первоначальным значением в функции от частоты вибрации с помощью самопишущих устройств.
При обнаружении частот, на которых наблюдается нестабильность работы или ухудшение параметров изделий, дополнительно проводят выдержку на этих частотах в течение времени, указанного в стандартах и ТУ на изделия и ПИ, но не менее 5 мин, если на вибропрочность изделия испытывают методом фиксированных частот.
Если известно наиболее опасное направление воздействия, то испытание проводят только в этом направлении воздействия.
4.3.10 Проводят визуальный осмотр изделий и измерения их параметров в соответствии с разделом 4 ГОСТ 30630.0.0. Конечную стабилизацию не проводят.
4.3.11 Оценка результатов испытаний — в соответствии с разделом 4 ГОСТ 30630.0.0.
4.3.12 Испытание проводят в диапазоне частот, установленном в технических требованиях на изделие в соответствии с ГОСТ 30631 (далее — диапазон частот требований), при этом значение низшей частоты диапазона испытаний устанавливают равным 10 Гц.
При наличии специального технического обоснования значение этой низшей частоты устанавливают менее 10 Гц, о чем должно быть указано в ТУ на конкретные изделия или в ПИ на изделия, к которым предъявлено требование по сейсмостойкости. В частности, при наличии в изделии низшей резонансной частоты, значение которой составляет свыше 10 до 20 Гц или менее, или 10 Гц, значение низшей частоты диапазона испытаний устанавливают соответственно 5 или 1 Гц.
Если значение низшей резонансной частоты конструкции изделия составляет более 200 Гц, то для степеней жесткости 18-34 испытание проводят, начиная со 100 Гц.
4.3.13 Испытания проводят при амплитуде перемещения, значение которой выбирают из ряда 0,5; 1,0; 1,5; 2,0; 2,5; 3,0; 3,5; 4,0 мм, и частоте перехода fn, Гц, значение которой определяют по формуле
, (1)
где А — амплитуда перемещения, мм;
j — амплитуда ускорения, м · с—2.
Амплитуду ускорения устанавливают в соответствии с техническими требованиями на изделия.
При этом выбор амплитуды перемещения определяют соотношением между частотой перехода и диапазоном частот требований к изделию в соответствии с таблицей .
Таблица 1
|
Частота перехода, Гц |
Амплитуда ускорения, м · с-2 (g) |
Амплитуда перемещения, мм |
Частота перехода, Гц |
Амплитуда ускорения, м · с-2 (g) |
|
|
|
|
|
0,5 |
87 |
150 (15) |
|
— |
— |
1,2 (0,12) |
1,0 |
61 |
|
|
— |
— |
2,5 (0,25) |
1,5 |
50 |
|
|
— |
— |
5 (0,5) |
2,0 |
43 |
|
|
— |
— |
10 (1,0) |
2,5 |
39 |
|
|
0,5 |
32 |
20 (2,0) |
0,5 |
100 |
200 (20) |
|
1,0 |
22 |
1,0 |
71 |
||
|
0,5 |
39 |
30 (3,0) |
1,5 |
58 |
|
|
1,0 |
27 |
2,0 |
50 |
||
|
1,5 |
22 |
2,5 |
45 |
||
|
0,5 |
50 |
50 (5,0) |
1,0 |
79 |
250 (25) |
|
1,0 |
35 |
1,5 |
65 |
||
|
1,5 |
29 |
2,0 |
56 |
||
|
2,0 |
25 |
2,5 |
50 |
||
|
0,5 |
63 |
80 (8,0) |
1,0 |
87 |
300 (30) |
|
1,0 |
45 |
1,5 |
71 |
||
|
1,5 |
36 |
2,0 |
61 |
||
|
2,0 |
32 |
2,5 |
55 |
||
|
2,5 |
28 |
1,5 |
82 |
400 (40) |
|
|
0,5 |
71 |
100 (10) |
2,0 |
71 |
|
|
1,0 |
50 |
2,5 |
63 |
||
|
1,5 |
40 |
1,5 |
91 |
500 (50) |
|
|
2,0 |
35 |
2,0 |
79 |
||
|
2,5 |
32 |
2,5 |
71 |
||
|
|
|
3 |
64 |
4.3.14 Если в стандартах и ТУ на изделия установлена закономерность изменения амплитуды ускорения и амплитуды перемещения в зависимости от частоты, то значение амплитуды ускорения и амплитуды перемещения поддерживают в соответствии с этой закономерностью.
4.4 Метод 102-2 — испытание на виброустойчивость при воздействии широкополосной случайной вибрации
4.4.1 Вибрационная установка должна обеспечивать получение в контрольной точке широкополосной случайной вибрации, параметры которой соответствуют установленным для требуемой степени жесткости. Контрольную точку выбирают в соответствии с требованиями 5.9 ГОСТ 30630.0.0.
Погрешность измерения испытательной аппаратуры должна быть в пределах ±3 дБ.
4.4.2 Испытания проводят с учетом требований настоящего стандарта и требований раздела 4 ГОСТ 30630.0.0.
4.4.3 Подготовку изделий к испытанию проводят в соответствии с , , .
4.4.4 Испытание проводят путем воздействия случайной широкополосной вибрации, параметры которой [спектральная плотность ускорения (СПУ) и (или) среднее квадратическое значение ускорения (СУ), а также диапазон частот] должны соответствовать требованиям, установленным в стандартах и ТУ на изделия в соответствии с ГОСТ 30631.
Продолжительность воздействия вибрации в каждом направлении воздействия определяется временем проверки работоспособности изделия.
Примечание — Обычно начальная часть испытательного диапазона частот при воздействии случайной вибрации 20-50 Гц. В этом случае в начальной части диапазона (до 20-50 Гц соответственно) проводят испытания на воздействие синусоидальной вибрации по методу 102-1 или 100-2.
4.4.5 Установлены три степени воспроизводимости испытаний, характеризующиеся различными значениями данных допустимых отклонений, СПУ или СУ в пределах установленных диапазонов частот (таблица ). Рекомендации по выбору степени воспроизводимости — по ГОСТ 28220.
Таблица 2
|
Допустимое отклонение, дБ |
||
|
спектральной плотности ускорения |
среднего квадратического значения ускорения |
|
|
Высокая |
±3 |
±1,0 |
|
Средняя |
±6 |
±1,5 |
|
Низкая |
—1) |
±2,0 |
|
1) Для низкой воспроизводимости допустимое отклонение спектральной плотности ускорения не устанавливают. |
||
— среднего квадратического значения ускорения ±2 дБ;
— спектральной плотности ускорения ±6 дБ.
4.4.7 В процессе испытания контролируют параметры изделий.
Проверяемые параметры, их значения и методы проверки указывают в стандартах и ТУ на изделия и ПИ.
Для проверки виброустойчивости рекомендуется выбирать параметры, по изменению которых можно судить о виброустойчивости изделия в целом (например, уровень виброшумов, искажения формы выходного сигнала или его значения, целостность электрической цепи, нестабильность контактного сопротивления и т.д.).
4.4.8 Выбор направлений воздействия — в соответствии с .
4.4.9 Визуальный осмотр и измерение параметров изделий — в соответствии с .
4.4.10 Оценка результатов испытаний — в соответствии с разделом 4 ГОСТ 30630.0.0.
4.5 Метод 102-3 — испытание на виброустойчивость при воздействии синусоидальной вибрации методом фиксированных частот во всем диапазоне частот требований
4.5.1 Метод применяют при использовании стендов с механическим приводом или других стендов, последние — при специальном техническом обосновании.
4.5.2 Вибрационная установка должна обеспечивать получение в контрольной точке синусоидальной вибрации с требуемыми параметрами. Контрольную точку выбирают в соответствии с требованиями 5.9 ГОСТ 30630.0.0.
4.5.3 Испытание проводят с учетом общих требований, установленных для метода 102-1.
4.5.4 Испытание проводят под механической и (или) электрической нагрузкой.
4.5.5 Диапазон частот, соответствующий предъявленным к изделию требованиям, разбивают на поддиапазоны с граничными частотами, значения которых выбирают из ряда: 1; 2; 3; 4; 5; 6; 7; 8; 9; 10; 12,5; 16; 20; 25; 31,5; 40; 50; 63; 80; 100; 125; 160; 200; 250; 315; 400; 500; 630; 800; 1000; 1250; 1600; 2000 Гц. Если верхняя граничная частота диапазона не совпадает с одной из вышеуказанных граничных частот, то ее значение округляют до значения ближайшей большей граничной частоты.
4.5.6 При частотах, значение которых составляет более 10 Гц, испытание проводят путем плавного изменения частоты при поддержании в каждом поддиапазоне постоянной амплитуды перемещения А, мм, определяемой по формуле
, (2)
где f — средняя частота поддиапазона, Гц;
j — амплитуда ускорения, соответствующая частоте/, м · с—2.
4.5.7 Значение скорости изменения частоты устанавливают равным одной-двум октавам в минуту; допускается в диапазоне частот 1-50 Гц устанавливать значение этой скорости 10 Гц/мин. Если время, затрачиваемое на контроль параметров изделий больше, чем то, которое требуется при данной скорости изменения частоты, допускается снижать значение скорости менее одной октавы в минуту или 10 Гц/мин, при этом скорость изменения частоты должна быть максимальной, но достаточной для обеспечения контроля необходимых параметров.
В каждом диапазоне частоту изменяют от низшей к верхней и обратно, а для изделий с линейными резонансными характеристиками — только в одном направлении.
Если низшая резонансная частота изделия и верхняя частота диапазона испытаний превышают 200 Гц, то испытания проводят начиная со 100 Гц.
При значениях частоты 10 Гц и менее испытание проводят на граничных частотах при продолжительности выдержки на каждой частоте, необходимой для проверки и регистрации контрольных параметров (10-30 с).
4.5.8 Точность поддержания параметров испытательного режима — в соответствии с требованиями, установленными для метода 102-1.
4.5.9 В процессе испытания контролируют параметры изделий. Проверяемые параметры, их значения и методы проверки указывают в стандартах и ТУ на изделия и ПИ.
При испытаниях для регистрации проверяемых параметров рекомендуется осуществлять запись их абсолютного значения или изменения по сравнению с первоначальными значениями в функции от частоты вибрации с помощью самопишущих устройств.
При обнаружении частот, на которых наблюдается нестабильность работы или ухудшение параметров изделий, дополнительно проводят выдержку на этих частотах в течение времени, указанного в стандартах и ТУ на изделия и ПИ, но не менее 5 мин; эту выдержку не проводят, если изделия испытывают на вибропрочность методом качающейся частоты.
4.5.10 Изделия считают выдержавшими испытание, если в процессе испытаний они удовлетворяют требованиям, установленным в стандартах и ТУ на изделия и ПИ для испытаний данного вида.
4.6 Метод 102-4 — испытание для определения границы виброустойчивости (ГВУ)
4.6.1 Метод 102-4.1 — испытание при воздействии синусоидальной вибрации
Испытание проводят методом 102-3 со следующими изменениями и дополнениями:
4.6.1.1 Граничные частоты устанавливают по , но в диапазоне свыше 10 до 30 Гц их устанавливают с интервалом 2 Гц.
4.6.1.2 Время выдержки на этих частотах устанавливают таким же, как нормировано для 10 Гц и менее по .
4.6.1.3 Ускорение на каждой частоте принимают равным нормированному для этой частоты в соответствии с группой механического исполнения изделия. Если группа исполнения не установлена, принимают ускорение, значение которого равно 5 м/с2 (0,5 g).
4.6.1.4 Если нарушение работоспособности не выявлено, увеличивают значение ускорения ступенями по 5 м/с2 (0,5 g) или плавно со скоростью, достаточной для измерения параметров изделий.
4.6.1.5 При нарушении работоспособности испытания на данной частоте прекращают. Точкой границы виброустойчивости на данной частоте считают максимальную амплитуду вибрационного ускорения ступени, предшествующей той, на которой наступил сбой или отказ.
4.6.1.6 Испытание повторяют на каждой из частот по .
4.6.1.7 По результатам испытаний, полученным на каждой граничной частоте, строят границу виброустойчивости изделия.
4.6.1.8 При необходимости допускается уточнять границу работоспособности при частотах более 31,5 Гц, проводя дополнительные испытания при частотах, промежуточных между граничными. В этом случае принимают ускорения, близкие к полученным для данной частоты по .
4.6.2 Метод 102-4.2 — испытание при воздействии широкополосной случайной вибрации
4.6.2.1 Испытание проводят после испытания на виброустойчивость при уровнях спектральной плотности ускорения, заданных для эксплуатации в стандартах и ТУ на изделия или ПИ.
4.6.2.2 Если работоспособность не была нарушена, увеличивают уровень СПУ и непрерывно контролируют функциональные параметры испытуемого изделия.
Уровень СПУ увеличивают до нарушения работоспособности хотя бы по одному функциональному параметру или до появления механического повреждения.
Примечания
1 Допускается проводить периодический (вместо непрерывного) контроль функциональных параметров, но не реже чем при изменении уровней СПУ в контрольной точке на 3 дБ.
2 При возникновении в процессе испытаний механических повреждений в отдельных технически обоснованных случаях испытания могут быть продолжены после устранения повреждений.
4.6.2.5 Повторяют операции по и , пока не будут получены данные о ГВУ по всем заданным частотам диапазона или пока не будет достигнуто предельное повышение уровня СПУ на 12 дБ относительно максимального нормированного уровня СПУ.
4.6.2.6 При необходимости учитывают примечание к таблице ().
5 Испытание на вибропрочность (испытание 103)
5.1 Испытание проводят с целью проверить способность изделий противостоять разрушающему действию вибрации и сохранять значения параметров после ее воздействия в пределах, указанных в стандартах и ТУ на изделия и ПИ. При этом кратковременные испытания проводят только для контроля стабильности производства и выявления грубых технологических дефектов.
5.2 Испытание проводят одним из следующих методов (выбор метода — в зависимости от значения резонансных частот конструкции):
103-1 — испытание методом качающейся частоты, в том числе:
103-1.1 — испытание методом качающейся частоты во всем диапазоне частот требований. Данный метод применяют для изделий, у которых резонансные частоты распределены по всему диапазону частот испытаний или не установлены;
103-1.2 — испытание методом качающейся частоты при повышенных значениях амплитуды ускорения. Испытание данным методом проводят во всех случаях, когда есть необходимость сокращения продолжительности испытаний при сохранении диапазона частот испытаний;
103-1.3 — испытание методом качающейся частоты, исключая диапазон частот ниже 100 Гц. Данный метод применяют, если низшая резонансная частота изделия превышает 200 Гц;
103-1.4 — испытание методом качающейся частоты в области резонансных частот для изделий, резонансные частоты которых находятся в диапазоне частот требований;
103-1.5 — испытание методом качающейся частоты в области резонансных частот для изделий, низшая резонансная частота которых превышает верхнюю частоту диапазона частот требований;
103-1.6 — испытание на одной фиксированной частоте для изделий, низшая резонансная частота которых более чем в 1,5 раза превышает верхнюю частоту диапазона частот требований;
103-2 — испытание методом фиксированных частот, в том числе:
103-2.1 — испытание методом фиксированных частот во всем диапазоне частот требований. Данный метод допускается применять по согласованию с заказчиком, если невозможно применение других методов;
103-2.2 — испытание методом фиксированных частот для изделий, резонансные частоты которых выше 200 Гц. Применение этого метода согласуют с заказчиком;
103-2.3 — испытание методом фиксированных частот при повышенных значениях амплитуды ускорения. Данный метод применяют по согласованию с заказчиком взамен метода 103-1.2, если применение последнего невозможно;
103-4 — испытание путем воздействия широкополосной случайной вибрации, если к изделиям предъявлено требование по прочности к воздействию случайной вибрации. Конкретный метод испытаний указывают в стандартах и ТУ на изделиях и ПИ.
Для изделий, которые согласно требованиям настоящего раздела испытывают под электрической или механической нагрузкой и для которых значения критических частот не совпадают со значениями резонансных частот, требования настоящего раздела, установленные для резонансных частот, применяют для критических частот.
5.3 Испытанию на вибропрочность подвергают те же образцы изделий, которые были испытаны на виброустойчивость, если последний вид испытания предусмотрен в стандартах и ТУ на изделия и ПИ.
5.4 Метод 103-1.1 — испытание методом качающейся частоты во всем диапазоне частот требований
5.4.1 Вибрационная установка — в соответствии с .
5.4.2 Испытание проводят с учетом требований разделов 4-6 ГОСТ 30630.0.0.
5.4.3 Подготовка изделий к испытанию — в соответствии с и .
Продолжительность изменения частоты во всем диапазоне частот определяют по рисунку , округляя ее значение до ближайших значений, обеспечиваемых системой управления вибрационной установкой.
В диапазоне частот от 10 Гц до частоты перехода поддерживают постоянную амплитуду перемещения, а начиная с этой частоты до верхней частоты заданного диапазона поддерживают постоянную амплитуду ускорения, соответствующую заданной степени жесткости.
Диапазон частот вибрации, амплитуду перемещения, частоту перехода, амплитуду ускорения, расчетное время цикла качания частоты, расчетное число циклов качания и общую продолжительность воздействия вибрации выбирают из таблицы .
Рисунок 1 — Зависимость продолжительности половины цикла качания от частоты
Таблица 3
|
Диапазон частот, Гц |
Амплитуда перемещения, мм |
Частота перехода, Гц |
Амплитуда ускорения, м · с-2 (g) |
Расчетное время цикла качания, мин |
Общая продолжительность воздействия вибрации |
||||
|
длительного |
кратковременного |
||||||||
|
Время, ч |
Расчетное число циклов качания |
Время, ч |
Расчетное число циклов качания |
||||||
|
1 |
10-35 |
0,5 |
28 |
15 (1,5) |
4 |
6 |
90 |
1,5 |
24 |
|
2 |
10-55 (60)1) |
0,5 |
28 |
15 (1,5) |
5 |
15 |
180 |
4,5 |
54 |
|
2а |
10-55 (60)1) |
0,5 |
28 |
15 (1,5) |
5 |
80 |
960 |
6,0 |
72 |
|
3 |
10-55 (60)1) |
0,5 |
50 |
50 (5) |
5 |
36 |
432 |
6,0 |
72 |
|
4 |
10-55 (60)1) |
1,0 |
45 |
80 (8) |
5 |
36 |
432 |
6,0 |
72 |
|
5 |
10-55 (60)1) |
Согласно стандартам и ТУ на изделия и ПИ |
1500 (150) |
5 |
36 |
432 |
6,0 |
72 |
|
|
6 |
10-80 |
0,5 |
50 (5) |
50 (5) |
6 |
24 |
240 |
4,5 |
45 |
|
7 |
10-100 |
— |
— |
2,5 (0,25) |
7 |
6 |
50 |
— |
— |
|
8 |
10-100 |
— |
— |
5 (0,5) |
7 |
6 |
50 |
1,5 |
13 |
|
9 |
10-100 |
— |
— |
10 (1) |
7 |
6 |
50 |
1,5 |
13 |
|
10 |
10-100 |
0,5 |
28 |
15 (1,5) |
7 |
9 |
78 |
1,5 |
13 |
|
10а |
10-100 |
0,5 |
28 |
15 (1,5) |
7 |
60 |
513 |
6,0 |
51 |
|
10б |
10-100 |
0,5 |
28 |
15 (1,5) |
7 |
80 |
687 |
6,0 |
51 |
|
11 |
10-100 |
0,5 |
39 |
30 (3) |
7 |
60 |
513 |
6,0 |
51 |
|
11а |
10-100 |
0,5 |
39 |
30 (3) |
7 |
9 |
78 |
1,5 |
13 |
|
12 |
10-100 |
0,5 |
39 |
30 (3) |
7 |
180 |
1542 |
6,0 |
51 |
|
13 |
10-100 |
1,5 |
50 |
150 (15) |
7 |
354 |
3033 |
6,0 |
51 |
|
14 |
10-200 |
0,5 |
32 |
20 (2) |
8 |
15 |
114 |
4,5 |
33 |
|
14а |
10-200 |
0,5 |
32 |
20 (2) |
8 |
132 |
990 |
6,0 |
45 |
|
15 |
10-200 |
0,5 |
50 |
50 (5) |
8 |
24 |
180 |
4,5 |
33 |
|
16 |
10-200 |
2 |
56 |
250 (25) |
8 |
15 |
114 |
4,5 |
33 |
|
17 |
10-300 |
0,5 |
50 |
50 (5) |
10 |
60 |
360 |
6,0 |
36 |
|
18 |
10-500 (600)1) |
0,5 |
32 |
20 (2) |
12 |
66 |
330 |
6,0 |
30 |
|
19 |
10-500 (600)1) |
0,5 |
39 |
30 (3) |
12 |
66 |
330 |
6,0 |
30 |
|
20 |
10-500 (600)1) |
0,5 |
50 |
50 (5) |
12 |
66 |
330 |
6,0 |
30 |
|
20а |
10-500 (600)1) |
0,5 |
50 |
50 (5) |
12 |
6 |
30 |
1,8 |
9 |
|
20б |
10-500 (600)1) |
0,5 |
50 |
50 (5) |
12 |
40 |
201 |
6 |
30 |
|
21 |
10-2004) |
0,5 |
32 |
20 (2) |
8 |
132 |
990 |
6 |
45 |
|
200-500 |
— |
— |
50 (5) |
8 |
— |
3 |
— |
— |
|
|
22 |
10-500 (600)1) |
1,0 |
50 |
100 (10) |
12 |
66 |
330 |
6 |
30 |
|
22а |
10-500 (600)1) |
1,0 |
50 |
100 (10) |
12 |
6 |
30 |
1,8 |
9 |
|
24 |
10-2000 (3000)1) |
1,0 |
50 |
100 (10) |
15 |
24 |
96 |
6 |
24 |
|
26 |
10-2000 (3000)1) |
2,0 |
50 |
200 (20) |
15 |
24 |
96 |
6 |
24 |
|
28 |
10-2000 (3000)1) |
2,0 |
61 |
300 (30) |
15 |
6 |
24 |
1,8 |
9 |
|
29 |
100-20003) |
— |
— |
400 (40) |
9 |
— |
32) |
— |
— |
|
10-2000 |
2 |
50 |
200 (20) |
15 |
24 |
962) |
6 |
24 |
|
|
33 |
100-50003) |
— |
— |
300 (30) |
11 |
— |
31) |
— |
— |
|
10-2000 |
2 |
50 |
200 (20) |
15 |
24 |
962) |
6 |
24 |
|
|
34 |
100-50003) |
— |
— |
400 (40) |
11 |
— |
32) |
— |
— |
|
10-2000 |
2 |
50 |
200 (20) |
15 |
24 |
962) |
6 |
24 |
|
|
1) Значения, указанные в скобках, в новых разработках не применяют. 2) При необходимости округляют в большую сторону до ближайшего значения, кратного 2, или, в зависимости от числа направлений воздействия, соответственно изменяя время испытаний. Для степени жесткости 29 (ускорение 40 g) выполняют по одному циклу качания для каждого направления воздействия. 3) Испытание проводят, если изделие не испытывают на виброустойчивость для степени жесткости 29. 4) Допускается заменять режимом по степени жесткости 18. Примечания 1 Если в стандартах и ТУ на изделия и ПИ установлена закономерность изменения ускорения в зависимости от частоты, то значение ускорения при испытании поддерживают в соответствии с этой закономерностью. 2 Испытания по степеням жесткости 14б, 21а, 22б не проводят, требования по прочности к изделиям обеспечивают испытаниями на ударную прочность. |
|||||||||
5.4.5 Испытательный режим устанавливают в контрольной точке в соответствии с требованиями . Рекомендуемая погрешность поддержания частоты перехода +2 Гц.
Контрольную точку выбирают в соответствии с требованиями 5.9 ГОСТ 30630.0.0.
5.4.6 Продолжительность испытания определяется общим временем воздействия или расчетным числом циклов качания частоты.
При испытании допускаются перерывы, но при этом общая продолжительность воздействия вибрации должна сохраняться.
По окончании испытаний на вибропрочность проводят испытание на виброустойчивость (для изделий, проверяемых на виброустойчивость) в том же диапазоне частот, если это предусмотрено в стандартах и ТУ на изделия и ПИ.
5.4.7 Испытание проводят при воздействии вибрации в трех взаимно перпендикулярных направлениях по отношению к изделию, если другие указания по выбору направлений не даны в стандартах и ТУ на изделия и ПИ. При этом общая продолжительность воздействия вибрации должна быть поровну распределена между направлениями воздействия, при которых проводят испытания. Если известно наиболее опасное направление воздействия вибрации, то испытание рекомендуется проводить только в этом направлении без сокращения общей продолжительности воздействия вибрации.
5.4.8 Визуальный осмотр и измерение параметров изделий — в соответствии с .
5.4.9 Оценка результатов испытаний — в соответствии с разделом 4 ГОСТ 30630.0.0.
5.4.10 Если изделия, разработанные в соответствии со степенями жесткости 1, 2, 2а, 7-9, 10, 10б, 11, 11а, имеют резонансные частоты в испытательном диапазоне частот, то допускается при испытаниях применять уменьшенную амплитуду ускорения при одновременном увеличении продолжительности воздействия вибрации в соответствии с таблицей .
Таблица 4
|
Уменьшенная амплитуда ускорения, м · с-2 (g) |
Кратность увеличения продолжительности испытаний |
|
|
1 |
10,0 (1,0) |
2 |
|
1 |
5,0 (0,5) |
9 |
|
2, 2а |
10,0 (1,0) |
2 |
|
7 |
1,2 (0,12) |
4 |
|
8 |
2,5 (0,25) |
4 |
|
9 |
5,0 (0,5) |
4 |
|
10, 10а, 10б |
10,0 (1,0) |
2 |
|
11, 11а |
20,0 (2,0) |
2 |
5.5 Метод 103-1.2 — испытание методом качающейся частоты при повышенных значениях амплитуды ускорения
5.5.1 Вибрационная установка должна обеспечивать получение в контрольной точке синусоидальной вибрации, параметры которой установлены для заданной степени жесткости с учетом выбранного значения амплитуды ускорения. Контрольную точку выбирают в соответствии с требованиями 5.9 ГОСТ 30630.0.0.
5.5.2 Испытание проводят с учетом требований разделов 4-6 ГОСТ 30630.0.0.
5.5.3 Подготовка изделий к испытаниям — в соответствии с и .
5.5.4 Испытание проводят по методике, указанной в , но при амплитудах перемещения и ускорения, превышающих указанные в таблице , и сокращенной продолжительности воздействия вибрации. Число циклов качания также уменьшают соответственно сокращению продолжительности воздействия вибрации.
Продолжительность воздействия вибрации Ту, для выбранного значения амплитуды ускорения jy, рассчитывают по формуле
, (3)
где j0, Т0 — соответственно амплитуда ускорения и продолжительность воздействия вибрации, приведенные в таблице ;
п — показатель степени, устанавливаемый по согласованию с заказчиком, при наличии необходимой информации о свойствах изделий и допустимых пределах амплитуды ускорения.
При отсутствии необходимой информации п может быть принят равным 2.
Рекомендуется принимать
= (0,4 — 0,7).
При сокращении продолжительности воздействия вибрации путем увеличения амплитуды ускорения следует учитывать диапазон линейности прочностной характеристики изделия, т.е. при повышенном уровне амплитуды ускорения недопустимо появление качественно новых механизмов отказов, не имеющих места при уровне амплитуды ускорения, приведенном в таблице . В стандартах и ТУ на изделия должно быть указано, что испытание проводят в ускоренном режиме.
В диапазоне частот от 10 Гц до частоты перехода амплитуду перемещения увеличивают в то же число раз, что и амплитуду ускорения (в пределах возможности испытательного оборудования).
5.5.5 Испытательный режим устанавливают в контрольной точке в соответствии с .
5.5.6 Выбор направлений воздействия по отношению к изделию — в соответствии с .
5.5.7 Визуальный осмотр и измерение параметров изделий — в соответствии с .
5.5.8 Оценка результатов испытаний — в соответствии с разделом 4 ГОСТ 30630.0.0.
5.6 Метод 103-1.3 — испытание методом качающейся частоты, исключая диапазон частот ниже 100 Гц
5.6.1 Вибрационная установка должна обеспечивать получение в контрольной точке синусоидальной вибрации с амплитудой ускорения, соответствующей заданной степени жесткости в диапазоне частот от 100 Гц до верхней частоты, установленной для заданной степени жесткости. Контрольную точку выбирают в соответствии с требованиями 5.9 ГОСТ 30630.0.0.
5.6.2 Испытание проводят с учетом требований раздела 4 ГОСТ 30630.0.0.
5.6.3 Подготовка изделий к испытаниям — в соответствии с и .
5.6.4 Испытание проводят путем воздействия синусоидальной вибрации при непрерывном изменении частоты в одном из диапазонов частот, указанных в таблице , от нижнего значения до верхнего и обратно (цикл качания) и поддержании постоянной амплитуды ускорения.
График изменения частоты приведен на рисунке .
По рисунку определяют время изменения частоты, округляя его значение до ближайших значений, обеспечиваемых системой управления вибрационной установкой.
5.6.5 При испытании амплитуду ускорения выбирают по таблице , а продолжительность воздействия вибрации и расчетное число циклов качания — по таблице .
Таблица 5
|
Диапазон частот, Гц |
Продолжительность воздействия вибрации, ч |
Расчетное время цикла качания, мин |
Расчетное число циклов качания |
|
|
17 |
100-300 |
18 |
3 |
360 |
|
19, 20, 23 |
100-500 |
27 |
5 |
330 |
|
20б |
100-500 |
16 |
5 |
201 |
5.6.6 Испытательный режим устанавливают в контрольной точке в соответствии с .
5.6.7 Выбор направлений воздействия по отношению к изделию — в соответствии с .
5.6.8 Визуальный осмотр и измерение параметров изделий — в соответствии с .
5.6.9 Оценка результатов испытаний — в соответствии с ГОСТ 30630.0.0.
5.7 Метод 103-1.4 — испытание методом качающейся частоты в области резонансных частот для изделий, резонансные частоты которых находятся в диапазоне частот требований
5.7.1 Вибрационная установка должна обеспечивать получение в контрольной точке синусоидальной вибрации с амплитудой ускорения, соответствующей заданной степени жесткости в области резонансных частот изделия.
5.7.2 Испытание проводят с учетом требований разделов 4-6 ГОСТ 30630.0.0.
Контрольную точку выбирают в соответствии с требованиями 5.9 ГОСТ 30630.0.0.
5.7.3 Подготовка изделий к испытаниям — в соответствии с и .
5.7.4 Испытание проводят по методике, указанной в , в диапазоне частот 0,5 f0 — 1,5 f0, если изделие имеет одну резонансную частоту, или 0,5 f0н — 1,5 f0в, если изделие имеет более одной резонансной частоты в заданном диапазоне частот, но не выше верхней частоты заданного диапазона,
где f0 — резонансная частота изделия;
f0н — нижняя резонансная частота изделия;
f0в — верхняя резонансная частота изделия.
Продолжительность воздействия вибрация Т′ данным методом определяют по формуле
(4)
или
, (5)
где tp — время изменения частоты от 0,5 f0 до 1,5 f0 или от 0,5 f0н до 1,5 f0в, определяемое по рисунку ;
Т, tн — общая продолжительность воздействия вибрации для метода 103-1.1 и расчетное время цикла качания соответственно, определяемые по таблице для заданной степени жесткости;
N — расчетное число циклов качания, определяемое по таблице для заданной степени жесткости.
Полученное значение времени Т′ при необходимости округляют до ближайшего значения, кратного шести.
Расчетное время цикла качания уменьшают соответственно изменению диапазона частот испытаний.
5.7.5 Испытательный режим устанавливают в контрольной точке в соответствии с .
5.7.6 Выбор направлений воздействия по отношению к изделию — в соответствии с .
5.7.7 Визуальный осмотр и измерение параметров изделий — в соответствии с .
5.7.8 Оценка результатов испытаний — в соответствии с разделом 4 ГОСТ 30630.0.0.
5.8 Метод 103-1.5 — испытание методом качающейся частоты в области резонансных частот для изделий, низшая резонансная частота которых превышает верхнюю частоту диапазона частот требований
Метод устанавливают в стандартах и ТУ на изделия и ПИ, согласуя его применение с заказчиком. В частности, данный метод может быть применен при неявном значении резонансной частоты, например при одновременном испытании нескольких образцов.
5.9 Метод 103-1.6 — испытание на одной фиксированной частоте для изделий, низшая резонансная частота которых более чем в 1,5 раза превышает верхнюю частоту диапазона частот требований
5.9.1 Вибрационная установка должна обеспечивать получение в контрольной точке синусоидальной вибрации на заданной частоте с амплитудой ускорения, соответствующей заданной степени жесткости. Контрольную точку выбирают в соответствии с требованиями 5.9 ГОСТ 30630.0.0.
5.9.2 Испытание проводят с учетом требований разделов 4-6 ГОСТ 30630.0.0.
5.9.3 Подготовка изделий к испытанию — в соответствии с и .
5.9.4 Испытание проводят путем воздействия синусоидальной вибрации на любой фиксированной частоте диапазона при ускорении, соответствующем заданной степени жесткости.
Конкретное значение частоты указывают в стандартах и ТУ на изделия и ПИ.
5.9.5 Общую продолжительность воздействия вибрации при амплитуде ускорения, выбранной в соответствии с таблицей , определяют следующим числом колебаний:
3 · 105 — для степени жесткости 1;
7,5 · 105 — для степеней жесткости 7-9;
1,5 · 106 — для степеней жесткости 2, 10, 11а;
3 · 106 — для степеней жесткости 3-6, 14-16, 20а, 22а;
1 · 107 — для степеней жесткости 2а, 10а, 10б, 11, 28;
1,8 · 107 — для степеней жесткости 17, 20б;
3 · 107 — для степеней жесткости 12, 14а, 19, 20, 22, 24, 26, 29, 33, 34;
5 · 107 — для степени жесткости 13.
— амплитуды ускорения ±20 %;
— значения коэффициента нелинейных искажений по ускорению не более ±25 %.
5.9.7 Выбор направлений воздействия по отношению к изделию — в соответствии с .
5.9.8 Визуальный осмотр и измерение параметров изделий — в соответствии с .
5.9.9 Оценка результатов испытаний — в соответствии с разделом 4 ГОСТ 30630.0.0.
5.10 Метод 103-2.1 — испытание методом фиксированных частот во всем диапазоне частот требований
5.10.1 Вибрационная установка, условия испытания и подготовка изделий к испытанию — в соответствии с ГОСТ 30630.0.0.
5.10.2 Испытания проводят путем воздействия синусоидальной вибрации при плавном изменении частоты в пределах третьоктавных поддиапазонов частот с выдержкой в течение установленного времени на границах третьоктавных поддиапазонов.
Третьоктавные поддиапазоны частот выбирают из ряда частот: 10; 12,5; 16; 20; 25; 31,5; 40; 50; 63; 80; 100; 125; 160; 200; 250; 315; 400; 500; 630; 800; 1000; 1250; 1600; 2000 Гц.
Испытание проводят, начиная с верхней частоты диапазона частот, соответствующей заданной степени жесткости.
На верхней частоте диапазона частот испытаний проводят выдержку в течение времени tв, затем в пределах каждого поддиапазона плавно изменяют частоту от верхней к нижней в течение 1 мин, затем проводят выдержку на верхней частоте следующего поддиапазона в течение времени tпр, мин, затем плавно изменяют частоту от верхней к нижней в течение 1 мин.
Если верхняя граничная частота диапазона не совпадает с одной из вышеуказанных третьоктавных частот, то ее значение округляют до значения ближайшей частоты третьоктавного ряда.
5.10.3 Значения амплитуды перемещения, амплитуды ускорения, диапазон частот и общую продолжительность воздействия вибрации выбирают для соответствующей степени жесткости по таблице .
Время выдержки tв, мин, на верхней частоте диапазона частот должно быть
, (6)
а на остальных частотах третьоктавного ряда —
, (7)
где Т — общая продолжительность воздействия вибрации, ч;
р — число направлений воздействия;
п — число частот третьоктавного ряда, на которых делают выдержку при испытании.
5.10.4 Если изделия, разработанные в соответствии со степенями жесткости 1, 2, 2а, 7-9, 10, 10а, 10б, 11, 11а, имеют резонансные частоты в испытательном диапазоне частот, то допускается в поддиапазонах, имеющих резонансные частоты, применять уменьшенную амплитуду ускорения при одновременном увеличении продолжительности воздействия вибрации в этом поддиапазоне в соответствии с таблицей .
При испытаниях изделий с собственными амортизаторами следует избегать совпадения частоты, на которой проводят выдержку, с резонансной частотой амортизатора.
5.10.5 Испытательный режим устанавливают в контрольной точке в соответствии с . Контрольную точку выбирают в соответствии с .
Допустимые отклонения установки частоты вибрации в диапазоне частот до 25 Гц не должны превышать +0,5 Гц и +2 % — при частоте свыше 25 Гц.
5.10.6 Выбор направлений воздействия по отношению к изделию — в соответствии с .
5.10.7 Визуальный осмотр и измерение параметров изделий — в соответствии с .
5.10.8 Оценка результатов испытаний — в соответствии с разделом 4 ГОСТ 30630.0.0.
5.11 Метод 103-2.2 — испытание методом фиксированных частот для изделий, резонансные частоты которых выше 200 Гц
5.11.1 Испытание проводят методом 103-2.1, но значения диапазона частот и общей продолжительности воздействия выбирают для соответствующей степени жесткости по таблице .
5.12 Метод 103-2.3 — испытание методом фиксированных частот при повышенных значениях амплитуды ускорения
5.12.1 Испытание проводят методом 103-2.1, но значения амплитуды ускорения и общей продолжительности воздействия вибрации устанавливают, как в методе 103-1.2.
5.13 Метод 103-4 — испытание путем воздействия широкополосной случайной вибрации, если к изделиям предъявлено требование по прочности к воздействию случайной вибрации
Испытания проводят в соответствии с , но продолжительность испытаний для соответствующей группы механического исполнения устанавливают по соотношению
, (8)
где Тсл — продолжительность испытаний при воздействии случайной вибрации;
Тс — продолжительность испытаний для соответствующей группы механического исполнения при воздействии синусоидальной вибрации для метода 103-1.1;
ОД — относительное демпфирование конструкции;
fв и fн — верхняя и нижняя частоты диапазона испытаний соответственно.
6 Испытание на воздействие синусоидальной вибрации с повышенным значением амплитуды ускорения (испытание 114)
6.1 Испытание проводят с целью проверить способность изделия противостоять разрушающему действию вибрации при повышенном значении амплитуды ускорения, указанном в технических требованиях на изделия, и выполнять функции после воздействия или (если это указано в стандартах и ТУ на изделия и ПИ) в процессе воздействия вибрации.
6.2 Испытания проводят одним из следующих методов:
114-1 — испытание при непосредственном закреплении изделия на вибрационном стенде;
114-2 — испытание с применением резонансной балки. Метод применяют, если технические характеристики вибрационной установки не обеспечивают получение требуемой амплитуды ускорения при испытании методом 114-1.
6.3 Для изделий, значение низшей резонансной частоты которых более 1000 Гц, испытание на воздействие синусоидальной вибрации с повышенным значением амплитуды ускорения не проводят, при этом прочность или устойчивость изделий должна быть обеспечена их конструкцией.
6.4 Метод 114-1 — испытание при непосредственном закреплении изделия на вибрационном стенде
6.4.1 Вибрационная установка должна обеспечивать получение синусоидальной вибрации с амплитудой ускорения, соответствующей заданной степени жесткости.
6.4.2 Испытание проводят с учетом требований разделов 4-6 ГОСТ 30630.0.0.
6.4.3 Подготовка изделий к испытанию — в соответствии с разделом 4 ГОСТ 30630.0.0.
6.4.4 Если в стандартах и ТУ на изделия и ПИ указано на необходимость проверки параметров в процессе испытания, то испытание проводят под механической и (или) электрической нагрузкой в соответствии с .
6.4.5 Испытание проводят путем воздействия синусоидальной вибрации по одной из двух степеней жесткости, различающихся значением амплитуды ускорения:
I степень жесткости — 750 м · с—2 (75 g);
II степень жесткости — 1000 м · с—2 (100 g).
6.4.6 Испытание проводят на любой фиксированной частоте, но не выше 0,5 f0н, где f0н — низшая резонансная частота изделия. Конкретное значение частоты устанавливают в стандартах и ТУ на изделия и ПИ.
6.4.7 Направление воздействия вибрации — в соответствии с .
6.4.8 Продолжительность воздействия вибрации — 3 мин для каждого направления воздействия.
6.4.9 Испытательный режим устанавливают в контрольной точке в соответствии с .
6.4.10 В процессе испытания, если указано в стандартах и ТУ на изделие и ПИ, контролируют параметры изделий в соответствии с .
6.4.11 Визуальный осмотр и измерение параметров изделий — в соответствии с .
6.4.12 Оценка результатов испытаний — в соответствии с разделом 4 ГОСТ 30630.0.0.
6.5 Метод 114-2 — испытание с применением резонансной балки
6.5.1 Приспособление с изделием крепят к столу вибрационного стенда с помощью резонансной балки.
Метод расчета резонансной балки — по приложению .
6.5.3 После выявления резонансной частоты устанавливают амплитуду ускорения по требуемой степени жесткости и далее проводят испытание по методике, изложенной в .
ПРИЛОЖЕНИЕ А
(обязательное)
Порядок введения настоящего стандарта в действие
А.1 Для вновь разрабатываемых стандартов и изделий, а также модернизируемых изделий дата введения стандарта в действие установлена 2001-01-01.
А.2 Для разработанных до 2001-01-01 изделий введение стандарта осуществляется в период до 2004-01-01 при пересмотре стандартов и ТУ на изделия. При этом для разработанных до 2001-01-01 изделий при проведении первых испытаний после 2001-01-01 на подтверждение требований по стойкости к ВВФ, а также периодических испытаний изделий, находящихся в производстве, рекомендуется руководствоваться требованиями настоящего стандарта.
ПРИЛОЖЕНИЕ Б
(рекомендуемое)
Метод расчета резонансной балки
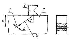
Б.1 Резонансная балка (далее — балка) представляет собой брус прямоугольного сечения, закрепленный на столе вибрационного стенда в соответствии с рисунком .
а — крепление балки к столу стенда в двух точках; б — крепление балки к столу стенда в одной точке
1 — приспособление для испытания изделий; 2, 3 — резьбовые шпильки; 4 — резонансная балка; 5 — стол вибрационного стенда
Рисунок Б.1 — Примеры крепления резонансных балок
Б.2 Расчет состоит в определении геометрических размеров балки (рисунок ), обеспечивающих расчетную резонансную частоту балки. Эту резонансную частоту выбирают по требованиям .
Примечание — Расчетная резонансная частота балки является расчетной испытательной частотой по .
а — точки крепления балки расположены по бокам; б — точка крепления балки расположена в центре
Рисунок Б.2 — Резонансная балка
За исходные данные для расчета принимают следующие величины:
fб — резонансная частота балки с приспособлением, Гц;
jmax — максимальное ускорение на балке, м · с—2;
Е — модуль упругости материала балки, Н/м2;
σ-1 — предел усталости материала балки, Н/м2;
т — масса приспособления с изделиями, кг;
mб — масса резонансной балки, кг;
b — ширина резонансной балки, м.
При расчете резонансной балки значение b и mб выбирают в зависимости от значения массы приспособления т. Так, для приспособления массой 1-2 кг рекомендуется применять балку шириной b = (4 — 8) · 10—2 м и массой тб = 1 — 2 кг. Для сплавов алюминия значение σ-1 рекомендуется принимать равным 4 · 107 Н/м2.
Длину пролета l, м, и высоту h, м, резонансной балки рассчитывают по формулам:
; (Б.1)
; (Б.2)
где mпр = т + 0,5 тб — приведенная масса резонансной балки, кг.
ПРИЛОЖЕНИЕ В
(справочное)
Информационные данные о соответствии настоящего стандарта стандартам МЭК и ИСО
Таблица В.1
|
Настоящий стандарт |
Стандарты МЭК |
Степень соответствия |
|||
|
Наименование метода испытаний |
Номер метода |
Наименование метода испытаний |
Условное обозначение метода |
Обозначение стандарта МЭК |
|
|
Испытание на устойчивость при воздействии синусоидальной и широкополосной вибрации [испытание на виброустойчивость (испытание 102)] |
— |
— |
— |
МЭК 60068-2-6: 1982 с изменениями 1: 1983 и 2: 1985 МЭК 60068-2-64: 1994 |
Конкретные методы по настоящему стандарту соответствуют методам в МЭК, если в МЭК имеется соответствующий метод. Настоящий стандарт содержит дополнительные методы, отсутствующие в МЭК, что позволяет точнее оценить более широкую номенклатуру изделий. В стандартах МЭК условия испытаний не увязаны с условиями эксплуатации. Принцип классификации методов испытания отличается от принятого в МЭК: в настоящем стандарте логичнее |
|
Испытание на виброустойчивость при воздействии синусоидальной вибрации методом качающейся частоты |
102-1 |
Вибрация (синусоидальная) |
Fc |
МЭК 60068-2-6: 1982 с изменениями 1: 1983 и 2: 1985 |
Соответствует МЭК с учетом указанного выше для данного испытания |
|
Испытание на виброустойчивость при воздействии широкополосной случайной вибрации |
102-2 |
Случайная широкополосная вибрация (цифровое управление) |
Fh |
МЭК 60068-2-64: 1994 |
То же |
|
Испытание на виброустойчивость при воздействии синусоидальной вибрации методом фиксированных частот во всем диапазоне частот требований |
102-3 |
— |
— |
— |
— |
|
Испытание для определения границы виброустойчивости |
102-4 |
— |
— |
— |
— |
|
Испытание при воздействии синусоидальной вибрации |
102-4.1 |
— |
— |
— |
— |
|
Испытание при воздействии широкополосной случайной вибрации |
102-4.2 |
— |
— |
— |
— |
|
Испытание на вибропрочность при воздействии синусоидальной или широкополосной случайной вибрации длительное [испытание на вибропрочность длительное (испытание 103)] |
— |
Вибрация (синусоидальная) |
Fc |
МЭК 60068-2-6: 1982 с изменениями 1: 1983 и 2: 1985 МЭК 60068-2-64: 1994 |
Соответствует МЭК с учетом указанного выше для данного испытания |
|
— |
Случайная широкополосная вибрация |
Fh |
|||
|
Испытание на вибропрочность при воздействии синусоидальной или широкополосной случайной вибрации кратковременное [испытание на вибропрочность кратковременное (испытание 103)] |
— |
То же |
То же |
То же |
То же |
|
Испытание методом качающейся частоты |
103-1 |
Вибрация (синусоидальная) |
Fc |
МЭК 60068-2-6: 1982 с изменениями 1: 1983 и 2: 1985 |
Соответствует МЭК с учетом указанного выше для данного испытания |
|
Испытание методом качающейся частоты во всем диапазоне частот требований |
103-1.1 |
То же |
То же |
То же |
То же |
|
Испытание методом качающейся частоты при повышенных значениях амплитуды ускорения |
103-1.2 |
» |
» |
» |
» |
|
Испытание методом качающейся частоты, исключая диапазон частот ниже 100 Гц |
103-1.3 |
» |
» |
МЭК 60068-2-64: 1982 с изменениями 1: 1983 и 2: 1985 |
Соответствует МЭК с учетом указанного выше |
|
Испытание методом качающейся частоты в области резонансных частот для изделий, резонансные частоты которых находятся в диапазоне частот требований |
103-1.4 |
» |
» |
То же |
То же |
|
Испытание методом качающейся частоты в области резонансных частот для изделий, низшая резонансная частота которых превышает верхнюю частоту диапазона частот требований |
103-1.5 |
Вибрация (синусоидальная) |
Fc |
МЭК 60068-2-6: 1982 с изменениями 1: 1983 и 2: 1985 |
Соответствует МЭК с учетом указанного выше для данного испытания |
|
Испытание на одной фиксированной частоте для изделий, низшая резонансная частота которых более чем в 1,5 раза превышает верхнюю частоту диапазона частот требований |
103-1.6 |
То же |
То же |
То же |
То же |
|
Испытание методом фиксированных частот |
103-2 |
— |
— |
— |
— |
|
Испытание методом фиксированных частот во всем диапазоне частот требований |
103-2.1 |
— |
— |
— |
— |
|
Испытание методом фиксированных частот для изделий, у которых резонансные частоты выше 200 Гц |
103-2.2 |
— |
— |
— |
— |
|
Испытание методом фиксированных частот при повышенных значениях амплитуды ускорения. Данный метод применяют по согласованию с заказчиком взамен метода 103-1.2, если применение последнего невозможно |
103-2.3 |
— |
— |
— |
— |
|
Испытание путем воздействия широкополосной случайной вибрации, если к изделиям предъявлено требование по прочности к воздействию случайной вибрации |
103-4 |
Случайная широкополосная вибрация |
|
МЭК 60068-2-64: 1994 |
Соответствует МЭК с учетом указанного выше для данного испытания |
|
Испытание на воздействие синусоидальной вибрации с повышенным значением амплитуды ускорения (испытание 114) |
— |
— |
— |
— |
— |
|
Испытание при непосредственном закреплении изделия на вибрационном стенде |
114-1 |
— |
— |
— |
— |
|
Испытание с применением резонансной балки |
114-2 |
— |
— |
— |
— |
Примечание — Стандарт ИСО 10055: 1996 устанавливает для оборудования судов испытания на виброустойчивость и вибропрочность путем воздействия синусоидальной вибрации методом качающейся частоты в диапазоне частот 10-50 Гц или (при отсутствии в оборудовании резонансных частот в указанном диапазоне) при испытании на вибропрочность воздействия фиксированной частоты 30 Гц. Эти методы совпадают с установленными настоящим стандартом методами 102-1, 103-1.1 или соответствующими методами стандартов МЭК. Однако установленные стандартом ИСО 10055 значения максимальной амплитуды ускорений, при которых должна быть обеспечена виброустойчивость изделий, не совпадают со значениями максимальной амплитуды ускорений, установленными настоящим стандартом в соответствии с ГОСТ 30631 и МЭК 60721-3-6 (в последних указанные значения точнее). В ИСО 10055 продолжительность испытаний на вибропрочность недостаточна, по этим причинам стандарт ИСО 10055 не может быть рекомендован к применению.
Ключевые слова: механические внешние воздействующие факторы; методы испытаний; вибропрочность; вибростойкость; виброустойчивость; машины, приборы и другие технические изделия


