ГОСТ 310.3-76
Группа Ж19
МЕЖГОСУДАРСТВЕННЫЙ СТАНДАРТ
Цементы
МЕТОДЫ ОПРЕДЕЛЕНИЯ
НОРМАЛЬНОЙ ГУСТОТЫ, СРОКОВ СХВАТЫВАНИЯ
И РАВНОМЕРНОСТИ ИЗМЕНЕНИЯ ОБЪЕМА
Cements. Мethods for determination of standard consistency,
times of setting and soundness
МКС 91.100.10
ОКП 57 3000
Дата введения 1978-01-01
ИНФОРМАЦИОННЫЕ ДАННЫЕ
1. РАЗРАБОТАН Министерством промышленности строительных материалов СССР
Государственным комитетом СССР по делам строительства
Министерством энергетики и электрификации СССР
ВНЕСЕН Министерством промышленности строительных материалов СССР
2. УТВЕРЖДЕН И ВВЕДЕН В ДЕЙСТВИЕ Постановлением Государственного комитета СССР по делам строительства от 14.10.76 N 169
3. ВЗАМЕН ГОСТ 310-60 в части определения нормальной густоты, сроков схватывания и равномерности изменения объема
4. ССЫЛОЧНЫЕ НОРМАТИВНО-ТЕХНИЧЕСКИЕ ДОКУМЕНТЫ
|
|
|
|
|
|
| Обозначение НТД, на который дана ссылка
| Номер пункта
|
|
|
| ГОСТ 310.1-76
| 1.2.2
|
|
5. ИЗДАНИЕ (апрель 2003 г.) с Изменением N 1, утвержденным в августе 1984 г. (ИУС 1-85)
Настоящий стандарт распространяется на цементы всех видов и устанавливает методы испытаний для определения нормальной густоты, сроков схватывания цементного теста, а также равномерности изменения объема цемента.
1. ОПРЕДЕЛЕНИЕ НОРМАЛЬНОЙ ГУСТОТЫ ЦЕМЕНТНОГО ТЕСТА
1.1. Аппаратура
Прибор Вика с иглой и пестиком.
Кольцо к прибору Вика.
Мешалка для приготовления цементного теста.
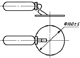
1.1.1. Прибор Вика (черт.1) имеет цилиндрический металлический стержень 1, свободно перемещающийся в обойме станины 2. Для закрепления стержня на требуемой высоте служит стопорное устройство 3. Стержень снабжен указателем 4 для отсчета перемещения его относительно шкалы 5, прикрепленной к станине. Шкала имеет цену деления 1 мм.
Прибор Вика
1 — цилиндрический металлический стержень; 2 — обойма станины; 3 — стопорное устройство;
4 — указатель; 5 — шкала; 6 — пестик; 7 — игла
Черт.1
При определении нормальной густоты цементного теста в нижнюю часть стержня вставляют металлический цилиндр-пестик 6.
При определении сроков схватывания пестик заменяют иглой 7.
Пестик должен быть изготовлен из нержавеющей стали с полированной поверхностью. Игла должна быть изготовлена из стальной жесткой нержавеющей проволоки с полированной поверхностью и не должна иметь искривлений. Поверхность пестика и иглы должна быть чистой.
Массу перемещающейся части прибора сохраняют взаимной перестановкой пестика и иглы. Отдельные детали перемещающейся части прибора подбирают таким образом, чтобы их общая масса находилась в пределах (300±2) г.
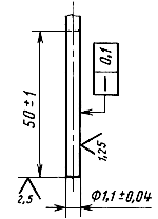
Размеры иглы и пестика должны соответствовать указанным на черт.2 и 3 .
|
|
|
| Рабочая часть иглы
| Рабочая часть пестика
|
| Черт.2
| Черт.3
|
1.1.2. Кольцо к прибору Вика и пластинка, на которую устанавливают кольцо, должны быть изготовлены из нержавеющей стали, пластмассы или другого не впитывающего воду материала. Форма и размеры кольца должны соответствовать указанным на черт.4.
1.1.3. Мешалка для приготовления цементного теста должна отвечать требованиям соответствующих технических условий.
1.1.4. При отсутствии в лаборатории механизированной мешалки для приготовления цементного теста применяют чашу сферической формы (черт.5), изготовленную из нержавеющей стали.
Кольцо к прибору Вика
Черт.4
Лопатку для перемешивания цементного теста изготовляют из упругой нержавеющей стали. Основные размеры лопатки указаны на черт.6.
|
|
|
| Чаша для затворений
| Лопатка для перемешивания
|
| Черт.5
| Черт.6
|
(Измененная редакция, Изм. N 1).
1.2. Проведение испытаний
1.2.1. Нормальной густотой цементного теста считают такую консистенцию его, при которой пестик прибора Вика, погруженный в кольцо, заполненное тестом, не доходит на 5-7 мм до пластинки, на которой установлено кольцо.
Нормальную густоту цементного теста характеризуют количеством воды затворения, выраженным в процентах от массы цемента.
1.2.2. Пробу цемента подготавливают по ГОСТ 310.1.
1.2.3. Перед началом испытания проверяют, свободно ли опускается стержень прибора Вика, а также нулевое показание прибора, соприкасая пестик с пластинкой, на которой расположено кольцо. При отклонении от нуля шкалу прибора соответствующим образом передвигают.
Кольцо и пластинку перед началом испытаний смазывают тонким слоем машинного масла.
1.2.4. Для ручного приготовления цементного теста отвешивают 400 г цемента, высыпают в чашу, предварительно протертую влажной тканью. Затем делают в цементе углубление, в которое вливают в один прием воду в количестве, необходимом (ориентировочно) для получения цементного теста нормальной густоты. Углубление засыпают цементом и через 30 с после приливания воды сначала осторожно перемешивают, а затем энергично растирают тесто лопаткой.
Продолжительность перемешивания и растирания составляет 5 мин с момента приливания воды.
Цементное тесто на механической мешалке готовят в соответствии с прилагаемой к мешалке инструкцией.
1.2.5. После окончания перемешивания кольцо быстро наполняют в один прием цементным тестом и пять-шесть раз встряхивают его, постукивая пластинку о твердое основание. Поверхность теста выравнивают с краями кольца, срезая избыток теста ножом, протертым влажной тканью. Немедленно после этого приводят пестик прибора в соприкосновение с поверхностью теста в центре кольца и закрепляют стержень стопорным устройством, затем быстро освобождают его и предоставляют пестику свободно погружаться в тесто. Через 30 с с момента освобождения стержня проводят отсчет погружения по шкале. Кольцо с тестом при отсчете не должно подвергаться толчкам. При несоответствующей консистенции цементного теста изменяют количество воды и вновь затворяют тесто, добиваясь погружения пестика на глубину, указанную в п.1.2.1. Количество добавляемой воды для получения теста нормальной густоты определяют с точностью до 0,25%.
2. ОПРЕДЕЛЕНИЕ СРОКОВ СХВАТЫВАНИЯ
2.1. Аппаратура
Аппаратура — по п.1.1.
Автоматический прибор для определения сроков схватывания.
2.2. Проведение испытаний
2.2.1. Перед началом испытания проверяют, свободно ли опускается стержень прибора Вика, а также нулевое отклонение прибора, как указано в п.1.2.3. Кроме того, проверяют чистоту поверхности и отсутствие искривлений иглы. Иглу прибора доводят до соприкосновения с поверхностью цементного теста нормальной густоты, приготовленного и уложенного в кольцо по пп.1.2.4 и 1.2.5. В этом положении закрепляют стержень стопором, затем освобождают стержень, давая игле свободно погружаться в тесто. В начале испытания, пока тесто находится в пластичном состоянии, во избежание сильного удара иглы о пластинку допускается слегка ее задерживать при погружении в тесто. Как только тесто загустеет настолько, что опасность повреждения иглы будет исключена, игле дают свободно опускаться. Момент начала схватывания определяют при свободном опускании иглы.
Иглу погружают в тесто через каждые 10 мин, передвигая кольцо после каждого погружения для того, чтобы игла не попадала в прежнее место. После каждого погружения иглу вытирают.
Во время испытания прибор должен находиться в затененном месте, где нет сквозняков, и не должен подвергаться сотрясениям.
2.2.2. Началом схватывания цементного теста считают время, прошедшее от начала затворения (момента приливания воды) до того момента, когда игла не доходит до пластинки на 2-4 мм. Концом схватывания цементного теста считают время от начала затворения до момента, когда игла опускается в тесто не более чем на 1-2 мм.
(Измененная редакция, Изм. N 1).
2.2.3. Сроки схватывания цементного теста на приборе с автоматической записью определяют в соответствии с инструкцией, прилагаемой к прибору.
3. ОПРЕДЕЛЕНИЕ РАВНОМЕРНОСТИ ИЗМЕНЕНИЯ ОБЪЕМА ЦЕМЕНТА
3.1. Аппаратура
Аппаратура — по п.1.1.
Автоклав с рабочим давлением не менее 2,1 МПа.
Бачок для испытания кипячением.
Ванна с гидравлическим затвором.
(Измененная редакция, Изм. N 1).
3.1.1. Бачок для испытания кипячением с регулятором уровня воды. Внутри бачка помещают съемную решетчатую полку для размещения лепешек, которая находится на расстоянии не менее 5 см от дна бачка. Уровень воды в бачке должен перекрывать лепешки на 4-6 см в течение всего времени кипячения. Бачок с водой нагревают на любом нагревательном приборе, обеспечивающем доведение воды в бачке до кипения за 30-45 мин.
3.1.2. Ванны с гидравлическим затвором для хранения образцов (черт.7) изготовляют из стойкого к коррозии материала (оцинкованная сталь). В ваннах устанавливают решетки для размещения на них образцов. Под решеткой всегда должна быть вода.
Ванна с гидравлическим затвором
Черт.7
3.2. Проведение испытаний
3.2.1. Для испытания на равномерность изменения объема цемента готовят тесто нормальной густоты согласно пп.1.2.4 и 1.2.5.
Две навески теста массой 75 г каждая, приготовленные в виде шариков, помещают на стеклянную пластинку, предварительно протертую машинным маслом. Постукивают ею о твердое основание до образования из шариков лепешек диамером 7-8 см и толщиной в середине около 1 см. Лепешки заглаживают смоченным водой ножом от наружных краев к центру до образования острых краев и гладкой закругленной поверхности.
3.2.2. Приготовленные по п.3.2.1 лепешки хранят в течение (24±2) ч с момента изготовления в ванне с гидравлическим затвором, а затем подвергают испытанию кипячением.
3.2.3. По истечении времени хранения по п.3.2.2 две цементные лепешки вынимают из ванны, снимают с пластинок и помещают в бачок с водой на решетку. Воду в бачке доводят до кипения, которое поддерживают в течение 3 ч, после чего лепешки в бачке охлаждают и проводят их внешний осмотр немедленно после извлечения из воды.
3.2.4. Цемент соответствует требованиям стандарта в отношении равномерности изменения объема, если на лицевой стороне лепешек не обнаружено радиальных, доходящих до краев, трещин или сетки мелких трещин, видимых невооруженным глазом или в лупу, а также каких-либо искривлений и увеличения объема лепешек. Искривления обнаруживают при помощи линейки, прикладываемой к плоской поверхности лепешки, при этом обнаруживаемые искривления не должны превышать 2 мм на краю или в середине лепешки. Допускается в первые сутки после испытаний появление трещин усыхания, не доходящих до краев лепешек, при условии сохранения звонкого звука при постукивании лепешек одна о другую. Образцы лепешек, выдержавших и не выдержавших испытание на равномерность изменения объема, приведены на черт.8.
Лепешки, выдержавшие испытания на равномерность изменения объема
|
|
|
|
| ||||||||||||||||||||||||||||||||||||||||||||||||||||||||||||||||||||||||||||||||||||||||||||||||||||||||||||||||||||||||||||||||||||||||||||||||||||||||||||||||||||||||||||||||||||||||||||||||||||||||||||||||||||||||||||||||||||||||||||||||||||||||||||||||||||||||||||||||||||||||||||||||||||||||||||||||||||||||||||||||||||||||||||||||||||||||||||||||||||||||||||||||||||||||||||||||||||||||||||||||||||||||||||||||||||||||||||||||||||||||||||||||||||||||||||||||||||||||||||||||||||||||||||||||||||||||||||||||||||||||||||||||||||||||||||||||||||||||||||||||||||||||||||||||||||||||||||||||||||||||||||||||||||||||||||||||||||||||||||||||||||||||||||||||||||||||||||||||||||||||||||||||||||||||||||||||||||||||||||||||||||||||||||||||||||||||||||||||||||||||||||||||||||||||||||||||||||||||||||||||||||||||||||||||||||||||||||||||||||||||||||||||||||||||||||||||||||||||||||||||||||||||||||||||||||||||||||||||||||||||||||||||||||||||||||||||||||||||||||||||||||||||||||||||||||||||||||||||||||
|
| Лепешки, не выдержавшие испытания на равномерность изменения объема
|
| |||||||||||||||||||||||||||||||||||||||||||||||||||||||||||||||||||||||||||||||||||||||||||||||||||||||||||||||||||||||||||||||||||||||||||||||||||||||||||||||||||||||||||||||||||||||||||||||||||||||||||||||||||||||||||||||||||||||||||||||||||||||||||||||||||||||||||||||||||||||||||||||||||||||||||||||||||||||||||||||||||||||||||||||||||||||||||||||||||||||||||||||||||||||||||||||||||||||||||||||||||||||||||||||||||||||||||||||||||||||||||||||||||||||||||||||||||||||||||||||||||||||||||||||||||||||||||||||||||||||||||||||||||||||||||||||||||||||||||||||||||||||||||||||||||||||||||||||||||||||||||||||||||||||||||||||||||||||||||||||||||||||||||||||||||||||||||||||||||||||||||||||||||||||||||||||||||||||||||||||||||||||||||||||||||||||||||||||||||||||||||||||||||||||||||||||||||||||||||||||||||||||||||||||||||||||||||||||||||||||||||||||||||||||||||||||||||||||||||||||||||||||||||||||||||||||||||||||||||||||||||||||||||||||||||||||||||||||||||||||||||||||||||||||||||||||||||||||||||||
|
| Разрушение
| Радиальные трещины
|
| ||||||||||||||||||||||||||||||||||||||||||||||||||||||||||||||||||||||||||||||||||||||||||||||||||||||||||||||||||||||||||||||||||||||||||||||||||||||||||||||||||||||||||||||||||||||||||||||||||||||||||||||||||||||||||||||||||||||||||||||||||||||||||||||||||||||||||||||||||||||||||||||||||||||||||||||||||||||||||||||||||||||||||||||||||||||||||||||||||||||||||||||||||||||||||||||||||||||||||||||||||||||||||||||||||||||||||||||||||||||||||||||||||||||||||||||||||||||||||||||||||||||||||||||||||||||||||||||||||||||||||||||||||||||||||||||||||||||||||||||||||||||||||||||||||||||||||||||||||||||||||||||||||||||||||||||||||||||||||||||||||||||||||||||||||||||||||||||||||||||||||||||||||||||||||||||||||||||||||||||||||||||||||||||||||||||||||||||||||||||||||||||||||||||||||||||||||||||||||||||||||||||||||||||||||||||||||||||||||||||||||||||||||||||||||||||||||||||||||||||||||||||||||||||||||||||||||||||||||||||||||||||||||||||||||||||||||||||||||||||||||||||||||||||||||||||||||||||||||||
Лепешки, не выдержавшие испытания на равномерность изменения объема
Искривление
Лепешки, выдержавшие испытания на равномерность изменения объема
Трещины усыхания
Черт.8
3.2.5. В случае, когда содержание оксида магния MgO в клинкере, из которого был изготовлен испытуемый цемент, составляет более 5%, следует дополнительно провести испытание равномерности изменения объема в автоклаве. Это испытание проводят только для цементов, выдержавших испытание по п.3.2.3.
Лепешку из теста, приготовленную по п.3.2.1 и хранимую по п.3.2.2, вместо кипячения подвергают обработке в автоклаве по следующему режиму: подъем давления от атмосферного до 2,2 МПа — в течение 60-90 мин, выдержка при давлении 2,1 МПа — в течение 3 ч, снижение давления от 2,1 МПа до атмосферного — в течение около 60 мин. После этого лепешку извлекают из автоклава, охлаждают до температуры помещения и немедленно ее осматривают.
Результаты испытания оценивают по п.3.2.4.
(Введен дополнительно, Изм. N 1).
4. ПОВЕРКА АППАРАТУРЫ
4.1. Поверке подлежит прибор Вика для определения нормальной густоты и сроков схватывания цементного теста.
4.2. Поверку проводят в соответствии с утвержденными инструкциями с периодичностью не реже одного раза в год.
4.3. Поверяемые параметры прибора Вика приведены в таблице.
|
|
|
| Поверяемый узел или деталь
| Поверяемый параметр
|
|
|
|
|
|
|
|
|
Электронный текст документа
подготовлен ЗАО "Кодекс" и сверен по:
официальное издание
Цементы. Методы испытаний: Сб. ГОСТов.
ГОСТ 310.1-76-ГОСТ 310.3-76, ГОСТ 310.4-81,
ГОСТ 310.5-88, ГОСТ 310.6-85. —
М.: ИПК Издательство стандартов, 2003





