|
МЕЖГОСУДАРСТВЕННЫЙ СОВЕТ ПО СТАНДАРТИЗАЦИИ, МЕТРОЛОГИИ И СЕРТИФИКАЦИИ INTERSTATE COUNCIL FOR STANDARDIZATION, METROLOGY AND CERTIFICATION |
|
|
МЕЖГОСУДАРСТВЕННЫЙ |
ГОСТ |
Шум машин
ОПРЕДЕЛЕНИЕ УРОВНЕЙ ЗВУКОВОЙ МОЩНОСТИ, ИЗЛУЧАЕМОЙ В ВОЗДУХОВОД ВЕНТИЛЯТОРАМИ И ДРУГИМИ УСТРОЙСТВАМИ ПЕРЕМЕЩЕНИЯ ВОЗДУХА, МЕТОДОМ ИЗМЕРИТЕЛЬНОГО ВОЗДУХОВОДА
(ISO 5136:2003, MOD)
|
|
Москва Стандартинформ2008 |
Предисловие
Цели, основные принципы и основной порядок проведения работ по межгосударственной стандартизации установлены ГОСТ 1.0—92 «Межгосударственная система стандартизации. Основные положения» и ГОСТ 1.2—97 «Межгосударственная система стандартизации. Стандарты межгосударственные, правила и рекомендации по межгосударственной стандартизации. Порядок разработки, принятия, применения, обновления и отмены»
Сведения о стандарте
1 ПОДГОТОВЛЕН Открытым акционерным обществом «Научно—исследовательский центр контроля и диагностики технических систем» на основе собственного аутентичного перевода стандарта, указанного в пункте 4
2 ВНЕСЕН Федеральным агентством по техническому регулированию и метрологии
3 ПРИНЯТ Межгосударственным советом по стандартизации, метрологии и сертификации (протокол № 32 от 24 октября 2007 г.)
За принятие проголосовали:
|
Краткое наименование страны по MK (ИСО 3166) 004—97 |
Код страны по МК (ИСО 3166) 004—97 |
Сокращенное наименование национального органа по стандартизации |
|
Азербайджан |
AZ |
Азстандарт |
|
Беларусь |
BY |
Госстандарт Республики Беларусь |
|
Казахстан |
KZ |
Госстандарт Республики Казахстан |
|
Кыргызстан |
KG |
Кыргызстандарт |
|
Молдова |
MD |
Молдова—Стандарт |
|
Российская Федерация |
RU |
Ростехрегулирование |
|
Таджикистан |
TJ |
Таджикстандарт |
|
Узбекистан |
UZ |
Узстандарт |
|
Украина |
UA |
Госпотребстандарт Украины |
4 Настоящий стандарт модифицирован по отношению к международному стандарту ИСО 5136:2003 «Акустика. Определение звуковой мощности, излучаемой в воздуховод вентиляторами и другими воздухоперемещающими устройствами. Метод испытательной трубы» (ISO 5136:2003 «Acoustics — Determination of sound power radiated into a duct by fans and other air—moving devices — In—duct method») При этом дополнительные слова и фразы, включенные в текст стандарта для учета потребностей национальной экономики указанных выше государств или особенностей межгосударственной стандартизации, выделены курсивом. Отличия настоящего стандарта от примененного в нем международного стандарта ИСО 5136:2003 указаны в приложении L.
Наименование настоящего стандарта изменено относительно наименования указанного международного стандарта для приведения в соответствие с ГОСТ 1.5 (подраздел 3.5).
При применении настоящего стандарта рекомендуется использовать вместо ссылочных международных стандартов соответствующие им межгосударственные стандарты, сведения о которых приведены в приложении К.
Международный стандарт разработан техническим комитетом ИСО ТК 43 «Акустика»
Перевод с английского языка (en)
Содержание исключенных положений, полный перечень всех технических отклонений с разъяснением причин их внесения приведены в приложении К
Степень соответствия — модифицированная (MOD)
5 Приказом Федерального агентства по техническому регулированию и метрологии от 26 марта 2008 г. № 62-ст межгосударственный стандарт ГОСТ 31352—2007 (ИСО 5136:2003) введен в действие в качестве национального стандарта Российской Федерации с 1 октября 2008 г.
6 ВЗАМЕН ГОСТ 12.2.028—84 в части метода измерений внутри воздуховода, присоединенного к вентилятору
Информация о введении в действие (прекращении действия) настоящего стандарта публикуется в указателе «Национальные стандарты».
Информация об изменениях к настоящему стандарту публикуется в указателе «Национальные стандарты», а текст изменений — в информационных указателях «Национальные стандарты». В случае пересмотра или отмены настоящего стандарта соответствующая информация будет опубликована в информационном указателе «Национальные стандарты»
Содержание
|
МЕЖГОСУДАРСТВЕННЫЙ СТАНДАРТ |
|
Шум машин ОПРЕДЕЛЕНИЕ УРОВНЕЙ ЗВУКОВОЙ МОЩНОСТИ, ИЗЛУЧАЕМОЙ В Noise of machines Determination of sound power levels radiated into a duct by fans and |
Дата введения — 2008—10—01
(Поправка. ИУС 3-2009)
1 Область применения
1.1 Общие положения
Настоящий стандарт устанавливает метод определения уровней звуковой мощности устанавливаемых в воздуховод вентиляторов и других устройств перемещения воздуха (далее — вентиляторы), излучающих звук во всасывающий и/или нагнетательный воздуховод с концевым поглощающим устройством.
Метод применяют к вентиляторам, излучающим постоянный широкополосный, узкополосный шум, шум с дискретными частотами при температуре воздуха от минус 50 °С до плюс 70 °С. Диаметр измерительного воздуховода должен быть от 0,15 до 2 м. Методы испытаний вентиляторов в малых (d < 0,15 м) и больших (d > 2 м) измерительных воздуховодах приведены в приложениях Н и I соответственно.
Средняя скорость потока, при которой применим данный метод, зависит от используемого устройства защиты микрофона и равна следующим значениям:
— 15 м/с для губчатого шара;
— 20 м/с для конической насадки;
— 40 м/с для антитурбулентного экрана.
При более высоких скоростях эффективность устройства защиты микрофона от шума из—за турбулентных колебаний давления в потоке (далее — турбулентный шум) оказывается недостаточной.
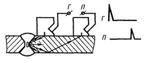
Предполагается, что определение уровней звуковой мощности вентилятора проводят совместно с аэродинамическими испытаниями по ГОСТ 10921—90. Поэтому испытательный стенд имеет струевыпрямитель «звездообразного» типа на нагнетательной стороне вентилятора (). Если струевыпрямитель не устанавливают, как, например, при испытаниях больших вентиляторов с компоновкой по типу С по ГОСТ 10921—90, то угол закрутки потока не должен превышать 15°. Метод определения угла закрутки приведен в приложении J.
Примечание — Согласно ГОСТ 10921—90 при компоновке вентилятора по типу В воздуховод присоединен на нагнетательной стороне вентилятора; при компоновке по типу С — на всасывающей стороне; при компоновке по типу D — по обеим сторонам.
1.2 Типы источников шума
Метод измерительного воздуховода применяют к вентиляторам, к которым воздуховод присоединен хотя бы с одной стороны. Метод также применим для других сочетаний вентилятор/глушитель или для оборудования со встроенными вентиляторами, которое можно рассматривать как «черный ящик».
Настоящий стандарт распространяется на следующие виды вентиляторов:
— радиальные;
— осевые;
— вентиляторы—смесители;
— устройства подготовки воздуха;
— пылеулавливатели;
— кондиционеры;
— воздухоподогреватели.
Настоящий стандарт также применяют для определения аэродинамического шума других источников, например коробов, вентиляционных решеток и дросселирующих устройств при условии, что для создания потока воздуха, проходящего через них, используется малошумный вспомогательный вентилятор, и уровень звукового давления испытуемого объекта превышает уровень звукового давления фонового шума не менее чем на 6 дБ ().
Альтернативный метод определения уровня звуковой мощности указанных источников аэродинамического шума, который не требует измерения звукового давления в потоке, установлен ГОСТ 31353.2-2007, согласно которому уровень звуковой мощности определяют по результатам измерений в реверберационном помещении (камере).
При применении метода измерительного воздуховода к вентилятору с глушителем разность уровней звуковых давлений вентилятора с глушителем и турбулентного шума (отношение «сигнал—шум») может оказаться менее 6 дБ. В этом случае рекомендуется применять метод по ГОСТ 28100-2007.
Настоящий стандарт применяют только к вентиляторам, устанавливаемым в воздуховоде.
2 Нормативные ссылки
В настоящем стандарте использованы нормативные ссылки на следующие стандарты:
ГОСТ 10921—90 Вентиляторы радиальные и осевые. Методы аэродинамических испытаний
ГОСТ 17168—82 Фильтры электронные октавные и третьоктавные. Общие технические требования и методы испытаний
ГОСТ 17187—81 Шумомеры. Общие технические требования и методы испытаний
ГОСТ 27408—87 Шум. Методы статистической обработки результатов определения и контроля уровня шума, излучаемого машинами
ГОСТ 28100-2007 (ИСО 7235:2003) Акустика. Измерения лабораторные для заглушающих устройств, устанавливаемых в воздуховодах, и воздухораспределительного оборудования. Вносимые потери, потоковый шум и падение полного давления
ГОСТ 31353.2-2007 (ИСО 13347-2:2004) Шум машин. Вентиляторы промышленные. Определение уровней звуковой мощности в лабораторных условиях. Часть 2. Реверберационный метод
Примечание — При пользовании настоящим стандартом целесообразно проверить действие ссылочных стандартов на территории государства по соответствующему указателю стандартов, составленному по состоянию на 1 января текущего года, и по соответствующим информационным указателям, опубликованным в текущем году. Если ссылочный стандарт заменен (изменен), то при пользовании настоящим стандартом следует руководствоваться заменяющим (измененным) стандартом. Если ссылочный стандарт отменен без замены, то положение, в котором дана ссылка на него, применяется в части, не затрагивающей эту ссылку.
3 Термины, определения и обозначения
В настоящем стандарте применены следующие термины с соответствующими определениями:
3.1 площадь входа вентилятора (fan inlet area) Sf1, м2: Площадь входного отверстия вентилятора.
Примечания:
1 За площадь входного отверстия вентилятора условно принимают максимальную площадь поперечного сечения корпуса вентилятора со стороны входа. Из нее не исключают площадь поперечного сечения электромоторов, обтекателей или других препятствий.
2 Если электромоторы, обтекатели или другие препятствия выступают за фланцы входа или выхода вентилятора, то корпус вентилятора удлиняют воздуховодом такого же поперечного размера и формы, как вход или выход вентилятора, охватывая выступающие части воздуховодом. Длину воздуховода определяют по расстоянию от фланца до плоскости, проходящей через выступающий конец препятствия. Эту плоскость принимают за плоскость входного или выходного фланца вентилятора.
3.2 площадь выхода вентилятора (fan outlet area) Sf2, м2: Площадь выходного отверстия вентилятора.
Примечания:
1 За площадь выходного отверстия вентилятора условно принимают максимальную площадь поперечного сечения корпуса вентилятора со стороны выхода. Из нее не исключают площадь поперечного сечения электромоторов, обтекателей или других препятствий.
2 У некоторых вентиляторов отсутствует корпус и четко определенная площадь выхода. Для определения динамического давления таких вентиляторов за номинальную площадь выхода принимают, например, площадь, ограниченную обечайкой пропеллерного вентилятора, или площадь, ограниченная кольцом крыльчатки радиального вентилятора. Соответственно динамическое давление и давление вентилятора также будут номинальными.
3.3 воздуховоды (ducts): Любые воздуховоды, определения которых приведены в 3.3.1 —3.3.3.
3.3.1 измерительный воздуховод (test duct): Воздуховод, в котором измеряют уровень звуковой мощности вентилятора.
Примечание — Измерительный воздуховод имеет концевое поглощающее устройство.
3.3.2 оконечный воздуховод (terminating duct): Воздуховод, установленный со стороны вентилятора, противоположной измерительному воздуховоду, когда к входу и выходу вентилятора присоединены воздуховоды (см. ).
Примечание — Оконечный воздуховод имеет концевое поглощающее устройство.
3.3.3 промежуточный воздуховод (intermediate duct): Воздуховод, установленный на всасывающей и нагнетательной сторонах вентилятора для обеспечения необходимых условий в потоке.
Примечание — Промежуточный воздуховод соединяют с измерительным или оконечным воздуховодом при необходимости через переходный элемент (см. ).
3.4 измерительная плоскость (measurement plane): Радиальная плоскость в измерительном воздуховоде, в которой расположена мембрана микрофона.
3.5 уровень звукового давления (sound pressure level) Lp, дБ: Величина, рассчитываемая по формуле
|
|
(1) |
где р — среднеквадратичное звуковое давление, мкПа;
р0 — опорное звуковое давление, равное 20 мкПа.
Примечания:
1 Следует указывать ширину частотной полосы, например, октавный или третьоктавный уровень звукового давления.
2 Уровни звукового давления в точках измерений измерительного воздуховода обозначают Lр1 Lр2 и Lр3 соответственно.
Средний уровень звукового давления по пространству, полученный усреднением результатов измерений по точкам в измерительном воздуховоде, обозначают Lpm. Он также может быть получен при сканировании микрофона по окружности (см. ).
Средний уровень звукового давления на измерительной плоскости с учетом суммарной поправки к частотной характеристике микрофона С (см. и ) обозначают Lp.
3.6 уровень звуковой мощности (sound power level) Lw, дБ: Величина, рассчитываемая по формуле
|
|
(2) |
где Р — звуковая мощность, пВт;
Р0 -опорная звуковая мощность, равная 1 пВт.
Примечание — Следует указывать ширину частотной полосы.
3.7 звуковая мощность вентилятора (fan sound power): Звуковая мощность, излучаемая вентилятором в измерительный воздуховод.
3.8 диапазон частот измерений (frequency band range of interest): Третьоктавные полосы со среднегеометрическими частотами от 50 до 10000 Гц.
Примечание — Диапазон частот измерений может быть расширен до 20000 Гц. Для вентиляторов, излучающих преимущественно высокочастотный или низкочастотный шум, диапазон частот может быть сужен для снижения стоимости и трудоемкости испытаний. Суженный диапазон частот указывают в протоколе испытаний.
3.9 устройство защиты микрофона (microphone shield): Устройство для защиты микрофона от шума, генерируемого ветром, и турбулентного шума.
Примечания:
1 Устранение помехового звукового сигнала микрофона — в соответствии с примечанием 5 раздела 4.
2 Определения типов устройств защиты микрофона в порядке предпочтительности приведены в 3.9.1, 3.9.2 и 3.9.3.
3.9.1 антитурбулентный экран (sampling tube, turbulence screen): Устройство защиты микрофона, представляющее собой металлическую трубку с продольной щелью, покрытую пористым материалом, внутри которой установлен микрофон (см. рисунок 1).
Примечания:
1 В настоящем стандарте использование антитурбулентного экрана является предпочтительным.
2 Для уменьшения шума ветра внешнюю поверхность антитурбулентного экрана делают гладкой и без выступов. Щель и покрытие трубки снижают влияние на микрофон турбулентных колебаний давления в воздушном потоке.
1 — носовой обтекатель; 2 — трубка со щелью; 3 — микрофон; 4 — щель; 5 — пористый материал
Рисунок 1 — Схема антитурбулентного экрана для микрофона диаметром 13 мм
3.9.2 конусная насадка (nose cone): Устройство защиты микрофона обтекаемой формы, устанавливаемое вместо обычной защитной сетки микрофона и используемое в высокоскоростных потоках воздуха с малой турбулентностью и закруткой, с мелкой проволочной сеткой в задней усеченной части конуса, позволяющей звуковому давлению воздействовать на мембрану микрофона при незначительном объеме (благодаря усечению конуса) полости над мембраной (см. рисунок 2).

Рисунок 2 — Схема конусной насадки
3.9.3 губчатый шар (foam ball): Устройство защиты микрофона, не влияющее на направленность микрофона и представляющее собой шар из материала с открытыми порами, имеющий цилиндрическую полость соответствующего диаметра, в которую помещают микрофон с предусилителем (см. рисунок 3).

Рисунок 3 — Схема губчатого шара
3.10 диапазон частот плоских звуковых волн в круглом воздуховоде (frequency range of plane—wave sound propagation In duct with circular cross section): Диапазон частот плоских звуковых волн ниже критической частоты первой поперечной моды f1,0, Гц.
Примечание — Критическую частоту f1,0, Гц, рассчитывают по формуле
|
|
(3) |
где с — скорость звука, приблизительно равная 340 м/с;
D — диаметр воздуховода, м;
U — средняя скорость потока, м/с.
Обозначения используемых в стандарте величин приведены в таблице 1.
Таблица 1 — Обозначения величин
|
Величина |
Обозначение |
|
Поправка к частотной характеристике микрофона для приведения ее к условиям свободного звукового поля (указывается производителем микрофона), дБ |
с. |
|
Поправка к частотной характеристике микрофона, учитывающая влияние устройства защиты микрофона при нормальном падении звуковой волны (см. и ), дБ |
с2 |
|
Комбинированная поправка, учитывающая влияние средней скорости потока и мод звукового поля на частотную характеристику микрофона при применении устройства защиты микрофона [см. , , таблицы А.1 — А.6 (), таблицы Н.1 — Н.3 (), таблицы 1.1 — I.3 ()], дБ |
С3,4 |
|
Суммарная поправка к частотной характеристике, дБ |
с = с1 + с2 + сЗ,4 |
|
Скорость звука в измерительном воздуховоде, м/с |
с |
|
Средняя скорость потока в измерительном воздуховоде, м/с |
U |
|
Плотность воздуха в воздуховоде, кг/м3 |
Р |
|
Диаметр входа вентилятора d1, выхода вентилятора d2, измерительного воздуховода d3 и d6 (см. рисунок 5), промежуточных воздуховодов d4, оконечных воздуховодов d6 (см. рисунок 6) и d3 (см. рисунок 7), м |
D |
|
Длина воздуховодов и переходных элементов (см. рисунки 5 — ), м |
L |
|
Расстояние по радиусу от оси измерительного воздуховода до оси микрофона, м |
R |
|
Коэффициент отражения звукового давления, равный отношению амплитуды звукового давления волны, отраженной на срезе концевого поглощающего устройства, к амплитуде звукового давления падающей волны |
rа |
|
Размеры поперечного сечения прямоугольного всасывающего или нагнетающего воздуховода вентилятора, м |
b, h |
|
Площадь поперечного сечения воздуховода, м2 |
S |
|
Примечание – U < 0 для измерений на всасывающей стороне, U > 0 для измерений на нагнетательной стороне. |
|
4 Неопределенность измерений
Определение уровней звуковой мощности в соответствии с настоящим стандартом приводит к неопределенности измерений, характеризуемой стандартным отклонением воспроизводимости σR, указанным в таблице 2. Значения в таблице учитывают совокупное влияние всех источников неопределенности, например положения источника шума, концевого отражения, переходных элементов, калибровки средств измерений, метода измерения уровня звукового давления для расчета уровня звуковой мощности, ошибки отсчета. Стандартные отклонения воспроизводимости рассчитаны для случая измерений шума одного и того же вентилятора во многих различных лабораториях. Они не учитывают вариации уровней звуковой мощности вентилятора, вызываемые, например, изменением его компоновки. При измерениях следует обеспечить продолжительность измерений в соответствии с , , .
Таблица 2 — Значения стандартного отклонения воспроизводимости при использовании антитурбулентного экрана
|
Среднегеометрическая частота третьоктавной полосы, Гц |
Стандартное отклонение воспроизводимости σR, дБ |
|
50 |
3,5 |
|
63 |
3 |
|
От 80 до 100 включ. |
2,5 |
|
От125 до4000 включ. |
2 |
|
5000 |
2,5 |
|
6300 |
3 |
|
8000 |
3,5 |
|
10000 |
4 |
|
Примечание — Стандартные отклонения получены из , и ]. |
|
Настоящий стандарт и стандартные отклонения воспроизводимости по таблице 2 применяют для определения уровней звуковой мощности единичных вентиляторов. Для определения уровней звуковой мощности партии вентиляторов одного типа или семейства применяют метод статистического контроля с заданным доверительным интервалом и результат испытаний выражают в виде верхней границы доверительного интервала. При контроле партии суммарное стандартное отклонение должно быть известным или должна быть известна его оценка, включая стандартное отклонение стабильности производства по ГОСТ 27408—87, которое является мерой разброса уровней звуковой мощности вентиляторов в партии. Статистические методы контроля партии установлены ГОСТ 27408—87.
Неопределенность измерений можно снизить за счет тщательного построения испытательной установки, исключения переходных элементов и использования более совершенных концевых поглощающих устройств.
Для конкретной группы вентиляторов одного типоразмера и с похожим спектром стандартное отклонение воспроизводимости может быть менее значений, указанных в таблице 2. Поэтому стандарт по испытаниям на шум этой группы может устанавливать стандартные отклонения, менее указанных в таблице 2, если это обосновано результатами межлабораторных испытаний.
На высоких частотах, особенно свыше 4000 Гц, значения действительного стандартного отклонения, если шум быстро снижается с частотой, могут оказаться выше значений стандартного отклонения, указанных в таблице 2. В этих условиях высокочастотные уровни звукового давления могут быть менее низкочастотных, а электрический шум измерительного тракта, особенно от частотного анализатора, является сильной помехой для измерений на высоких частотах. Для получения воспроизводимых значений уровней звуковой мощности (со стандартными отклонениями воспроизводимости по таблице 2) может потребоваться повторение измерения на высоких частотах, используя фильтр верхних частот до подачи сигнала на частотный анализатор.
Примечания:
1 Неопределенность результата определения октавного уровня звуковой мощности не может быть выше наибольшей неопределенности в трех образующих октавную полосу третьоктавных полосах.
2 При условии нормального распределения результатов испытаний 68 % всех данных лежат в интервале ± σR, а 95 % — в интервале ± 2σR.
3 Неопределенность возрастает при закрутке потока.
4 Если в спектре имеются дискретные частоты или продолжительность измерений менее указанной в — , то неопределенность будет выше приведенной.
5 При высокой скорости потока на капсюле микрофона может генерироваться звуковой сигнал. Его устраняют с помощью устройств защиты микрофона, применяемых в зависимости от средней скорости потока (см. 1.1). Губчатый шар индифферентен к направлению ветра и уменьшает шум ветра при всех направлениях, но конусную насадку устанавливают по потоку. Наиболее эффективно снижает турбулентный шум только антитурбулентный экран. Поэтому он предпочтителен во всех случаях. Значения таблицы 2 приведены для антитурбулентного экрана и, вероятно, будут выше при использовании других устройств защиты микрофона.
6 Стандартные отклонения воспроизводимости (см. ) справедливы для условий испытаний и методологии настоящего стандарта и не зависят от источника шума. Они возникают частью вследствие различия испытательных лабораторий в отношении геометрии испытательной установки, фонового шума, турбулентных колебаний давления в потоке, средств измерений и их калибровки, а частью из—за различий в методиках эксперимента, включая методику усреднения по пространству и времени.
7 Если различные лаборатории используют однотипные средства испытаний и измерений, то результаты определения уровня звуковой мощности данного источника шума могут согласовываться лучше, чем это следует из .
Измерения в третьоктавных полосах свыше 10000 Гц могут быть выполнены, но они не являются обязательными в соответствии с настоящим стандартом. Примерные экстраполированные на расширенный диапазон частот измерений значения стандартного отклонения воспроизводимости приведены в таблице 3.
Таблица 3 — Экстраполированные значения стандартного отклонения воспроизводимости
|
Среднегеометрическая частота третьоктавной полосы, Гц |
Стандартное отклонение воспроизводимости σR, дБ |
|
12 500 |
4,5 |
|
16 000 |
5 |
|
20 000 |
5,5 |
5 Средства испытаний и измерений
5.1 Общие требования
Испытательная установка состоит из испытуемого вентилятора, промежуточного воздуховода, измерительного воздуховода с концевым поглощающим устройством и средств измерений (см. рисунки 5 — ). Если вентилятор в условиях эксплуатации имеет воздуховоды с обеих сторон, то при его испытаниях оконечный воздуховод с концевым поглощающим устройством и промежуточный воздуховод присоединяют к вентилятору со стороны, противоположной той, на которой проводят измерения.
Все соединения вентилятора и воздуховодов должны быть жесткими, кроме случая, когда виброизолирующее соединение (гибкая вставка) является частью вентилятора. Измерительный воздуховод должен иметь приспособления для крепления микрофона и антитурбулентного экрана в положениях, указанных в .
Должны быть предусмотрены соответствующие устройства для управления режимом работы вентилятора.
Акустические измерения и измерения для определения аэродинамических характеристик вентилятора проводят одновременно. Испытательная установка должна соответствовать требованиям настоящего стандарта и ГОСТ 10921—90.
Примечания:
1 Согласно ГОСТ 10921—90 (подпункт 1.8.2) на нагнетательной стороне вентилятора устанавливают струевыпрямитель «звездообразного» типа. Однако закрученный поток, входящий в струевыпрямитель, в месте расположения микрофона генерирует шум, который может быть выше или ниже уровня звукового давления вентилятора. С другой стороны без струевыпрямителя закрученный поток также генерирует шум, который также может быть выше или ниже уровня звукового давления вентилятора. Поэтому выполняют и сравнивают результаты измерений со струевыпрямителем и без него (см. ).
2 Примеры конструкции концевых поглощающих устройств и дроссельных устройств приведены в .
5.2 Требования к воздуховодам
5.2.1 Конструкция воздуховодов и переходных элементов
Воздуховоды должны быть прямыми, соосными с входом или выходом вентилятора, с одинаковым круглым поперечным сечением. Воздуховоды и переходные элементы должны быть изготовлены из стального листа толщиной не менее 1 мм или материала с той же поверхностной плотностью и жесткостью, обеспечивающей акустически твердую и гладкую внутреннюю поверхность.
Желательно, чтобы воздуховоды и переходные элементы с внешней стороны были покрыты виброизолирующим материалом.
Примечание — Настоящий стандарт распространяется на измерительные воздуховоды с круглым поперечным сечением.
5.2.2 Длина воздуховодов
Длины воздуховодов указаны на рисунке 5.
5.2.3 Площадь поперечного сечения воздуховодов
Площади поперечных сечений воздуховодов должны соответствовать таблице 4.
Таблица 4 — Площади поперечных сечений воздуховодов
|
Сторона вентилятора, с которой присоединен воздуховод |
Воздуховод |
Площадь поперечного сечения воздуховода |
|
|
минимальная |
максимальная |
||
|
Вход |
Промежуточный |
1 Sf1 |
Sfi |
|
|
Измерительный |
1Sf1 |
2,1 Sf1 |
|
|
Оконечный |
1Sf1 |
2,1 Sf1 |
|
Выход |
Промежуточный |
0,95 Sf2 |
1,07Sf2 |
|
|
Измерительный |
0,7 Sf2 |
2,1 Sf2 |
|
|
Оконечный |
0,7 Sf2 |
2,1 Sf2 |
5.2.4 Переходные элементы
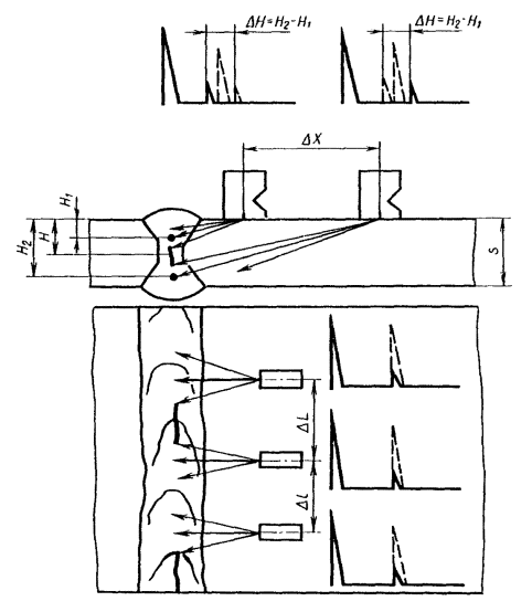
Измерительный или оконечный воздуховод соединяют непосредственно с промежуточным воздуховодом или, в случае изменения площади поперечного сечения, через переходный элемент. Отношение диаметров переходного элемента должно соответствовать значениям, указанным в таблице 4. С учетом акустических причин минимальную длину lmin переходного элемента рассчитывают по формуле (см. и )
|
|
(4) |
где l0 = 1 м;
S1 — большая площадь, м2;
Ss — меньшая площадь, м2.
С учетом аэродинамических причин длину переходного элемента выбирают так, чтобы угол раскрытия а не превышал 15° (см. рисунок 4).
Из двух значений, соответствующих указанным критериям, выбирают наибольшую длину.

Рисунок 4 — Угол раскрытия переходного элемента
5.2.5 Оконечный воздуховод
При измерении шума вентиляторов с компоновкой типа D по ГОСТ 10921—90 цилиндрический оконечный воздуховод устанавливают соосно входу или выходу (в зависимости от того, с какой стороны проводят измерения) между промежуточным воздуховодом и концевым поглощающим устройством. Диаметр оконечного воздуховода должен соответствовать рисункам 5 — 7. Минимальная длина воздуховода равна его диаметру или 1 м в зависимости от того, что больше.
Переходный элемент, соответствующий 5.2.4, можно установить между промежуточным и оконечным воздуховодами.
a) На рисунке приведен круглый воздуховод. Прямоугольный воздуховод имеет размеры b1×h2
b) На рисунке приведен переходный элемент с круглым входом. Прямоугольный вход имеет размеры b2×h2.
1 — измеряемый поток; 2 — концевое поглощающее устройство; 3 — измерительная плоскость; 4 — конический переходный элемент или переходный элемент прямоугольник/круг; 5 — концевое поглощающее устройство; 6 — дросселирующее устройство
Рисунок 5 — Схема испытательной установки для одновременного измерения шума всасывания и нагнетания внутри воздуховода при компоновке вентилятора типа D
Для круглого входа вентилятора d1
![]()
l1 = d3

Для круглого выхода вентилятора d2
![]()

Для прямоугольного входа вентилятора с площадью сечения b1×h1
![]()
![]()

Для прямоугольного выхода вентилятора с площадью сечения b2×h2, где b2 > h2:
![]()

Для круглого и прямоугольного выхода вентилятора:




Примечания
1 Все размеры те же, что на рисунке 5, кроме l6.
l6 ≥ d6 и ≥ 1 м.
2 Контроль расхода осуществляют со стороны всасывания.
3 Типы компоновки вентилятора — по ГОСТ 10921—90.
4 Наименование частей установки приведено на рисунке 7.
Рисунок 6 — Испытательная установка измерения шума всасывания в воздуховоде
a) Компоновка типа D (возможно одновременное измерение аэродинамических характеристик)
b) Компоновка типа В
1 — направление потока; 2 — вентилятор; 3 — переходный элемент; 4 — промежуточный воздуховод; 5 — измерительный воздуховод; 6 — оконечный воздуховод; 7 — отверстия для измерения давления; 8 — струевыпрямитель «звездообразного» типа; 9 — концевое поглощающее устройство измерительного воздуховода; 10 — концевое поглощающее устройство оконечного воздуховода; 11 — дросселирующее устройство
Примечания
1 Все размеры те же, что на рисунке 5, кроме l3.
l3 ≥ 4d3 и ≥ 1 м.
2 Контроль расхода осуществляют на нагнетательной стороне.
3 Типы компоновки вентилятора — по ГОСТ 10921—90.
Рисунок 7 — Испытательная установка для измерения шума нагнетания в воздуховоде
5.2.6 Требования к размерам воздуховода
Во всех случаях l0 = 1 м.
Расстояние между плоскостью входа измерительного воздуховода и измерительной плоскостью, в метрах, должно обеспечивать условия невозмущенного потока на измерительной плоскости, т.е. должны соблюдаться неравенства:


5.2.7 Концевое поглощающее устройство
В таблице 5 указаны предельно допустимые значения коэффициента отражения звукового давления (далее — коэффициент отражения) концевого поглощающего устройства rа при установленном дроссельном или расходомерном устройстве.
Примечание — Указания по проектированию концевых поглощающих устройств и метод измерения коэффициента отражения приведены в и .
Таблица 5 — Предельно допустимые значения коэффициента отражения rа концевого поглощающего устройства
|
Среднегеометрическая частота третьоктавной полосы, Гц |
Предельно допустимый коэффициент отражения rа |
|
|
Измерительный воздуховод |
Оконечный воздуховод |
|
|
50 |
0,4 |
0,8 |
|
63 |
0,35 |
0,7 |
|
80 |
0,3 |
0,6 |
|
100 |
0,25 |
0,5 |
|
125 |
0,15 |
0,3 |
|
160 |
0,15 |
0,3 |
|
Более 160 |
0,15 |
0,2 |
Примечания:
1 Если оконечный воздуховод имеет диаметр 1,6 м, то требования по предельно допустимому коэффициенту отражения выполняются без применения концевого поглощающего устройства, т.е. на открытом конце.
2 Концевое поглощающее устройство на оконечном воздуховоде в основном требуется только для создания акустического импеданса, при котором отсутствует отражение звукового давления. Измерение звукового давления в оконечном воздуховоде не требуется. Поэтому предельно допустимый коэффициент отражения концевого поглощающего устройства оконечного воздуховода допускается больше, чем концевого поглощающего устройства измерительного воздуховода.
5.2.8 Дросселирующее устройство
Регулируемое дросселирующее устройство, если оно необходимо, устанавливают за концевым поглощающим устройством. Других дросселирующих устройств между вентилятором и концевым поглощающим устройством быть не должно. Дросселирующее устройство обеспечивает выведение на режим работы, при котором требуется определить звуковую мощность вентилятора.
Примеры дросселирующих устройств приведены на рисунке Е.8 ().
5.2.9 Струевыпрямитель
Для уменьшения закрутки потока на выходе вентилятора устанавливают струевыпрямитель (см. ). Струевыпрямитель имеет круглое сечение внутренним диаметром, равным диаметру промежуточного воздуховода d4, и длину, равную двум внутренним диаметрам. Струевыпрямитель имеет конструкцию «звездообразного» типа с восемью равномерно размещенными радиальными пластинами по ГОСТ 10921—90 (подпункт 1.8.2). Толщина пластин не должна превышать 0,007d4.
5.3 Средства измерений
5.3.1 Измерительная система
5.3.1.1 Микрофон и шумомер
Используют микрофон и шумомер класса 1 по ГОСТ 17187—81 или по .
5.3.1.2 Микрофонный кабель
Чувствительность системы «микрофон — кабель» не должна изменяться при изменении температуры во время испытаний. Изгиб кабеля при перемещении микрофона или под действием потока воздуха не должен создавать шум, мешающий измерениям.
5.3.2 Электронные фильтры
Используют третьоктавные фильтры по ГОСТ 17168—82 или по .
5.3.3 Антитурбулентный экран
5.3.3.1 Антитурбулентный экран предназначен для снижения влияния турбулентных колебаний давления в точке измерений, чтобы обеспечить отношение «сигнал — шум» по. Указания по конструкции антитурбулентного экрана приведены в приложении G. Типовые значения снижения турбулентного шума, обеспечиваемые правильно сконструированным антитурбулентным экраном, приведены в ().
5.3.3.2 Антитурбулентный экран и условия его применения должны соответствовать следующим требованиям:
a) в незакрученном потоке турбулентный шум в диапазоне частот измерений должен снижаться антитурбулентным экраном, по меньшей мере, на 10 дБ больше, чем конусной насадкой. Действительные значения снижения турбулентного шума в зависимости от частоты и средней скорости потока должны быть известны, чтобы можно было определить соответствие отношения «сигнал — шум» требованиям [см. также и ()];
b) наибольший внутренний диаметр трубки антитурбулентного экрана — 22 мм;
c) поправка к частотной характеристике С2 при установленном антитурбулентном экране в каждой третьоктавной полосе должна быть рассчитана с точностью ±0,5 дБ в поле плоских звуковых волн. Если испытания проводят в свободном звуковом поле, то наименьшее расстояние между громкоговорителем и калибруемым антитурбулентным экраном должно быть 3 м. Опорную точку при измерениях без установленного антитурбулентного экрана выбирают в месте, соответствующем середине длины антитурбулентного экрана (см. рисунок 8). Калибруют каждый экземпляр антитурбулентного экрана.

1 — громкоговоритель; 2 — антитурбулентный экран; 3 — микрофон; 4 — опорная точка при измерениях без антитурбулентного экрана (положение мембраны микрофона); ltube — длина щели
Рисунок 8 — Опорное положение микрофона
Поправку С2, дБ, рассчитывают по формуле
|
C2 = Lp2 — Lp1 |
(5) |
где Lp1 — уровень звукового давления, измеренный микрофоном с антитурбулентным экраном, дБ;
Lp2 — уровень звукового давления, измеренный тем же микрофоном в опорной точке, дБ.
Допускается использовать данные калибровки, предоставляемые производителем. Важно, чтобы кривая корректировки частотной характеристики была гладкой. В любой третьоктавной полосе частотная характеристика не должна отличаться от сглаженной кривой более чем на ± 3 дБ при измерении анализатором с полосой пропускания не шире 25 Гц.
Пористое покрытие антитурбулентного экрана должно быть чистым и не иметь повреждений, поскольку это влияет на значение поправки С2. Если антитурбулентный экран применяют в запыленной среде, то его частотная характеристика может изменяться и поэтому рекомендуется более частая его калибровка.
5.3.3.3 Характеристика направленности антитурбулентного экрана при измерениях в свободном звуковом поле широкополосного шума в третьоктавных полосах должна соответствовать приведенной на рисунке 9.
Кривые на рисунке 9 рассчитывают по формуле
|
|
(6) |
где ΔL — снижение чувствительности при угле падения звуковой волны 0 в сравнении с чувствительностью при падении вдоль оси [θ = 0 рад (0°)], дБ;
К — показатель направленности;
fm -среднегеометрическая частота третьоктавной полосы, Гц;
θ — угол падения звуковой волны, рад. [0 < θ < 1,31 рад (75°)].
Предельные значения показателя направленности К (указаны в таблице 6.
Таблица 6 — Предельные значения показателя направленности К
|
Среднегеометрическая частота третьоктавной полосы, Гц |
Кmin ×10-3 |
Кmax×10-3 |
|
1000 |
0,35 |
1,5 |
|
2000 |
0,35 |
1,5 |
|
4000 |
0,35 |
2,2 |
|
8000 |
0,35 |
2,2 |
Допускается руководствоваться заявлением производителя о соответствии характеристики направленности антитурбулентного экрана пределам, указанным на рисунке 9.

Рисунок 9 — Пределы изменения характеристики направленности антитурбулентного экрана (широкополосный шум, измерения в третьоктавных полосах)
5.3.3.4 Комбинированная поправка С3,4 дБ, учитывающая влияние средней скорости потока U и мод звукового поля на частотную характеристику микрофона, может быть рассчитана по формуле
|
С3,4 = а0 + а1U+ а2U2+ а3U3 + а4U4 + а5U5 а6U6 + а7U7+ а8U8 + а9U9 а10U10 |
(7) |
где U < 0 для измерений на стороне всасывания и U > 0 для измерений на стороне нагнетания.
Значения коэффициентов а0 — а10 указаны в таблицах А.1 — А.6 ().
Примечание — В частотном диапазоне от 50 до 10000 Гц значения коэффициентов приведены для скоростей потока U < 40 м/с. Как справочные данные (только для информации) приведены значения коэффициентов для расширенного диапазона скоростей (U < 60 м/с), а для расширенного частотного диапазона от 12500 до 20000 Гц — для скоростей потока |U| < 40 м/с. В качестве примера в приложении D приведен расчет поправки С3,4 для измерительного воздуховода диаметром d = 0,5 м для трех скоростей потока.
5.3.4 Конусная насадка и губчатый шар
5.3.4.1 Во многих случаях при малой скорости потока в воздуховоде его турбулентность может быть незначительной, что позволяет использовать конусную насадку или губчатый шар. Антитурбулентный экран наиболее эффективно снижает влияние турбулентного шума. Турбулентные колебания давления в потоке с большой вероятностью ведут к завышенной оценке шума вентилятора в октавных полосах от 63 до 125 Гц. Если шум в этих полосах имеет большое значение, то предпочтительным устройством защиты микрофона является антитурбулентный экран.
5.3.4.2 Поправка к частотной характеристике С2 при конусной насадке или губчатом шаре для каждой третьоктавной полосы должна быть определена с точностью ± 0,5 дБ в поле плоских волн. Если испытания проводят в свободном звуковом поле, то расстояние между громкоговорителем и испытуемым устройством защиты микрофона должно быть не менее 3 м. Калибруют каждый экземпляр устройства защиты микрофона. Допускается использовать данные калибровки производителя.
5.3.4.3 Конусную насадку и губчатый шар считают ненаправленными устройствами защиты микрофона. Точные данные о значении поправки С3,4 для конусной насадки и губчатого шара отсутствуют. В настоящем стандарте принимают, что поправки имеют отрицательный знак, малы и не зависят от частоты. Для незакрученного потока поправка С3,4, дБ, зависит от средней скорости потока и ее рассчитывают по формуле ( и )
|
|
(8) |
где U -средняя скорость потока (U < 0 для измерений на всасывающей стороне, U > 0 для измерений на нагнетательной стороне), м/с;
с — скорость звука (при нормальных условиях с = 340 м/с).
При данном упрощении уровень звуковой мощности, рассчитанный при использовании конусной насадки или губчатого шара, вероятно, будет выше действительного.
5.3.4.4 Площадь поперечного сечения губчатого шара должна быть не более 10 % площади поперечного сечения воздуховода.
5.3.5 Графический самописец уровня или другие устройства индикации данных
Графические самописцы уровня и другие устройства индикации данных должны соответствовать шумомерам класса 1 по ГОСТ 17187—81 или по .
5.3.6 Мультиплексная система
При измерениях в соответствии с перечислением мультиплексная система во всем диапазоне частот измерений должна определить с точностью ± 0,5 дБ усредненный по энергии уровень звукового давления, рассчитанный по уровням звукового давления в точках измерений.
5.4 Калибровка измерительной системы
Для калибровки измерительной системы применяют калибратор звука с точностью ± 0,3 дБ (класса 1 по [10]). При калибровке микрофон извлекают из антитурбулентного экрана. Систему калибруют до и после каждой серии измерений.
6 Подготовка испытаний
6.1 Установка антитурбулентного экрана
Микрофон в антитурбулентном экране устанавливают в измерительном воздуховоде в измерительной плоскости, как приведено на рисунке 5. Антитурбулентный экран должен быть виброизолирован от стенки воздуховода, чтобы исключить шум, передающийся на микрофон вследствие вибрации стенки. Может потребоваться установка концевого обтекателя за кронштейном крепления антитурбулентного экрана.
Антитурбулентный экран прочно закрепляют и выравнивают по оси измерительного воздуховода в направлении на вентилятор с точностью ± 5°. Для измерений со стороны всасывания антитурбулентный экран устанавливают носовым обтекателем по направлению к вентилятору. Конец экрана, обращенный навстречу потоку, должен быть обтекаемым. Устройство крепления экрана не должно вносить заметного шума, а микрофонный кабель должен быть вынесен из воздушного потока.
Примечание — Схемы типовой установки приведены в .
6.2 Положение микрофона
6.2.1 Радиальное положение
Микрофон устанавливают в радиальных точках в соответствии с рисунком 10 (r — радиальное расстояние от оси измерительного воздуховода) и таблицей 7.
Таблица 7 — Радиальные положения микрофона
|
Диаметр измерительного воздуховода d, м |
Относительное радиальное расстояние от оси воздуховода 2r/d |
|
|
Микрофон с антитурбулентным экраном |
Микрофон с конической насадкой или губчатым шаром |
|
|
0,15 < d < 0,5 |
0,8 |
0,5 |
|
0,5 < d < 2 |
0,65 |
0,5 |
Примечание — При этих положениях обеспечивается надежная оценка уровня звуковой мощности по измеренным уровням звукового давления.
6.2.2 Положения на окружности
В радиальных положениях по среднее по окружности значение уровня звукового давления получают одним из следующих способов:
a) микрофон последовательно устанавливают, как минимум, в трех равно распределенных по окружности точках; для этого микрофон можно закрепить в коротком сегменте воздуховода, который поворачивают на одинаковый угол;
b) три или более фиксированных микрофона равномерно размещают по окружности; если сигналы микрофонов усредняют при помощи мультиплексной системы, то для их защиты следует использовать однотипные антитурбулентные экраны с одинаковой чувствительностью, чтобы обеспечить одинаковость частотной характеристики поправок с точностью до 0,5 дБ;
c) микрофоном сканируют по окружности на один полный оборот с постоянной угловой скоростью.
Если в пористом покрытии антитурбулентного экрана имеется только одна щель, то ее следует располагать на окружности, соответствующей радиальному положению по , со стороны, противоположной направлению набегания на экран вихря в потоке (см. рисунок 10).

1 — возможные положения щели антитурбулентного экрана; 2 — микрофон; 3 — измерительный воздуховод Примечание — Щель не должна быть расположена со стороны набегания вихря в потоке.
Рисунок 10 — Радиальное положение микрофона и щели антитурбулентного экрана
6.3 Средства управления режимом работы
Средства управления режимом работы по и не должны мешать акустическим измерениям (см. ).
7 Проведение испытаний
7.1 Режим работы
Режим работы определяют по ГОСТ 10921—90. Режим работы должен быть установившимся и близким к режиму максимального к. п. д. вентилятора. Испытания проводят на частотах вращения, установленных изготовителем. Дополнительно испытания могут проводиться в режимах, соответствующих предполагаемым условиям эксплуатации.
7.2 Измерение уровня звукового давления
7.2.1 Общие положения
Измерения проводят в третьоктавных полосах при режиме работы вентилятора по .
Измеренные уровни звукового давления в каждой третьоктавной полосе при работающем вентиляторе должны быть, как минимум, на 6 дБ выше уровней фонового шума. Уровни фонового шума измеряют при выключенном вентиляторе. Если это условие не выполняется, то результаты измерений вносят в протокол испытаний с пометой: «Результаты измерений выше фонового шума не более чем на 6 дБ, коррекция на фоновый шум не делалась».
Измеренные уровни звукового давления в каждой третьоктавной полосе должны быть, как минимум, на 6 дБ выше уровня турбулентного шума, для чего определяют отношение «сигнал — шум» одним из методов в соответствии с . Если это условие не выполняется, то результаты измерений вносят в протокол с пометой: «Результаты измерений выше уровня турбулентного шума не более чем на 6 дБ, коррекция на турбулентный шум не делалась».
7.2.2 Продолжительность измерений
В каждом из трех положений микрофона в соответствии с перечислением а) или измеряют уровень звукового давления с точностью до 0,1 дБ. Для полос со среднегеометрическими частотами, не превышающими 160 Гц, продолжительность измерений должна быть не менее 30 с, для полос с частота ми 200 Гц и выше — не менее 10 с.
7.2.3 Измерения мультиплексной системой
При использовании мультиплексной системы (см. ) при измерениях в соответствии с перечислением регистрируют средний по времени и пространству уровень звукового давления (усредненный по энергии уровень) Lpm для каждой третьоктавной полосы. Продолжительность измерений должна быть не менее 30 с для каждой третьоктавной полосы.
7.2.4 Измерения при сканировании микрофона по окружности
При измерениях сканированием в соответствии с перечислением микрофон перемещают с постоянной угловой скоростью так, чтобы один оборот происходил не менее чем за 30 с для каждой третьоктавной полосы.
7.3 Измерения со струевыпрямителем и без него
Струевыпрямитель на нагнетательной стороне вентилятора необходим при аэродинамических испытаниях по ГОСТ 10921—90. При проведении измерений со стороны нагнетания принимают во внимание два фактора:
a)закрученный поток, входящий в струевыпрямитель, может генерировать шум в месте расположения микрофона выше или ниже уровня звукового давления вентилятора;
b)без струевыпрямителя обтекающий микрофон закрученный поток может генерировать шум выше или ниже уровня звукового давления вентилятора.
Оба фактора увеличивают измеренный уровень звукового давления по сравнению с уровнем звукового давления вентилятора. Какой фактор влияет сильнее, зависит от интенсивности закрутки, средней скорости потока в воздуховоде, используемого устройства защиты микрофона и звуковой мощности вентилятора. Поэтому шум измеряют с установленным струевыпрямителем и без него. В качестве результата измерений принимают меньшее значение.
Оба измерения проводят на одном режиме работы вентилятора. Это достигают установкой дросселирующего устройства в положение, при котором расход одинаков в обоих случаях.
7.4 Измерения на стороне всасывания для больших вентиляторов с компоновкой типа D (по ГОСТ 10921—90)
Проведение испытаний больших вентиляторов (диаметром не менее 1600 мм) на стандартном стенде со струевыпрямителем на нагнетательной стороне может быть затруднено. В этом случае характеристика вентилятора может быть определена измерениями на всасывающей стороне, если на нагнетательной стороне установлен воздуховод длиной, равной удвоенному гидравлическому диаметру Dh. Результаты, полученные данным способом, могут несколько отличаться от полученных при использовании обычных воздуховодов на всасывающей и нагнетательной сторонах, особенно если вентилятор выбрасывает сильно закрученный поток.
Примечание — Гидравлический диаметр Dh, м, рассчитывают по площади выхода вентилятора Sf2, м2,по формуле
![]()
8 Расчеты
8.1 Средний уровень звукового давления
Если измерения проводят в дискретных точках (см. ), то средний уровень звукового давления на измерительной плоскости Lp, дБ, для каждой третьоктавной полосы рассчитывают по формуле
|
|
(9) |
где n — число точек измерений (не менее трех по );
Lpi — средний по времени уровень звукового давления в i—й точке измерений, дБ;
С — суммарная поправка к частотной характеристике микрофона, дБ, рассчитываемая по формуле
|
C = C1 + C2 + C3,4 |
(10) |
где С1, С2, С3,4 — поправки по таблице 1.
Значение С1 указывает производитель микрофона.
Значения С2 и C3,4 определяют по и .
При использовании мультиплексной измерительной системы (см. ) или при сканировании по окружности (см. ) по результату измерения Lpm, дБ, средний уровень звукового давления Lp, дБ, для каждой полосы частот рассчитывают по формуле
|
|
(11) |
8.2 Уровень звуковой мощности
Третьоктавный уровень звуковой мощности Lw, дБ, излучаемой в измерительный воздуховод, предполагая, что в нем образуется поле плоских волн, рассчитывают по формуле
|
|
(12) |
где S — площадь поперечного сечения измерительного воздуховода, м2, равная πd2/4;
S0 =1 М2;
(рс)0 = 400 Н·с/м3.
Корректированный по А уровень звуковой мощности определяют в соответствии с .
9 Регистрируемая информация
9.1 Регистрируют следующую информацию:
a) описание испытуемого вентилятора и его арматуры;
b) режим работы;
c) средства измерений (тип, серийный номер, производитель, метод калибровки);
d) устройство защиты микрофона (антитурбулентный экран, коническая насадка или губчатый шар);
e) описание воздуховодов, включая длины и площади поперечного сечения (или диаметры), и концевых поглощающих устройств;
f) акустические данные:
— положения микрофона по ;
— поправки С1, С2, С3,4;
— третьоктавные уровни звуковой мощности;
— корректированный по А уровень звуковой мощности (при необходимости);
g) любые другие сведения по согласованию сторон.
9.2 Если нет более точных данных, то указывают расширенную неопределенность измерений, равную удвоенному стандартному отклонению воспроизводимости (см. ) при 95 %-ном уровне доверия.
10 Протокол испытаний
Протокол испытаний должен содержать запись, что уровни звуковой мощности получены в соответствии с требованиями настоящего стандарта и определены в децибелах относительно опорной звуковой мощности 1 пВт.
Кроме того, в протокол вносят информацию в соответствии с перечислениями а) — d) и g) подраздела 9.1.
Рекомендуется указывать расширенное значение неопределенности измерений по 9.2.
Приложение А
(обязательное)
Определение комбинированной поправки С3,4
Детальные сведения о расчете поправки С3,4 приведены в и .
В таблицах приведены значения коэффициентов а, для расчета поправки по формуле (7) настоящего стандарта для скорости потока |U| < 60 м/с в зависимости от диаметра измерительного воздуховода.
Таблица А.1 — Значения коэффициентов аi для расчета поправки С3,4 при измерениях с антитурбулентным экраном в воздуховоде диаметром 0,15 < d < 0,2 м
|
ai дБ·сi·м-1 |
|||||||||||
|
f, Гц |
ао |
а1 |
а2 |
а3 |
а4 |
а5 |
а6 |
a7 |
а8 |
а9 |
а10 |
|
|U| ≤ 60 м/с* |
|||||||||||
|
≤ 630 |
-5,00·10-02 |
2,70·10-02 |
|
|
|
|
|
|
|
|
|
|
800 |
|
2,97·10-02 |
|
|
|
|
|
|
|
|
|
|
1000 |
-2,09·10-02 |
2,85·10-02 |
1,18·10-04 |
|
|
|
|
|
|
|
|
|
1250 |
8,41·10-01 |
3,61·10-02 |
9,34·10-05 |
|
|
|
|
|
|
|
|
|
1600 |
7,79·10-01 |
5,01·10-02 |
1,38·10-04 |
|
|
|
|
|
|
|
|
|
2000 |
7,67·10-01 |
5,45·10-02 |
3,77·10-04 |
|
|
|
|
|
|
|
|
|
2500 |
1,59 |
6,12·10-02 |
5,06·10-04 |
|
|
|
|
|
|
|
|
|
3150 |
2,40 |
8,26·10-02 |
7,45·10-04 |
-3,02·10-06 |
|
|
|
|
|
|
|
|
4000 |
3,43 |
9,99·10-02 |
9,61·10-04 |
-3,29·10-06 |
|
|
|
|
|
|
|
|
5000 |
3,98 |
1,29·10-02 |
2,21·10-03 |
-8,88·10-06 |
-2,32·10-07 |
|
|
|
|
|
|
|
6300 |
4,87 |
1,59·10-01 |
3,43·10-03 |
-1,73·10-05 |
-5,12·10-07 |
|
|
|
|
|
|
|
8000 |
6,09 |
2,04·10-01 |
6,57·10-03 |
-5,09·10-05 |
-2,47·10-06 |
5,89·10-09 |
3,32·10-10 |
|
|
|
|
|
10000 |
6,95 |
2,54·10-01 |
1,12·10-02 |
-1,19·10-04 |
-7,88·10-06 |
3,39·10-08 |
2,52·10-09 |
-3,22·10-12 |
-2,85·10-13 |
|
|
|
|U| ≤ 40 м/с |
|||||||||||
|
12500 |
8,06 |
3,04·10-01 |
1,68·10-02 |
-2,06·10-04 |
-1,59·10-05 |
6,99·10-08 |
5,07·10-09 |
|
|
|
|
|
16000 |
9,25 |
3,71·10-01 |
2,75·10-02 |
-4,42·10-04 |
-4,90·10-05 |
3,74·10-07 |
3,73·10-08 |
-1,06·10-10 |
-9,89·10-12 |
|
|
|
20000 |
1,06·10+01 |
4,46·10-01 |
4,08·10-02 |
-7,79·10-04 |
-1,21·10-04 |
1,25·10-06 |
1,63·10-07 |
-8,86·10-10 |
-9,97·10-11 |
2,21·10-13 |
2,25·10-14 |
|
* В частотном диапазоне от 50 до 10000 Гц значения коэффициентов аi приведены для скоростей потока |U| ≤ 40 м/с. Для скоростей потока |U| ≤ 60 м/с в этом частотном диапазоне, а также для расширенного частотного диапазона от 12500 до 20000 Гц для скоростей потока |U| ≤ 40 м/с значения приведены только для информации. Примечания 1 Пустая ячейка означает, что аi равно нулю. 2 Значение С3,4 приближенно рассчитывают по формуле
где U — средняя скорость потока (U < 0 для входного воздуховода, U > 0 для выходного воздуховода), м/с. |
|||||||||||
Таблица А.2 — Значения коэффициентов аi для расчета поправки С3,4 при измерениях с антитурбулентным экраном в воздуховоде диаметром 0,2 < d < 0,3 м
|
ai дБ·сi·м-1 |
|||||||||||
|
f, Гц |
ао |
а1 |
а2 |
а3 |
а4 |
а5 |
а6 |
a7 |
а8 |
а9 |
а10 |
|
|U| ≤ 60 м/с* |
|||||||||||
|
≤630 |
-5,00·10-02 |
2,70·10-02 |
|
|
|
|
|
|
|
|
|
|
800 |
1,36·10-01 |
3,30·10-02 |
|
|
|
|
|
|
|
|
|
|
1000 |
1,75·10-01 |
4,08·10-02 |
|
|
|
|
|
|
|
|
|
|
1250 |
-3,32·10-02 |
4,32·10-02 |
1,35·10-02 |
|
|
|
|
|
|
|
|
|
1600 |
5,43·10-01 |
4,92·10-02 |
1,89·10-04 |
|
|
|
|
|
|
|
|
|
2000 |
1,29 |
5,80·10-02 |
3,01·10-04 |
|
|
|
|
|
|
|
|
|
2500 |
1,91 |
6,93·10-02 |
4,60·10-04 |
|
|
|
|
|
|
|
|
|
3150 |
2,64 |
9,00·10-02 |
8,73·10-04 |
-4,13·10-06 |
|
|
|
|
|
|
|
|
4000 |
3,88 |
1,07·10-01 |
1,15·10-03 |
-6,03·10-06 |
|
|
|
|
|
|
|
|
5000 |
4,50 |
1,29·10-01 |
2,55·10-03 |
-1,03·10-05 |
-2,75·10-07 |
|
|
|
|
|
|
|
6300 |
5,54 |
1,52·10-01 |
3,93·10-03 |
1,68·10-05 |
-6,36·10-07 |
|
|
|
|
|
|
|
8000 |
6,85 |
1,89·10-01 |
7,37·10-03 |
-4,51·10-05 |
-3,13·10-06 |
6,10·10-09 |
4,34·10-10 |
|
|
|
|
|
10000 |
7,82 |
2,29·10-01 |
1,17·10-02 |
-8,27·10-05 |
-9,21·10-06 |
2,52·10-08 |
3,00·10-09 |
-2.62·10-12 |
-3,39·10-13 |
|
|
|
|U| ≤ 40 м/с |
|||||||||||
|
12500 |
9,04 |
2,75·10-01 |
1,56·10-02 |
-1,07·10-04 |
-1,70·10-05 |
3,13·10-08 |
5,71·10-09 |
|
|
|
|
|
16000 |
1,02·10+01 |
3,49·10-01 |
2,26·10-02 |
-1,94·10-04 |
-4,60·10-05 |
1,05·10-07 |
3,74·10-08 |
-2.33·10-11 |
-1,02·10-11 |
|
|
|
20000 |
1,18·10+01 |
4,59·10-01 |
1,81·10-02 |
-4,24·10-04 |
-3,60·10-05 |
3,70·10-07 |
3,06·10-08 |
-1.94·10-10 |
-8,76·10-12 |
4,09·10-14 |
|
|
* В частотном диапазоне от 50 до 10000 Гц значения коэффициентов аi приведены для скоростей потока |U| ≤ 40 м/с. Для скоростей потока |U| ≤ 60 м/с в этом частотном диапазоне, а также для расширенного частотного диапазона от 12500 до 20000 Гц для скоростей потока |U| ≤ 40 м/с значения приведены только для информации. Примечания 1 Пустая ячейка означает, что аi равно нулю. 2 Значение С3,4 приближенно рассчитывают по формуле
где U — средняя скорость потока (U < 0 для входного воздуховода, U > 0 для выходного воздуховода), м/с. |
|||||||||||
Таблица А.3 — Значения коэффициентов аi для расчета поправки С3,4 при измерениях с антитурбулентным экраном в воздуховоде диаметром 0,3 < d < 0,5 м
|
ai дБ·сi·м-1 |
|||||||||||
|
f, Гц |
ао |
а1 |
а2 |
а3 |
а4 |
а5 |
а6 |
a7 |
а8 |
а9 |
а10 |
|
|U| ≤ 60 м/с* |
|||||||||||
|
≤ 400 |
-5,00·10-02 |
2,70·10-02 |
|
|
|
|
|
|
|
|
|
|
500 |
-3,91·10-01 |
3,13·10-02 |
|
|
|
|
|
|
|
|
|
|
630 |
-6,13·10-01 |
3,32·10-02 |
|
|
|
|
|
|
|
|
|
|
800 |
-4,78·10-01 |
3,57·10-02 |
|
|
|
|
|
|
|
|
|
|
1000 |
-2,06·10-01 |
4,07·10-02 |
|
|
|
|
|
|
|
|
|
|
1250 |
3,80·10-01 |
4,71·10-02 |
8,89·10-05 |
|
|
|
|
|
|
|
|
|
1600 |
8,58·10-01 |
5,33·10-02 |
1,87·10-04 |
|
|
|
|
|
|
|
|
|
2000 |
1,58 |
6,06·10-02 |
3,34·10-04 |
|
|
|
|
|
|
|
|
|
2500 |
2,46 |
7,49·10-02 |
5,64·10-04 |
-3,11·10-06 |
|
|
|
|
|
|
|
|
3150 |
3,51 |
8,64·10-02 |
9,06·10-04 |
4,39·10-06 |
|
|
|
|
|
|
|
|
4000 |
4,75 |
9,80·10-02 |
1,69·10-03 |
-4,85·10-06 |
-1,45·10-07 |
|
|
|
|
|
|
|
5000 |
5,62 |
1,14·10-01 |
2,59·10-03 |
-4,34·10-06 |
-3,56·10-07 |
|
|
|
|
|
|
|
6300 |
6,77 |
1,44·10-01 |
3,17·10-03 |
-6,85·10-06 |
-6,10·10-07 |
|
|
|
|
|
|
|
8000 |
8,09 |
1,88·10-01 |
4,88·10-03 |
-1,37·10-05 |
-2,27·10-06 |
-1,03·10-09 |
3,36·10-10 |
|
|
|
|
|
10000 |
9,12 |
2,59·10-01 |
4,51·10-03 |
-6,07·10-05 |
-2,12·10-06 |
7,03·10-09 |
3,47·10-10 |
|
|
|
|
|
|U| ≤ 40 м/с |
|||||||||||
|
12500 |
9,84 |
3,38·10-01 |
7,94·10-03 |
-1,53·10-04 |
-7,19·10-06 |
3,21·10-08 |
2,40·10-09 |
|
|
|
|
|
16000 |
1,08·10+01 |
4,47·10-01 |
9,42·10-03 |
-4,61·10-04 |
-7,86·10-06 |
3,02·10-07 |
2,35·10-09 |
-6,92·10-11 |
|
|
|
|
20000 |
1,17·10+01 |
5,24·10-01 |
1,74·10-02 |
-7,12·10-04 |
-2,95·10-05 |
6,27·10-07 |
2,18·10-08 |
-1,91·10-10 |
-5,64·10-12 |
|
|
|
* В частотном диапазоне от 50 до 10000 Гц значения коэффициентов аi приведены для скоростей потока |U| ≤ 40 м/с. Для скоростей потока |U| ≤ 60 м/с в этом частотном диапазоне, а также для расширенного частотного диапазона от 12500 до 20000 Гц для скоростей потока |U| ≤ 40 м/с значения приведены только для информации. Примечания 1 Пустая ячейка означает, что аi равно нулю. 2 Значение С3,4 приближенно рассчитывают по формуле
где U — средняя скорость потока (U < 0 для входного воздуховода, U > 0 для выходного воздуховода), м/с. |
|||||||||||
Таблица А.4 — Значения коэффициентов аi для расчета поправки С3,4 при измерениях с антитурбулентным экраном в воздуховоде диаметром 0,5 < d < 0,8 м
|
ai дБ·сi·м-1 |
|||||||||||
|
f, Гц |
ао |
а1 |
а2 |
а3 |
а4 |
а5 |
а6 |
a7 |
а8 |
а9 |
а10 |
|
|U| ≤ 60 м/с* |
|||||||||||
|
≤ 250 |
-5,00·10-02 |
2,70·10-02 |
|
|
|
|
|
|
|
|
|
|
315 |
-6,50·10-01 |
2,89·10-02 |
|
|
|
|
|
|
|
|
|
|
400 |
-4,36·10-01 |
3,01·10-02 |
|
|
|
|
|
|
|
|
|
|
500 |
-3,12·10-01 |
3,09·10-02 |
|
|
|
|
|
|
|
|
|
|
630 |
8,52·10-02 |
3,24·10-02 |
|
|
|
|
|
|
|
|
|
|
800 |
1,03 |
3,57·10-02 |
|
|
|
|
|
|
|
|
|
|
1000 |
1,85 |
3,80·10-02 |
|
|
|
|
|
|
|
|
|
|
1250 |
2,61 |
4,34·10-02 |
1,08·10-04 |
|
|
|
|
|
|
|
|
|
1600 |
3,18 |
5,30·10-02 |
1,32·10-04 |
|
|
|
|
|
|
|
|
|
2000 |
3,64 |
6,67·10-02 |
1,57·10-04 |
|
|
|
|
|
|
|
|
|
2500 |
4,12 |
8,36·10-02 |
2,72·10-04 |
|
|
|
|
|
|
|
|
|
3150 |
4,64 |
1,12·10-01 |
6,78·10-04 |
-6,27·10-06 |
|
|
|
|
|
|
|
|
4000 |
5,47 |
1,30·10-01 |
1,29·10-03 |
-8,74·10-06 |
-1,48·10-07 |
|
|
|
|
|
|
|
5000 |
6,03 |
1,53·10-01 |
1,91·10-03 |
-1,17·10-05 |
-2,80·10-07 |
|
|
|
|
|
|
|
6300 |
6,92 |
1,84·10-01 |
2,37·10-03 |
-1,99·10-05 |
-3,93·10-07 |
|
|
|
|
|
|
|
8000 |
8,01 |
2,34·10-01 |
4,22·10-03 |
-5,79·10-05 |
-1,74·10-06 |
7,63·10-09 |
2,46·10-10 |
|
|
|
|
|
10000 |
8,90 |
2,96·10-01 |
4,86·10-03 |
-1,37·10-04 |
-2,16·10-06 |
4,39·10-08 |
3,29·10-10 |
-5,11·10-12 |
|
|
|
|
|U| ≤ 40 м/с |
|||||||||||
|
12500 |
9,57 |
3,58·10-01 |
9,87·10-03 |
-2,20·10-04 |
-9,71·10-06 |
7,05·10-08 |
3,25·10-09 |
|
|
|
|
|
16000 |
1,05·10+01 |
4,50·10-01 |
1,57·10-02 |
-5,09·10-04 |
-2,78·10-05 |
3,98·10-07 |
2,21·10-08 |
-1,12·10-10 |
-6,07·10-12 |
|
|
|
20000 |
1,17·10+01 |
5,58·10-01 |
1,70·10-02 |
-1,01·10-03 |
-2,93·10-05 |
1,40·10-06 |
2,26·10-08 |
-9,09·10-10 |
-6,11·10-12 |
2,17·10-13 |
|
|
* В частотном диапазоне от 50 до 10000 Гц значения коэффициентов аi приведены для скоростей потока |U| ≤ 40 м/с. Для скоростей потока |U| ≤ 60 м/с в этом частотном диапазоне, а также для расширенного частотного диапазона от 12500 до 20000 Гц для скоростей потока |U| ≤ 40 м/с значения приведены только для информации. Примечания 1 Пустая ячейка означает, что аi равно нулю. 2 Значение С3,4 приближенно рассчитывают по формуле
где U — средняя скорость потока (U < 0 для входного воздуховода, U > 0 для выходного воздуховода), м/с. |
|||||||||||
Таблица А.5 — Значения коэффициентов аi для расчета поправки С3,4 при измерениях с антитурбулентным экраном в воздуховоде диаметром 0,8 < d < 1,25 м
|
ai дБ·сi·м-1 |
|||||||||||
|
f, Гц |
ао |
а1 |
а2 |
а3 |
а4 |
а5 |
а6 |
a7 |
а8 |
а9 |
а10 |
|
|U| ≤ 60 м/с* |
|||||||||||
|
≤ 160 |
-5,00·10-02 |
2,70·10-02 |
|
|
|
|
|
|
|
|
|
|
200 |
-1,04 |
2,35·10-02 |
|
|
|
|
|
|
|
|
|
|
250 |
-7,07·10-01 |
2,62·10-02 |
|
|
|
|
|
|
|
|
|
|
315 |
-5,60·10-01 |
2,87·10-02 |
|
|
|
|
|
|
|
|
|
|
400 |
-1,10 .10-01 |
3,01·10-02 |
|
|
|
|
|
|
|
|
|
|
500 |
6,61·10-01 |
3,09·10-02 |
|
|
|
|
|
|
|
|
|
|
630 |
1,34 |
3,23·10-02 |
|
|
|
|
|
|
|
|
|
|
800 |
1,92 |
3,72·10-02 |
|
|
|
|
|
|
|
|
|
|
1000 |
2,10 |
4,33·10-02 |
|
|
|
|
|
|
|
|
|
|
1250 |
2,26 |
5,37·10-02 |
|
|
|
|
|
|
|
|
|
Окончание таблицы А.5
|
ai дБ·сi·м-1 |
|||||||||||
|
f, Гц |
ао |
а1 |
а2 |
а3 |
а4 |
а5 |
а6 |
a7 |
а8 |
а9 |
а10 |
|
|U| ≤ 60 м/с* |
|||||||||||
|
1600 |
2,50 |
6,30·10-02 |
1,33·10-04 |
|
|
|
|
|
|
|
|
|
2000 |
3,00 |
7,07·10-02 |
2,66·10-04 |
|
|
|
|
|
|
|
|
|
2500 |
3,70 |
8,07·10-02 |
3,91·10-04 |
|
|
|
|
|
|
|
|
|
3150 |
4,45 |
1,05·10-01 |
6,32·10-04 |
-4,55·10-06 |
|
|
|
|
|
|
|
|
4000 |
5,53 |
1,28·10-01 |
8,01·10-04 |
-7,67·10-06 |
|
|
|
|
|
|
|
|
5000 |
6,00 |
1,54·10-01 |
1,74·10-03 |
-1,24·10-05 |
-2,32·10-07 |
|
|
|
|
|
|
|
6300 |
6,88 |
1,92·10-01 |
2,33·10-03 |
-3,11·10-05 |
-3,94·10-07 |
2,69·10-09 |
|
|
|
|
|
|
8000 |
7,97 |
2,37·10-01 |
4,25·10-03 |
-5,96·10-05 |
-1,78·10-06 |
7,91·10-09 |
2,57·10-10 |
|
|
|
|
|
10000 |
8,67 |
2,97·10-01 |
6,89·10-03 |
-1,35·10-04 |
-5,29·10-06 |
4,27·10-08 |
1,81·10-09 |
-4,89·10-12 |
-2.15·10-13 |
|
|
|
|U| ≤ 40 м/с |
|||||||||||
|
12500 |
9,56 |
3,59·10-01 |
9,71·10-03 |
-2,22·10-04 |
-9,55·10-06 |
7,20·10-08 |
3,21·10-09 |
|
|
|
|
|
16000 |
1,05·10+01 |
4,51·10-01 |
1,56·10-02 |
-5,09·10-04 |
-2,76·10-05 |
3,97·10-07 |
2,19·10-08 |
-1,11·10-10 |
-6.00·10-12 |
|
|
|
20000 |
1,17·10+01 |
5,60·10-01 |
1,68·10-02 |
-1,02·10-03 |
-2,88·10-05 |
1,42·10-06 |
2,22·10-08 |
-9,29·10-10 |
-5.98·10-12 |
2,23·10-13 |
|
|
* В частотном диапазоне от 50 до 10000 Гц значения коэффициентов аi приведены для скоростей потока |U| ≤ 40 м/с. Для скоростей потока |U| ≤ 60 м/с в этом частотном диапазоне, а также для расширенного частотного диапазона от 12500 до 20000 Гц для скоростей потока |U| ≤ 40 м/с значения приведены только для информации. Примечания 1 Пустая ячейка означает, что аi равно нулю. 2 Значение С3,4 приближенно рассчитывают по формуле
где U — средняя скорость потока (U < 0 для входного воздуховода, U > 0 для выходного воздуховода), м/с. |
|||||||||||
Таблица А.6 — Значения коэффициентов аi для расчета поправки С3,4 при измерениях с антитурбулентным экраном в воздуховоде диаметром 0,125 < d < 2 м
|
ai дБ·сi·м-1 |
|||||||||||
|
f, Гц |
ао |
а1 |
а2 |
а3 |
а4 |
а5 |
а6 |
a7 |
а8 |
а9 |
а10 |
|
|U| ≤ 60 м/с* |
|||||||||||
|
< 100 |
-5,00·10-02 |
2,70·10-02 |
|
|
|
|
|
|
|
|
|
|
125 |
-1,24·10+00 |
2,05·10-02 |
|
|
|
|
|
|
|
|
|
|
160 |
-9,02·10-01 |
2,28·10-02 |
|
|
|
|
|
|
|
|
|
|
200 |
-8,46·10-01 |
2,42·10-02 |
|
|
|
|
|
|
|
|
|
|
250 |
-3,52·10-01 |
2,64·10-02 |
|
|
|
|
|
|
|
|
|
|
315 |
4,54·10-01 |
2,85·10-02 |
|
|
|
|
|
|
|
|
|
|
400 |
1,15 |
3,02·10-02 |
|
|
|
|
|
|
|
|
|
|
500 |
1,37 |
3,15·10-02 |
|
|
|
|
|
|
|
|
|
|
630 |
1,11 |
3,45·10-02 |
|
|
|
|
|
|
|
|
|
|
800 |
9,80·10-01 |
4,11·10-02 |
|
|
|
|
|
|
|
|
|
|
1000 |
1,28 |
4,53·10-02 |
|
|
|
|
|
|
|
|
|
|
1250 |
1,87 |
5,17·10-02 |
|
|
|
|
|
|
|
|
|
|
1600 |
2,31 |
6,08·10-02 |
1,33·10-04 |
|
|
|
|
|
|
|
|
|
2000 |
2,88 |
7,08·10-02 |
2,39·10-04 |
|
|
|
|
|
|
|
|
|
2500 |
3,59 |
8,22·10-02 |
3,70·10-04 |
|
|
|
|
|
|
|
|
|
3150 |
4,37 |
1,06·10-01 |
5,76·10-04 |
-4,46·10-06 |
|
|
|
|
|
|
|
|
4000 |
5,46 |
1,27·10-01 |
7,93·10-04 |
-7,43·10-06 |
|
|
|
|
|
|
|
|
5000 |
5,95 |
1,55·10-01 |
1,73·10-03 |
-1,27·10-05 |
-2,32·10-07 |
|
|
|
|
|
|
|
6300 |
6,84 |
1,93·10-01 |
2,32·10-03 |
-3,10·10-05 |
-3,93·10-07 |
2,62·10-09 |
|
|
|
|
|
|
8000 |
7,95 |
2,38·10-01 |
4,21·10-03 |
-6,04·10-05 |
-1,77·10-06 |
8,08·10-09 |
2,56·10-10 |
|
|
|
|
|
10000 |
8,85 |
2,97·10-01 |
4,82·10-03 |
-1,36·10-04 |
-2,16·10-06 |
4,31·10-08 |
3,31·10-10 |
-4,96·10-12 |
|
|
|
|
|U| ≤ 40 м/с |
|||||||||||
|
12500 |
9,56 |
3,60·10-01 |
9,65·10-03 |
-2,23·10-04 |
-9,49·10-06 |
7,24·10-08 |
3,18·10-09 |
|
|
|
|
|
16000 |
1,05·10+01 |
4,52·10-01 |
1,55·10-02 |
-5,11·10-04 |
-2,74·10-05 |
3,99·10-07 |
2,17·10-08 |
-1,12·10-10 |
-5,96·10-12 |
|
|
|
20000 |
1,17·10+01 |
5,61·10-01 |
1,67·10-02 |
-1,03·10-03 |
-2,86·10-05 |
1,43·10-06 |
2,20·10-08 |
-9,34·10-10 |
-5,93·10-12 |
2,24·10-13 |
|
|
* В частотном диапазоне от 50 до 10000 Гц значения коэффициентов аi приведены для скоростей потока |U| ≤ 40 м/с. Для скоростей потока |U| ≤ 60 м/с в этом частотном диапазоне, а также для расширенного частотного диапазона от 12500 до 20000 Гц для скоростей потока |U| ≤ 40 м/с значения приведены только для информации. Примечания 1 Пустая ячейка означает, что аi равно нулю. 2 Значение С3,4 приближенно рассчитывают по формуле
где U — средняя скорость потока (U < 0 для входного воздуховода, U > 0 для выходного воздуховода), м/с. |
|||||||||||
Приложение В
(обязательное)
Определение отношения звукового давления к турбулентному шуму в измерительном воздуховоде (отношение «сигнал — шум»)
В.1 Общие положения
Настоящее приложение устанавливает методы определения отношения «сигнал — шум». Метод по В.2 применяют при угле закрутки потока не более 15°.
8.2 Метод сравнения с использованием конусной насадки и антитурбулентного экрана
Данный метод требует измерений с использованием:
— конусной насадки;
— антитурбулентного экрана.
Метод основан на предположении, что шум испытуемого источника и турбулентный шум независимы. Метод использует экспериментально определенную разность ΔLt, дБ, уровней турбулентного шума, воспринимаемого микрофоном с конусной насадкой и микрофоном в антитурбулентном экране (далее — подавление турбулентного шума), в зависимости от средней скорости потока и частоты [см. ()].
Согласно уровень звукового давления при применении антитурбулентного экрана должен не менее чем на 6 дБ превышать уровень турбулентного шума, что эквивалентно другому условию: разность сигналов микрофона с конусной насадкой и антитурбулентным экраном не должна превышать значения ΔLmax, которое является функцией подавления турбулентного шума ΔLt антитурбулентным экраном (см. таблицу В.1).
Определение отношения «сигнал — шум» при работающем испытуемом вентиляторе выполняют следующим образом:
— измеряют среднюю скорость потока в воздуховоде в заданном радиальном положении микрофона (см. таблицу 7) с антитурбулентным экраном и определяют подавление турбулентного шума ΔLt, например, по данным производителя или по для антитурбулентного экрана (см. рисунок G.1);
— измеряют с антитурбулентным экраном средний на окружности уровень звукового давления в воздуховоде LpST , используя один из методов по — с учетом суммарной поправки С (С= С: + С2 + С3,4);
— повторяют с учетом поправки С1, измерения с конусной насадкой, помещая микрофон на относительном радиальном расстоянии 2r/d = 0,5 (см. ) и обозначают результат LpNC;
— находят разность ΔL = LpNC — LpST.
Если ΔL превышает значение ΔLmax, указанное в () для данного подавления турбулентного шума ALt антитурбулентным экраном, то отношение «сигнал — шум» менее 6 дБ, т.е. уровень звукового давления вентилятора, измеренный с антитурбулентным экраном, менее чем на 6 дБ превышает турбулентный шум.
Таблица В.1 — Предельно допустимая разность ΔLmax уровней звукового давления, измеренных с конусной насадкой и антитурбулентным экраном, в зависимости от подавления турбулентного шума ΔLt антитурбулентным экраном
|
ΔLt, дБ |
ΔLmax = (LpNC — LpST)max дБ |
ΔLt, дБ |
ΔLmax = (LpNC — LpST)max дБ |
|
10 |
5,1 |
18 |
12,2 |
|
11 |
5,9 |
19 |
13,2 |
|
12 |
6,7 |
20 |
14,1 |
|
13 |
7,6 |
21 |
15,1 |
|
14 |
8,5 |
22 |
16,1 |
|
15 |
9,4 |
23 |
17,1 |
|
16 |
10,3 |
24 |
18,1 |
|
17 |
11,3 |
25 |
19 |
|
Примечание — Значения ΔLmax соответствуют минимальному отношению «сигнал — шум» 6 дБ. |
|||
В.3 Метод с использованием глушителя
Средний уровень звукового давления Lp измеряют дважды с антитурбулентным экраном в каждой третьоктавной полосе. При первом измерении используют измерительный воздуховод. При втором измерении участок измерительного воздуховода между вентилятором и измерительной плоскостью заменяют глушителем, площадь поперечного сечения которого такая, как у воздуховода. Вносимые потери глушителя по ГОСТ 28100-2007 должны быть не менее 10 дБ для каждой полосы.
Если в каждой третьоктавной полосе разность результатов первого и второго измерений не менее 5 дБ, то минимальное значение отношения «сигнал — шум» соответствует требованию, т.е. оно не менее 6 дБ.
В.4 Метод функции когерентности
Метод применим в диапазоне частот, в котором звук в измерительном воздуховоде распространяется в виде плоских волн. Он требует применения анализатора спектра с быстрым преобразованием Фурье. Используют два идентичных микрофона (далее — пара микрофонов) с одинаковым устройством защиты (антитурбулентный экран, конусная насадка или губчатый шар). Один из них устанавливают, как приведено на рисунке 10, а другой смещают по окружности на угол 180° в той же плоскости, сохраняя неизменным направление микрофона. Измерения парой микрофонов проводят в двух положениях на окружности, угол между которыми равен 90°.
Для каждого положения пары микрофонов по 16 реализациям определяют функцию когерентности сигналов в зависимости от частоты. Рассчитывают среднеарифметическое значение квадратных корней из значений функции когерентности для всех частот каждой третьоктавной полосы. Результаты расчета для двух положений пары микрофонов усредняют и среднее значение возводят в квадрат, рассчитывая таким образом среднее значение функции когерентности γ2 для каждой третьоктавной полосы.
Примечания
1 Число отсчетов функции когерентности по частоте, приходящееся на одну третьоктавную полосу, будет неодинаковым для разных полос и зависит от отношения ширины третьоктавной полосы к выбранному частотному разрешению анализатора спектра, которое в свою очередь определяется всем диапазоном частот измерений.
2 Арифметическое усреднение отсчетов функции когерентности с последующим возведением в квадрат для получения значения функции когерентности третьоктавной полосы допустимо в предположении статистической независимости усредняемых отсчетов (аналогично энергетическому усреднению для уровней звуковой мощности).
Если γ2 ≥ 0,64, то результат соответствует требованию , т.е. измеренный уровень звукового давления вентилятора в данной полосе частот не менее чем на 6 дБ превышает уровень турбулентного шума. В противном случае в протоколе испытаний делают запись: «Уровень звукового давления вентилятора превышает уровень турбулентного шума менее чем на 6 дБ». На частотах f ≥ f1,0, (см. ), когда в измерительном воздуховоде могут быть моды высшего порядка, значения γ2 менее 0,64 не являются доказательством, что отношение «сигнал — шум» менее 6 дБ, поскольку акустические поперечные моды по сечению воздуховода не полностью когерентны . Если значения γ2 менее 0,64 встречаются в любой третьоктавной полосе, содержащей критическую частоту первой поперечной моды, или в любой более высокой полосе, то для определения отношения «сигнал — шум» можно применить метод по В.3.
Приложение С
(обязательное)
Расчет октавных и корректированного по А уровней звуковой мощности по уровням звуковой мощности третьоктавных полос
Октавные уровни звуковой мощности LWoct, дБ, рассчитывают по формуле
|
|
(C.1) |
где LWk — уровень звуковой мощности в k—й третьоктавной полосе, дБ.
Корректированный по А уровень звуковой мощности LWA, дБА, рассчитывают по формуле
|
|
(C.2) |
где (Lw)j — уровень звуковой мощности в j—й третьоктавной полосе, дБ;
jmax = 27;
значения Сj — по таблице С.1.
Таблица С.1 — Значения Сj
|
j |
Среднегеометрическая частота третьоктавной полосы, Гц |
Сj, дБ |
|
1 |
50 |
-30,2 |
|
2 |
63 |
-26,2 |
|
3 |
80 |
-22,5 |
|
4 |
100 |
-19,1 |
|
5 |
125 |
-16,1 |
|
6 |
160 |
-13,4 |
|
7 |
200 |
-10,9 |
|
8 |
250 |
-8,6 |
|
9 |
315 |
-6,6 |
|
10 |
400 |
-4,8 |
|
11 |
500 |
-3,2 |
|
12 |
630 |
-1,9 |
|
13 |
800 |
-0,8 |
|
14 |
1000 |
0 |
|
15 |
1250 |
0,6 |
|
16 |
1600 |
1 |
|
17 |
2000 |
1,2 |
|
18 |
2500 |
1,3 |
|
19 |
3150 |
1,2 |
|
20 |
4000 |
1 |
|
21 |
5000 |
0,5 |
|
22 |
6300 |
-0,1 |
|
23 |
8000 |
-1,1 |
|
24 |
10000 |
-2,5 |
|
25 |
12500 |
-4,3 |
|
26 |
16000 |
-6,6 |
|
27 |
20000 |
-9,3 |
Приложение D
(рекомендуемое)
Пример расчета поправки С3,4 для заданных диаметра измерительного воздуховода и средней скорости потока
Для измерительного воздуховода диаметром d = 0,5 м значения коэффициентов а, для расчета поправки С3,4, дБ, по формуле (3) приведены в таблице А.4. Например, для третьоктавной полосы 1000 Гц
С3,4 = (1,85 + 0,038U).
Для средней скорости потока U = 15 м/с (нагнетательный воздуховод)
C3,4 = (1,85+ 0,038×15) = 2,4.
Аналогично для U = -15 м/с (всасывающий воздуховод)
С3,4 = (1,85 + 0,038×(-15)) = 1,3.
Результаты расчета для других среднегеометрических частот и скоростей потока приведены на рисунке D.1 и в таблице D.1.
Таблица D.1— Значение поправки С3,4 для испытательного воздуховода диаметром d = 0,5 м в зависимости от скорости потока U
|
Среднегеометрическая частота третьоктавной полосы, Гц |
Значение поправки С3,4. дБ, при скорости потока U, м/с |
|||||
|
5 |
-5 |
15 |
-15 |
30 |
-30 |
|
|
50 |
0,1 |
-0,2 |
0,4 |
-0,5 |
0,8 |
-0,9 |
|
63 |
0,1 |
-0,2 |
0,4 |
-0,5 |
0,8 |
-0,9 |
|
80 |
0,1 |
-0,2 |
0,4 |
-0,5 |
0,8 |
-0,9 |
|
100 |
0,1 |
-0,2 |
0,4 |
-0,5 |
0,8 |
-0,9 |
|
125 |
0,1 |
-0,2 |
0,4 |
-0,5 |
0,8 |
-0,9 |
|
160 |
0,1 |
-0,2 |
0,4 |
-0,5 |
0,8 |
-0,9 |
|
200 |
0,1 |
-0,2 |
0,4 |
-0,5 |
0,8 |
-0,9 |
|
250 |
0,1 |
-0,2 |
0,4 |
-0,5 |
0,8 |
-0,9 |
|
315 |
-0,5 |
-0,8 |
-0,2 |
-1,1 |
0,2 |
-1,5 |
|
400 |
-0,3 |
-0,6 |
0 |
-0,9 |
0,5 |
-1,3 |
|
500 |
-0,2 |
-0,5 |
0,2 |
-0,8 |
0,6 |
-1,2 |
|
630 |
0,2 |
-0,1 |
0,6 |
-0,4 |
1,1 |
-0,9 |
|
800 |
1,2 |
0,9 |
1,6 |
0,5 |
2,1 |
0 |
|
1000 |
2 |
1,7 |
2,4 |
1,3 |
3 |
0,7 |
|
1250 |
2,8 |
2,4 |
3,3 |
2 |
4 |
1,4 |
|
1600 |
3,4 |
2,9 |
4 |
2,4 |
4,9 |
1,7 |
|
2000 |
4 |
3,3 |
4,7 |
2,7 |
5,8 |
1,8 |
|
2500 |
4,5 |
3,7 |
5,4 |
2,9 |
6,9 |
1,9 |
|
3150 |
5,2 |
4,1 |
6,5 |
3,1 |
8,4 |
2,1 |
|
4000 |
6,2 |
4,9 |
7,7 |
3,8 |
10,2 |
2,8 |
|
5000 |
6,8 |
5,3 |
8,7 |
4,2 |
11,8 |
3,2 |
|
6300 |
7,9 |
6,1 |
10,1 |
4,7 |
13,7 |
3,8 |
|
8000 |
9,3 |
7 |
12,2 |
5,6 |
16,2 |
4,9 |
|
10000 |
10,5 |
7,6 |
13,9 |
5,9 |
17,9 |
5,6 |
|
12500 |
11,6 |
8 |
16 |
6,7 |
19,5 |
6,4 |
|
16000 |
13,1 |
8,7 |
18,2 |
7,5 |
21,2 |
7,3 |
|
20000 |
14,8 |
9,4 |
20,2 |
8,4 |
23,6 |
7,9 |
|
Примечания 1 U > 0 для нагнетательного воздуховода, U < 0 для всасывающего воздуховода. 2 Результаты примера расчета выделены рамкой. |
||||||

1 — U = 5 м/с; 2 — U = -5 м/с; 3 — U= 15 м/с; 4 — U = -15 м/с; 5 — U =30 м/с; 6 — U = -30 м/с
Рисунок D.1 — Значения поправки С3,4 в зависимости от средней скорости потока U для испытательного воздуховода диаметром d = 0,5 м
Приложение Е
(рекомендуемое)
Указания по проектированию концевого поглощающего устройства
Е.1 Основной особенностью концевого поглощающего устройства является очень плавное изменение площади поперечного сечения воздуховода для предотвращения отражения звуковых волн в воздуховод, где они являются помехой измерениям уровня звукового давления. Максимально допустимый коэффициент отражения указан в . Коэффициент отражения определяют по .
Е.2 Различные конструкции концевого поглощающего устройства, соответствующие требованиям , описаны, например, в ,
— .
Е.3 Конструкции, успешно используемые в различных лабораториях, приведены на рисунках Е.1 — . В этих конструкциях изменение профиля поперечного сечения аппроксимируется экспонентой или катеноидой. Последняя обеспечивает несколько лучшую характеристику. В наиболее удачных концевых поглощающих устройствах часть рупора заполнена звукопоглощающим материалом, чтобы обеспечить затухание шума устройств управления и измерения расхода, обычно устанавливаемых на конце рупора. Детальное описание рупоров разных конструкций приведено в , ] и .
Необязательно точно выдерживать изменение площади по экспоненте или катеноиде. Допустима аппроксимация профиля коническими секциями (см. рисунки Е.1а), , и ) или ступенчато (см. рисунки и ).
1 — металлическая обшивка с площадью перфорации около 58 %; 2 — вспененный материал с открытыми порами (пенопласт, поропласт) или стекловолокно плотностью не менее 24 кг/м3; 3 — стекловолокно плотностью не менее 48 кг/м3
|
Диаметр секции |
Длина секции |
||
|
d1 |
1,15 da |
l1 |
1,44 da |
|
d2 |
1,64 da |
l2 |
2,89 da |
|
d3 |
2,25 da |
l3 |
3,89 da |
|
d4 |
3,44 da |
l4 |
5,11 da |
|
D5 |
1,67 da |
l5 |
6,44 da |
|
Примечание — da — диаметр входа, равный выходному диаметру воздуховода, к которому присоединяют концевое поглощающее устройство. |
|||
а) Концевое поглощающее устройство с диаметром входа da = 0,46 м
Рисунок Е.1 — Примеры концевых поглощающих устройств, лист 1

1 — дросселирующее устройство
b) Три конструкции концевого поглощающего устройства с профилем по катеноиде
Рисунок Е.1 — Примеры концевых поглощающих устройств, лист 2
a) Без облицовки. b) Толстая облицовка.
1 — устройство измерения расхода; 2 — пенополиуретан плотностью не менее 32 кг/м3
Рисунок Е.2 — Пример входного концевого поглощающего устройства (с профилем по катеноиде)
Примечание — Испытано для d < 250мм (см. ); для d > 250 мм длина устройства должна быть увеличена, либо можно использовать двусторонние концевые поглощающие устройства (см. рисунок Е.5 и ).
Рисунок Е.3 — Пример одностороннего концевого поглощающего устройства

1 — треугольная прорезь длиной l = 9d и угловой шириной b = 0,6d, закрытая пористым материалом
Примечания
1 Сопротивление продуванию приблизительно равно 400 Н—с/м3 (≈рс).
2 Испытано для d < 0,3 м (см. ).
Рисунок Е.4 — Пример концевого поглощающего устройства
а) От 250 до 300 мм.
1 — перфорированный лист с площадью перфорации 33 %; 2 — минеральная вата плотностью около 43 кг/м3; 3 — минеральная вата толщиной 20 мм, плотностью не менее 50 кг/м3 и сопротивлением продуванию на единицу длины (по толщине виброизолирующего материала) ≥ 5 кН—с/м4, длиной L ≥ 5 d и высотой Н = 200 мм
Примечание — Испытано для d = 400 мм, d — 500 мм (см. ) и d = 630 мм.
Рисунок Е.5 — Пример двустороннего концевого поглощающего устройства
Размеры в миллиметрах
|
Диаметр измерительного воздуховода ØD |
Номер ступени |
d1 |
l1 |
d2 |
l2 |
d3 |
l3 |
d4 |
l4 |
d5 |
l5 |
d6 |
l6 |
Диаметр концевой части dt |
Длина концевой части lt |
|
400 |
6 |
450 |
240 |
500 |
320 |
550 |
240 |
600 |
320 |
650 |
240 |
700 |
320 |
750 |
1125 |
|
630 |
4 |
700 |
240 |
780 |
320 |
850 |
240 |
925 |
|
|
|
|
|
1000 |
1500 |
|
1000 |
3 |
1150 |
240 |
1300 |
320 |
1450 |
240 |
|
|
|
|
|
|
1600 |
2400 |
1 — измерительный воздуховод; 2 — минеральная вата плотностью не менее 45 кг/м3; 3 — измерительное сопло; 4 — входной фланец
Рисунок Е.6 — Пример ступенчатого концевого поглощающего устройства
1 — пенополиуретан плотностью не менее 32 кг/м3; 2 — устройство измерения расхода
Рисунок Е.7 — Пример ступенчатого входного концевого поглощающего устройства (с профилем по катеноиде)
Е.4 Внутренний диаметр входа поглощающего устройства равен диаметру присоединяемого воздуховода [см. рисунок а)]. Размеры концевого поглощающего устройства задают в долях внутреннего диаметра d1 выходного отверстия воздуховода. Изменение диаметра (масштабирование) по сравнению с проверенным практикой должно быть ограниченным, поскольку при этом может нежелательным образом измениться отношение длины волны к размерам воздуховода. Внешняя обшивка рупора может быть выполнена из любого материала, прочность которого обеспечивает неизменность размеров.
В поглощающем устройстве на рисунке ) внутренняя стенка металлическая с площадью перфорации около 58 %. Особое внимание следует уделить плавности перехода при приближении к диаметру d1 Пространство между внутренней перфорированной обшивкой и внешней поверхностью конической части поглощающего устройства заполняют вспененным материалом с открытыми порами или стекловолокном плотностью не менее 24 кг/м3. Цилиндрическое пространство, начиная от диаметра d4, заполняют стекловолокном плотностью не менее 48 кг/м3.
Е.5 Если между измерительным воздуховодом и концевым поглощающим устройством установлен переходный элемент, то его считают составной частью концевого поглощающего устройства, т.е. концевое поглощающее устройство с переходным элементом должно соответствовать требованиям .
Е.6 Примеры дросселирующих устройств приведены на рисунке Е.8.
Дросселирующее устройство состоит из девяти сменных дроссельных шайб с отверстиями, обеспечивающих плавное увеличение сопротивления потока. Размеры шайб указаны в таблице Е.1.
Таблица Е.1 — Конструкция дроссельных шайб
|
Радиус окружности, на которой размещены отверстия |
Номер шайбы |
||||||||
|
2 |
3 |
4 |
5 |
6 |
7 |
8 |
9 |
10 |
|
|
Число отверстий на радиусе ri, |
|||||||||
|
r |
18 |
9 |
— |
— |
— |
— |
— |
— |
— |
|
r1 |
— |
— |
3 |
3 |
3 |
2 |
2 |
2 |
— |
|
r2 |
— |
— |
10 |
10 |
5 |
4 |
5 |
4 |
— |
|
r3 |
— |
— |
16 |
12 |
8 |
6 |
7 |
4 |
— |
|
r4 |
— |
— |
24 |
16 |
12 |
9 |
— |
— |
— |
Е.7 Ступенчатое концевое поглощающее устройство приведено на рисунках , . Отражение звука происходит при каждом изменении поперечного сечения. Необходимое поглощение отраженной волны достигается подбором размеров (длин и диаметров) секций поглощающего устройства. Для этого увеличивают площадь поперечных сечений секций ступенчато на 10 % и выбирают длину секций от 0,3 до 0,4 м.
a) Концевое поглощающее устройство. b) Дросселирующее устройство.
1 — дроссель; 2 — сменная дроссельная шайба
Рисунок Е.8 — Примеры дросселирующих устройств
Приложение F
(рекомендуемое)
Испытание концевого поглощающего устройства
F.1 В настоящем приложении приведен пример определения коэффициента отражения. Коэффициент отражения rа для среднегеометрической частоты полосы рассчитывают по разности ΔL, дБ, между максимальным и минимальным уровнями звукового давления стоячей волны в воздуховоде, формируемой падающей и отраженной плоскими волнами, по формуле
|
|
(F.1) |
F.2 Рекомендуется определять коэффициент отражения в диапазоне частот плоских звуковых волн в круглом воздуховоде.
F.3 Испытание концевого поглощающего устройства выполняют в следующей последовательности:
a) после присоединения измерительного воздуховода к концевому поглощающему устройству устанавливают высококачественный громкоговоритель на входе измерительного воздуховода;
b) обеспечивают движение микрофона без антитурбулентного экрана по всей длине воздуховода по его оси;
c) подают сигнал чистого тона от генератора звуковой частоты на громкоговоритель (при необходимости через усилитель) на среднегеометрической частоте третьоктавной полосы;
d) фильтруют сигнал микрофона с помощью узкополосного или третьоктавного анализатора и подают отфильтрованный сигнал на графический самописец уровня;
e) перемещают микрофон вдоль оси воздуховода, измеряют уровни звукового давления и рассчитывают разность между максимальным и минимальным уровнями звукового давления ΔL;
f) по формуле (F.1) рассчитывают коэффициент отражения rа и сравнивают его со значениями, указанными в таблице 5;
g) повторяют действия, указанные в перечислениях с), d) и е) для среднегеометрических частот третьоктавных полос с частотами от 50 до f1,0 Гц;
h) если концевое поглощающее устройство снабжено механизмом для регулирования расхода, то повторяют действия по g) при максимальном и минимальном расходе.
Если испытатель не располагает графическим самописцем уровня, то допускается визуальный отсчет и регистрация максимального и минимального уровней звукового давления.
F.4 Допускается применять метод двух микрофонов . Метод состоит в измерении передаточной функции сигналов двух близко расположенных микрофонов (рисунок F.1). Метод применяют только при отсутствии потока в воздуховоде и на низких частотах, т.е. в диапазоне частот плоских звуковых волн в круглом воздуховоде.

1 — громкоговоритель; 2 — воздуховод; 3 — концевое поглощающее устройство; 4 — генератор случайных сигналов; 5 — двухканальный анализатор; М1 и М2 — микрофоны
Рисунок F.1 — Схема установки для испытаний методом двух микрофонов
Испытание концевого поглощающего устройства методом двух микрофонов выполняют в следующей последовательности:
a) после присоединения измерительного воздуховода к концевому поглощающему устройству 3 устанавливают высококачественный громкоговоритель на входе воздуховода;
b) устанавливают микрофоны М1 и М2 заподлицо со стенкой воздуховода на расстоянии s друг от друга, равном от 30 до 50 мм; расстояние L от микрофонов до громкоговорителя или концевого поглощающего устройства должно не менее двух диаметров воздуховода;
c) подают случайный сигнал на громкоговоритель в диапазоне частот плоских звуковых волн в круглом воздуховоде;
d) двухканальным анализатором измеряют комплексную передаточную функцию Н12 сигналов микрофонов М1 и М2, где М1 — ближайший к громкоговорителю микрофон;
е) рассчитывают комплексный коэффициент отражения R по формуле
|
|
(F.2) |
где k — номер волны;
s — расстояние между микрофонами;
L— расстояние от микрофона М1 до входа концевого поглощающего устройства.
Определяют коэффициент отражения rа как модуль комплексного коэффициента отражения давления R по формуле
![]()
Значения коэффициента отражения rа по частоте усредняют для каждой третьоктавной полосы и сравнивают с указанными в таблице 5.
Рекомендуется коммутация микрофонов, как описано в , для устранения влияния сдвига фаз сигналов микрофонов, которая сильно увеличивает неопределенность измерения коэффициента отражения на низких частотах.
Приложение G
(рекомендуемое)
Антитурбулентный экран
G.1 Определение и схема типичного антитурбулентного экрана приведены в и на рисунке 1.
G.2 Детали конструкции антитурбулентного экрана приведены на рисунках G.1 и G.2.
Другие конструкции описаны в — .
На рисунке G.3 приведено крепление микрофона и антитурбулентного экрана.
Размеры в миллиметрах
1 — носовой обтекатель с диаметром, равным внешнему диаметру покрытия на щели; 2 — трубка со щелью; 3 — микрофон с защитной сеткой (внутренний диаметр трубки должен обеспечить скользящую посадку по сетке микрофона, имеющей диаметр 13,2 мм); 4 — щель, покрытая пористым материалом; 5 — пористый материал с сопротивлением продуванию 2рс приблизительно 800 Па—с/м)
Рисунок G.1 — Конструктивная схема антитурбулентного экрана для микрофона диаметром 13 мм (1/2 дюйма)

а) Диаметр должен обеспечить плотную посадку по внутреннему диаметру трубки.
1 — носовой обтекатель с диаметром, равным внешнему диаметру покрытия на щели; 2 — трубка со щелью; 3 — микрофон с защитной сеткой (внутренний диаметр трубки должен обеспечивать скользящую посадку по сетке микрофона, имеющей диаметр 13,2 мм); 4 — щель, покрытая пористым материалом; 5 — пористый материал с сопротивлением продуванию 2рс (приблизительно 800 Пас/м); 6 — запрессовываемые детали; 7 — латунная резьбовая цанга; 8 — разрезная пластмассовая кольцевая цанга; 9 — латунная втулка
Рисунок G.2 — Детали, обеспечивающие улучшение устойчивости и характеристики антитурбулентного экрана
1 — щель; 2 — микрофон; 3 — антитурбулентный экран; 4 — зажимная втулка; 5 — хомут; б — кронштейн крепления; 7-микрофон с защитной сеткой; 8-микрофонный кабель; 9 — поддерживающая трубка; 10 — крепежные винты
Примечание — Для измерений со стороны всасывания антитурбулентный экран устанавливают в соответствии с .
Рисунок G.3 — Типовое крепление микрофона и антитурбулентного экрана
G.3 Подавление турбулентного шума
В указано подавление турбулентного шума типовым антитурбулентным экраном по сравнению с конусной насадкой диаметром 13 мм.
Таблица G.1 — Подавление турбулентного шума ΔLt типовым антитурбулентным экраном по сравнению с конусной насадкой диаметром 13 мм
|
Среднегеометрическая частота третьоктавной полосы, Гц |
Подавление турбулентного шума ΔLt ,дБ, при средней скорости потока, м/с |
|||
|
10 |
20 |
30 |
40 |
|
|
50 |
18 |
14 |
12 |
11 |
|
63 |
19 |
15 |
14 |
13 |
|
80 |
19 |
17 |
16 |
14 |
|
100 |
|
20 |
18 |
16 |
|
125 |
20 |
19 |
17 |
16 |
|
160 |
|
19 |
17 |
16 |
|
200 |
22 |
19 |
18 |
17 |
|
250 |
22 |
20 |
19 |
18 |
|
315 |
21 |
22 |
20 |
18 |
|
400 |
Более 20 |
22 |
20 |
18 |
|
500 |
22 |
20 |
19 |
|
|
630 |
23 |
21 |
22 |
|
|
800 |
Более 20 |
|||
|
1000 |
||||
|
1250 |
||||
|
1600 |
||||
|
2000 |
||||
|
2500 |
||||
|
3150 |
||||
|
4000 |
||||
|
5000 |
||||
|
6300 |
||||
|
8000 |
||||
|
10000 |
||||
Приложение Н
(рекомендуемое)
Метод испытаний малых вентиляторов
Измерительные воздуховоды должны быть диаметром от 0,15 до 2,0 м. Диаметр входа или выхода вентилятора должен быть не менее 0,104 м. Для испытаний вентиляторов меньшего диаметра рекомендуется использовать измерительный воздуховод диаметром до 0,07 м, что позволяет испытывать вентиляторы с диаметрами входа и выхода до 0,048 м.
Радиальное положение микрофона с антитурбулентным экраном в воздуховоде (см. ) должно быть 2r/d = 0,8.
В этом случае нельзя применять антитурбулентный экран внутренним диаметром 16 мм по приложению G согласно перечислению трубка антитурбулентного экрана может быть внутренним диаметром до 22 мм). На рисунке Н.1 приведен антитурбулентный экран для микрофона диаметром 6,4 мм (1/4 дюйма).
Примечание — Поскольку малые антитурбулентные экраны не изготовляют серийно, метод испытаний в воздуховодах малого диаметра является лишь рекомендуемым.
Значения коэффициента ai для расчета поправки С3,4 по формуле (7) указаны в таблицах — для следующих диапазонов диаметров измерительного воздуховода, м:
0,07 < d < 0,09;
0,09 < d < 0,12;
0,12 < d < 0,15.

1 — носовой обтекатель с диаметром, равным внешнему диаметру покрытия на щели; 2 — трубка со щелью; 3 — микрофон с защитной сеткой (внутренний диаметр трубки должен обеспечивать скользящую посадку по сетке микрофона, имеющей диаметр 7 мм); 4 — щель, покрытая пористым материалом; 5 — пористый материал с сопротивлением продуванию 2рс (приблизительно 800 Пас/м)
Рисунок Н.1 — Схема антитурбулентного экрана для микрофона диаметром 6,4 мм (1/4 дюйма)
Таблица Н.1 — Значения коэффициентов аi для расчета поправки С3,4 при измерениях с антитурбулентным экраном в воздуховоде диаметром 0,07 < d < 0,09 м
|
ai дБ·сi·м-1 |
|||||||||||
|
f, Гц |
ао |
а1 |
а2 |
а3 |
а4 |
а5 |
а6 |
a7 |
а8 |
а9 |
а10 |
|
|U| ≤ 60 м/с* |
|||||||||||
|
≤ 630 |
-5,00·10-02 |
2,70·10-02 |
|
|
|
|
|
|
|
|
|
|
800 |
-1,19·10-03 |
2,97·10-02 |
5,75·10-05 |
|
|
|
|
|
|
|
|
|
1000 |
-2,12·10-02 |
2,85·10-02 |
1,18·10-04 |
|
|
|
|
|
|
|
|
|
1250 |
-1,53·10-02 |
2,77·10-02 |
2,15·10-04 |
|
|
|
|
|
|
|
|
|
1600 |
-7,37·10-03 |
3,10·10-02 |
3,78·10-04 |
-2,50·10-06 |
|
|
|
|
|
|
|
Окончание таблицы Н.
|
ai дБ·сi·м-1 |
|||||||||||
|
f, Гц |
ао |
а1 |
а2 |
а3 |
а4 |
а5 |
а6 |
a7 |
а8 |
а9 |
а10 |
|
|U| ≤ 60 м/с* |
|||||||||||
|
2000 |
-3,40·10-02 |
3,13·10-02 |
6,24·10-04 |
-4,10·10-06 |
|
|
|
|
|
|
|
|
2500 |
5,47·10-01 |
3,16·10-02 |
1,01·10-03 |
-6,19·10-06 |
|
|
|
|
|
|
|
|
3150 |
1,93 |
2,29·10-02 |
1,44·10-03 |
1,67·10-06 |
-1,11·10-07 |
|
|
|
|
|
|
|
4000 |
2,38 |
3,81·10-02 |
1,26·10-03 |
1,25·10-05 |
-1,43·10-07 |
|
|
|
|
|
|
|
5000 |
3,17 |
9,44·10-02 |
1,20·10-03 |
-1,94·10-06 |
6,47·10-08 |
|
|
|
|
|
|
|
6300 |
3,81 |
1,37·10-01 |
3,38·10-03 |
-2,81·10-05 |
-4,82·10-07 |
5,51·10-09 |
|
|
|
|
|
|
8000 |
4,81 |
1,65·10-01 |
6,53·10-03 |
-1,87·10-05 |
-2,75·10-06 |
7,40·10-02 |
3,96·10-10 |
|
|
|
|
|
10000 |
5,50 |
2,14·10-01 |
1,09·10-02 |
-3,22·10-05 |
-8,08·10-06 |
-5,68·10-09 |
2,57·10-09 |
2,11·10-12 |
-2,79·10-13 |
|
|
|
|U| ≤ 40 м/с |
|||||||||||
|
12500 |
6,56 |
2,78·10-01 |
1,44·10-02 |
-9,06·10-05 |
-1,34·10-05 |
1,00·10-08 |
4,35·10-09 |
|
|
|
|
|
16000 |
7,57 |
3,81·10-01 |
2,43·10-02 |
-3,30·10-04 |
-4,21·10-05 |
1,81·10-07 |
3,30·10-08 |
-3,24·10-11 |
-8,91·10-12 |
|
|
|
20000 |
8,79 |
4,89·10-01 |
3,57·10-02 |
-7,98·10-04 |
-9,13·10-05 |
9,65·10-07 |
1,20·10-07 |
-5,69·10-10 |
-7,30·10-11 |
1,26·10-13 |
1,65·10-14 |
|
* В частотном диапазоне от 50 до 10000 Гц значения коэффициентов аi приведены для скоростей потока |U| ≤ 40 м/с. Для скоростей потока |U| ≤ 60 м/с в этом частотном диапазоне, а также для расширенного частотного диапазона от 12500 до 20000 Гц для скоростей потока |U| ≤ 40 м/с значения приведены только для информации. Примечания 1 Пустая ячейка означает, что аi равно нулю. 2 Значение С3,4 приближенно рассчитывают по формуле
где U — средняя скорость потока (U < 0 для входного воздуховода, U > 0 для выходного воздуховода), м/с. |
|||||||||||
Таблица Н.2— Значения коэффициентов аi для расчета поправки С3,4 при измерениях с антитурбулентным экраном в воздуховоде диаметром 0,09 ≤ d< 0,12 м
|
ai дБ·сi·м-1 |
|||||||||||
|
f, Гц |
ао |
а1 |
а2 |
а3 |
а4 |
а5 |
а6 |
a7 |
а8 |
а9 |
а10 |
|
|U| ≤ 60 м/с* |
|||||||||||
|
≤ 630 |
-5,00·10-02 |
2,70·10-02 |
|
|
|
|
|
|
|
|
|
|
800 |
|
2,97·10-02 |
5,75·10-05 |
|
|
|
|
|
|
|
|
|
1000 |
|
2,85·10-02 |
1,18·10-04 |
|
|
|
|
|
|
|
|
|
1250 |
|
2,77·10-02 |
2,10·10-04 |
|
|
|
|
|
|
|
|
|
1600 |
|
3,10·10-02 |
3,73·10-04 |
-2,50·10-06 |
|
|
|
|
|
|
|
|
2000 |
7,80·10-01 |
3,08·10-02 |
6,07·10-04 |
-3,23·10-06 |
|
|
|
|
|
|
|
|
2500 |
1,86 |
3,32·10-02 |
4,02·10-04 |
2,62·10-06 |
|
|
|
|
|
|
|
|
3150 |
2,04 |
6,56·10-02 |
5,09·10-04 |
|
|
|
|
|
|
|
|
|
4000 |
2,66 |
9,61·10-02 |
1,10·10-03 |
-8,15·10-06 |
|
|
|
|
|
|
|
|
5000 |
3,25 |
1,07·10-01 |
2,64·10-03 |
-3,04·10-06 |
-3,62·10-07 |
|
|
|
|
|
|
|
6300 |
4,11 |
1,38·10-01 |
3,47·10-03 |
-8,01·10-06 |
-5,62·10-07 |
|
|
|
|
|
|
|
8000 |
5,32 |
1,83·10-01 |
5,87·10-03 |
-2,37·10-05 |
-2,26·10-06 |
5,49·10-10 |
3,06·10-10 |
|
|
|
|
|
10000 |
6,23 |
2,46·10-01 |
7,71·10-03 |
-7,61·10-05 |
-3,43·10-06 |
1,12·10-08 |
5,25·10-10 |
|
|
|
|
|
|U| ≤ 40 м/с |
|||||||||||
|
12500 |
7,04 |
3,11·10-01 |
1,45·10-02 |
-1,70·10-04 |
-1,30·10-05 |
4,55·10-08 |
4,14·10-09 |
|
|
|
|
|
16000 |
8,10 |
3,98·10-01 |
2,43·10-02 |
-4,36·10-04 |
-4,00·10-05 |
3,04·10-07 |
3,04·10-08 |
-7,6·10-11 |
-8,13·10-12 |
|
|
|
20000 |
9,58 |
5,01·10-01 |
2,86·10-02 |
-9,90·10-04 |
-4,72·10-05 |
1,35·10-06 |
3,55·10-08 |
-8,59·10-10 |
-9,48·10-12 |
2,01·10-13 |
|
|
* В частотном диапазоне от 50 до 10000 Гц значения коэффициентов аi приведены для скоростей потока |U| ≤ 40 м/с. Для скоростей потока |U| ≤ 60 м/с в этом частотном диапазоне, а также для расширенного частотного диапазона от 12500 до 20000 Гц для скоростей потока |U| ≤ 40 м/с значения приведены только для информации. Примечания 1 Пустая ячейка означает, что аi равно нулю. 2 Значение С3,4 приближенно рассчитывают по формуле
где U — средняя скорость потока (U < 0 для входного воздуховода, U > 0 для выходного воздуховода), м/с. |
|||||||||||
Таблица Н.3 — Значения коэффициентов аi для расчета поправки С3,4 при измерениях с антитурбулентным экраном в воздуховоде диаметром 0,12 < d < 0,15M
|
ai дБ·сi·м-1 |
|||||||||||
|
f, Гц |
ао |
а1 |
а2 |
а3 |
а4 |
а5 |
а6 |
a7 |
а8 |
а9 |
а10 |
|
|U| ≤ 60 м/с* |
|||||||||||
|
≤ 630 |
-5,00·10-02 |
2,70·10-02 |
|
|
|
|
|
|
|
|
|
|
800 |
|
2,97·10-02 |
1 |
|
|
|
|
|
|
|
|
|
1000 |
-2,09·10-02 |
2,85·10-02 |
1,18·10-04 |
|
|
|
|
|
|
|
|
|
1250 |
-1,55·10-02 |
2,77·10-02 |
2,10·10-04 |
|
|
|
|
|
|
|
|
|
1600 |
9,06·10-01 |
2,88·10-02 |
2,82·10-04 |
|
|
|
|
|
|
|
|
|
2000 |
1,46 |
4,87·10-02 |
1,73·10-04 |
|
|
|
|
|
|
|
|
|
2500 |
1,36 |
7,05·10-02 |
4,54·10-04 |
-3,45·10-06 |
|
|
|
|
|
|
|
|
3150 |
2,11 |
7,77·10-02 |
8,23·10-04 |
-3,44·10-06 |
|
|
|
|
|
|
|
|
4000 |
3,20 |
8,59·10-02 |
1,01·10-03 |
|
|
|
|
|
|
|
|
|
5000 |
3,62 |
1,17·10-01 |
2,25·10-03 |
-4,72·10-06 |
-2,70·10-07 |
|
|
|
|
|
|
|
6300 |
4,52 |
1,53·10-01 |
3,20·10-03 |
-1,32·10-05 |
-4,71·10-07 |
|
|
|
|
|
|
|
8000 |
5,69 |
2,00·10-01 |
5,87·10-03 |
-4,17·10-05 |
-2,11·10-06 |
3,96·10-09 |
2,71·10-10 |
|
|
|
|
|
10000 |
6,46 |
2,56·10-01 |
1,03·10-02 |
-1,03·10-04 |
-7,02·10-06 |
2,47·10-08 |
2,23·10-09 |
-1,97·10-12 |
-2,51·10-013 |
|
|
|
|U| ≤ 40 м/с |
|||||||||||
|
12500 |
7,50 |
3,17·10-01 |
1,56·10-02 |
-2,05·10-04 |
-1,43·10-05 |
6,27·10-08 |
4,57·10-09 |
|
|
|
|
|
16000 |
8,62 |
3,96·10-01 |
2,61·10-02 |
-4,93·10-04 |
-4,37·10-05 |
3,81·10-07 |
3,32·10-08 |
-1,01·10-10 |
-8,91·10-12 |
|
|
|
20000 |
1,02·10+01 |
4,85·10-01 |
3,07·10-02 |
-1,03·10-03 |
-5,43·10-05 |
1,56·10-06 |
4,12·10-08 |
-1,04·10-09 |
-1,10·10-11 |
2,51·10-13 |
|
|
* В частотном диапазоне от 50 до 10000 Гц значения коэффициентов аi приведены для скоростей потока |U| ≤ 40 м/с. Для скоростей потока |U| ≤ 60 м/с в этом частотном диапазоне, а также для расширенного частотного диапазона от 12500 до 20000 Гц для скоростей потока |U| ≤ 40 м/с значения приведены только для информации. Примечания 1 Пустая ячейка означает, что аi равно нулю. 2 Значение С3,4 приближенно рассчитывают по формуле
где U — средняя скорость потока (U < 0 для входного воздуховода, U > 0 для выходного воздуховода), м/с. |
|||||||||||
Приложение I (рекомендуемое)
Метод испытаний больших вентиляторов
Измерительные воздуховоды должны иметь диаметр от 0,15 до 2,0 м. Максимальный диаметр входа вентилятора равен 2,0 м, максимальный диаметр выхода — 2,39 м. Если вентилятор превышает указанные размеры, то рекомендуется использовать измерительный воздуховод диаметром до 7,1 м. Это позволяет испытывать вентиляторы с диаметром входа до 7,1 ми выхода до 8,49 м.
Относительное радиальное положение микрофона в антитурбулентном экране в воздуховоде (см. ) должно быть 2r/d = 0,65.
Значения коэффициента аi, необходимые для расчета поправки С3,4 по формуле (7), указаны в таблицах I.1 — для следующих диапазонов диаметров измерительного воздуховода, м:
2,0 ≤ d < 3,55;
3,5 ≤ d < 5,0;
5,0 ≤ d < 7,1.
Таблица I.1 — Значения коэффициентов аi для расчета поправки С3,4 при измерениях с антитурбулентным экраном в воздуховоде диаметром 2 < d < 3,55 м
|
ai дБ·сi·м-1 |
|||||||||||
|
f, Гц |
ао |
а1 |
а2 |
а3 |
а4 |
а5 |
а6 |
a7 |
а8 |
а9 |
а10 |
|
|U| ≤ 60 м/с* |
|||||||||||
|
≤ 63 |
-5,00·10-02 |
2,70·10-02 |
|
|
|
|
|
|
|
|
|
|
80 |
-1,42 |
1,89·10-02 |
|
|
|
|
|
|
|
|
|
|
100 |
-9,19·10-01 |
2,17·10-02 |
|
|
|
|
|
|
|
|
|
|
125 |
-1,03 |
2,14·10-02 |
|
|
|
|
|
|
|
|
|
|
160 |
-4,68·10-01 |
2,29·10-02 |
|
|
|
|
|
|
|
|
|
|
200 |
2,49·10-01 |
2,43·10-02 |
|
|
|
|
|
|
|
|
|
|
250 |
9,25·10-01 |
2,62·10-02 |
|
|
|
|
|
|
|
|
|
|
315 |
9,53·10-01 |
2,80·10-02 |
|
|
|
|
|
|
|
|
|
|
400 |
5,60·10-01 |
3,03·10-02 |
|
|
|
|
|
|
|
|
|
|
500 |
1,76·10-01 |
3,20·10-02 |
|
|
|
|
|
|
|
|
|
|
630 |
4,03·10-01 |
3,44·10-02 |
|
|
|
|
|
|
|
|
|
|
800 |
7,75·10-01 |
4,00·10-02 |
|
|
|
|
|
|
|
|
|
|
1000 |
1,10 |
4,53·10-02 |
|
|
|
|
|
|
|
|
|
|
1250 |
1,59 |
5,27·10-02 |
6,89·10-05 |
|
|
|
|
|
|
|
|
Окончание таблицы I.1
|
ai дБ·сi·м-1 |
|||||||||||
|
f, Гц |
ао |
а1 |
а2 |
а3 |
а4 |
а5 |
а6 |
a7 |
а8 |
а9 |
а10 |
|
|U| ≤ 60 м/с* |
|||||||||||
|
1600 |
2,14 |
6,09·10-02 |
1,374 |
|
|
|
|
|
|
|
|
|
2000 |
2,78 |
7,10·10-02 |
2,31·10-04 |
|
|
|
|
|
|
|
|
|
2500 |
3,50 |
8,27·10-02 |
3,73·10-04 |
|
|
|
|
|
|
|
|
|
3150 |
4,31 |
1,07·10-01 |
5,70·10-04 |
-4,49·10-06 |
|
|
|
|
|
|
|
|
4000 |
5,41 |
-1,28·10-05 |
7,90·10-04 |
-7,49·10-06 |
|
|
|
|
|
|
|
|
5000 |
5,91 |
1,56·10-01 |
1,72·10-03 |
1,28·10-01 |
-2,31·10-07 |
|
|
|
|
|
|
|
6300 |
6,82 |
1,93·10-01 |
2,30·10-03 |
-3,13·10-05 |
-3,91·10-07 |
2,68·10-09 |
|
|
|
|
|
|
8000 |
7,94 |
2,38·10-01 |
4,19·10-03 |
-6,07·10-05 |
-1,76·10-06 |
8,14·10-09 |
2,55·10-10 |
|
|
|
|
|
10000 |
8,84 |
2,98·10-01 |
4,80·10-03 |
-1,37·10-04 |
-2,15·10-06 |
4,34·10-08 |
3,29·10-10 |
-5,01·10-12 |
|
|
|
|
|U| ≤ 40 м/с |
|||||||||||
|
12500 |
9,55 |
3,60·10-01 |
9,60·10-03 |
-2,24·10-04 |
-9,44·10-06 |
7,27·10-08 |
3,17·10-09 |
|
|
|
|
|
16000 |
1,05·10+01 |
4,52·10-01 |
1,54·10-02 |
-5,13·10-04 |
-2,73·10-05 |
4,00·10-07 |
2,16·10-08 |
-1,12·10-10 |
-5,94·10-12 |
|
|
|
20000 |
1,17·10+01 |
5,61·10-01 |
1,66·10-02 |
-1,03·10-03 |
-2,85·10-05 |
1,43·10-06 |
2,19·10-08 |
-9,36·10-10 |
-5,90·10-12 |
2,25·10-13 |
|
|
* В частотном диапазоне от 50 до 10000 Гц значения коэффициентов аi приведены для скоростей потока |U| ≤ 40 м/с. Для скоростей потока |U| ≤ 60 м/с в этом частотном диапазоне, а также для расширенного частотного диапазона от 12500 до 20000 Гц для скоростей потока |U| ≤ 40 м/с значения приведены только для информации. Примечания 1 Пустая ячейка означает, что аi равно нулю. 2 Значение С3,4 приближенно рассчитывают по формуле
где U — средняя скорость потока (U < 0 для входного воздуховода, U > 0 для выходного воздуховода), м/с. |
|||||||||||
Таблица I.2 — Значения коэффициентов аi для расчета поправки С3,4 при измерениях с антитурбулентным экраном в воздуховоде диаметром 3,55 ≤ d <
|
ai дБ·сi·м-1 |
|||||||||||
|
f, Гц |
ао |
а1 |
а2 |
а3 |
а4 |
а5 |
а6 |
a7 |
а8 |
а9 |
а10 |
|
|U| ≤ 60 м/с* |
|||||||||||
|
≤ 40 |
-5,00·10-02 |
2,70·10-02 |
|
|
|
|
|
|
|
|
|
|
50 |
-1,43 |
1,86·10-02 |
|
|
|
|
|
|
|
|
|
|
63 |
-9,76·10-01 |
2,10·10-02 |
|
|
|
|
|
|
|
|
|
|
80 |
-1,08 |
2,05·10-02 |
|
|
|
|
|
|
|
|
|
|
100 |
-5,78 .-10-01 |
2,15·10-02 |
|
|
|
|
|
|
|
|
|
|
125 |
8,39·10-02 |
2,18·10-02 |
|
|
|
|
|
|
|
|
|
|
160 |
6,93·10-01 |
2,26·10-02 |
|
|
|
|
|
|
|
|
|
|
200 |
5,59·10-01 |
2,26·10-02 |
|
|
|
|
|
|
|
|
|
|
250 |
3,21·10-02 |
2,42·10-02 |
|
|
|
|
|
|
|
|
|
|
315 |
-2,65·10-01 |
2,74·10-02 |
|
|
|
|
|
|
|
|
|
|
400 |
5,60·10-02 |
3,01·10-02 |
|
|
|
|
|
|
|
|
|
|
500 |
9,69·10-02 |
3,19·10-02 |
|
|
|
|
|
|
|
|
|
|
630 |
1,62·10-01 |
3,46·10-02 |
|
|
|
|
|
|
|
|
|
|
800 |
5,51·10-01 |
4,03·10-02 |
|
|
|
|
|
|
|
|
|
|
1000 |
9,65·10-01 |
4,52·10-02 |
|
|
|
|
|
|
|
|
|
|
1250 |
1,47 |
5,30·10-02 |
7,00·10-05 |
|
|
|
|
|
|
|
|
|
1600 |
2,06 |
6,11·10-02 |
1,35·10-04 |
|
|
|
|
|
|
|
|
|
2000 |
2,71 |
7,12·10-02 |
2,30·10-04 |
|
|
|
|
|
|
|
|
|
2500 |
3,45 |
8,29·10-02 |
3,71·10-04 |
|
|
|
|
|
|
|
|
|
3150 |
4,27 |
1,07·10-01 |
5,68·10-04 |
-4,52·10-06 |
|
|
|
|
|
|
|
|
4000 |
5,38 |
1,28·10-01 |
7,87·10-04 |
-7,54·10-06 |
|
|
|
|
|
|
|
|
5000 |
5,89 |
1,56·10-01 |
1,71·10-03 |
-1,29·10-05 |
-2,31·10-07 |
|
|
|
|
|
|
|
6300 |
6,80 |
1,94·10-01 |
2,30·10-03 |
-3,15·10-05 |
-3,90·10-07 |
2,71·10-09 |
|
|
|
|
|
|
8000 |
7,93 |
2,38·10-01 |
4,18·10-03 |
-6,09·10-05 |
-1,76·10-06 |
8,17·10-09 |
2,55·10-10 |
|
|
|
|
|
10000 |
8,84 |
2,98·10-01 |
4,78·10-03 |
-1,37·10-04 |
-2,14·10-06 |
4,35·10-08 |
3,28·10-10 |
-5,02·10-12 |
|
|
|
|
|U| ≤ 40 м/с |
|||||||||||
|
12500 |
9,55 |
3,60·10-01 |
9,57·10-03 |
-2,24·10-04 |
-9,41·10-06 |
7,29·10-08 |
3,16·10-09 |
|
|
|
|
|
16000 |
1,07·10+01 |
4,53·10-01 |
1,03·10-02 |
-5,13·10-04 |
-1,01·10-05 |
4,01·10-07 |
3,37·10-09 |
-1,12·10-10 |
|
|
|
|
20000 |
1,17·10+01 |
5,62·10-01 |
1,66·10-02 |
-1,03·10-03 |
-2,84·10-05 |
1,43·10-06 |
2,18·10-08 |
-9,37·10-10 |
-5,88·10-10 |
2,25·10-10 |
|
|
* В частотном диапазоне от 50 до 10000 Гц значения коэффициентов аi приведены для скоростей потока |U| ≤ 40 м/с. Для скоростей потока |U| ≤ 60 м/с в этом частотном диапазоне, а также для расширенного частотного диапазона от 12500 до 20000 Гц для скоростей потока |U| ≤ 40 м/с значения приведены только для информации. Примечания 1 Пустая ячейка означает, что аi равно нулю. 2 Значение С3,4 приближенно рассчитывают по формуле
где U — средняя скорость потока (U < 0 для входного воздуховода, U > 0 для выходного воздуховода), м/с. |
|||||||||||
Таблица I.3 — Значения коэффициентов аi для расчета поправки С3,4 при измерениях с антитурбулентным экраном в воздуховоде диаметром 5 ≤ d ≤
|
ai дБ·сi·м-1 |
|||||||||||
|
f, Гц |
ао |
а1 |
а2 |
а3 |
а4 |
а5 |
а6 |
a7 |
а8 |
а9 |
а10 |
|
|U| ≤ 60 м/с* |
|||||||||||
|
≤ 24 |
-5,00·10-02 |
2,70·10-02 |
|
|
|
|
|
|
|
|
|
|
31,5 |
-9,19·10-01 |
2,06·10-02 |
|
|
|
|
|
|
|
|
|
|
40 |
-1,27 |
1,95·10-02 |
|
|
|
|
|
|
|
|
|
|
I 50 |
-8,35·10-01 |
2,15·10-02 |
|
|
|
|
|
|
|
|
|
|
63 |
-1,06 |
2,01·10-02 |
|
|
|
|
|
|
|
|
|
|
80 |
-1,73·10-01 |
2,08·10-02 |
|
|
|
|
|
|
|
|
|
|
100 |
4,07·10-01 |
2,13·10-02 |
|
|
|
|
|
|
|
|
|
|
125 |
5,14·10-01 |
2,05·10-02 |
|
|
|
|
|
|
|
|
|
|
160 |
2,16·10-02 |
2,00·10-02 |
|
|
|
|
|
|
|
|
|
|
200 |
-6,58·10-01 |
2,12·10-02 |
|
|
|
|
|
|
|
|
|
|
250 |
-4,84·10-01 |
2,45·10-02 |
|
|
|
|
|
|
|
|
|
|
315 |
-1,93·10-01 |
2,77·10-02 |
|
|
|
|
|
|
|
|
|
|
400 |
-2,24·10-01 |
3,01·10-02 |
|
|
|
|
|
|
|
|
|
|
500 |
-8,44·10-02 |
3,19·10-02 |
|
|
|
|
|
|
|
|
|
|
630 |
|
3,46·10-02 |
|
|
|
|
|
|
|
|
|
|
800 |
4,47·10-01 |
4,03·10-02 |
|
|
|
|
|
|
|
|
|
|
1000 |
8,80·10-01 |
4,53·10-02 |
|
|
|
|
|
|
|
|
|
|
1250 |
1,40 |
5,31·10-02 |
7,04·10-05 |
|
|
|
|
|
|
|
|
|
1600 |
2,01 |
6,12·10-02 |
1,34·10-04 |
|
|
|
|
|
|
|
|
|
2000 |
2,67 |
7,13·10-02 |
2,30·10-04 |
|
|
|
|
|
|
|
|
|
2500 |
3,42 |
8,30·10-02 |
3,71·10-04 |
|
|
|
|
|
|
|
|
|
3150 |
4,25 |
1,07·10-01 |
5,67·10-04 |
-4,52·10-06 |
|
|
|
|
|
|
|
|
4000 |
5,36 |
1,28·10-01 |
7,86·10-04 |
-7,55·10-06 |
|
|
|
|
|
|
|
|
5000 |
5,88 |
1,56·10-01 |
1,71·10-03 |
-1,29·10-05 |
-2,30·10-07 |
|
|
|
|
|
|
|
6300 |
6,80 |
1,94·10-01 |
2,30·10-03 |
-3,15·10-05 |
-3,90·10-07 |
2,72·10-09 |
|
|
|
|
|
|
8000 |
7,92 |
2,38·10-01 |
4,17·10-03 |
-6,10·10-05 |
-1,76·10-06 |
8,19·10-09 |
2,54·10-10 |
|
|
|
|
|
10000 |
8,83 |
2,98·10-01 |
4,77·10-03 |
-1,37·10-04 |
-2,13·10-06 |
4,37·10-08 |
3,27·10-10 |
-5,05·10-12 |
|
|
|
|
|U| ≤ 40 м/с |
|||||||||||
|
12500 |
9,55 |
3,60·10-01 |
9,56·10-03 |
-2,24·10-04 |
-9,40·10-06 |
7,29·10-08 |
3,16·10-09 |
|
|
|
|
|
16000 |
1,05·10+01 |
4,53·10-01 |
1,53·10-02 |
-5,14·10-04 |
-2,71·10-05 |
4,02·10-07 |
2,15·10-08 |
-1,12·10-10 |
-5,91·10-12 |
|
|
|
20000 |
1,16·10+01 |
5,62·10-01 |
2,26·10-02 |
-1,03·10-03 |
-6,09·10-05 |
1,43·10-06 |
8,19·10-08 |
-9,38·10-10 |
-5,07·10-11 |
2,25·10-13 |
1,16·10-14 |
|
* В частотном диапазоне от 50 до 10000 Гц значения коэффициентов аi приведены для скоростей потока |U| ≤ 40 м/с. Для скоростей потока |U| ≤ 60 м/с в этом частотном диапазоне, а также для расширенного частотного диапазона от 12500 до 20000 Гц для скоростей потока |U| ≤ 40 м/с значения приведены только для информации. Примечания 1 Пустая ячейка означает, что аi равно нулю. 2 Значение С3,4 приближенно рассчитывают по формуле
где U — средняя скорость потока (U < 0 для входного воздуховода, U > 0 для выходного воздуховода), м/с. |
|||||||||||
Приложение J
(рекомендуемое)
Измерение закрутки потока
Применение антитурбулентного экрана не рекомендуется, если поток в измерительном воздуховоде закручен на угол между вектором средней скорости потока и осью воздуховода более 15°. Угол закрутки в месте расположения микрофона можно определить при помощи трубки Пито.
Трубку Пито устанавливают в измерительный воздуховод в том же радиальном положении, в котором будет установлен микрофон. При неработающем вентиляторе приемник воздушного давления трубки устанавливают параллельно оси воздуховода против направления потока. Это обусловливает опорное направление для определения угла закрутки.
При работающем вентиляторе при известном постоянном расходе трубку поворачивают относительно направления потока до получения максимального полного давления. Угол наклона трубки к начальному (опорному) направлению равен углу закрутки потока.
Угол закрутки определяют для всех расходов вентилятора, при которых производят измерения шума.
Если угол закрутки более 15°, то вероятно существенное увеличение неопределенности измерения уровня звукового давления.
Альтернативно измерение угла закрутки можно выполнить трубкой Пито с тремя или пятью приемными отверстиями, а также с помощью измерителей угла скольжения других типов. Их следует применять в соответствии с инструкциями производителя.
Приложение К
(справочное)
Перечень технических отклонений настоящего стандарта от примененного в нем международного стандарта ИСО 5136:2003
Таблица К.1
|
Раздел, подраздел, пункт, таблица, приложение |
Модификация |
|
1.2 Типы источников шума, четвертый абзац |
Вместо ссылки на ИСО 7235 дана ссылка на ГОСТ (ИСО 13347—2), исключающего необходимость использования ИСО 7235 для измерений реверберационным методом. |
|
2 Нормативные ссылки |
Ссылка на ИСО 266 «Акустика. Предпочтительные частоты» исключена без замены. Ссылка на ИСО 5801:1997 «Промышленные вентиляторы. Испытания для определения характеристик в стандартных воздуховодах» заменена ссылкой на ГОСТ 10921—901) «Вентиляторы радиальные и осевые. Методы аэродинамических испытаний». Ссылка на МЭК 60651:2001 «Шумомеры» заменена ссылкой на ГОСТ 17187—811) «Шумомеры. Общие технические требования и методы испытаний». Ссылка на МЭК 60942:1997 «Электроакустика. Калибраторы звука» исключена без замены. Ссылка на МЭК 61620 «Электроакустика. Фильтры с полосой пропускания в октаву и долю октавы» заменена ссылкой на ГОСТ 17168—821) «Фильтры электронные октавные и третьоктавные. Общие технические требования и методы испытаний». Дополнительно введены ссылки на следующие стандарты: ГОСТ 27408—87 «Шум. Методы статистической обработки результатов определения и контроля уровня шума, излучаемого машинами»; ГОСТ (ИСО 7235:2003) «Акустика. Измерения лабораторные для заглушающих устройств, устанавливаемых в воздуховодах, и воздухораспределительного оборудования. Вносимые потери, потоковый шум и падение полного давления»; ГОСТ (ИСО 13347-2:2004) «Шум машин. Вентиляторы промышленные. Определение уровней звуковой мощности в лабораторных условиях. Часть 2. Реверберационный метод» |
|
Таблица 1 |
Вместо слов «антитурбулентного экрана» во второй и третьей строках употреблены слова «устройства защиты микрофона» в связи с тем, что поправки определяют не только для антитурбулентного экрана, но и для конической насадки и губчатого шара. По этой же причине определение поправки С34 дополнено ссылкой на 5.3.4.3 |
|
Таблица 1, примечание 1 |
Исключено примечание, имеющее редакцию: «1 В первом издании ИСО 5136 (1990) две поправки С3 и С4 использовались для учета влияния потока и распределения мод в звуковом поле на характеристику антитурбулентного экрана. В настоящем издании эти два эффекта учтены суммарной поправкой С34»— Примечание исключено как не имеющее значение для настоящего стандарта, вводимого впервые |
|
3.10 |
Текст определения, относящийся к формуле, выделен в примечание, чтобы определение было дано одной фразой |
Окончание таблицы К.1
|
Раздел, подраздел, пункт, таблица, приложение |
Модификация |
|
Раздел 4, первый абзац |
Дополнен ссылками на пункты 7.2.3 и 7.2.4, в соответствии с которыми также производят усреднение при измерениях |
|
Раздел 4, примечание 4 |
Вместо ошибочной ссылки на пункт 6.2.2 дана ссылка на пункты 7.2.2 — 7.2.4. |
|
5.2.1, примечание |
Исключена последняя фраза: «Будущие стандарты могут включать воздуховоды и с другими поперечными сечениями», — как не имеющая значения для настоящего стандарта |
|
5.1.3.1 |
Исключен текст: «5.3.1.3 Шумомер и другие микрофонные усилители Шумомер или другой усилитель, используемый для усиления сигнала микрофона, должен соответствовать электрическим требованиям для шумомера 1 класса по МЭК 60651:2001». Подпункт исключен, так это требование однозначно следует из 5.3.1.1 |
|
5.4 |
Дополнен указанием погрешности калибратора «± 0,3 дБ». Исключена последняя фраза: «Калибратор ежегодно калибруют», — в связи с тем, что сроки поверки и калибровки определены иными документами, не зависящими от настоящего стандарта |
|
7.2.2 |
Исключена фраза: «Продолжительность измерений увеличивают, если шум не постоянный», — как противоречащая области применения стандарта, распространяющегося только на постоянный шум |
|
В.4 |
Исключено примечание и следующий за ним абзац: «Примечание — Для каждой частотной полосы значения γ2, превышающие 0,64, являются доказательством того, что отношение «сигнал — шум» для турбулентного шума более 6 дБ для данной полосы. В частотном диапазоне, где могут распространяться только плоские звуковые волны в воздуховоде, значения γ2 менее 0,64 показывают, что отношение «сигнал — шум» звукового давления к колебаниям турбулентного давления менее 6 дБ». Примечание является излишним, так как содержащийся в нем вывод однозначно следует из предыдущего абзаца. Абзац за примечанием является излишним, так как повторяет, но в иной форме, положение, изложенное в предыдущем абзаце |
|
Библиография |
Библиография дана в порядке следования ссылок на нее. Исключены неиспользованные в ИСО 5136 ссылки (15 источников). Библиография дополнена МЭК 60942:1997, МЭК 61260:1995 и МЭК 61672 —1:2002 |
1) Степень соответствия — NEQ.
Библиография
|
|
BOLLETER, U. and CROCKER, M.J. Research toward an in-ductfan sound power measuring system. ASHRAE Trans., 76, Part II, 1970, pp. 110-119 |
|
|
|
CREMER, L. The second annual Fairey lecture: The treatment of fans as black boxes. J. Sound Vib., 16, 1971, pp. 1-15 |
|
|
|
|
|
|
|
BOLLETER, U., COHEN, R. and WANG, J.S. Design considerations for an in-duct sound power measuring system, J. Sound Vib., 28(4), pp. 669-685, 1973 |
|
|
[5] |
|
NEISE, W. On sound power determination in flow ducts. 6th International Congress of Sound and Vibration, Technical University of Denmark, Lyngby, Denmark, 5-8 July 1999, Specialist Keynote Paper |
|
[6] |
МЭК 61672-1:2002 |
Электроакустика. Шумомеры. Часть 1^Требования (Electroacoustics — Soundlever meter- Part 1:Specifications) |
|
[7] |
МЭК 61260:1995 |
Электроакустика. Фильтры с полосой пропускания в октаву и долю октавы (Electroacoustics — Octave-band and fractional-octave-band filters) |
|
[8] |
|
|
|
|
ARNOLD, F. A cross correlation method for sound power determination in flow ducts and frequency corrections for the standardized in-duct method, 6th International Congress of Sound and Vibration, Technical University of Denmark, Lyngby, Denmark, 5-8 July 1999 |
|
|
[10] |
МЭК 60942:1997 |
Электроакустика. Калибраторы звука (Electroacoustics — Sound calibrators) |
|
[11] |
|
|
|
[12] |
|
|
|
[13] |
|
MYERS, G.H. Anechoic duct termination development using scale model theory. J. Acoust. Soc. Am.,47, 1970, p. 117 |
|
[14] |
|
|
|
[15] |
|
|
|
[16] |
|
NEISE, W. Application of similarity laws to the blade passage sound of centrifugal fans. J. Sound Vib., 43, 1975, pp. 61-75 |
|
[17] |
|
WOLLHERR, H. Akustische Untersuchungen an Radialventilatoren unter Venvendung der Vierpoltheorie. Ph. D. Dissertation, Techn. Universitat |
|
[18] |
|
ROLAND, J. Evaluation of the errors in the measurements of silencer characteristics. J. Sound Vib., 74(4), 1981, pp. 549-558 |
|
[19] |
|
|
|
[20] |
|
WANG, J.S. and CROCKER, M.J. Tubular windscreen design for microphones for in-duct fan sound power measurements, J. Acoust. Soc. Am., 55(3), pp. 568-575, 1974 |
|
[21] |
|
CHUNG, J.Y. and BLASER, D.A. Transfer function method of measuring in-duct acoustic properties (Part 1 and Part 2), J. Acoust. Soc. Am., 68, 1980, pp. 907-921 |
|
[22] |
|
|
|
[23] |
|
NEISE, W. Theoretical and experimental investigations of microphone probes for sound measurements in turbulent flow. J. Sound Vib., 39(3), 1975, pp. 371-400 |
|
[24] |
|
ISO 3741, Acoustics — Determination of sound power levels of noise sources using sound pressure — Precision methods for reverberation rooms |
|
[25] |
|
Ключевые слова: вентилятор, уровень звуковой мощности, измерительный воздуховод, режим работы, требования к воздуховодам, скорость потока, устройство защиты микрофона, положение микрофона, закрутка потока, концевое поглощающее устройство, поправка, неопределенность измерений













