ГОСТ 5087-80 Ручки для окон и дверей Типы и основные размеры

Автор: | 17.02.2015

ГОСТ 5087-80

Группа Ж34


ГОСУДАРСТВЕННЫЙ СТАНДАРТ СОЮЗА ССР


РУЧКИ ДЛЯ ОКОН И ДВЕРЕЙ

Типы и основные размеры

Window and door handles.

Types and main dimensions



ОКП 49 820

Дата введения 1981-01-01

ИНФОРМАЦИОННЫЕ ДАННЫЕ

1.  РАЗРАБОТАН Министерством промышленности строительных материалов СССР Государственным комитетом по гражданскому строительству и архитектуре при Госстрое СССР

РАЗРАБОТЧИКИ

Н.А.  Косарев, А.А. Зуев (руководители темы), В.А. Бондарева, Н.Н. Попкова

ВНЕСЕН  Министерством промышленности строительных материалов СССР

2.  УТВЕРЖДЕН И ВВЕДЕН В ДЕЙСТВИЕ Постановлением Государственного комитета СССР по делам строительства от 13.12.79 № 243

3.  ВЗАМЕН ГОСТ 5087-72

4.  ССЫЛОЧНЫЕ НОРМАТИВНО-ТЕХНИЧЕСКИЕ ДОКУМЕНТЫ



Обозначение НТД, на который дана ссылка


Номер пункта



ГОСТ 538-88


3,7


ГОСТ 1145-80


2,6


ГОСТ 1146-80


2,6


ГОСТ 17474-80


5


ГОСТ 17475-80


5


5.  ПЕРЕИЗДАНИЕ

1.  Настоящий стандарт распространяется на ручки-скобы и ручки-кнопки для деревянных окон и дверей, применяемых в массовом строительстве жилых и общественных зданий.

2.  Типы и основные размеры ручек должны соответствовать указанным на черт. 1-3 и в табл. 2.

Условные  обозначения типов, типоразмеров и наименования ручек, рекомендуемая область их применения приведены в табл. 1.

Форму  ручек стандартом не устанавливают.

Таблица 1






Условное обозначение типа



Типоразмер



Рекомендуемая область применения


Номер

чертежа


Ручки-скобы


РС


РС-80


Для окон и балконных дверей жилых зданий


1


  

РС-100


Для окон и внутренних дверей зданий


1


  

РС 140


Для входных дверей в квартиры и внутренних дверей и окон общественных зданий


1


  

РС 200


Для входных дверей в здания


1


  

РС 250


То же


1


  

РС 300


   "


1


  

РС 400


   "


1


  

РС 500


   "


1


  

РС 600


   "


1


Ручки-кнопки


РК1


Для внутренних дверей жилых зданий и дверей санузлов


2


РК2


Для внутренних дверей жилых зданий


3



Ручка-скоба типа РС

Исполнение 1                               Исполнение 2


Черт. 1


Таблица 2

Размеры в мм










Типо-

размер


±5






Шуруп по ГОСТ 1145 или ГОСТ 1146


  

  

  

  

не более


Размер


Кол.

РС 800


80


35-48


25-35


30


35


1-425 или 3-4 25


4


РС 100


100


35-48


25-35


30


35


1-425 или 3-4 25


4


РС 140


140


Не нор-

мируется


40-45


40


40


1-425 или 3-4 25


4


РС 200


200


То же


Не менее 40


45


45


1-440 или 3-4 40


4


РС 250


250


"

То же


55


55


1-440 или 3-4 40


4-8


РС 300


300


"


"

80


55


1-540 или 3-5 40


6-8


РС 400


400


"

Не менее 50


80


65


1-540 или 3-5 40


6-8


РС 500


500


"

То же


80


80


1-540 или 3-5 40


6-8


РС 600


600


"

"

80


80


1-540 или 3-5 40


6-8


Примечание.  Лапки для ручек-скоб типоразмеров РС 80 и РС 100 допускается изготовлять толщиной не менее 2 мм.     

Пример  условного обозначения ручки-скобы типоразмера РС 80, исполнения 1:

РС 80-1 ГОСТ 5087-80

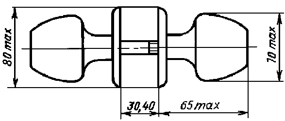
Ручка-кнопка типа РК1


Черт. 2

Условное  обозначение:     

РК1 ГОСТ 5087-80

Ручка-кнопка типа РК2


Черт. 3

Шурупы  1-425 или 3-425 по ГОСТ 1145 или ГОСТ 1146 (2-4 шт.).

Условное  обозначение:     

РК2 ГОСТ 5087-80


3.  Технические требования, комплектность, правила приемки, методы контроля, маркировка, транспортирование, хранение и гарантийный срок эксплуатации ручек должны соответствовать требованиям ГОСТ 538 и настоящего стандарта.

4.  Ручки-скобы типоразмеров РС 80, РС 100 и РС 140, как правило, необходимо изготавливать исполнения 1.

5.  Ручки-скобы типоразмеров РС 250 — РС 600 допускается поставлять, по согласованию с организацией-потребителем, в комплекте с винтами  по ГОСТ 17474 или ГОСТ 17475 в количестве 4-6 шт.

6.  Ручки-кнопки типа РК1 допускается поставлять, по согласованию с организацией-потребителем, в комплекте с шурупом 1-320 или 3-320 по ГОСТ 1145 или ГОСТ 1146.

   

  

7.  Ручки должны иметь защитно-декоративное покрытие по ГОСТ 538.

Вид  покрытия должен назначаться в зависимости от установленной группы условий эксплуатации:

Л  — для ручек РС 140, РК1, РК2;

С       "       "    РС 80, РС 100, РС 200, РС 250, РС 300, РС 400, РС 500, РС 600.

Текст документа сверен по:

официальное издание

Скобяные изделия: Сб. ГОСТов. —

М.: Издательство стандартов, 1993

Предоставлено компанией .