ГОСТ 7948-80 Отвесы стальные строительные

Автор: | 17.02.2015

ГОСТ 7948-80

Группа Ж36


ГОСУДАРСТВЕННЫЙ СТАНДАРТ СОЮЗА ССР


Отвесы стальные строительные

Технические условия

Steel construction plumb-lines. Specifications

ОКП 48 3328

Дата введения 1982-01-01


ИНФОРМАЦИОННЫЕ ДАННЫЕ

1.  РАЗРАБОТАН И ВНЕСЕН Министерством строительного, дорожного и коммунального машиностроения

РАЗРАБОТЧИКИ

А.И.  Полунин (руководитель темы), Н.Н. Нечаева, Н.И. Федоров


2.  УТВЕРЖДЕН И ВВЕДЕН В ДЕЙСТВИЕ Постановлением Государственного комитета СССР по делам строительства от 04.09.80 N 136


3.  ВЗАМЕН ГОСТ 7948-71


4.  ССЫЛОЧНЫЕ НОРМАТИВНО-ТЕХНИЧЕСКИЕ ДОКУМЕНТЫ


+——————————————————————+

¦        Обозначение НТД, на       ¦        Номер  пункта          ¦

¦        который дана ссылка       ¦                               ¦

+——————————————————————+

   ГОСТ 8.051-81                                  4.1

   ГОСТ 9.014-78                                  5.2

   ГОСТ 9.301-86                                  2.11

   ГОСТ 9.302-88                                  4.4

   ГОСТ 9.303-84                                  2.11

   ГОСТ 380-88                                    2.2

   ГОСТ 1050-88                                   2.2

   ГОСТ 1414-75                                   2.2

   ГОСТ 13837-79                                  4.5

   ГОСТ 15150-69                                  5.3

   ГОСТ 18088-83                                  5.2

   ГОСТ 21631-76                                  2.4

   ОСТ 6-06-09-76                                 2.3

5.  ПЕРЕИЗДАНИЕ. Ноябрь 1993 г.


Настоящий  стандарт распространяется на стальные отвесы, применяемые при производстве строительно-монтажных работ.



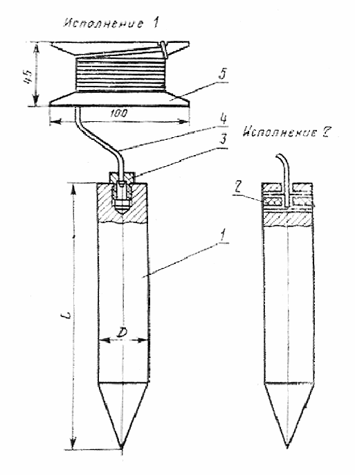
1. Основные параметры и размеры

1.1.  Типоразмеры, основные размеры и масса отвесов должны соответствовать указанным в табл.1 и на чертеже.


1.2.  Конструкция, размеры деталей отвесов и их масса приведены на черт.1-4 приложения.



Таблица 1


Размеры в мм

+——————————————————————+

¦    Типоразмер    ¦     D      ¦     L    ¦  Масса, кг, не более  ¦

¦                  ¦  +/- 0,5   ¦   +/- 2  ¦                       ¦

+——————————————————————+

ОТ50                     18          39              0,05

ОТ100                    18          64              0,1

ОТ200                    18         114              0,2

ОТ400                    30          98              0,4

ОТ600                    30         132              0,6

ОТ800                    30         165              0,8

ОТ1000                   38         144              1,0

ОТ1500                   38         200              1,5

Примечание.  В таблице указана масса отвеса и его головки.


Пример  условного обозначения отвеса типоразмера ОТ50, исполнения 1:


Отвес ОТ50-1 ГОСТ 7948-80

Отвес типа ОТ

1 — корпус; 2 — вставка; 3 — головка; 4 — шнур; 5 — планка.

2. Технические требования

2.1.  Отвесы должны изготовляться в соответствии с требованиями настоящего стандарта по рабочим чертежам и образцам-эталонам, согласованным с базовой организацией по стандартизации и утвержденным в установленном порядке.


2.2.  Корпуса и головки отвесов должны изготовляться из стали любой марки по ГОСТ 380, ГОСТ 1050 или ГОСТ 1414.


2.3.  Вставки для отвесов исполнения 2 должны изготовляться из полиамида 6 по ОСТ 6-06-09 или других пластмасс, механические показатели которых не ниже, чем у полиамида 6.


2.4.  Планки для отвесов должны изготовляться из алюминиевого листа марок АД0 или АД1 по ГОСТ 21631 толщиной 1,5-2 мм.

Допускается  изготовлять планки из листа алюминия других марок, механические показатели которых не ниже, чем у листа марок АД0 или АД1.


2.5.  Острые кромки планок должны быть притуплены.


2.6.  Шнуры должны применяться трехпрядные капроновые или хлориновые диаметром:

1,8  мм — для отвесов типоразмеров ОТ50, ОТ100, ОТ200, ОТ400 и ОТ600.

3  мм — для отвесов типоразмеров ОТ800, ОТ1000, и ОТ1500.

Допускается  применение шнуров из других материалов, механические показатели которых не ниже, чем у капроновых или хлориновых.


2.7.  Длина шнура для отвесов должна быть не менее:

3  м — для отвесов типоразмеров ОТ50, ОТ100 и ОТ200;

5  м    "        "         "       ОТ400 и ОТ600;

7  м    "        "         "       ОТ800 и ОТ1000;

10  м   "       "   типоразмера ОТ1500.


2.8.  Разрывная нагрузка шнура должна быть не менее десятикратной массы отвеса.


2.9.  Отклонение от соосности конуса корпуса отвеса и отверстия для шнура не должно быть более 0,5 мм.


2.10.  Конструкция отвеса должна обеспечивать возможность перемонтажа шнура в процессе эксплуатации инструмента.


2.11.  Поверхности корпусов и головок отвесов должны быть хромированными или оцинкованными с покрытием толщиной 3-6 мкм или оксидированными.

Металлические  и окисные покрытия — по ГОСТ 9.301, условия эксплуатации — по группе 2 ГОСТ 9.303.


2.12.  Крепление шнура в головке или во вставке и на планке отвеса должно выдерживать усилие на разрыв не менее десятикратной массы отвеса.



3. Правила приемки

3.1.  Отвесы должны быть приняты техническим контролем предприятия-изготовителя.


3.2.  Прием и поставку отвесов производят партиями.

Размер  партии устанавливают соглашением сторон. Партия должна состоять из отвесов одного типоразмера, изготовленных из одинакового материала и по одной технологии.


3.3.  Для проверки требований, изложенных в пп.1.1, 2.1 (в части соответствия рабочим чертежам), 2.6-2.12, применяют двухступенчатый контроль, для чего от партии отбирают отвесы в выборку в соответствии с табл.2.


3.4.  Партию отвесов принимают, если количество дефектных отвесов в первой выборке меньше или равно приемочному числу, и бракуют без назначения второй выборки, если количество дефектных отвесов больше или равно браковочному числу.

Если  количество дефектных отвесов в первой выборке больше приемочного числа, но меньше браковочного, проводят вторую выборку.



Таблица 2

+——————————————————————+

¦Объем партии¦Ступень ¦Объем одной ¦Объем двух  ¦Приемоч-¦Браковоч-¦

¦отвесов, шт.¦контроля¦  выборки   ¦  выборок   ¦   ное  ¦   ное   ¦

¦            ¦        ¦отвесов, шт.¦отвесов, шт.¦ число  ¦  число  ¦

+——————————————————————+

    51-90     Первая        8           16           0        2

              Вторая        8                        1        2

    91-150    Первая        13          26           0        3

              Вторая        13                       3        4

   151-280    Первая        20          40           1        4

              Вторая        20                       4        5

   281-500    Первая        32          64           2        5

              Вторая        32                       6        7

   501-1200   Первая        50         100           3        7

              Вторая        50                       8        9


Партию  отвесов принимают, если количество дефектных отвесов в двух выборках меньше или равно приемочному числу, и бракуют, если количество дефектных отвесов в двух выборках больше или равно браковочному числу.


3.5.  Проверка отвесов на соответствие требованиям, приведенным в п.2.1 (в части соответствия образцам-эталонам), должна проводиться методом сплошного контроля.


3.6.  Потребитель имеет право проводить контрольную проверку качества отвесов, применяя при этом методы испытаний, указанные в настоящем стандарте.



4. Методы испытаний

4.1.  Размеры отвесов и их деталей должны проверяться с помощью измерительных средств, погрешности измерения которых не превышают:

—  значений, указанных в ГОСТ 8.051, — для линейных размеров (за исключением длины шнура);

—  35% от допуска на контролируемый размер — для угловых размеров;

—  25% от допуска на контролируемый размер — для отклонения формы и расположения поверхностей;

—  2% от длины шнура.


4.2.  Массу отвесов следует определять взвешиванием на весах.


4.3.  Сплошной контроль должен осуществляться визуально методом сравнения с образцами-эталонами.


4.4.  Контроль металлических и окисных покрытий — по ГОСТ 9.302.


4.5.  Для определения прочности шнура и прочности закрепления шнура в головке или во вставке отвеса и на планке проводят статические испытания.

Статические  испытания проводят равномерным приложением нагрузки, равной десятикратной массе отвеса, с выдержкой под ней не менее 2 мин. Величина нагрузки должна измеряться динамометром по ГОСТ 13837 или приложением тарированного груза.

5. Маркировка, упаковка, транспортирование и хранение

5.1.  На корпусе каждого отвеса должны быть нанесены:

—  товарный знак предприятия-изготовителя;

—  типоразмер отвеса;

—  цена отвеса (при изготовлении отвеса для розничной торговли).

Примечание.  Способ нанесения указанных маркировочных знаков должен обеспечивать их сохранность.


5.2.  Упаковка и транспортирование отвесов — по ГОСТ 18088.

Допускается  другая упаковка, обеспечивающая сохранность отвесов от механических повреждений и воздействия влаги во время транспортирования и хранения.

При  окисном покрытии отвесы подвергают консервации по ГОСТ 9.014. Срок действия консервации — 1 год.

При  этом корпус отвеса и планку со шнуром упаковывают раздельно.


5.3.  Условия хранения отвесов — по группе С ГОСТ 15150.


Приложение

Рекомендуемое


Конструкция и размеры деталей отвесов

Корпус

Исполнение 1

Черт.1


Таблица 1

+——————————————————————+

¦ Типоразмер   ¦  ОТ  ¦  ОТ  ¦  ОТ  ¦ ОТ  ¦  ОТ ¦  ОТ  ¦ ОТ ¦  ОТ  ¦

¦  отвесов     ¦  50  ¦ 100  ¦ 200  ¦ 400 ¦ 600 ¦ 800  ¦1000¦ 1500 ¦

+——————————————————————+

       Масса, 0,03 0,08 0,13 0,38 0,58 0,78 0,98 1,42   кг, не более


Исполнение 2

Черт.2


Таблица 2

+——————————————————————+

¦ Типоразмер   ¦  ОТ  ¦  ОТ  ¦  ОТ  ¦ ОТ  ¦  ОТ ¦  ОТ  ¦ ОТ ¦  ОТ  ¦

¦  отвесов     ¦  50  ¦ 100  ¦ 200  ¦ 400 ¦ 600 ¦ 800  ¦1000¦ 1500 ¦

+——————————————————————+

   d, мм         2,5    2,5    2,5    2,5   2,5   3,5    3,5   3,5

    Масса, 0,034 0,084 0,184 0,375 0,573 0,773 0,970 1,466  кг, не более

Головка

Черт.3


Таблица 3

+——————————————————————+

¦ Типоразмер   ¦  ОТ  ¦  ОТ  ¦  ОТ  ¦ ОТ  ¦  ОТ ¦  ОТ  ¦ ОТ ¦  ОТ  ¦

¦  отвесов     ¦  50  ¦ 100  ¦ 200  ¦ 400 ¦ 600 ¦ 800  ¦1000¦ 1500 ¦

+——————————————————————+

    d, мм        2,5    2,5    2,5    2,5   2,5    3,5   3,5   3,5

Масса  — 0,02 кг, не более

Вставка

Черт.4


Таблица 4

+——————————————————————+

¦ Типоразмер   ¦  ОТ  ¦  ОТ  ¦  ОТ  ¦ ОТ  ¦  ОТ ¦  ОТ  ¦ ОТ ¦  ОТ  ¦

¦  отвесов     ¦  50  ¦ 100  ¦ 200  ¦ 400 ¦ 600 ¦ 800  ¦1000¦ 1500 ¦

+——————————————————————+

     d, мм        2,5   2,5     2,5   2,5   2,5    3,5   3,5   3,5

     L, мм        18    18      18    30    30     30    38    38

Масса  — 0,005 кг, не более.




Текст документа сверен по:

официальное издание

М.: Издательство стандартов, 1994

Предоставлено компанией .