ГОСТ 8870-79
Группа Ж21
ГОСУДАРСТВЕННЫЙ СТАНДАРТ СОЮЗА ССР
КОЛОНКИ ВОДОГРЕЙНЫЕ ДЛЯ ВАНН
Технические условия
Geysers. Specifications
ОКП 49 3400
Дата введения 1981-01-01
УТВЕРЖДЕН И ВВЕДЕН В ДЕЙСТВИЕ Постановлением Государственного комитета СССР по делам строительства от 21 ноября 1979 г. № 220.
ВЗАМЕН ГОСТ 8870-74
ПЕРЕИЗДАНИЕ. Июнь 1987 г.
Настоящий стандарт распространяется на водогрейные колонки для ванн, предназначенные для нагревания воды, поступающей из водопроводной сети, при сжигании твердого топлива.
1. Типы и основные параметры
1.1. Водогрейные колонки должны изготовляться следующих типов, указанных в табл. 1.
Таблица 1
|
|
|
|
|
| Типы колонок
| Код ОКП
| Наименования
| Номер чертежей
|
|
КВЭ-I
|
49 3412 1001 04
|
Водогрейная колонка с эмалированным водяным баком и чугунной топкой
|
1
|
| КВЦ-I
| 49 3412 3001 07
| Водогрейная колонка с оцинкованным водяным баком и чугунной топкой
| 1
|
| КВЭ-II | 49 3422 1001 09
| Водогрейная колонка с эмалированным водяным баком и встроенной стальной топкой
| 2
|
1.2. Условное обозначение водогрейной колонки в технической документации и при заказе должно состоять из слова "Колонка", обозначения типа колонки и настоящего стандарта.
Пример условного обозначения водогрейной колонки с оцинкованным водяным баком и чугунной топкой:
Колонка КВЦ-I ГОСТ 8870-79
То же, колонки с эмалированным водяным баком и встроенной стальной топкой:
Колонка КВЭ-II ГОСТ 8870-79
1.3. Основные параметры колонок должны соответствовать указанным в табл. 2.
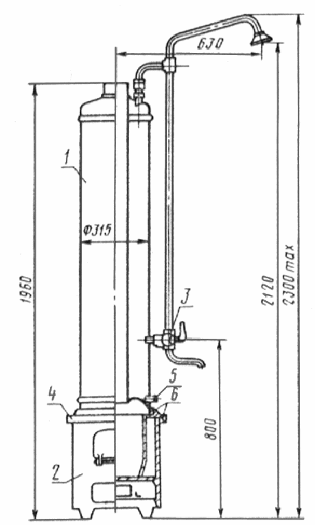
Колонка водогрейная с чугунной топкой
Типы КВЭ-I, КВЦ-I

1 — водяной бак; 2 — топка; 3 — смеситель; 4 — кольцо топки; 5 — сливной штуцер;
6 — заполнитель из смеси глины с асбестом
Размеры для справок.
Справочная масса колонки не более 73 кг.
Примечание. Допускается изготовление топки совместно с кольцом в одной отливке.
Черт. 1.
Колонка водогрейная со встроенной стальной топкой
Тип КВЭ-II

1 — водяной бак; 2 — подставка; 3 — смеситель; 4 — топка; 5 — сливной штуцер;
6 — заполнитель из смеси глины с асбестом
Размеры для справок.
Справочная масса не более 31,5 кг.
Черт. 2.
Таблица 2
|
|
|
|
|
Наименования параметров
| Нормы для колонок типов
| |
| | КВЭ-I, КВЦ-I
| КВЭ-II
|
|
Вместимость водяного бака, л, не менее
|
90
|
83
|
| 0,06 (0,6)
| |
| 353 (80)
| |
| Продолжительность нагрева полного объема воды в водяном баке при теплотворной способности топлива 2440 ккал/кг, мин, не более:
|
|
|
| при нагреве от 278 К (5°С) до 313 К (40°С)
| 30
| 20
|
| при нагреве от 278 К (5°С) до 353 К (80°С) | 75
| 62
|
2. Технические требования
2.1. Колонки должны изготовляться в соответствии с требованиями настоящего стандарта по рабочим чертежам, утвержденным в установленном порядке.
2.2. Основные детали колонок должны изготовляться из материалов, указанных в табл. 3.
Таблица 3
|
|
|
|
|
Наименование деталей
|
Материалы для колонок типов
| |
| | КВЭ-I и КВЦ-I
| КВЭ-II
|
|
Водяной бак, дымогарная труба
|
Сталь марки 08кп по ГОСТ 9045-80 или ГОСТ 16523-70
| |
| Чугун серый марок СЧ 10, СЧ 15 по ГОСТ 1412-85
| Сталь марки 08кп по ГОСТ 9045-80 или ГОСТ 16523-70
|
| Сталь марки 08кп по ГОСТ 9045-80 или СТ3 ГОСТ 16523-70
| |
Примечание. Корпус, кольцо и дверку топки колонок типов КВЭ-I и КВЦ-II допускается изготовлять из алюминиевого сплава АЛ2 и АЛ9 по ГОСТ 2685-75
2.3. Внутренние и наружные поверхности деталей колонок, за исключением внутренней поверхности топки и деталей, соприкасающихся с огнем, должны иметь эмалевое, цинковое или лакокрасочное покрытие из материалов, допущенных (согласованных) для этих целей органами санитарного надзора.
Вид покрытия устанавливается конструкторской документацией на изготовление колонок, утвержденной в установленном порядке.
2.4. Эмалевое покрытие должно быть термически стойким и иметь прочное сцепление с поверхностью металла.
2.5. По внешнему виду эмалевое покрытие должно быть сплошным, равномерной толщины, с гладкой блестящей поверхностью и по своим показателям удовлетворять требованиям, приведенным в табл. 4.
Таблица 4
|
|
|
|
|
Наименование показателей
| Нормы для колонок
| |
| | высшей категории качества
| первой категории качества
|
|
Волнистость
|
|
|
|
Местное утолщение и просвечивание
|
Не допускается общей площадью более, см
| |
| 15
| 20
|
|
Пузыри в эмалевом слое без обнажения металла диаметром до 2 мм
|
Не допускаются более, шт. (на всю эмалированную поверхность):
| |
| | 2
| 4
|
|
Пятна эмали другого цвета, посторонние включения и вскипы эмали
|
Не допускаются
|
Не допускаются общей площадью более 3 см
|
|
Отколы эмали в стыках швов и на корпусе бака, загрунтованные под цвет эмали и закрепленные:
| | |
|
при отколе до металла
|
Не допускаются
|
Не допускаются общей площадью более 3 см
|
|
при отколе до грунтового слоя
|
Не допускаются
|
Не допускаются общей площадью более 6 см
|
|
Выгорание эмали по острым кромкам, швам и другим местам сварки
|
Допускаются без обнажения металла в виде отдельных точек
| |
|
Общее количество видов отклонений, не более
|
2
|
3
|
2.6. Лопнувшие пузыри в эмалевом покрытии должны быть зашлифованы и покрыты эмалью, не отличающейся по цвету от эмали покрытия.
2.7. Для цинкования поверхностей деталей колонок следует применять цинк по ГОСТ 3640-79.
2.8. Цинковое покрытие должно быть прочным, нанесено сплошным ровным слоем толщиной не менее 30 мкм.
2.9. По показателям внешнего вида цинковое покрытие колонок должно удовлетворять требованиям, указанным в табл. 5.
Таблица 5
|
|
|
|
|
Наименования показателей
| Нормы для колонок
| |
| | высшей категории качества
| первой категории качества
|
|
Не допускается общей площадью более, см
| |
| | 30
| 50
|
|
Не допускаются более, шт. (на всю оцинкованную поверхность):
| |
| | 3
| 5
|
|
Не допускаются общей площадью более, см
| |
| | 2
| 3
|
|
1
|
2
|
2.10. Для лакокрасочного покрытия деталей колонок применяют эмаль МЛ-12 по ГОСТ 9754-76 или другие лакокрасочные материалы, допущенные органами санитарного надзора и удовлетворяющие условиям эксплуатации в части воздействия климатических факторов группе 1 по ГОСТ 9.303-84, стойкие к воздействию особых сред 8
для водяного бака и 8
для корпуса и дверки топки по ГОСТ 9.032-74.
2.11. Лакокрасочное покрытие должно иметь прочное сцепление с поверхностью металла.
2.12. По показателям внешнего вида лакокрасочное покрытие колонок высшей категории качества должно быть не ниже IV класса, а колонок первой категории качества — не ниже V класса по ГОСТ 9.032-74.
2.13. Чугунные отливки должны соответствовать требованиям ГОСТ 1412-85. Они не должны иметь свищей, раковин, трещин, пористости, шлаковых включений и других пороков литья, влияющих на прочность изделий, качество и внешний вид антикоррозионного покрытия.
Допускается качественная заварка раковин, трещин и свищей, не влияющих на прочность изделий и качество антикоррозионного покрытия, с последующей тщательной зачисткой заваренных мест.
2.14. Водяные баки и дымогарные трубы колонок должны иметь правильную цилиндрическую форму. Отклонение от цилиндрической формы (овальность) бака и трубы в колонках высшей категории качества не должно быть более ±3,5 мм, в колонках первой категории качества — не более ± 4,5 мм.
2.15. Водяные баки в сборе с дымогарной трубой должны быть герметичными.
Каждый бак в сборе с дымогарной трубой должен быть испытан предприятием-изготовителем на герметичность водой или воздухом.
2.16. При выявлении негерметичности в швах днища эмалированного водяного бака допускается подварка швов с последующей зачисткой неровностей и покрытием нитроэмалью. Негерметичность в швах оцинкованных баков допускается устранять подпайкой швов с последующей зачисткой неровностей и подцинковкой.
Баки после устранения дефектов должны быть повторно испытаны на герметичность.
2.17. Дверки топки должны иметь отражатель, они должны легко открываться и закрываться. Конструкция дверок должна исключать их самопроизвольное открывание.
2.18. Величина зазора между дверкой и корпусом топки не должна быть более 2 мм.
2.19. Зольниковая коробка должна свободно выдвигаться из корпуса топки.
2.20. Колонки должны иметь следующие показатели надежности:
срок службы до списания — не менее 10 лет;
ресурс работы до ремонта — не менее 800 ч.
3. Комплектность
3.1. Колонки должны поставляться комплектно. В состав комплекта входят изделия, указанные в табл. 6.
Таблица 6
|
|
|
|
|
|
|
|
Наименования изделий
| Количество изделий для колонок типов
|
| |
|
| |
КВЭ-I и КВЦ-I
|
КВЭ-II
|
|
|
|
Водяной бак, шт.
|
1
|
—
|
|
|
| Чугунная топка в сборе, компл.
| 1
| —
|
|
|
| Водяной бак со встроенной стальной топкой в сборе, компл.
| —
| 1
|
|
|
| Подставка в сборе, компл.
| —
| 1
|
|
|
| Смеситель со стационарной душевой трубкой и сеткой к водогрейной колонке по ГОСТ 25809-83
|
1
|
1
|
|
|
| Паспорт
| 1
| 1
|
|
|
| Инструкция по монтажу и эксплуатации | 1
| 1
|
|
3.2. В паспорте на колонку должно быть указано:
наименование предприятия-изготовителя или его товарный знак;
ведомственная подчиненность предприятия-изготовителя;
тип колонки и ее условное обозначение;
максимальная температура нагрева воды;
минимальное давление воды в водопроводной сети перед колонкой;
свидетельство о приемке колонки техническим контролем предприятия-изготовителя и дата приемки;
цена (при поставке в торговую сеть);
гарантийный срок;
государственный Знак качества — для колонок, которым в установленном порядке присвоен государственный Знак качества.
4. Правила приемки
4.1. Колонки должны быть приняты техническим контролем предприятия-изготовителя.
4.2. Колонки принимают и поставляют партиями. Размер партии устанавливается соглашением сторон.
4.3. Для проверки соответствия колонок требованиям настоящего стандарта предприятие-изготовитель проводит приемочный контроль колонок, а также их периодические испытания.
4.4. Приемочный контроль
4.4.1. При приемочном контроле проверяют каждую колонку на соответствие ее требованиям пп. 2.5; 2.6; 2.9; 2.12; 2.13; 2.15.
4.4.2. Проверке на соответствие требованиям пп. 2.1; 2.4; 2.8; 2.11; 2.14; 2.17-2.19 подвергают 2% колонок, но не менее 3 шт., отбираемых от партии методом случайного отбора.
4.4.3. Если при приемочном контроле по п. 4.4.2 хотя бы одна колонка по какому-либо показателю не будет соответствовать требованиям настоящего стандарта, проводят повторную проверку по этому показателю удвоенного количества колонок, взятых из той же партии.
В случае неудовлетворительных результатов повторной проверки партию колонок бракуют или же осуществляют их поштучную приемку с проверкой показателей, по которым, при повторной проверке, были получены неудовлетворительные результаты.
4.4.4. Потребитель имеет право проводить проверку колонок по любому показателю качества, соблюдая порядок отбора колонок, приведенный в пп. 4.4.1-4.4.3, и применяя методы испытаний, указанные в разд. 5.
4.5. Периодические испытания
4.5.1. Периодические испытания колонок на соответствие их требованиям пп. 1.3 и 2.20 следует проводить не менее чем на трех колонках, прошедших приемо-сдаточный контроль.
4.5.2. Периодические испытания следует проводить не реже одного раза в три года.
4.5.3. При неудовлетворительных результатах периодических испытаний приемка, а также отгрузка колонок, принятых ранее, должны быть приостановлены до устранения причин брака.
Допускается проводить повторные периодические испытания не в полном объеме, а только по тем показателям, по которым получены неудовлетворительные результаты.
5. Методы контроля
5.1. Внешний вид поверхностей колонок (пп. 2.5; 2.6; 2.9; 2.12; 2.13) проверяют визуально без применения увеличительных приборов с расстояния 0,5 м при естественном или искусственном освещении, обеспечивающем освещенность не менее 200 лк.
5.2. Размеры колонок и ее деталей (пп. 2.1; 2.14; 2.18) проверяют универсальным или специальным мерительным инструментом; размеры резьб — резьбовыми калибрами.
5.3. Прочность сцепления эмалевого покрытия с металлом (п. 2.4) проверяют легким простукиванием эмалированных поверхностей колонки деревянным молотком массой 300 г.
Эмалевое покрытие считается прочным, если при простукивании в нем не будут появляться трещины или отколы.
5.4. Термическую стойкость эмалевого покрытия (п. 2.4) проверяют путем четырехкратного обливания эмалированной поверхности колонки попеременно холодной и горячей водой, нагретой не менее чем на 358 К (85°С). Разность между температурой холодной и горячей воды должна быть не менее 70 К (70°С). Продолжительность каждой поливки должна быть не менее 30 с.
Эмалевое покрытие считается термически стойким, если при осмотре в соответствии с п. 5.1 в нем не будут обнаружены трещины и отколы.
5.5. Прочность цинкового покрытия (п. 2.8) проверяют по ГОСТ 9.301-86, 9.302-79.
5.6. Прочность сцепления лакокрасочного покрытия (п. 2.11) проверяют по ГОСТ 4765-73 на пластинах, окрашенных той же краской и в тех же технологических условиях, при которых окрашивались проверяемые поверхности деталей колонки.
5.7. Герметичность водяных баков в сборе с дымогарной трубой (п. 2.15) проверяют на специальном стенде, оборудованном манометром класса точности не менее 2,5, водой или воздухом давлением 0,15 МПа (1,5 кгс/см
) в течение времени, необходимого для выявления дефектов, но не менее 1 мин при испытании воздухом и не менее 2 мин — при испытании водой.
Бак считается герметичным, если давление воды или воздуха в баке в течение времени испытания не будет падать, а в местах соединений и на поверхности бака не будет просачивания воды или "потения" при испытании водой и появления пузырей в местах смазки соединений мыльным раствором — при испытании воздухом.
5.8. Периодические испытания колонок (пп. 1.3 и 2.20) проводит базовая организация по стандартизации совместно с предприятием-изготовителем по методике базовой организации по стандартизации.
6. Маркировка, упаковка, транспортирование и хранение
6.1. На колонках должен быть нанесен товарный знак предприятия-изготовителя, обозначение настоящего стандарта, цена, а на колонках, которым в установленном порядке присвоен государственный Знак качества, — также его изображение.
Место нанесения маркировки, ее размеры и способ исполнения устанавливаются рабочими чертежами на изготовление колонок.
6.2. Колонки типа КВЭ-II и водяные баки колонок типов КВЭ-I и КВЦ-I должны обертываться оберточной бумагой марки Ж по ГОСТ 8273-75 и обвязываться шпагатом.
Топки колонок типов КВЭ-I и КВЦ-I обертывать бумагой не требуется.
6.3. Для транспортирования колонки, обернутые в бумагу и перевязанные шпагатом, устанавливаются в контейнеры и закрепляются в них.
При безконтейнерном транспортировании колонок должны быть приняты меры, исключающие возможность их повреждения.
6.4. Транспортирование колонок может производиться любым видом транспорта.
6.5. При транспортировании открытым видом транспорта колонки должны быть защищены от воздействия атмосферных осадков.
6.6. Колонки должны храниться в закрытых помещениях или под навесом в упакованном виде. Чугунные топки допускается хранить на открытых площадках.
6.7. Маркировка, упаковка, транспортирование и хранение смесителей для колонок — по ГОСТ 19681-83.
7. Гарантии изготовителя
7.1. Предприятие-изготовитель должно гарантировать соответствие колонок требованиям настоящего стандарта.
7.2. Гарантийный срок эксплуатации колонок при соблюдении потребителем условий монтажа, эксплуатации, транспортирования и хранения, установленных настоящим стандартом и инструкцией по монтажу и эксплуатации, — один год со дня сдачи объекта в эксплуатацию, но не более полутора лет со дня отгрузки предприятием-изготовителем.
Гарантийный срок эксплуатации колонок, реализуемых через торговую сеть, — один год со дня продажи.
Гарантийный срок эксплуатации колонок высшей категории качества — два года со дня отгрузки предприятием-изготовителем, а при реализации их через торговую сеть — полтора года со дня продажи.
8. Указания по монтажу и эксплуатации
8.1. Водогрейные колонки не предназначены для работы под давлением.
8.2. Колонка устанавливается без крепления на полу. Подключение ее к дымоходу осуществляется при помощи патрубка, изготовленного из листовой стали.
8.3. После подключения колонки к водопроводу и дымоходу, кольцевой зазор между водяным баком и топкой необходимо заполнить смесью глины с асбестом.
8.4. Розжиг и подогрев воды в колонке разрешается только при полностью заполненном водогрейном баке.
8.5. Регулировка притока воздуха в топку осуществляется выдвижением зольниковой коробки при закрытой дверке топки.
8.6. Детали колонки и арматуру, имеющие защитно-декоративное покрытие, следует чистить без применения абразивных материалов.
8.7. Водяной бак необходимо периодически, не реже одного раза в год, очищать от накопившегося шлама. Шлам сливается через сливной патрубок, после чего бак промывается проточной водой.
8.8. При монтаже колонок должны быть выполнены противопожарные мероприятия, предусмотренные требованиями соответствующих нормативных документов Госстроя СССР и ГУПО МВД СССР и обеспечивающих безопасную эксплуатацию колонок.
Текст документа сверен по:
официальное издание
Госстрой СССР —
М.: Издательство стандартов,
1988