ГОСТ 9416-83 Уровни строительные Технические условия

Автор: | 17.02.2015

ГОСТ 9416-83

Группа Ж36


ГОСУДАРСТВЕННЫЙ СТАНДАРТ СОЮЗА ССР


УРОВНИ СТРОИТЕЛЬНЫЕ

Технические условия

Building levels. Specifications

ОКП 48 3300

Дата введения 1985-01-01


ИНФОРМАЦИОННЫЕ ДАННЫЕ

1.  РАЗРАБОТАН И ВНЕСЕН Министерством строительного, дорожного и коммунального машиностроения

РАЗРАБОТЧИКИ

А.И.  Полунин (руководитель темы), Э.В. Зайцева, Н.И. Федоров


2.  УТВЕРЖДЕН И ВВЕДЕН В ДЕЙСТВИЕ Постановлением Государственного комитета СССР по делам строительства от 31.10.83 N 297


3.  ВЗАМЕН ГОСТ 9416-76


4.  ССЫЛОЧНЫЕ НОРМАТИВНО-ТЕХНИЧЕСКИЕ ДОКУМЕНТЫ


+——————————————————————+

¦    Обозначение НТД, на который     ¦         Номер пункта        ¦

¦         дана ссылка                ¦                             ¦

+——————————————————————+

     ГОСТ 2.601-68                                 5.3

     ГОСТ 9.014-78                                 5.2

     ГОСТ 9.032-74                                 2.18

     ГОСТ 9.104-79                                 2.18

     ГОСТ 9.301-86                                 2.18

     ГОСТ 9.302-88                                 4.11

     ГОСТ 9.303-88                                 2.18

     ГОСТ 166-89                                   2.17

     ГОСТ 9.306-85                                 4.1

     ГОСТ 427-75                                   4.1, 4.4

     ГОСТ 1583-89                                  2.3

     ГОСТ 1761-92                                  2.3

     ГОСТ 2386-73                                  2.5

     ГОСТ 2697-83                                  5.5

     ГОСТ 2789-73                                  2.15

     ГОСТ 4748-92                                  2.3

     ГОСТ 4784-74                                  2.3

     ГОСТ 8026-92                                  4.8

     ГОСТ 8705-78                                  5.3

     ГОСТ 9569-79                                  5.5

     ГОСТ 9754-76                                  2.17

     ГОСТ 10667-90                                 2.3

     ГОСТ 10905-86                                 4.8, 4.9

     ГОСТ 12034-77                                 2.17

     ГОСТ 13762-86                                 5.7

     ГОСТ 14192-77                                 5.6

     ГОСТ 15150-69                                 2.4

     ГОСТ 17622-72                                 2.3

     ГОСТ 19300-86                                 4.10

     ГОСТ 21228-85                                 2.3

     ГОСТ 21631-76                                 2.3

     ГОСТ 24643-81                                 2.13; 2.14

     ГОСТ 25347-82                                 1.4

     ГОСТ 25349-88                                 1.4

     ТУ 2-034-225-87                               4.8

5.  ПЕРЕИЗДАНИЕ. Ноябрь 1993 г.


Настоящий  стандарт распространяется на строительные уровни (далее — уровни), предназначаемые для проверки горизонтальности и вертикальности расположения поверхностей элементов строительных конструкций, а также на уровни, предназначаемые для переноса угла наклона детали конструкции на аналогичные детали при производстве строительно-монтажных работ без нормирования метрологических характеристик.

Показатели  технического уровня, установленные настоящим стандартом, соответствуют требованиям высшей и первой категории качества.

1. Типы, основные размеры и параметры

1.1.  Уровни должны изготовляться следующих типов, указанных в табл.1.


1.2.  Основные размеры и масса уровней должны соответствовать указанным на черт.1-6 и в табл.2-4.

Форма  корпуса и окон уровней стандартом не устанавливаются.


1.3.  Уровни всех типов, за исключением уровня типа УС1, могут изготовляться с магнитными вставками (далее — магнитные уровни), установленными на одной из рабочих плоскостей.



Таблица 1

+——————————————————————+

¦            ¦             ¦       Группа уровня по точности       ¦

¦            ¦             +—————————————¦

¦Тип уровня  ¦  Типоразмер ¦      I      ¦     II     ¦    III     ¦

¦            ¦             +—————————————¦

¦            ¦             ¦            Цена деления ампулы        ¦

¦            ¦             +—————————————¦

¦            ¦             ¦ мин  ¦ мм/м ¦ мин ¦ мм/м ¦ мин ¦ мм/м ¦

+——————————————————————+

     УС1           —          —      —

     УС2           —          —      —

     УС3           —          6     1,8

                  УС4-1       —      —

     УС4

                  УС4-2       6     1,8

                                           15     4,4   30     8,7

                  УС5-1       —      —

     УС5

                  УС5-2;      6     1,8

                  УС5-3

                  УС6-1;      4     1,2

                  УC6-2

     УС6

                  УС6-3;      2     0,6

                  УС6-4


Уровень типа УС1

Масса  — не более 0,12 кг.

1 — корпус; 2 — ампула; 3 — крышка

Черт.1

Уровень типа УС2

Масса — не более 0,24 кг.

1 — корпус; 2 — ампула; 3 — крышка; 4 — обойма; 5 — защитное стекло

Черт.2

Уровень типа УС3

Масса -не более 0,48 кг.

1 — корпус; 2 — ампула; 3 — крышка; 4 — защитное стекло

Черт.3

Уровень типа УС4

1 — корпус; 2 — ампула; 3 — крышка; 4 — защитное стекло

Черт.4


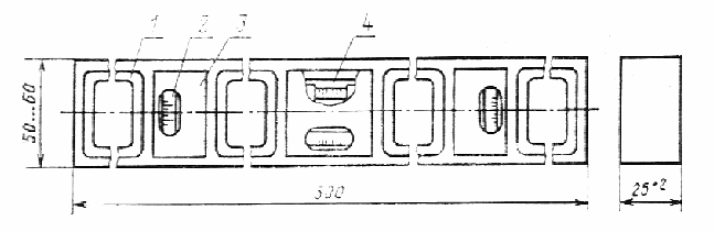
Уровень типа УС5

1 — корпус; 2 — ампула; 3 — блок подвижный; 4 — блок неподвижный;

5 — защитное стекло

Черт.5

Уровень типа УС-6

1 — корпус; 2 — ампула; 3 — блок; 4 — защитное стекло

Черт.6


Таблица 2


+——————————————————————+

¦     Типоразмер       ¦     L, мм    ¦     Масса, кг, не более    ¦

+——————————————————————+

     УС4-1                   300                  0,50

     УС4-2                   500                  0,65


Таблица 3


+——————————————————————+

¦            ¦             ¦ Масса, кг, не более, уровня с корпусом¦

¦ Типоразмер ¦    L, мм    +—————————————¦

¦            ¦             ¦     из профиля     ¦      литым       ¦

+——————————————————————+

   УС5-1          300               0,28                0,32

   УС5-2          500               0,45                0,52

   УС5-3          600               0,54                0,70


Таблица 4


+——————————————————————+

¦            ¦             ¦ Масса, кг, не более, уровня с корпусом¦

¦ Типоразмер ¦    L, мм    +—————————————¦

¦            ¦             ¦     из профиля     ¦      литым       ¦

+——————————————————————+

   УС6-1          600               0,60                0,7

   УС6-2          800               0,79                1,0

   УС6-3         1000               1,00                1,2

   УС6-4         1200               1,20                1,4


1.4.  Предельные отклонения основных размеров уровней и их деталей должны соответствовать:

—  для посадочных размеров поворотного блока — 8-му квалитету по ГОСТ 25347 и по ГОСТ 25349;

—  для свободных размеров металлических деталей — 14-му квалитету по ГОСТ 25347;

—  для свободных размеров пластмассовых деталей — 14-му квалитету по ГОСТ 25349;


1.5.  Условные обозначения уровней должны состоять из обозначения типа (УС1-УС3) или типоразмера (УС4-1, УС4-2, УС5-1 УС5-3, УС6-1 — УС6-4), группы уровней и обозначения настоящего стандарта.

В  случае изготовления уровней с магнитными вставками после обозначения типа дополнительно должна быть указана буква "М".

Пример  условного обозначения уровня типоразмера УС5-1 группы II:


УС5-1-II ГОСТ 9416-83

То  же, магнитного уровня типоразмера УС5-2 группы I:


УС5М-2-I ГОСТ 9416-83

2. Технические требования

2.1.  Уровни должны изготовляться в соответствии с требованиями настоящего стандарта по рабочим чертежам и образцам-эталонам. Образцы-эталоны должны быть согласованы с базовой организацией по стандартизации и утверждены в установленном порядке.


2.2.  Для магнитных уровней должна применяться магнитная вставка, изготовленная по технической документации, утвержденной в установленном порядке.


2.3.  Детали уровней должны быть изготовлены из материалов, указанных в табл.5.



Таблица 5


+——————————————————————+

¦Наименова- ¦          Материал для уровней типов                  ¦

¦ние детали +——————————————————¦

¦           ¦   УС1  ¦   УС2   ¦  УС3   ¦  УС4  ¦   УС5  ¦   УС6   ¦

+——————————————————————+

Корпус       Сплавы алюминиевые по ГОСТ 1583 или сплавы алюминиевые

             марок АД 31, 1915 по ГОСТ 4784

Крышка       Лист алюминиевый по ГОСТ 21631 или          —

             полистирол ударопрочный, выпускае-

             мый по технической документации,

             утвержденной в установленном порядке

Блок                          —                  Полистирол ударо-

                                                 прочный или полиа-

                                                 мид (вторичный),

                                                 выпускаемый по тех-

                                                 нической документа-

                                                 ции, утвержденной в

                                                 установленном по-

                                                 рядке

Стекло          —     Стекло органическое конструкционное по ГОСТ

защитное              10667 или стекло органическое техническое ма-

                      рок  ТОСП или ТОСН по ГОСТ 17622, или целлуло-

                      ид марки А, прозрачный, белый, полированный с

                      двух сторон по ГОСТ 21228, или полистирол, вы-

                      пускаемый по технической документации, утверж-

                      денной в установленном порядке

Обойма          —     Лента из кремнисто-марган-         —

                      цевой бронзы толщиной 0,6

                      мм, нормальной точности по

                      ГОСТ 4748 или лента из оло-

                      вянно-фосфористой бронзы

                      марки БрОФ6,5-0,15 толщи-

                      ной 0,6 мм по ГОСТ 1761

Примечание.  Допускается применение других материалов при условии соблюдения технических требований, установленных настоящим стандартом.


2.4.Уровни  должны изготовляться в климатическом исполнении У, категории размещения 1 по ГОСТ 15150 для работы при температуре от минус 40 до плюс 40 град.С.


2.5.  Для изготовления уровней должны применяться ампулы малой точности типа АЦП исполнения Н по ГОСТ 2386 или ампулы, изготовленные по технической документации, утвержденной в установленном порядке.

Цена  деления ампулы в зависимости от группы уровней должна соответствовать указанной в табл.1.

При  применении гнутых ампул длина наибольшего штриха должна быть не менее 0,4 длины окружности трубки ампулы, но не более ее половины. При применении цилиндрических прямых ампул штрихи могут быть кольцевыми.


2.6.  Наполнитель ампул должен быть подкрашен в розовый, желто-зеленый или другие цвета светлых тонов.


2.7.  Шкалы ампул должны располагаться симметрично относительно оси соответствующих вырезов в крышках или выступов в блоках уровней. Допуск симметричности расположения шкал — 1,5 мм.


2.8.  Уровни в упаковке должны выдерживать транспортную тряску с ускорением 30 м/с_2 и частотой ударов 80-120 в минуту.


2.9.  Отклонение пузырька воздуха в ампуле от среднего положения, определяемого расстоянием между наибольшими штрихами, при температуре плюс (20 +/- 3) град.С после установки уровня на горизонтальную (или вертикальную) плоскость не должно превышать 1/4 деления шкалы. При этом горизонтальная и вертикальная плоскости должны быть выставлены с точностью, не превышающей 0,2 предела допускаемой погрешности ампул уровней.


2.10.  При повороте уровня вокруг оси ампулы на 5 град. +/-30 мин. в обе стороны от его среднего положения отклонение пузырька не должно превышать 1/2 деления шкалы.


2.11.  Уровни, за исключением уровней типов УС1, УС2 и УС5, должны иметь по две рабочие плоскости.


2.12.  Магнитные уровни, установленные в рабочее положение на вертикальную неокрашенную металлическую поверхность, должны выдерживать статическую нагрузку, равную 0,2 массы уровня, приложенную в направлении продольной оси уровня.

Перемещение  уровня под действием собственного веса по металлической поверхности не допускается.


2.13.  Допуск плоскостности рабочих поверхностей корпусов уровней группы I должен соответствовать 10-й степени точности, а уровней II и III — 11-й степени точности по ГОСТ 24643.

Для  уровней, аттестуемых по высшей категории качества, допуск плоскостности рабочих поверхностей корпусов уровней группы I должен соответствовать 9-й степени точности, а уровней групп II и III 10-й степени точности по ГОСТ 24643.


2.14.  Допуск параллельности рабочих поверхностей корпусов уровней I группы должен соответствовать 9-й степени точности, а уровней II и III групп — 10-й степени точности по ГОСТ 24643.

Для  уровней, аттестуемых по высшей категории качества, допуск параллельности рабочих поверхностей корпусов уровней I группы должен соответствовать 8-й степени точности, а уровней II и III группы 9-й степени точности по ГОСТ 24643.


2.15.  Параметр шероховатости рабочих поверхностей уровней не должен быть более Ra 6,3 мкм по ГОСТ 2789.


2.16.  Подвижный блок уровней должен иметь плавный ход без заедания.


2.17.  Корпуса уровней, кроме рабочих плоскостей, должны быть покрыты эмалями типа МЛ по ГОСТ 9754 или по ГОСТ 12034 или иметь покрытие Ан.Окс нхр или Ан.Окс нв по ГОСТ 9.306.

Для  уровней, аттестуемых по первой категории качества, допускается наносить на корпуса покрытия других видов, соответствующих требованиям п.2.18.


2.18.  Лакокрасочные покрытия должны быть светлых тонов соответствовать классу IV по ГОСТ 9.032 и условиям эксплуатации по группе У1 ГОСТ 9.104.

Окисные  покрытия должны соответствовать ГОСТ 9.301, условия эксплуатации — группе Ж по ГОСТ 9.303.


2.19.  После окончания регулировки ампул головки установочных винтов должны быть окрашены эмалью яркого цвета, отличающегося от цвета покрытия корпуса.

Головки  винтов для крепления поворотного блока уровней типа УС5 не окрашивают.


3. Правила приемки

3.1.  Уровни должны быть приняты техническим контролем предприятия-изготовителя.


3.2.  Для проверки соответствия уровней требованиям настоящего стандарта предприятие-изготовитель должно проводить приемосдаточные и периодические испытания.


3.3.  Приемку и поставку уровней производят партиями.

Партия  должна состоять из уровней одной и той же группы, одного типа или типоразмера, изготовленных из одинаковых материалов, прошедших обработку по одному технологическому процессу и одновременно предъявленных к приемке по одному документу.


3.4.  При проверке уровней на соответствие требованиям пп.1.2, 2.1 (в части соответствия рабочим чертежам), 2.7, 2.9, 2.10, 2.12-2.15 применяют двухступенчатый контроль, для чего производят выборку уровней в соответствии с табл.6.


3.5.  Партию уровней принимают, если количество дефектных уровней в первой выборке меньше или равно приемочному числу, и бракуют без назначения второй выборки, если количество дефектных уровней больше или равно браковочному числу.

Если  количество дефектных уровней в первой выборке больше приемочного числа, но меньше браковочного, проводят вторую выборку.



Таблица 6


+——————————————————————+

¦Объем партии¦Ступень ¦Объем одной ¦Объем двух  ¦ Прие-  ¦ Брако-  ¦

¦уровней, шт.¦контроля¦выборки, шт.¦выборок, шт.¦ мочное ¦ вочное  ¦

¦            ¦        ¦            ¦            ¦ число  ¦ число   ¦

+——————————————————————+

   51-90      Первая        8           16          0         2

              Вторая        8                       1         2

   91-150     Первая       13           26          0         3

              Вторая       13                       3         4

  151-280     Первая       20           40          1         4

              Вторая       20                       4         5

  281-500     Первая       32           64          2         5

              Вторая       32                       6         7

  501-1200    Первая       50          100          3         7

              Вторая       50                       8         9


Партию  уровней принимают,если количество дефектных уровней в двух выборках меньше или равно приемочному числу, и бракуют, если количество дефектных уровней в двух выборках больше или равно браковочному числу.


3.6.  При проверке уровней на соответствие требованиям пп.2.1 (в части соответствия образцам-эталонам), 2.5, 2.6, 2.11, 2.16-2.19 применяют сплошной контроль.


3.7.  При проверке уровней на соответствие требованиям пп.2.4 и 2.2 следует проводить периодические испытания не реже одного раза в год, для чего отбирают 3% уровней от партии, но не менее 5 уровней, прошедших приемосдаточные испытания.

Если  при проверке отобранных уровней хотя бы один уровень не будет удовлетворять требованиям пп.2.4 или 2.8, следует проводить повторные испытания удвоенного количества уровней, отобранных из той же партии.

Результаты  повторной проверки уровней являются окончательными.



4. Методы контроля

4.1.  Размеры уровней должны проверяться с помощью металлической линейки с ценой деления 1 мм по ГОСТ 427 или штангенциркулем с ценой деления 0,05 или 0,1 мм по ГОСТ 166.


4.2.  Сплошной контроль на соответствие требованиям пп.2.1, 2.5, 2.6, 2.11, 2.16-2.19 должен осуществляться визуально — методом сравнения с образцом-эталоном.


4.3.  Для проведения климатических испытаний (п.2.4) уровни помещают в холодильную камеру, понижают температуру в камере до минус (40+/-3) град.С и выдерживают их при этой температуре в течение 2 ч. Затем температуру в камере повышают до (20+/-3) град.С, вынимают уровни из камеры и проверяют их на соответствие пп.2.9 и 2.10.

После  этого уровни помещают в нагревательную камеру, повышают температуру до (40+/-3) град.С и выдерживают их при этой температуре в течение 2 ч. Затем температуру в камере понижают до (20+/-3) град.С, вынимают уровни из камеры и проверяют их на соответствие пп.2.9 и 2.10.


4.4.  Проверка уровней на соответствие п.2.7 должна осуществляться металлической линейкой по ГОСТ 427 измерением расстояния от наибольшего штриха ампулы до выступа блока или окна в крышке корпуса уровня.


4.5.  Проверка уровней на воздействие транспортной тряски (п.2.8) должна проводиться на специальном стенде.

Упакованные  уровни крепят к платформе испытательного стенда без дополнительной наружной амортизации, подвергают тряске в течение 2 ч, а затем проверяют на соответствие требованиям пп.2.9 и 2.10.


4.6.  Проверка уровней на соответствие требованиям п.2.9 должна проводиться на поверочной плите, а по п.2.10 — на поверочной плите и с помощью специального приспособления.


4.7.  Прочность сцепления магнитного уровня с металлической поверхностью (п.2.12) проверяют в течение 2 мин.


4.8.  Отклонение от плоскостности рабочих поверхностей уровней (п.2.13) должно проверяться на поверочной плите 1-го класса точности по ГОСТ 10905 при помощи линейки 1-го класса точности по ГОСТ 8026 и щупов из набора N1 или 2 по ТУ 2-034-225.


4.9.  Отклонение от параллельности рабочих поверхностей уровней типов УС3, УС4 и УС6 (п.2.14) должно проверяться на поверочной плите 1-го класса точности по ГОСТ 10905 при помощи индикаторной головки со стойкой.


4.10.  Контроль шероховатости рабочих поверхностей уровней (п.2.15) должен проводиться профилометром или профилографом по ГОСТ 19300.


4.11.  Контроль защитного покрытия (п.2.18) — по ГОСТ 9.302.



5. Маркировка, упаковка, транспортирование и хранение

5.1.  На каждом уровне должны быть нанесены:

—  товарный знак предприятия-изготовителя;

—  условное обозначение;

—  цена деления ампулы в миллиметрах на 1 м и в минутах;

—  год выпуска;

—  цена (при изготовлении уровня для розничной продажи).

Способ  нанесения маркировочных знаков должен обеспечивать их сохранность в течение гарантийного срока эксплуатации.


5.2.  Консервация уровней — по ГОСТ 9.014 вариант защиты — ВЗ-1, ВЗ-2, ВЗ-4, ВЗ-7, ВЗ-13 или ВЗ-15.


5.3.  Каждый уровень вместе с паспортом по ГОСТ 2.601 и инструкцией по эксплуатации должен быть упакован в деревянный, картонный, пластмассовый или из искусственной кожи футляр. Уровень не должен выпадать из футляра при его перевертывании в закрытом виде.

Картонный  футляр должен быть оклеен тканью или переплетным материалом с нитроцеллюлозным покрытием по ГОСТ 8705.


5.4.  На футляре должно быть указано:

—  наименование или товарный знак предприятия-изготовителя;

—  условное обозначение уровня.


5.5.  Футляры с уровнями должны быть упакованы в ящики.

Ящики  внутри должны быть выложены бумагой по ГОСТ 9569, пергамином по ГОСТ 2697 или другим водонепроницаемым материалом.

Допускается  другая упаковка, обеспечивающая сохранность уровней от механических повреждений и воздействия влаги во время транспортирования и хранения.

Масса  ящиков брутто — не более 30 кг.


5.6.  Транспортная маркировка — по ГОСТ 14192.


5.7.  Транспортирование и хранение уровней — по ГОСТ 13762.



6. Гарантии изготовителя

6.1.  Предприятие-изготовитель должно гарантировать соответствие уровней требованиям настоящего стандарта при соблюдении потребителем условий их транспортирования и хранения.


6.2.  Гарантийный срок эксплуатации уровней — 12 мес со дня продажи через торговую сеть, а при поставках для внерыночного потребления — со дня получения потребителем, но не более 1,5 года со дня их изготовления.




Текст документа сверен по:

официальное издание

М.: Издательство стандартов, 1994

Предоставлено компанией .