ГОСТ 24694-81 Тройник железобетонный лотковых оросительных систем Технические условия

Автор: | 17.02.2015

ГОСТ 24694-81

     

Группа Ж33


ГОСУДАРСТВЕННЫЙ СТАНДАРТ СОЮЗА ССР

     

     

ТРОЙНИК ЖЕЛЕЗОБЕТОННЫЙ ЛОТКОВЫХ ОРОСИТЕЛЬНЫХ СИСТЕМ

     

Технические условия

     

Reinforced concrete T-joint of flumed irrigation systems.

Specification

ОКП  58 5821

Дата введения 1982-01-01

РАЗРАБОТАН  Министерством мелиорации и водного хозяйства СССР

ИСПОЛНИТЕЛИ

С.Е.Мирецкий  (руководитель темы); Л.И.Дунина; В.И.Деньщиков; Н.Н.Светликова

ВНЕСЕН  Министерством мелиорации и водного хозяйства СССР

Зам.  министра Б.Г.Штепа

УТВЕРЖДЕН  И ВВЕДЕН В ДЕЙСТВИЕ Постановлением Государственного комитета СССР по делам строительства от 6 апреля 1981 г. N 49

Настоящий  стандарт распространяется на железобетонные тройники из тяжелого бетона, предназначенные для устройства вододелителей на распределительных каналах оросительных систем с уклонами меньше критических, сооружаемых из железобетонных раструбных лотков параболического сечения высотой 400, 600 и 800 мм.

Стандарт  не распространяется на тройники вододелителей распределительных каналов оросительных систем, сооружаемых в районах с сейсмичностью более 8 баллов.

1. ОСНОВНЫЕ ПАРАМЕТРЫ И РАЗМЕРЫ

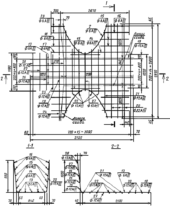
1.1.  Форма, размеры тройника и расположение монтажных и технологических петель должны соответствовать указанным на черт.1.

          

 

КООРДИНАТЫ ПАРАБОЛЫ

     











0,00


0,00




0,226


0,10




0,315


0,20




0,385


0,30




0,440


0,40




0,488


0,50




0,533


0,60




0,574


0,70




0,612


0,80




0,640


0,875

   


     

Черт.1



1.2.  Справочная масса тройника 1680 кг.

1.3.  Технические показатели и армирование тройника, спецификация арматурных изделий и выборка стали приведены в обязательном приложении 1.

Арматурные  изделия, спецификация и выборка стали на одно арматурное изделие приведены в обязательном приложении 2.

1.4.  Тройник следует обозначать маркой в соответствии с ГОСТ 23009-78.

Марка  тройника состоит из одной буквенно-цифровой группы и содержит обозначение наименования конструкции (ТР), ее длину и ширину в дециметрах (значение ширины округляется до целого числа).

Условное  обозначение (марка)  тройника длиной 2300 мм, шириной 1480 мм: TP23.15

   

  

2. ТЕХНИЧЕСКИЕ ТРЕБОВАНИЯ

2.1.  Тройники следует изготовлять в соответствии с требованиями настоящего стандарта.

2.2.  Тройники следует изготовлять в стальных формах, удовлетворяющих требованиям ГОСТ 18886-73 и рабочим чертежам, утвержденным в установленном порядке.

2.3.  Тройники по прочности и трещиностойкости должны удовлетворять требованиям, установленным настоящим стандартом.

2.4.  Тройники должны быть водонепроницаемыми и выдерживать испытательное гидростатическое давление.

2.5.  Бетон

2.5.1.  Прочность бетона тройников должна   соответствовать проектным маркам бетона по прочности на сжатие и на осевое растяжение, установленным обязательным приложением 1.

2.5.2.  Поставку тройников потребителю следует производить после достижения бетоном требуемой прочности, устанавливаемой по ГОСТ 18105.0-80 и ГОСТ 18105.1-80 в зависимости от величины нормируемой отпускной прочности и фактической однородности бетона.

Величина  нормируемой отпускной прочности бетона должна назначаться и согласовываться в соответствии с ГОСТ 13015-75, при этом величина нормируемой отпускной прочности бетона должна быть не менее 70% проектной марки по прочности на сжатие.

Поставка  тройников с отпускной прочностью бетона ниже прочности, соответствующей его проектной марке, производится при условии, что изготовитель гарантирует достижение бетоном прочности, соответствующей его проектной марке (определяемой по результатам контрольных испытаний образцов), в возрасте 28 сут.

2.5.3.  Морозостойкость бетона тройников должна соответствовать проектной марке, установленной проектом вододелителя в зависимости от климатических условий района строительства  (согласно требованиям главы СНиП II-31-74) и указанной в заказе на изготовление тройников.

2.5.4.  Материалы, применяемые для приготовления бетона, должны удовлетворять требованиям государственных стандартов или утвержденных в установленном порядке технических условий и обеспечивать выполнение технических требований к бетону, установленных настоящим стандартом.

2.6.  Арматурные изделия

2.6.1.  Тройники следует армировать сварными каркасами из стержневой арматуры класса A-III по ГОСТ 5781-75 и ГОСТ 5.1459-72.

2.6.2.  Форма и размеры арматурных изделий должны соответствовать указанным в обязательном приложении 2.

2.6.3.  Сварные арматурные изделия должны удовлетворять требованиям ГОСТ 10922-75.

2.6.4.  Для изготовления монтажных и технологических петель тройников следует применять стержневую гладкую горячекатаную арматуру класса A-I марок ВСт3пс2 и ВСт3сп2 или периодического профиля класса A-II марки 10ГТ по ГОСТ 5781-75.

Сталь  марки ВСт3пс2 не допускается применять для монтажных петель, предназначенных для подъема и монтажа тройников при температуре ниже минус 40 °С.

2.7.  Точность изготовления тройников

2.7.1.  Отклонения фактических размеров тройников от проектных не должны превышать, мм:






по длине тройника


±10




по высоте тройника


+5




по толщине стенок тройника


+5




по координатам параболы очертания раструба и вырезов


+5




2.7.2.  Отклонение толщины защитного слоя бетона до арматуры от проектной не должно превышать ±5 мм.

2.8.  Качество поверхностей тройников

2.8.1.  На поверхностях тройников не допускаются:

раковины  диаметром более 6 мм и глубиной более 3 мм;

местные  наплывы бетона и впадины высотой и глубиной более 3 мм;

околы  бетона ребер глубиной более 5 мм и длиной более 50 мм на 1 м;

трещины,  за исключением местных поверхностных усадочных, шириной не более 0,1 мм.

2.8.2.  Монтажные петли должны быть очищены от бетона.

3. ПРАВИЛА ПРИЕМКИ

3.1.  Приемку тройников техническим контролем предприятия-изготовителя следует проводить партиями.

В  состав партии входят тройники, изготовленные предприятием в течение не более одной недели по одной технологии, из материалов одного вида и качества.

Объем  партии устанавливается по соглашению предприятия-изготовителя с потребителем.

3.2.  При приемке тройников проверяют:

а)  прочность и трещиностойкость — по косвенным показателям (прочность бетона на сжатие и осевое растяжение, классы и марки арматурной стали, качество выполнения сварных соединений арматуры, диаметр, количество и расположение арматуры, толщина защитного слоя бетона до арматуры), устанавливаемым по результатам контроля и испытаний в соответствии с требованиями, приведенными в разд. 4 настоящего стандарта, или по данным журнала входного и операционного контроля;

б)  водонепроницаемость — 1% тройников в партии, но не менее двух тройников;

в)  размеры и качество поверхностей — 10% тройников в партии, но не менее трех тройников.

3.3.  Оценку качества тройников по результатам контроля их по прочности и трещиностойкости неразрушающими методами следует выполнять по ГОСТ 8829-77.

3.4.  В случае неудовлетворительных результатов контроля качества тройников по показателям, указанным в п.3.2 б, в, проводят повторные испытания и обмеры удвоенного количества тройников, отобранных из той же партии и не подвергавшихся испытаниям и проверке.

Если  при повторной проверке водонепроницаемости, размеров и качества поверхностей тройников хотя бы один тройник не будет удовлетворять требованиям настоящего стандарта, производят поштучную приемку всей партии тройников по этим показателям.

3.5.  Оценку проектной марки бетона по прочности на сжатие, а также отпускной прочности бетона следует производить по ГОСТ 18105.0-80 и ГОСТ 18105.1-80 с учетом однородности и прочности бетона; оценку проектной марки бетона по прочности на осевое растяжение — по ГОСТ 13015-75.

В  случаях, если при проверке будет установлено, что отпускная прочность бетона тройников не удовлетворяет требованиям п.2.5.2, то их поставка потребителю не должна производиться до достижения бетоном прочности, соответствующей проектной марке бетона по прочности на сжатие.

3.6.  Испытание бетона на морозостойкость   следует производить при освоении производства тройников или изменении вида и качества материалов, применяемых для приготовления бетона, а также периодически — не реже одного раза в шесть месяцев.

3.7.  Оценку качества арматурных изделий сдует производить по ГОСТ 10922-75.

3.8.  Входной контроль потребителем качества поставляемых тройников следует осуществлять, применяя правила приемки, установленные настоящим стандартом.

По  требованию потребителя предприятие-изготовитель обязано сообщать ему результаты лабораторных испытаний.

4. МЕТОДЫ КОНТРОЛЯ И ИСПЫТАНИЙ

4.1.  Контроль прочности и трещиностойкости тройников следует проводить неразрушающими методами по ГОСТ 8829-77.

4.2.  Прочность бетона на сжатие и осевое растяжение следует определять по ГОСТ 10180-78 на серии образцов, изготовленных из бетонной смеси рабочего состава.

Отпускную  прочность бетона следует определять неразрушающими методами по ГОСТ 17624-78, ГОСТ 21243-75, ГОСТ 22690.0-77 — ГОСТ 22690.4-77.

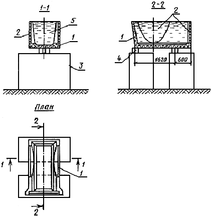
4.3.  Испытание тройников на водонепроницаемость следует проводить на специальном стенде по схеме, приведенной на черт.2.

4.3.1.  Испытание тройника на водонепроницаемость проводят в следующем порядке.

В  отобранном для испытания тройнике закрывают вырезы под лотки, наполняют лоток водой ступенями, равными 20% полного объема воды в тройнике.

После  приложения каждой ступени нагрузки тройник выдерживают под этой нагрузкой 15 мин и осматривают его с целью обнаружения трещин, течи или влажных пятен.

Тройник,  полностью заполненный водой, выдерживают в течение суток.

4.3.2.  Партию тройников считают выдержавшей испытание на водонепроницаемость, если во всех тройниках, отобранных из этой партии в количестве, установленном п.3.2, через сутки после их наполнения не будет обнаружено трещин и фильтрации воды в виде влажных пятен или течи.

          

Схема испытаний тройника на водонепроницаемость


          

1 — тройник; 2 — заглушка; 3 — фундамент; 4 — опора; 5 — вода

     

Черт.2


       4.4. Морозостойкость бетона следует определять по ГОСТ 10060-76.

4.5.  Методы контроля и испытаний сварных арматурных изделий — по ГОСТ 10922-75.

4.6.  Толщину защитного слоя и положение арматуры в бетоне тройников следует определять неразрушающими методами по ГОСТ 17625-72 или ГОСТ 22904-78.

При  отсутствии необходимых приборов допускается вырубка борозд и обнажение арматуры с последующей заделкой борозд цементным раствором марки М300.

4.7.  Размеры тройников, положение монтажных петель, толщину защитного слоя бетона до арматуры, а также качество поверхностей и внешний вид тройников следует проверять в соответствии с требованиями ГОСТ 13015-75 и настоящего стандарта.

4.8.  Методы контроля и испытаний исходных материалов для изготовления тройников должны соответствовать установленным стандартами или техническими условиями на эти материалы.

5. МАРКИРОВКА, ТРАНСПОРТИРОВАНИЕ И ХРАНЕНИЕ

5.1.  На наружной боковой поверхности каждого тройника должны быть нанесены несмываемой краской при помощи трафаретов или резиновых штампов следующие маркировочные знаки:

товарный  знак предприятия-изготовителя или его краткое наименование;

марка  тройника;

дата  изготовления тройника;

штамп  технического контроля;

масса  тройника в т.

5.2.  Каждая партия тройников должна сопровождаться документом установленной формы, в котором должны быть указаны:

наименование  и адрес предприятия-изготовителя;

номер  и дата выдачи документа;

номер  партии;

наименование  и марка тройников;

дата  изготовления тройников;

проектная  марка бетона по прочности на сжатие;

проектная  марка бетона по прочности на осевое растяжение;

нормируемая  отпускная прочность бетона в процентах от проектной марки по прочности на сжатие;

марка  бетона по морозостойкости.

5.3.  При хранении тройники следует укладывать в один ряд на подкладки прямоугольного поперечного сечения высотой не менее 80 мм, расположенные в местах технологических петель, при этом должна быть обеспечена возможность захвата и подъема тройников для погрузки.

Подкладки  под тройники должны укладываться по плотному, тщательно выровненному основанию.

5.4.  Между рядами тройников должны быть предусмотрены проходы шириной не менее 1 м и проезды, ширина которых зависит от габаритов транспортных средств. Проходы следует устраивать не реже чем через два ряда тройников в продольном направлении и не реже чем через 25 м в поперечном направлении. Расстояние между смежными рядами тройников должно быть не менее 0,2 м.

5.5.  Тройники при хранении на складе в сухой летний период должны ежедневно увлажняться.

5.6.  При перевозке на транспортных средствах тройники должны:

опираться  на деревянные подкладки высотой не менее 80 мм, расположенные в местах технологических петель;

тщательно  закреплены от опрокидывания, продольного и поперечного смещения, а также от соприкасания друг с другом.

5.7.  При погрузке и разгрузке тройников не допускается их падение.

6. УКАЗАНИЯ ПО ЭКСПЛУАТАЦИИ

6.1.  При устройстве вододелителя на лотковом канале необходимо сначала установить лоток, опирающийся на торцевую стенку тройника, а затем лотки, опирающиеся на боковые стенки.

6.2.  Укладка тройника на стоечные опоры разрешается при достижении бетоном омоноличивания стойки прочности на сжатие не менее 50% от проектной, пуск воды по лоткам — при 100% прочности бетона.

6.3.  Для обеспечения водонепроницаемости стыков лотков с тройником следует преимущественно применять жгуты круглого сечения из резины или пороизола. Для обеспечения герметичности стыков жгуты из резины или пороизола должны быть обжаты соответственно на 30 и 50%.

Жгуты  из резины должны удовлетворять требованиям ГОСТ 6467-79, а из пороизола — ГОСТ 19177-73.

ПРИЛОЖЕНИЕ 1

Обязательное

     

АРМИРОВАНИЕ ТРОЙНИКА


             

Примечание.  Проектное положение петель фиксируется инвентарными зажимами или вязальной проволокой.

Технические показатели тройника марки TР23.15

Проектная  марка бетона по прочности:






на сжатие



М200




на осевое растяжение


Р20



Расход  материалов:






бетона


0,67 м




стали


45,58 кг



     

Спецификация арматурных изделий на один тройник марки ТР23.15

Каркас  марок:






КР1


1 шт.



КР2


2 шт.



КР3


1 шт.


Петля:






монтажная марки П1


4 шт.



технологическая марки П2


4 шт.


Выборка  арматурной стали на один тройник марки ТР23.15:     

           класс A-I по ГОСТ 5781-75, диаметром:






10 мм


2,36 кг




14 мм


6,12 кг




итого


8,48 кг








класс A-III по ГОСТ 5781-75, диаметрам 6 мм


11,56 кг




по ГОСТ 5.1459-72, диаметрам 12 мм


25,54 кг








итого


37,10 кг




Всего


45,58 кг



     

     

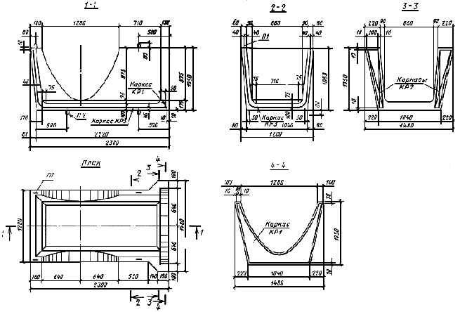
ПРИЛОЖЕНИЕ 2

Обязательное

     

АРМАТУРНЫЕ ИЗДЕЛИЯ

     

Каркас К1


                 

   

Каркас К2


              

     

Монтажная петля П1


            

   

Технологическая петля П2

     

     

Черт.1


 

Каркас КР3


     

     

Черт.2

     

     

Спецификация и выборка стали на одно арматурное изделие














  

  

  

  




Выборка стали


Марка изделия


Позиция


Диаметр, мм


Длина, мм


Количество


Масса, кг


Диаметр, мм


Длина, м


Масса изделия, кг





1


6АIII


450


2


0,20


  

  

  




2


6АIII


2360


1


0,52


  

  

  




3


6АIII


100


2


0,04


  

  

  

КР1


4


6АIII


150


3


0,10


6АIII


9,5


2,08





5


6АIII


190


2


0,08


  

  

  




6


6АIII


280


2


0,12


  

  

  

  

7


6АIII


1080


1


0,24


  

  

  

  

8


6АIII


230


2


0,10


  

  

  

  

9


6АIII


3080


1


0,68


  

  

  




3


6АIII


100


2


0,04


  

  

  




5


6АIII


190


2


0,08


  

  

  

КР2


10


6АIII


160


1


0,04


6АIII


3,0


0,65





11


6АIII


140


1


0,03


  

  

  

  

12


6АIII


1030


2


0,46


  

  

  

  

13


6АIII


3150


5


3,50


6АIII


36,8


  

  

14


6АIII


1230


2


0,55


12АIII


28,8


33,7


  

15


6АIII


880


6


1,17


  

  

  

  

16


6АIII


710


4


0,63


  

  

  

  

17


6АIII


920


2


0,41


  

  

  

  

18


6АIII


570


4


0,51


  

  

  

  

19


12АIII


1020


2


1,82


  

  

  

  

20


12АIII


2890


3


7,70


  

  

  

КР3


21


12АIII


2660


2


4,72


  

  

  

  

22


12AIII


1300


4


4,62


  

  

  




23


6АIII


400


4


0,36


  

  

  

  

24


12AIII


930


2


1,65


  

  

  

  

25


12AIII


1075


1


0,95


  

  

  

  

26


12AIII


1110


1


0,99


  

  

  

  

27


12AIII


1145


2


2,03


  

  

  

  

28


12AIII


1180


1


1,05


  

  

  

  

2


6АIII


2360


2


1,05


  

  

  

П1


29


10АI


950


1


0,59


10АI


1,0


0,59


П2


30


14AI


1270


1


1,53


14AI


1,3


1,53


Текст  документа сверен по:

официальное  издание

Госстрой  СССР —

М.:  Издательство стандартов, 1981

Предоставлено компанией .